CN201249379Y - Irregular glass edging machine - Google Patents

Irregular glass edging machine Download PDF

Info

Publication number
CN201249379Y
CN201249379Y CNU2008200516388U CN200820051638U CN201249379Y CN 201249379 Y CN201249379 Y CN 201249379Y CN U2008200516388 U CNU2008200516388 U CN U2008200516388U CN 200820051638 U CN200820051638 U CN 200820051638U CN 201249379 Y CN201249379 Y CN 201249379Y
Authority
CN
China
Prior art keywords
rocker arm
small rocker
shaft hole
small
edging machine
Prior art date
Legal status (The legal status is an assumption and is not a legal conclusion. Google has not performed a legal analysis and makes no representation as to the accuracy of the status listed.)
Expired - Fee Related
Application number
CNU2008200516388U
Other languages
Chinese (zh)
Inventor
陈坚
Current Assignee (The listed assignees may be inaccurate. Google has not performed a legal analysis and makes no representation or warranty as to the accuracy of the list.)
Individual
Original Assignee
Individual
Priority date (The priority date is an assumption and is not a legal conclusion. Google has not performed a legal analysis and makes no representation as to the accuracy of the date listed.)
Filing date
Publication date
Application filed by Individual filed Critical Individual
Priority to CNU2008200516388U priority Critical patent/CN201249379Y/en
Application granted granted Critical
Publication of CN201249379Y publication Critical patent/CN201249379Y/en
Anticipated expiration legal-status Critical
Expired - Fee Related legal-status Critical Current

Links

Images

Classifications

    • YGENERAL TAGGING OF NEW TECHNOLOGICAL DEVELOPMENTS; GENERAL TAGGING OF CROSS-SECTIONAL TECHNOLOGIES SPANNING OVER SEVERAL SECTIONS OF THE IPC; TECHNICAL SUBJECTS COVERED BY FORMER USPC CROSS-REFERENCE ART COLLECTIONS [XRACs] AND DIGESTS
    • Y02TECHNOLOGIES OR APPLICATIONS FOR MITIGATION OR ADAPTATION AGAINST CLIMATE CHANGE
    • Y02PCLIMATE CHANGE MITIGATION TECHNOLOGIES IN THE PRODUCTION OR PROCESSING OF GOODS
    • Y02P40/00Technologies relating to the processing of minerals
    • Y02P40/50Glass production, e.g. reusing waste heat during processing or shaping
    • Y02P40/57Improving the yield, e-g- reduction of reject rates

Landscapes

  • Re-Forming, After-Treatment, Cutting And Transporting Of Glass Products (AREA)

Abstract

本实用新型的目的在于提供一种小摇臂的连接轴孔具有可拆分结构的玻璃异形磨边机。玻璃异形磨边机,包括底座、大摇臂、转盘、小摇臂、弯臂和磨头机构,小摇臂上设有分别与大摇臂和弯臂实现可转动连接的连接轴孔,所述小摇臂上的至少一个连接轴孔由小摇臂端的半轴孔以及与该半轴孔相对应的轴瓦上的半轴孔构成,轴瓦紧固连接在小摇臂上。本实用新型的有益效果是:小摇臂上的连接轴孔采用可拆装的连接结构替代原有的闭合式的结构,使得该部件的装配与维修都变得更为简便、快捷,有效降低设备的后期维护成本。

Figure 200820051638

The purpose of the utility model is to provide a glass special-shaped edging machine in which the connecting shaft hole of the small rocker arm has a detachable structure. The special-shaped glass edging machine includes a base, a large rocker arm, a turntable, a small rocker arm, a curved arm and a grinding head mechanism. The at least one connecting shaft hole on the small rocker arm is composed of a half shaft hole at the end of the small rocker arm and a half shaft hole on the bearing bush corresponding to the half shaft hole, and the bearing bush is tightly connected to the small rocker arm. The beneficial effects of the utility model are: the connecting shaft hole on the small rocker arm adopts a detachable connecting structure to replace the original closed structure, making the assembly and maintenance of the part easier and faster, effectively reducing the Equipment maintenance costs.

Figure 200820051638

Description

Glass abnormity edge polisher
Technical field
The utility model relates to a kind of glass abnormity edge polisher, relates in particular to the detachable glass abnormity edge polisher of a kind of its small rocker.
Background technology
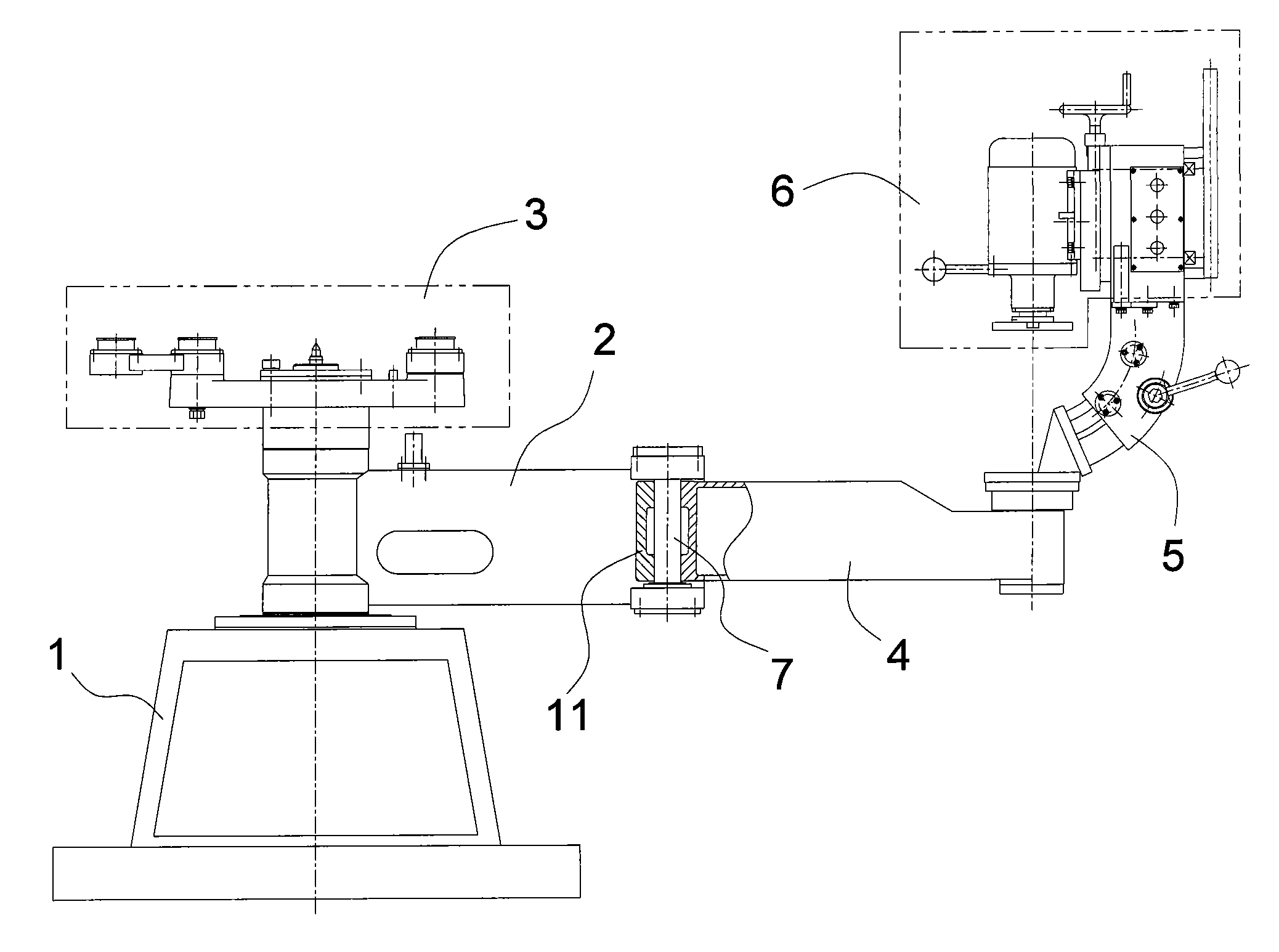
Glass abnormity edge polisher is a kind of glass working machine, is used for the edge of glass implemented manufacturing procedures such as mill is straight, rounding, finishing.Glass abnormity edge polisher mainly comprises base, big rocking arm, rotating disk, small rocker, curved boom, grinding head mechanism etc.Its big rocking arm and small rocker link together, and small rocker can rotate relative to big rocking arm, to realize curved boom and grinding head mechanism moving in the horizontal direction.In the prior art, being connected between small rocker and the big rocking arm is to connect rotationally between them realizing by the connection axis hole that connecting axle passes on big rocking arm and the small rocker separately simultaneously.As Fig. 2, shown in Figure 3, the closure that traditional small rocker is provided with respectively 2 circles that are connected with curved boom 5 with big rocking arm 2 connects axis hole 8 and is connected axis hole 9.But, the suitable weight and be the cantilevered installation because small rocker, curved boom, grinding head mechanism are added up, so, for the purpose of assembling fast or being convenient to keep in repair with small rocker, curved boom, grinding head mechanism should integral body when big rocking arm is pulled down, because the connection axis hole on the small rocker is a lipostomous, must big rocking arm and small rocker could be split extracting out the connection axis hole of connecting axle from small rocker.Especially when there were rusty stain or burr in the position of the connection axis hole that passes small rocker on the connecting axle, small rocker will be difficult to or not tear open not get off at all, caused the prolongation of maintenance time even the miscellaneous part that is connected with these parts is scrapped in advance.
Summary of the invention
The purpose of this utility model is to provide a kind of glass abnormity edge polisher that detachable structure connects the small rocker of axis hole that has.
For achieving the above object, the utility model is taked following technical scheme:
Glass abnormity edge polisher, comprise base, big rocking arm, rotating disk, small rocker, curved boom and grinding head mechanism, small rocker is provided with respectively with big rocking arm and curved boom and realizes the axis hole that is connected that is rotatably connected, on the described small rocker at least one connects axis hole and constitutes by the semiaxis hole of small rocker end and with semiaxis hole on this corresponding bearing shell in semiaxis hole, and bearing shell is fastenedly connected on small rocker.
Below the technical solution of the utility model is elaborated:
Usually, the radian in the semiaxis hole of small rocker end is 180 °, and correspondingly, the radian in the semiaxis hole on the bearing shell also is 180 °.Like this after both link together by removable modes of being fastenedly connected such as screw or bolts, with constituting a complete connection axis hole, to realize being rotatably connected between big rocking arm and the small rocker.
Usually, the length direction of the semiaxis hole of small rocker end and the plane that the line of demarcation constituted in the semiaxis hole on the bearing shell and small rocker is perpendicular, and described length direction is the direction of the distance of the centreline space of 2 connection axis holes on the small rocker.Such design can make the power of being fastenedly connected (as screw or bolt) be evenly distributed on the length direction of both sides, small rocker of connecting axle, thereby when small rocker bears the weight of other members, be unlikely to introduce the deformation except that vertical direction.
The beneficial effects of the utility model are: the connection axis hole on the small rocker adopts removable syndeton to substitute the structure of original closed type, makes the assembling of these parts and maintenance all become more easy, quick, effectively reduces the later maintenance cost of equipment.
Description of drawings
Fig. 1 is the structural representation of the utility model embodiment;
Fig. 2 is the front view of small rocker in the prior art;
Fig. 3 is the vertical view of small rocker in the prior art;
Fig. 4 is the structural representation of facing of small rocker among the utility model embodiment;
Fig. 5 is the structural representation of overlooking of small rocker among the utility model embodiment.
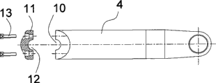
Description of reference numerals: 1-base; The big rocking arm of 2-; The 3-rotating disk; The 4-small rocker; The 5-curved boom; The 6-grinding head mechanism; The 7-connecting axle; 8-connects axis hole; 9-connects axis hole; 10-semiaxis hole; The 11-bearing shell; 12-semiaxis hole; The 13-screw.
The specific embodiment
Below in conjunction with drawings and Examples the utility model content is described further.
As shown in Figure 1, glass abnormity edge polisher is made of base 1, big rocking arm 2, rotating disk 3, small rocker 4, curved boom 5 and grinding head mechanism 6, is rotatably connected by connecting axle 7 between big rocking arm 2 and the small rocker 4.As Fig. 4, shown in Figure 5, the axis hole that is connected between small rocker 4 of the present utility model and the big rocking arm 2 is to constitute after being fastenedly connected by the semiaxis hole 10 of small rocker 4 ends and the semiaxis hole 12 on the bearing shell 11.The radian of half and half axis hole is all 180 °, and the length direction of plane that the line of demarcation constituted between them and small rocker 4 is perpendicular.Bearing shell 11 is fastenedly connected on the small rocker 4 by 4 screws 13, and formed connection axis hole matches with connecting axle 7, thereby has realized rotating connection the between big rocking arm 2 and the small rocker 4.
What this specification was enumerated is better embodiment of the present utility model only, and all equivalent technologies conversion of being done under operation principle of the present utility model and thinking all are considered as protection domain of the present utility model.

Claims (3)

1、玻璃异形磨边机,包括底座、大摇臂、转盘、小摇臂、弯臂和磨头机构,小摇臂上设有分别与大摇臂和弯臂实现可转动连接的连接轴孔,其特征在于:所述小摇臂上的至少一个连接轴孔由小摇臂端的半轴孔以及与该半轴孔相对应的轴瓦上的半轴孔构成,轴瓦紧固连接在小摇臂上。1. Glass special-shaped edging machine, including a base, a large rocker arm, a turntable, a small rocker arm, a curved arm and a grinding head mechanism. The small rocker arm is provided with connecting shaft holes that are rotatably connected to the large rocker arm and the curved arm respectively. , characterized in that: at least one connecting shaft hole on the small rocker arm is composed of a half shaft hole at the end of the small rocker arm and a half shaft hole on the bearing bush corresponding to the half shaft hole, and the bearing bush is tightly connected to the small rocker arm superior. 2、根据权利要求1所述的玻璃异形磨边机,其特征在于:小摇臂端的半轴孔的弧度为180°,相应地,轴瓦上的半轴孔的弧度也为180°。2. The special-shaped glass edging machine according to claim 1, characterized in that: the arc of the semi-axis hole at the end of the small rocker arm is 180°, and correspondingly, the arc of the semi-axis hole on the bearing pad is also 180°. 3、根据权利要求1所述的玻璃异形磨边机,其特征在于:所述小摇臂端的半轴孔与轴瓦上的半轴孔的分界线所构成的平面与小摇臂的长度方向相垂直;所述的长度方向为小摇臂上2个连接轴孔的中心线间的距离的方向。3. The special-shaped glass edging machine according to claim 1, characterized in that: the plane formed by the boundary line between the half-axis hole at the end of the small rocker arm and the half-axis hole on the bearing bush is parallel to the length direction of the small rocker arm. Vertical; said length direction is the direction of the distance between the centerlines of the two connecting shaft holes on the small rocker arm.
CNU2008200516388U 2008-08-01 2008-08-01 Irregular glass edging machine Expired - Fee Related CN201249379Y (en)

Priority Applications (1)

Application Number Priority Date Filing Date Title
CNU2008200516388U CN201249379Y (en) 2008-08-01 2008-08-01 Irregular glass edging machine

Applications Claiming Priority (1)

Application Number Priority Date Filing Date Title
CNU2008200516388U CN201249379Y (en) 2008-08-01 2008-08-01 Irregular glass edging machine

Publications (1)

Publication Number Publication Date
CN201249379Y true CN201249379Y (en) 2009-06-03

Family

ID=40745051

Family Applications (1)

Application Number Title Priority Date Filing Date
CNU2008200516388U Expired - Fee Related CN201249379Y (en) 2008-08-01 2008-08-01 Irregular glass edging machine

Country Status (1)

Country Link
CN (1) CN201249379Y (en)

Cited By (2)

* Cited by examiner, † Cited by third party
Publication number Priority date Publication date Assignee Title
CN104511819B (en) * 2013-09-27 2016-11-23 信义汽车玻璃(深圳)有限公司 A kind of pre-treatment production system of vehicle glass deep processing
CN113751958A (en) * 2021-09-28 2021-12-07 西安热工研究院有限公司 A three-legged leveling device for evaporator maintenance and its working method

Cited By (2)

* Cited by examiner, † Cited by third party
Publication number Priority date Publication date Assignee Title
CN104511819B (en) * 2013-09-27 2016-11-23 信义汽车玻璃(深圳)有限公司 A kind of pre-treatment production system of vehicle glass deep processing
CN113751958A (en) * 2021-09-28 2021-12-07 西安热工研究院有限公司 A three-legged leveling device for evaporator maintenance and its working method

Similar Documents

Publication Publication Date Title
CN201249379Y (en) Irregular glass edging machine
CN100443252C (en) Single screw driven double pendulum milling head
CN206047985U (en) A kind of Jia Guan mechanisms
CN202208843U (en) Uniform-speed cover plate of washing machine
CN205086198U (en) Be applied to drilling machine of toughened glass production and processing
CN102848163B (en) Neglected loading preventive tooling for crankshaft thrust piece
CN102398211A (en) A gate valve gate grinding device
CN206278645U (en) A kind of brake disc overturns pipeline
CN207331214U (en) A kind of needing machine Double spindle type headstock structure
CN212145147U (en) Crusher blade automatic surfacing double shaft positioner
CN203659905U (en) A solar energy assembly frame dismounting device
CN201849894U (en) Mechanism for loading and positioning plates
CN202425736U (en) Swing mechanism for ultrasonic hot drilling machine
CN208843675U (en) A lifting platform convenient for maintenance of new energy vehicles
CN218905164U (en) Crank pin nut wrench of pumping unit
CN206084199U (en) Section door frame welds shape frock of preapring for an unfavorable turn of events at bottom of wind tower
CN204604213U (en) The special extractor of conticaster rear portion roller-way reductor
CN205255331U (en) A mold device for reducing wear on hand beer molds
CN207272990U (en) A kind of rotary work station device of glass automatic edging machine
CN205166928U (en) Robot
CN203330621U (en) Novel fixing device
CN211222906U (en) Novel differential drive wheel
CN222571507U (en) Die opening driving mechanism for laminated die
CN214963292U (en) Hardware fitting capable of making square table into round table
CN203222721U (en) Hinge structure of single-steel wheel road roller

Legal Events

Date Code Title Description
C14 Grant of patent or utility model
GR01 Patent grant
C17 Cessation of patent right
CF01 Termination of patent right due to non-payment of annual fee

Granted publication date: 20090603

Termination date: 20120801