CN201227327Y - Ultrasonic atomization hand sterilizer - Google Patents
Ultrasonic atomization hand sterilizer Download PDFInfo
- Publication number
- CN201227327Y CN201227327Y CNU2008201514572U CN200820151457U CN201227327Y CN 201227327 Y CN201227327 Y CN 201227327Y CN U2008201514572 U CNU2008201514572 U CN U2008201514572U CN 200820151457 U CN200820151457 U CN 200820151457U CN 201227327 Y CN201227327 Y CN 201227327Y
- Authority
- CN
- China
- Prior art keywords
- deflector
- casing
- fan
- pipeline
- hopper
- Prior art date
- Legal status (The legal status is an assumption and is not a legal conclusion. Google has not performed a legal analysis and makes no representation as to the accuracy of the status listed.)
- Expired - Fee Related
Links
Images
Landscapes
- Apparatus For Disinfection Or Sterilisation (AREA)
Abstract
一种超声雾化手消毒器属卫生消毒技术领域。本实用新型包括超声波雾化器、贮液槽、风扇、管路、导流板、脚踏开关、箱体,超声波雾化器振动片外缘与贮液槽密封连接,振动片表面与消毒液接触,超声波雾化器与贮液槽均固定在箱体底部;管路包括一段直管和一段180度弯管,分别固定在箱体的侧面和顶面,其中,直管位于超声波雾化器的正上方,180度弯管一端与直管连接,另一端的边缘与第一导流板连接,直管内部装有风扇,在竖直高度低于第一导流板的箱壁的一侧,开有开口,低于开口的地方设有第二导流板,超声波雾化器与风扇并联连接,然后与脚踏开关串联连接。本实用新型能有效减少消毒液浪费和对呼吸道刺激并提高消毒液微滴沾手比例。
An ultrasonic atomizing hand sterilizer belongs to the technical field of sanitation and disinfection. The utility model comprises an ultrasonic atomizer, a liquid storage tank, a fan, a pipeline, a deflector, a foot switch, and a box body. Contact, the ultrasonic atomizer and the liquid storage tank are fixed at the bottom of the box; the pipeline includes a straight pipe and a 180-degree elbow, which are respectively fixed on the side and top of the box, wherein the straight pipe is located on the ultrasonic atomizer Directly above, one end of the 180-degree elbow is connected to the straight pipe, and the edge of the other end is connected to the first deflector. The fan is installed inside the straight pipe, and the vertical height is lower than that of the first deflector on the side of the box wall. , with an opening, a second deflector is provided below the opening, the ultrasonic atomizer is connected in parallel with the fan, and then connected in series with the foot switch. The utility model can effectively reduce the waste of disinfectant and stimulate the respiratory tract, and increase the proportion of disinfectant microdroplets sticking to hands.
Description
技术领域 technical field
本实用新型涉及一种卫生消毒器具,尤其是一种超声雾化手消毒器,属卫生消毒技术领域。The utility model relates to a sanitation and disinfection appliance, in particular to an ultrasonic atomization hand sanitizer, which belongs to the technical field of sanitation and disinfection.
背景技术 Background technique
目前,门诊医生的消毒方式主要有2种。一种是洗手,通过去污达到净手目的;洗手的缺点在于搓手时间长而且洗完以后(不能用毛巾擦干,会引起二次污染)需要较长的干手时间。另一种是往手上喷消毒液,通过直接杀灭细菌达到净手目的;依然需要较长搓手时间,虽然比洗手耗时短,但是对皮肤的伤害比较大。所以需要速度快,对皮肤伤害又比较少的消毒装置。At present, there are two main methods of disinfection for outpatient doctors. One is washing hands, which achieves the purpose of cleaning hands through decontamination; the disadvantage of hand washing is that it takes a long time to wash hands and after washing (it cannot be dried with a towel, which will cause secondary pollution), it takes a long time to dry hands. The other is to spray disinfectant on the hands to achieve the purpose of cleaning hands by directly killing bacteria; it still takes a long time to rub hands, although it takes less time than washing hands, it does more damage to the skin. Therefore, a disinfection device that is fast and less harmful to the skin is needed.
现有技术中,中国专利CN03218206.6,公开了一种洁手消毒器,其特征在于,“构成中设有壳体、超声雾化器和风机,其中,壳体内设有超声雾化室,超声雾化器位于超声雾化室的消毒液中,风机的排风口通过管路通向壳体的消毒口,风机固定在壳体内。”但是该专利的不足在于:雾化以后的消毒液微滴尺寸小(一般是几微米到几十微米)极易随气流扩散,采用开放式结构的结果是,消毒液微滴只有少部分吸附到手上,其余全部扩散到空气中,不但消毒液微滴沾手比例低(即雾化器的效能差),还会造成消毒液的极大浪费;更为严重的是,消毒液微滴易于随空气扩散的特点使其能够刺激呼吸道,造成使用者身体不适。In the prior art, the Chinese patent CN03218206.6 discloses a hand sanitizer, which is characterized in that, "a housing, an ultrasonic atomizer and a fan are arranged in the composition, wherein an ultrasonic atomization chamber is arranged in the housing, The ultrasonic nebulizer is located in the disinfectant in the ultrasonic atomization chamber, the exhaust port of the fan leads to the disinfection port of the housing through the pipeline, and the fan is fixed in the housing.” But the disadvantage of this patent is: the disinfectant after atomization The small droplet size (generally a few microns to tens of microns) is very easy to diffuse with the airflow. As a result of the open structure, only a small part of the disinfectant droplets are adsorbed on the hands, and the rest are all diffused into the air. The low proportion of drops on hands (that is, the poor efficiency of the atomizer) will also cause a great waste of disinfectant; what is more serious is that the characteristics of disinfectant droplets are easy to diffuse with the air, so that they can irritate the respiratory tract and cause the user's body to be damaged. discomfort.
发明内容 Contents of the invention
本实用新型针对现有技术的不足,提供一种能有效减少消毒液浪费和对呼吸道刺激并提高消毒液微滴沾手比例(即提高雾化器实际效能)的超声雾化手消毒器。The utility model aims at the deficiencies of the prior art, and provides an ultrasonic atomization hand sterilizer which can effectively reduce the waste of disinfectant and stimulate the respiratory tract and increase the proportion of disinfectant droplets on hands (that is, improve the actual efficiency of the atomizer).
为实现上述目的,本实用新型包括超声波雾化器、贮液槽、风扇、管路、导流板、脚踏开关、箱体。脚踏开关位于箱体外,其余部分均位于箱体内。超声波雾化器振动片外缘与贮液槽密封连接,振动片表面与消毒液接触。超声波雾化器与贮液槽均固定在箱体底部。管路包括一段直管和一段180度弯管,分别固定在箱体的侧面和顶面。其中,直管位于超声波雾化器的正上方,和贮液槽之间有一定的垂直距离;180度弯管一端与直管连接,另一端的边缘与第一导流板连接,第一导流板向直管方向稍稍斜向下,其边缘与箱体或者管路粘合。直管内部装有风扇(电机和扇叶),用刚性支架将风扇轴心固定在直管横截面中心。在竖直高度略低于第一导流板的箱壁的一侧,开有供伸手用的开口。略低于开口的地方设有第二导流板,向贮液槽方向稍稍斜向下,其边缘与箱体或者贮液槽边缘粘合。超声波雾化器与风扇并联连接,然后与脚踏开关串联连接,使得脚踏开关同时控制两者的起停。In order to achieve the above object, the utility model includes an ultrasonic atomizer, a liquid storage tank, a fan, a pipeline, a deflector, a foot switch, and a casing. The foot switch is located outside the box, and the rest are all located in the box. The outer edge of the vibrating plate of the ultrasonic nebulizer is sealed and connected with the liquid storage tank, and the surface of the vibrating plate is in contact with the disinfectant. Both the ultrasonic atomizer and the liquid storage tank are fixed at the bottom of the box. The pipeline includes a section of straight pipe and a section of 180-degree elbow, which are respectively fixed on the side and top of the box. Among them, the straight pipe is located directly above the ultrasonic atomizer, and there is a certain vertical distance between the liquid storage tank; one end of the 180-degree elbow is connected with the straight pipe, and the edge of the other end is connected with the first deflector, and the first deflector The flow plate is slightly inclined downward toward the straight pipe, and its edge is glued to the box or pipe. A fan (motor and fan blade) is installed inside the straight pipe, and the fan shaft is fixed at the center of the cross section of the straight pipe with a rigid bracket. On one side of the box wall whose vertical height is slightly lower than the first deflector, there is an opening for reaching out. A second deflector is provided at a place slightly lower than the opening, which is slightly inclined downward toward the liquid storage tank, and its edge is glued to the edge of the box body or the liquid storage tank. The ultrasonic atomizer is connected in parallel with the fan, and then connected in series with the foot switch, so that the foot switch controls the start and stop of both at the same time.
本实用新型采用了消毒液微滴的循环喷洒结构,能有效减少消毒液浪费和对呼吸道刺激并提高消毒液微滴沾手比例,采用脚踏开关同时控制超声波雾化器和风扇的起停,具有结构简单、成本低、可靠度高的优点。The utility model adopts a circulation spraying structure of disinfectant liquid droplets, which can effectively reduce the waste of disinfectant liquid and stimulate the respiratory tract and increase the proportion of disinfectant liquid droplets on hands. The foot switch is used to simultaneously control the start and stop of the ultrasonic atomizer and the fan. It has the advantages of simple structure, low cost and high reliability.
附图说明 Description of drawings
图1为本实用新型结构示意图Fig. 1 is the structural representation of the utility model
图2为本实用新型脚踏开关控制结构示意图Figure 2 is a schematic diagram of the utility model foot switch control structure
具体实施方式 Detailed ways
以下结合附图对本实用新型进行进一步说明。Below in conjunction with accompanying drawing, the utility model is further described.
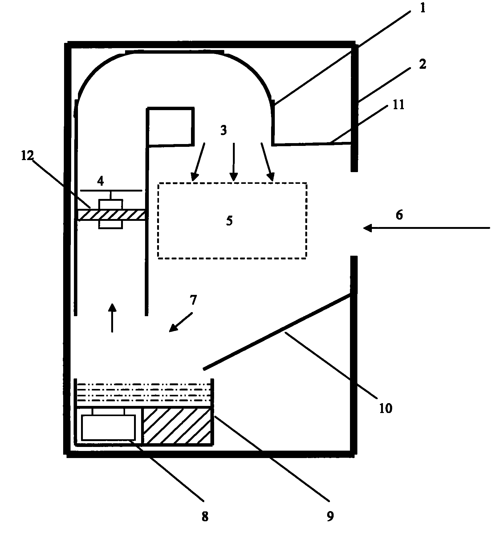
如图1所示,本实用新型包括管路1、箱体2、风扇4、超声波雾化器8、贮液槽9、两个导流板10、11、脚踏开关13。脚踏开关13位于箱体2外,其余部分均位于箱体2内。As shown in Figure 1 , the utility model includes a pipeline 1, a
超声波雾化器8振动片外缘与贮液槽9密封连接,振动片表面与消毒液接触。超声波雾化器8与贮液槽9均固定在箱体2底部。The outer edge of the vibrating plate of the
管路1包括一段直管和一段180度弯管,分别固定在箱体2的侧面和顶面。其中,直管位于超声波雾化器8的正上方,和贮液槽9之间有一定的垂直距离;180度弯管一端与直管连接,另一端的边缘与第一导流板11连接,第一导流板11向直管方向稍稍斜向下,其边缘与箱体2或者管路1粘合。直管内部装有风扇4,风扇4轴心用刚性支架12固定在直管横截面中心。在竖直高度略低于第一导流板11的箱体2壁的一侧,开有供伸手用的开口6。略低于开口6的地方设有第二导流板10,向贮液槽9方向稍稍斜向下,其边缘与箱体2或者贮液槽9边缘粘合。超声波雾化器8与风扇4并联连接,然后与脚踏开关13串联连接,使得脚踏开关13同时控制两者的起停。The pipeline 1 includes a section of straight pipe and a section of 180-degree elbow, which are respectively fixed on the side and top surface of the
如图2所示,图中,超声波雾化器8的变压器15,风扇4的变压整流器14,超声波雾化器8与其变压器15串联,风扇4与其变压整流器14串联,这两部分并联连接后与脚踏开关13串联连接,电源为AC220V。As shown in Figure 2, in the figure, the transformer 15 of the
采用超声波雾化器8将消毒液雾化,用风扇4将雾化后的消毒液经管路1喷洒到手上。风扇4内置于管路1中,管路1的进气口7和喷口3均位于箱体2内,使得消毒液微滴能够随气流在箱体2内形成循环,提高消毒液微滴在气流中的浓度和沾手的比例。
消毒的时候,双手从开口6伸到装置内部(区域5)进行消毒。第一导流板11能够防止管口滴水并且回收消毒液。第二导流板10能够回收消毒液并且用作补液的通道。采用手动补液,将消毒液从开口6经第二导流板10流入贮液槽9。When disinfecting, hands are stretched from the
本实用新型采用脚踏开关13同时控制超声波雾化器8和风扇4的起停,具有结构简单、成本低、可靠度高的优点。采用脚踏开关13控制,保证手在消毒过程中无接触。箱体2能有效降低雾状消毒液的外泄,减少消毒液浪费以及对呼吸道的刺激。The utility model adopts the foot switch 13 to simultaneously control the start and stop of the
本实用新型使用的药剂为市售水性消毒液或皮肤消毒液,杀菌效果取决于消毒液。The medicament used in the utility model is a commercially available water-based disinfectant or skin disinfectant, and the bactericidal effect depends on the disinfectant.
本实用新型通过物理方法使消毒液更加快速和均匀地覆盖整个手,减少消毒时间,降低消毒液用量(进而降低对手部皮肤的伤害)。使用本实用新型的过程中,手和装置无接触,并且无须搓手。此消毒器的功能只限于杀菌,不具有去污能力。The utility model makes the disinfectant cover the whole hand more quickly and evenly by physical means, reduces the disinfection time, and reduces the consumption of the disinfectant (thereby reducing the damage to the hand skin). In the process of using the utility model, there is no contact between the hands and the device, and there is no need to rub hands. The function of this sterilizer is only limited to sterilization and does not have the ability to decontaminate.
本实用新型适用于医疗机构以及需要频繁进行手消毒的其他场所。The utility model is suitable for medical institutions and other places where frequent hand disinfection is required.
Claims (5)
Priority Applications (1)
| Application Number | Priority Date | Filing Date | Title |
|---|---|---|---|
| CNU2008201514572U CN201227327Y (en) | 2008-07-31 | 2008-07-31 | Ultrasonic atomization hand sterilizer |
Applications Claiming Priority (1)
| Application Number | Priority Date | Filing Date | Title |
|---|---|---|---|
| CNU2008201514572U CN201227327Y (en) | 2008-07-31 | 2008-07-31 | Ultrasonic atomization hand sterilizer |
Publications (1)
| Publication Number | Publication Date |
|---|---|
| CN201227327Y true CN201227327Y (en) | 2009-04-29 |
Family
ID=40632287
Family Applications (1)
| Application Number | Title | Priority Date | Filing Date |
|---|---|---|---|
| CNU2008201514572U Expired - Fee Related CN201227327Y (en) | 2008-07-31 | 2008-07-31 | Ultrasonic atomization hand sterilizer |
Country Status (1)
| Country | Link |
|---|---|
| CN (1) | CN201227327Y (en) |
Cited By (4)
| Publication number | Priority date | Publication date | Assignee | Title |
|---|---|---|---|---|
| CN111514336A (en) * | 2020-05-08 | 2020-08-11 | 深圳市鑫王牌科技发展有限公司 | Killing machine and control method for killing machine |
| CN111803787A (en) * | 2020-07-14 | 2020-10-23 | 中铁轨道交通装备有限公司 | Disinfection injection apparatus |
| CN114732928A (en) * | 2022-04-30 | 2022-07-12 | 厦门金名节能科技有限公司 | Epidemic prevention is with high-efficient intelligence equipment that disappears |
| CN114949562A (en) * | 2022-04-14 | 2022-08-30 | 浙江大学医学院附属邵逸夫医院 | Hand disinfection device without washing |
-
2008
- 2008-07-31 CN CNU2008201514572U patent/CN201227327Y/en not_active Expired - Fee Related
Cited By (6)
| Publication number | Priority date | Publication date | Assignee | Title |
|---|---|---|---|---|
| CN111514336A (en) * | 2020-05-08 | 2020-08-11 | 深圳市鑫王牌科技发展有限公司 | Killing machine and control method for killing machine |
| CN111514336B (en) * | 2020-05-08 | 2022-05-27 | 深圳市鑫王牌科技发展有限公司 | Killing machine and control method for killing machine |
| CN111803787A (en) * | 2020-07-14 | 2020-10-23 | 中铁轨道交通装备有限公司 | Disinfection injection apparatus |
| CN114949562A (en) * | 2022-04-14 | 2022-08-30 | 浙江大学医学院附属邵逸夫医院 | Hand disinfection device without washing |
| CN114732928A (en) * | 2022-04-30 | 2022-07-12 | 厦门金名节能科技有限公司 | Epidemic prevention is with high-efficient intelligence equipment that disappears |
| CN114732928B (en) * | 2022-04-30 | 2023-11-10 | 厦门金名节能科技有限公司 | Epidemic prevention is with high-efficient intelligent equipment of killing |
Similar Documents
| Publication | Publication Date | Title |
|---|---|---|
| CN201166430Y (en) | An ultrasonic air humidifier | |
| CN206404075U (en) | A kind of portable sterilization purifying spraying machine | |
| CN208704058U (en) | It can sterilization air cleaning unit | |
| CN201227327Y (en) | Ultrasonic atomization hand sterilizer | |
| CN204352242U (en) | A kind of sterilization transferring cabin | |
| CN207400947U (en) | Champignon disinfecting, deodorizing all-in-one machine | |
| CN204016836U (en) | A kind of compression atomizing sanitary equipment | |
| CN211395838U (en) | Medical hand sink | |
| CN2628049Y (en) | Air sterilizing humidifier | |
| CN204542973U (en) | A kind of Novel livestock plant space atomization disinfection system | |
| CN112569375A (en) | Special disinfection box of portable atomizer | |
| CN201166429Y (en) | An air humidifier with auxiliary materials | |
| CN212204868U (en) | A sterilizing and humidifying device | |
| CN214370696U (en) | Degerming device of humidifier | |
| CN213822762U (en) | Spraying disinfection deodorization equipment | |
| CN205463376U (en) | B ultrasonic probe belt cleaning device | |
| CN205962674U (en) | An easy-to-clean food disinfection cabinet | |
| CN211526632U (en) | Humidifier | |
| CN212041808U (en) | A sterilization device based on medical appliances | |
| CN209500340U (en) | A medical waste temporary storage room ultrasonic atomization disinfection equipment | |
| CN208332554U (en) | A kind of atomising device using central air-conditioning condensed water | |
| CN205460032U (en) | Atomizing device of plant liquid deodorizer | |
| CN201147512Y (en) | Disinfection cabinet with humidifier | |
| CN213312035U (en) | Tuberculosis is atomizing degassing unit for prevention and cure | |
| CN214841370U (en) | Humidifier with double sealing assemblies |
Legal Events
| Date | Code | Title | Description |
|---|---|---|---|
| C14 | Grant of patent or utility model | ||
| GR01 | Patent grant | ||
| C17 | Cessation of patent right | ||
| CF01 | Termination of patent right due to non-payment of annual fee |
Granted publication date: 20090429 |
