CN201224107Y - Tool bit - Google Patents
Tool bit Download PDFInfo
- Publication number
- CN201224107Y CN201224107Y CNU2008200601906U CN200820060190U CN201224107Y CN 201224107 Y CN201224107 Y CN 201224107Y CN U2008200601906 U CNU2008200601906 U CN U2008200601906U CN 200820060190 U CN200820060190 U CN 200820060190U CN 201224107 Y CN201224107 Y CN 201224107Y
- Authority
- CN
- China
- Prior art keywords
- blade
- upper blade
- screw rod
- protrusion
- lower blade
- Prior art date
- Legal status (The legal status is an assumption and is not a legal conclusion. Google has not performed a legal analysis and makes no representation as to the accuracy of the status listed.)
- Expired - Fee Related
Links
- 238000000926 separation method Methods 0.000 claims abstract description 6
- 230000001105 regulatory effect Effects 0.000 claims abstract description 3
- 230000008092 positive effect Effects 0.000 abstract description 3
- 238000000034 method Methods 0.000 description 2
- 238000010586 diagram Methods 0.000 description 1
- 235000013399 edible fruits Nutrition 0.000 description 1
- 230000000694 effects Effects 0.000 description 1
- 235000013305 food Nutrition 0.000 description 1
- 235000012055 fruits and vegetables Nutrition 0.000 description 1
- 239000004615 ingredient Substances 0.000 description 1
- 230000010354 integration Effects 0.000 description 1
- 239000000463 material Substances 0.000 description 1
- 235000013372 meat Nutrition 0.000 description 1
- 239000002994 raw material Substances 0.000 description 1
- 230000000630 rising effect Effects 0.000 description 1
Images
Landscapes
- Knives (AREA)
Abstract
一种刀具,包括刀柄和刀片,其特征在于:所述刀片分为上刀片和下刀片,连接件将上刀片和下刀片连接,由转动销和螺杆调控上刀片与下刀片的固定与分离。所述上刀片的宽度小于下刀片的宽度。所述上刀片的厚度小于下刀片的厚度。所述连接件位于刀片的两侧,由设置于上刀片的凸起和设置于下刀片的凹槽构成,凹槽与凸起相匹配,凸起可以在凹槽内滑动。所述螺杆焊接在上刀片的末端,转动销套在螺杆的外围,与螺杆螺纹连接。本实用新型的积极效果在于上下刀片更换方便,使用安稳可靠,具有使用方便、稳定可靠、节约存放空间的优点。
A knife, including a handle and a blade, characterized in that: the blade is divided into an upper blade and a lower blade, the connecting piece connects the upper blade and the lower blade, and the fixing and separation of the upper blade and the lower blade are regulated by a rotating pin and a screw rod . The width of the upper blade is smaller than the width of the lower blade. The thickness of the upper blade is smaller than that of the lower blade. The connecting piece is located on both sides of the blade, and is composed of a protrusion arranged on the upper blade and a groove arranged on the lower blade, the groove matches the protrusion, and the protrusion can slide in the groove. The screw rod is welded on the end of the upper blade, and the rotating pin is sleeved on the periphery of the screw rod, and is threadedly connected with the screw rod. The positive effect of the utility model is that the upper and lower blades are convenient to replace, and the use is safe and reliable, and has the advantages of convenient use, stability and reliability, and saving storage space.
Description
技术领域 technical field
本实用新型涉及一种刀具,属于手工切割工具技术领域。The utility model relates to a cutting tool, which belongs to the technical field of manual cutting tools.
背景技术 Background technique
现在手工切割刀具,一般由刀柄和刀片组成,刀片和刀柄固定在一起,根据不同需要,一般使用不同宽度的刀具,刀具常常成套购买使用。由于世界原材料和能源日益涨价的趋势,刀具的价格也在逐步上涨,购买成套的刀具价格不菲,成套的刀具存放需要的地方也多。提出不同宽度的刀具能否一体化的问题就浮出水面。Now hand-cut knives are generally composed of a handle and a blade, and the blade and the handle are fixed together. According to different needs, knives of different widths are generally used, and the knives are often purchased and used in sets. Due to the increasing price of raw materials and energy in the world, the price of knives is also gradually rising. It is expensive to buy a complete set of knives, and there are many places needed for the storage of complete sets of knives. The question of whether knives of different widths can be integrated has surfaced.
实用新型内容Utility model content
本实用新型就是为了解决上述问题,克服成套刀具的使用和存放的问题,提供一种刀具。本实用新型将不同宽度的刀具组合在一起,使用方便、稳定可靠、节约存放空间。The utility model provides a cutting tool in order to solve the above problems, overcome the problem of using and storing the complete set of cutting tools. The utility model combines cutters of different widths together, is convenient to use, stable and reliable, and saves storage space.
本实用新型所需要解决的技术问题,可以通过以下技术方案来实现:The technical problem to be solved by the utility model can be realized through the following technical solutions:
一种刀具,包括刀柄和刀片,其特征在于:所述刀片分为上刀片和下刀片,连接件将上刀片和下刀片连接,由转动销和螺杆调控上刀片与下刀片的固定与分离。A knife, comprising a handle and a blade, characterized in that: the blade is divided into an upper blade and a lower blade, the connecting piece connects the upper blade and the lower blade, and the fixing and separation of the upper blade and the lower blade are regulated by a rotating pin and a screw rod .
所述上刀片的宽度小于下刀片的宽度。The width of the upper blade is smaller than the width of the lower blade.
所述上刀片的厚度小于下刀片的厚度。The thickness of the upper blade is smaller than that of the lower blade.
所述连接件位于刀片的两侧,由设置于上刀片的凸起和设置于下刀片的凹槽构成,凹槽与凸起相匹配,凸起可以在凹槽内滑动。The connecting piece is located on both sides of the blade and is composed of a protrusion arranged on the upper blade and a groove arranged on the lower blade, the groove matches the protrusion, and the protrusion can slide in the groove.
所述螺杆焊接在上刀片的末端,转动销套在螺杆的外围,与螺杆螺纹连接。The screw rod is welded on the end of the upper blade, and the rotating pin is sleeved on the periphery of the screw rod, and is threadedly connected with the screw rod.
所述转动销在螺杆两端的长度不同。The rotating pins have different lengths at both ends of the screw.
由于采用了上述技术方案,本实用新型的积极效果在于上下刀片更换方便,使用安稳可靠,具有使用方便、稳定可靠、节约存放空间优点。Due to the adoption of the above technical solution, the positive effect of the utility model is that the upper and lower blades are convenient to replace, and the use is safe and reliable, and has the advantages of convenient use, stability and reliability, and saving storage space.
附图说明 Description of drawings
以下结合附图和具体实施方式来进一步说明本实用新型。The utility model will be further described below in conjunction with the accompanying drawings and specific embodiments.
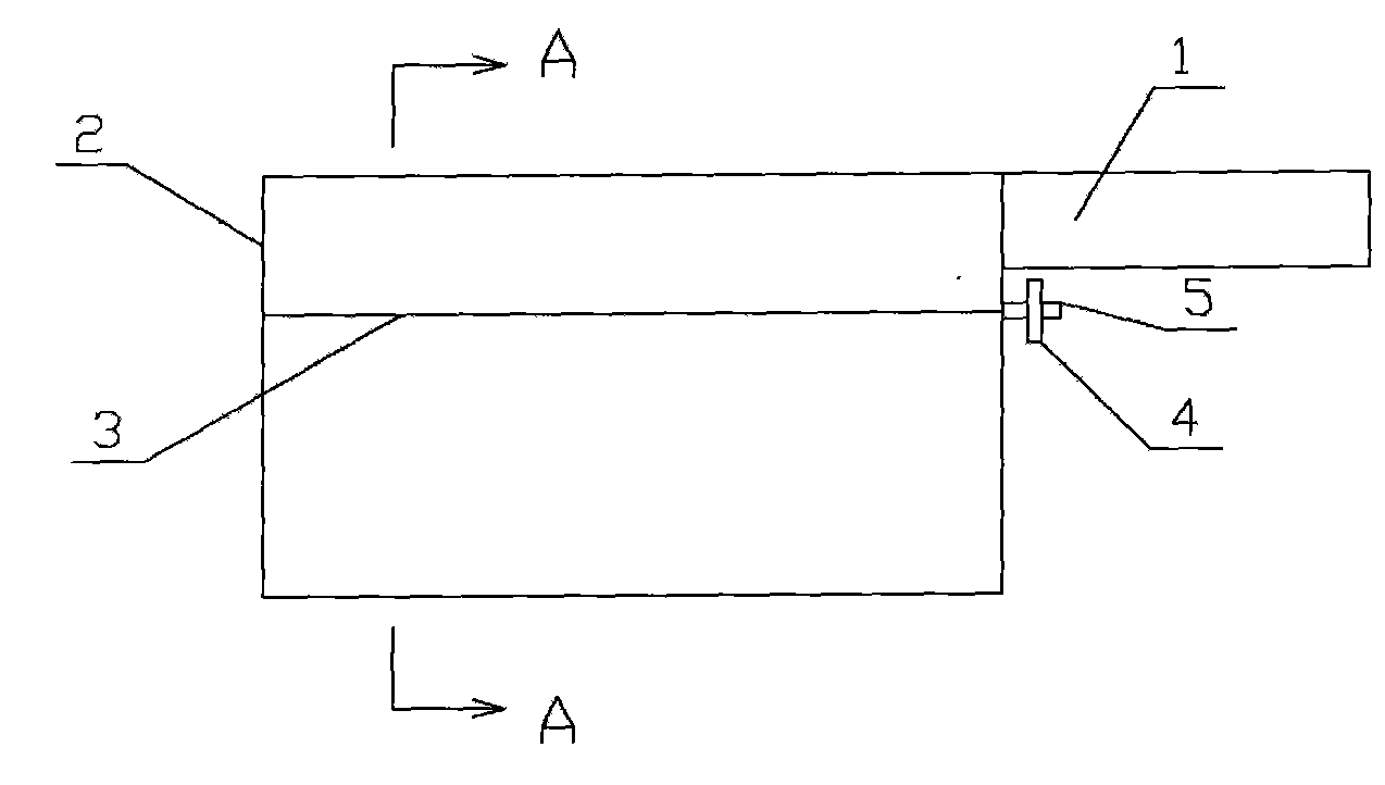
图1为本实用新型的主视图。Fig. 1 is the front view of the utility model.
图2为本实用新型的刀片分离示意图。Fig. 2 is a schematic diagram of blade separation of the present invention.
图3为本实用新型实施例1的A—A剖视图。Fig. 3 is A-A sectional view of the
图4为本实用新型实施例2的A—A剖视图。Fig. 4 is A-A sectional view of the
图中标号:1为刀柄,2为刀片,21为上刀片,22为下刀片,3为连接件,31为凸起,32为凹槽,4为转动销,5为螺杆。Numbers among the figure: 1 is a handle of a knife, 2 is a blade, 21 is an upper blade, 22 is a lower blade, 3 is a connector, 31 is a protrusion, 32 is a groove, 4 is a rotating pin, and 5 is a screw rod.
具体实施方式 Detailed ways
为了使本实用新型的技术手段、创作特征、达成目的与功效易于明白了解,下面结合具体图示,进一步阐述本实用新型。In order to make the technical means, creative features, goals and effects of the present utility model easy to understand, the utility model will be further elaborated below in conjunction with specific illustrations.
如图1和图2所示,一种刀具,包括刀柄1和刀片2,所述刀片分为上刀片21和下刀片22,连接件3将上刀片21和下刀片22连接,由转动销4和螺杆5调控上刀片21与下刀片22的固定与分离。As shown in Fig. 1 and Fig. 2, a kind of cutting tool comprises
所述上刀片21的宽度小于下刀片22的宽度。所述上刀片21的厚度小于下刀片22的厚度。The width of the
如图3和图4所示,所述连接件3位于刀片2的两侧,由设置于上刀片21的凸起31和设置于下刀片22的凹槽32构成,凹槽32与凸起31相匹配,凸起31可以在凹槽32内滑动。As shown in Figures 3 and 4, the
所述螺杆5焊接在上刀片21的末端,转动销4套在螺杆5的外围,与螺杆5螺纹连接。The
实施例1Example 1
如图3所示,一种刀具,包括刀柄1和刀片2,所述刀片分为上刀片21和下刀片22,上刀片21固定在刀柄1内,连接件3的凸起31为球形,连接件3的凹槽32为球形凹陷并与凸起31相匹配,转动销4围绕螺杆5旋转长端向下时,上刀片21和下刀片22锁定在一起,本实用新型可做菜刀使用,可以切断不容易切割的如肉类等食材(见图1)。当转动销4的长端向上时,拉动上刀片21,上刀片21的凸起31沿凹槽32移动,下刀片22与上刀片12分离,只有上刀片21与刀柄1连接,则可做水果刀使用,可以切割水果和蔬菜等食材(见图2)。As shown in Fig. 3, a kind of cutter comprises
实施例2Example 2
如图4所示,一种刀具,包括刀柄1和刀片2,所述刀片分为上刀片21和下刀片22,上刀片21固定在刀柄1内,连接件3的凸起31为箭头形状,连接件3的凹槽32为与凸起31相匹配的凹陷,本连接件3的结合方式安稳,牢固。转动销4围绕螺杆5旋转长端向下时,上刀片21和下刀片22锁定在一起,本实用新型的固定和分离同实施例1。As shown in Figure 4, a knife includes a
由于采用了上述技术方案,本实用新型的积极效果在于上下刀片更换方便,实现刀的一体化,使用安稳可靠,具有使用方便、稳定可靠、节约存放空间优点。Due to the adoption of the above technical solution, the positive effect of the utility model is that the upper and lower blades can be easily replaced, the integration of the knives is realized, the use is safe and reliable, and the utility model has the advantages of convenient use, stability and reliability, and saving storage space.
以上是本实用新型的实施方式之一,对于本领域内的一般技术人员,不花费创造性的劳动,在上述实施例的基础上可以做多种变化,同样能够实现本实用新型的目的。但是,这种变化显然应该在本实用新型的权利要求书的保护范围内。The above is one of the embodiments of the present utility model. For those skilled in the art, various changes can be made on the basis of the above-mentioned embodiments without creative labor, and the purpose of the present utility model can also be achieved. However, such changes should obviously be within the protection scope of the claims of the present utility model.
Claims (6)
Priority Applications (1)
| Application Number | Priority Date | Filing Date | Title |
|---|---|---|---|
| CNU2008200601906U CN201224107Y (en) | 2008-06-24 | 2008-06-24 | Tool bit |
Applications Claiming Priority (1)
| Application Number | Priority Date | Filing Date | Title |
|---|---|---|---|
| CNU2008200601906U CN201224107Y (en) | 2008-06-24 | 2008-06-24 | Tool bit |
Publications (1)
| Publication Number | Publication Date |
|---|---|
| CN201224107Y true CN201224107Y (en) | 2009-04-22 |
Family
ID=40596985
Family Applications (1)
| Application Number | Title | Priority Date | Filing Date |
|---|---|---|---|
| CNU2008200601906U Expired - Fee Related CN201224107Y (en) | 2008-06-24 | 2008-06-24 | Tool bit |
Country Status (1)
| Country | Link |
|---|---|
| CN (1) | CN201224107Y (en) |
Cited By (1)
| Publication number | Priority date | Publication date | Assignee | Title |
|---|---|---|---|---|
| CN111230954A (en) * | 2018-11-28 | 2020-06-05 | 甲南设计工业株式会社 | Resin sheet cutting machine |
-
2008
- 2008-06-24 CN CNU2008200601906U patent/CN201224107Y/en not_active Expired - Fee Related
Cited By (1)
| Publication number | Priority date | Publication date | Assignee | Title |
|---|---|---|---|---|
| CN111230954A (en) * | 2018-11-28 | 2020-06-05 | 甲南设计工业株式会社 | Resin sheet cutting machine |
Similar Documents
| Publication | Publication Date | Title |
|---|---|---|
| CN201755842U (en) | Slicing and shredding knife | |
| CN201224107Y (en) | Tool bit | |
| CN203919096U (en) | A kind of kitchen knife of cutting chopped spring onion | |
| CN106938471B (en) | A kind of multifunctional scissors | |
| CN204191218U (en) | A kind of withered bar crushing cutter | |
| CN203171685U (en) | Vegetable cutting box | |
| CN202908484U (en) | Multifunctional peeling knife | |
| CN102398274A (en) | Novel slicing knife | |
| CN202553694U (en) | Novel chopping board | |
| CN203485215U (en) | Multifunctional vegetable pattern cutting knife | |
| CN105818170A (en) | Universal three-blade wavy hollow slicing knife | |
| CN103637664A (en) | Multifunctional peeler used in kitchen | |
| CN202891551U (en) | Novel dual-purpose fruit knife | |
| CN201300424Y (en) | Stable multi-blade knife | |
| CN204263186U (en) | A kind of Combined kitchen cutter | |
| CN201565986U (en) | Fruit and vegetable strip-cutting knife | |
| CN103586886A (en) | Double-edged kitchen knife | |
| CN202078192U (en) | a shredding tool | |
| CN204019570U (en) | Family expenses French fries cutter | |
| CN202462425U (en) | Kitchen knife capable of changing knife edge | |
| CN201824364U (en) | Slicing cutter | |
| CN201889798U (en) | Fruit cutter | |
| CN202129805U (en) | Multi-blade cutter for soft food | |
| CN202106381U (en) | Umbrella shaped multifunctional knife | |
| CN200995408Y (en) | Kitchen knife |
Legal Events
| Date | Code | Title | Description |
|---|---|---|---|
| C14 | Grant of patent or utility model | ||
| GR01 | Patent grant | ||
| C17 | Cessation of patent right | ||
| CF01 | Termination of patent right due to non-payment of annual fee |
Granted publication date: 20090422 |
