CN201190122Y - 粪便预处理固液分离装置 - Google Patents

粪便预处理固液分离装置 Download PDF

Info

Publication number
CN201190122Y
CN201190122Y CNU200820107893XU CN200820107893U CN201190122Y CN 201190122 Y CN201190122 Y CN 201190122Y CN U200820107893X U CNU200820107893X U CN U200820107893XU CN 200820107893 U CN200820107893 U CN 200820107893U CN 201190122 Y CN201190122 Y CN 201190122Y
Authority
CN
China
Prior art keywords
drum
fixed
solid
box
cylinder
Prior art date
Legal status (The legal status is an assumption and is not a legal conclusion. Google has not performed a legal analysis and makes no representation as to the accuracy of the status listed.)
Expired - Lifetime
Application number
CNU200820107893XU
Other languages
English (en)
Inventor
王绍康
Current Assignee (The listed assignees may be inaccurate. Google has not performed a legal analysis and makes no representation or warranty as to the accuracy of the list.)
Beijing Century Green Environmental Engineering & Technology Co Ltd
Original Assignee
Individual
Priority date (The priority date is an assumption and is not a legal conclusion. Google has not performed a legal analysis and makes no representation as to the accuracy of the date listed.)
Filing date
Publication date
Application filed by Individual filed Critical Individual
Priority to CNU200820107893XU priority Critical patent/CN201190122Y/zh
Application granted granted Critical
Publication of CN201190122Y publication Critical patent/CN201190122Y/zh
Anticipated expiration legal-status Critical
Expired - Lifetime legal-status Critical Current

Links

Images

Classifications

    • YGENERAL TAGGING OF NEW TECHNOLOGICAL DEVELOPMENTS; GENERAL TAGGING OF CROSS-SECTIONAL TECHNOLOGIES SPANNING OVER SEVERAL SECTIONS OF THE IPC; TECHNICAL SUBJECTS COVERED BY FORMER USPC CROSS-REFERENCE ART COLLECTIONS [XRACs] AND DIGESTS
    • Y02TECHNOLOGIES OR APPLICATIONS FOR MITIGATION OR ADAPTATION AGAINST CLIMATE CHANGE
    • Y02ATECHNOLOGIES FOR ADAPTATION TO CLIMATE CHANGE
    • Y02A40/00Adaptation technologies in agriculture, forestry, livestock or agroalimentary production
    • Y02A40/10Adaptation technologies in agriculture, forestry, livestock or agroalimentary production in agriculture
    • Y02A40/20Fertilizers of biological origin, e.g. guano or fertilizers made from animal corpses

Landscapes

  • Filtration Of Liquid (AREA)

Abstract

粪便预处理固液分离装置,属于对城市污水、工业污水、粪便处理一体化设备技术领域,包括箱体、输砂螺杆、提渣螺杆、双鼓式固液分离装置,箱体上部具有箱盖,箱盖上设置臭气收集口,箱体中垂直设置一个方孔板,将箱体分成第一沉淀区和第二沉淀区,第一沉淀区具有进料口,第二沉淀区具有出料口;提渣螺杆倾斜设置在箱体上,其入口设在箱体底部凹槽中;输砂螺杆水平设置在箱体底部;双鼓式固液分离装置倾斜设置箱体上,其入口设在第二沉淀区中,面对方孔板。用于在密闭条件下对城市粪便污水进行分捡、除砂、固液分离、压榨脱水。

Description

粪便预处理固液分离装置
技术领域
本实用新型涉及一种对粪便、污水进行预处理的装置,特别是一种在密闭条件下对城市粪便污水进行大块固形物分捡、固液分离、压榨脱水、除砂的装置。
背景技术
在现有技术中,污水粪便固液分离一般采用沉淀池来完成,主要除去污水中比重大的砂石杂物,不能除去污水中的细小砂粒和悬浮物,且清除出来的杂物含水量大,整体设备占地面积大,处理效果差。采用固液分离机械进行处理的,其进料端一般采用转耙式或无轴螺旋式,处理能力低,输送能力差,且会发生缠轴,造成分离不彻底或停机。而在一体化处理设备中,例如公告号为CN2931611实用新型专利《城市粪便处理固液分离装置》采用沉淀、对污水中大块杂物进行破碎、隔栅过滤的处理方式,其将污水中杂物破碎使其均匀化,经过滤流入后续处理程序,而没有将粪便污水中的固体杂物分离出来,虽然实现处理一体化,仍然没有完全实现在一套设备中,在密闭条件下对城市粪便污水进行大块固形物分捡、固液分离、压榨脱水、除砂作业。
实用新型内容
为了解决现有技术存在的技术缺陷,本实用新型的目的在于提供一种粪便预处理固液分离装置,它能够对流动粪液污水进行连续处理,将液体粪便污水中的固形杂物分离出来,脱水,除砂、并将固形物移出,固液分离彻底,故障率低。
为了实现上述目的,本实用新型的技术方案是:
一种粪便预处理固液分离装置,包括箱体、输砂螺杆、提渣螺杆、双鼓式固液分离装置,其中,
—箱体上部具有箱盖,箱盖上设置臭气收集口,箱体中垂直设置一个方孔板,将箱体分成第一沉淀区和第二沉淀区,第一沉淀区具有进料口,第二沉淀区具有出料口;
—提渣螺杆倾斜设置在箱体上,其入口设在箱体底部凹槽中;
—输砂螺杆水平设置在箱体底部;
—双鼓式固液分离装置倾斜设置箱体上,其入口设在第二沉淀区中,面对方孔板。
提渣螺杆设置于提渣筒中,支腿固定于提渣筒并与箱体上部固定,提渣筒一端具有一个进料口,另一端具有一个出料口,减速驱动装置固定于提渣筒出料口端并与螺旋轴连接,4个导料条固定在传输筒内壁下部,提渣螺杆螺旋叶片为变距叶片,其外边缘设置尼龙刷。
输砂螺杆设置于输砂筒内,其两端通过轴承与箱体固定,输砂筒在第一沉淀区段为圆筒输砂筒,在第二沉淀区段为半圆筒输砂筒,减速驱动装置固定于箱体并与输砂螺杆一端连接。
双鼓式固液分离装置包含定鼓、输送筒、螺旋轴、减速驱动装置;输送筒一端通过锥形筒连接定鼓输送筒,另一端连接压缩包,压缩包连接出料口,减速驱动装置底座固定在出料口另一端,支腿固定于输送筒并与箱体上部固定;定鼓具有左法兰和右法兰,鼓形网板两端分别与左法兰和右法兰连接,右法兰并与输送筒连接,在定鼓的上部具有两块倾斜网孔壁板与箱体两侧相贴,在两块倾斜网孔壁板下侧具有冲洗装置,冲洗装置具有多个高压喷头,定鼓外壁具有导流板;转鼓位于定鼓内部,是一个圆柱管,其外周具有螺旋叶片,螺旋叶片外径与定鼓鼓形网板相匹配,螺旋叶片外沿具有尼龙刷;螺旋轴一端连接转鼓,另一端连接减速驱动装置,螺旋轴沿长度方向在锥形筒和输送筒段具有变距螺旋叶片,变距螺旋叶片外径与锥形筒和输送筒相匹配,螺旋轴在出料口段具有反向螺旋叶片。
由于采用上述设计方案后,本实用新型粪便预处理固液分离装置在使用中,城市污水、工业污水、粪便从入口进入箱体的第一沉淀区,进行初步沉淀,使其中大块重于污水的的泥砂等固形物沉淀于底部,然后污水经过方孔板进入第二沉淀区,从面对方孔板的双鼓式固液分离装置入口进入定鼓中的鼓形网板被过滤,滤出物被转鼓螺旋叶片提升,在锥形筒、输送筒和压缩包中被变距螺旋叶片挤压脱水,从出料口排出,过滤后的污水进入第二沉淀区沉淀,其中细小泥砂沉淀到箱体底部,被输砂螺杆输送到第一沉淀区的凹槽内,与初步沉淀的大块杂物一同被提渣螺杆提升、压榨脱水,经出料口排出,最后处理过的污水从箱体第二沉淀区的出料口输出,完成将液体污水粪便中的一定粒径的不溶物及不规则的杂物分离、挤压,并将固形物移出的处理过程。实现在同一设备中进行分选、除砂、固液分离、压榨、脱水工艺,取得全密闭、少污染、分离彻底、低转速、低能耗、故障少、处理能力高、可连续运行的技术效果。
附图说明
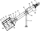
图1为本实用新型粪便预处理固液分离装置整体剖视图;
图2为本实用新型粪便预处理固液分离装置箱体和输砂螺杆构造图;
图3为本实用新型粪便预处理固液分离装置提渣螺杆构造图;
图4为本实用新型粪便预处理固液分离装置的双鼓式固液分离装置构造图。
附图中标号:
1.箱体,2.输砂螺杆,3.提渣螺杆,4.双鼓式固液分离装置,5.进料口,6.箱盖,7.出料口,8.臭气收集口,9.方孔板,10.第一沉淀区,11.第二沉淀区,12.半圆筒输砂筒,13.圆筒输砂筒,14.减速驱动装置,15.减速驱动装置,16.支腿,17.支腿,18.减速驱动装置,19.提渣筒,20.出料口,21.定鼓,22.导流板,23.转鼓,24.输送筒,25.螺旋轴,26.锥形筒,27.冲洗装置,28.压缩包,29.出料口,30.冲洗装置,31.回流管,32.高压喷头,33.变距螺旋叶片,34.凹槽。
具体实施方式
下面结合说明书附图对本实用新型粪便预处理固液分离装置的具体实施方式作进一步的说明。
如图1和图2所示,本实用新型粪便预处理固液分离装置,包括箱体1、输砂螺杆2、提渣螺杆3、双鼓式固液分离装置4,其中,箱体1上部具有箱盖6将整体箱体1封闭,避免臭气溢出造成对空气的污染,箱盖6上设置臭气收集口8,可以将臭气导出进行专门处理。箱体1中垂直设置一个限定污水通过的方孔板9,将箱体1分成第一沉淀区10和第二沉淀区11,第一沉淀区10具有进料口5供污水进入,第二沉淀区具有出料口7供处理后的污水排出。提渣螺杆3倾斜设置在箱体1上,其入口设在箱体1底部凹槽34中,支腿16固定于提渣筒19外并与箱体1上部固定,使提渣装置倾斜地装设箱体中。输砂螺杆2水平设置在箱体1底部,输砂螺杆2设置于输砂筒内,其两端通过轴承与箱体1固定,输砂筒在第一沉淀区10段为圆筒输砂筒13,由方孔板9、圆筒输砂筒13、输砂螺杆2共同形成阻隔,防止第一沉淀区10的未处理的污水穿过并进入第二沉淀区11,在第二沉淀区11段为半圆筒输砂筒12,承接第二沉淀区11中的污水沉淀的细小砂粒,减速驱动装置18固定于箱体1并与输砂螺杆2一端连接,以驱动输砂螺杆旋转。双鼓式固液分离装置4入口设在第二沉淀区11中,面对方孔板9,使从第一沉淀区经过方孔板9流入第二沉淀区11的污水必须进入双鼓式固液分离装置4入口进行过滤处理,支腿17固定于输送筒24并与箱体1上部固定,使双鼓式固液分离装置4倾斜的装设于箱体1。
如图3所示,支腿16固定于提渣筒19并与箱体1上部固定,使提渣装置倾斜地装设箱体1中,提渣螺杆3设置于提渣筒19中,提渣筒19一端具有一个进料口,位于箱体1底部的凹槽34中,另一端具有一个出料口20,减速驱动装置15固定于提渣筒19出料口20端并与螺旋轴连接,以驱动提渣螺杆3旋转工作,4个导料条固定在传输筒内壁下部,防止在将沉淀的固形物以及砂粒提升时随提渣螺杆3一起旋转,影响提升和挤压效果,提渣螺杆3的螺旋叶片为变距叶片,使螺杆的螺距逐渐变小,使其在提升过程中对固形物挤压脱水,提渣螺杆3螺旋叶片外边缘设置尼龙刷,清理提渣筒(19)内壁残留物及起到密封提渣螺杆3与提渣筒(19)之间间隙作用。
如图4所示,双鼓式固液分离装置4包含定鼓21、输送筒24、螺旋轴25、减速驱动装置14,支腿17固定于输送筒24并与箱体1上部固定,使双鼓式固液分离装置4倾斜地装设箱体1中,输送筒24一端通过锥形筒26连接定鼓输送筒24,另一端连接压缩包28,压缩包28连接出料口29,减速驱动装置14底座固定在出料口29另一端,形成双鼓式固液分离装置4的主体,定鼓21具有左法兰和右法兰,一鼓形网板两端分别与左法兰和右法兰连接,右法兰并与输送筒24连接,在定鼓21的上部具有两块倾斜网孔壁板与箱体1两侧相贴,在两块倾斜网孔壁板下侧具有冲洗装置27,冲洗装置27具有多个高压喷头32,用于对定鼓21内部和鼓形网板进行冲洗,防止堵塞;定鼓21外壁具有导流板,引导污水进入鼓形网板中以进行过滤;转鼓23位于定鼓21内部,是一个圆柱管,其外周具有螺旋叶片,螺旋叶片外径与定鼓21鼓形网板相匹配,供将鼓形网板过滤出来的固形物刮下并输送到锥形筒26和输送筒24中去,螺旋叶片外沿具有尼龙刷,起到清理鼓形网板内壁残留物作用;螺旋轴25一端连接转鼓23,另一端连接减速驱动装置14,螺旋轴25沿长度方向在锥形筒26和输送筒24段具有变距螺旋叶片33,变距螺旋叶片33外径与锥形筒26和输送筒24相匹配,供对过滤出来的固形物进行挤压、脱水、移出的作用;螺旋轴25在出料口29段具有反向螺旋叶片,将压缩包28中压缩的固形物从出料口29卸出,并且防止固形物挤压减速驱动装置14。
在粪便预处理固液分离装置工作过程中,城市污水、工业污水、粪便从入口5进入箱体1的第一沉淀区10进行初步沉淀,使其中比重大的砂、石等沉淀于第一沉淀区10的底部,然后初步沉淀后的污水经过方孔板9进入第二沉淀区11,从面对方孔板11的双鼓式固液分离装置4的入口进入定鼓21中的鼓形网板被过滤,滤出的固形物被转鼓23的螺旋叶片提升,在锥形筒26、输送筒24和压缩包28中被螺旋轴25的变距螺旋叶片33挤压脱水,经出料口29排出,过滤后的污水进入第二沉淀区11沉淀,其中细小泥砂沉淀到箱体1的底部,被输砂螺杆2输送到第一沉淀区10的凹槽34内,与初步沉淀的大块杂物一同被提渣螺杆3提升、压榨脱水,经出料口20排出,最后处理过的污水从箱体1第二沉淀区11的出料口7输出,完成将液体污水粪便中的一定粒径的不溶物及不规则的杂物分离、挤压,并将固形物移出的处理过程,实现在对污水处理中的分选、固液分离、挤压脱水在一个密封的箱体内完成处理全过程。

Claims (4)

1.一种粪便预处理固液分离装置,包括箱体、输砂螺杆、提渣螺杆、双鼓式固液分离装置,其特征在于:
-箱体上部具有箱盖,箱盖上设置臭气收集口,箱体中垂直设置一个方孔板,将箱体分成第一沉淀区和第二沉淀区,第一沉淀区具有进料口,第二沉淀区具有出料口;
-提渣螺杆倾斜设置在箱体上,其入口设在箱体底部凹槽中;
-输砂螺杆水平设置在箱体底部;
-双鼓式固液分离装置倾斜设置箱体上,其入口设在第二沉淀区中,面对方孔板。
2、根据权利要求1所述的粪便预处理固液分离装置,其特征在于:提渣螺杆设置于提渣筒中,支腿固定于提渣筒并与箱体上部固定,提渣筒一端具有一个进料口,另一端具有一个出料口,减速驱动装置固定于提渣筒出料口端并与螺旋轴连接,4个导料条固定在传输筒内壁下部,提渣螺杆螺旋叶片为变距叶片,其外边缘设置尼龙刷。
4个导料条固定在传输筒内壁下部,提渣螺杆螺旋叶片为变距叶片,其外边缘设置尼龙刷。
3、根据权利要求1所述的粪便预处理固液分离装置,其特征在于:输砂螺杆设置于输砂筒内,其两端通过轴承与箱体固定,输砂筒在第一沉淀区段为圆筒输砂筒,在第二沉淀区段为半圆筒输砂筒,减速驱动装置固定于箱体并与输砂螺杆一端连接。
4、根据权利要求1所述的粪便预处理固液分离装置,其特征在于:双鼓式固液分离装置包含定鼓、输送筒、螺旋轴、减速驱动装置;
输送筒一端通过锥形筒连接定鼓输送筒,另一端连接压缩包,压缩包连接出料口,减速驱动装置底座固定在出料口另一端,支腿固定于输送筒并与箱体上部固定;
定鼓具有左法兰和右法兰,鼓形网板两端分别与左法兰和右法兰连接,右法兰并与输送筒连接,在定鼓的上部具有两块倾斜网孔壁板与箱体两侧相贴,在两块倾斜网孔壁板下侧具有冲洗装置,冲洗装置具有多个高压喷头,定鼓外壁具有导流板;
转鼓位于定鼓内部,是一个圆柱管,其外周具有螺旋叶片,螺旋叶片外径与定鼓鼓形网板相匹配,螺旋叶片外沿具有尼龙刷;
螺旋轴一端连接转鼓,另一端连接减速驱动装置,螺旋轴沿长度方向在锥形筒和输送筒段具有变距螺旋叶片,变距螺旋叶片外径与锥形筒和输送筒相匹配,螺旋轴在出料口段具有反向螺旋叶片。
CNU200820107893XU 2008-03-26 2008-03-26 粪便预处理固液分离装置 Expired - Lifetime CN201190122Y (zh)

Priority Applications (1)

Application Number Priority Date Filing Date Title
CNU200820107893XU CN201190122Y (zh) 2008-03-26 2008-03-26 粪便预处理固液分离装置

Applications Claiming Priority (1)

Application Number Priority Date Filing Date Title
CNU200820107893XU CN201190122Y (zh) 2008-03-26 2008-03-26 粪便预处理固液分离装置

Publications (1)

Publication Number Publication Date
CN201190122Y true CN201190122Y (zh) 2009-02-04

Family

ID=40334281

Family Applications (1)

Application Number Title Priority Date Filing Date
CNU200820107893XU Expired - Lifetime CN201190122Y (zh) 2008-03-26 2008-03-26 粪便预处理固液分离装置

Country Status (1)

Country Link
CN (1) CN201190122Y (zh)

Cited By (6)

* Cited by examiner, † Cited by third party
Publication number Priority date Publication date Assignee Title
CN102205188A (zh) * 2010-03-30 2011-10-05 隆润新技术发展有限公司 一种带变径孔板的固液分离装置
CN102205195A (zh) * 2010-03-30 2011-10-05 隆润新技术发展有限公司 一体化粪便处理固液分离装置
CN102553310A (zh) * 2012-01-16 2012-07-11 北京世纪国瑞环境工程技术有限公司 粪便处理固液分离装置
CN103394238A (zh) * 2013-08-14 2013-11-20 隆润新技术发展有限公司 用于处理粪便废水的固液分离装置
WO2021008053A1 (zh) * 2019-07-17 2021-01-21 中国航天空气动力技术研究院 一种固液分离防沾污厕具、安装方法及应用
CN113185079A (zh) * 2021-04-29 2021-07-30 北京京城环保股份有限公司 一种粪便固液分离方法及装置

Cited By (8)

* Cited by examiner, † Cited by third party
Publication number Priority date Publication date Assignee Title
CN102205188A (zh) * 2010-03-30 2011-10-05 隆润新技术发展有限公司 一种带变径孔板的固液分离装置
CN102205195A (zh) * 2010-03-30 2011-10-05 隆润新技术发展有限公司 一体化粪便处理固液分离装置
CN102553310A (zh) * 2012-01-16 2012-07-11 北京世纪国瑞环境工程技术有限公司 粪便处理固液分离装置
CN103394238A (zh) * 2013-08-14 2013-11-20 隆润新技术发展有限公司 用于处理粪便废水的固液分离装置
CN103394238B (zh) * 2013-08-14 2015-06-03 隆润新技术发展有限公司 用于处理粪便废水的固液分离装置
WO2021008053A1 (zh) * 2019-07-17 2021-01-21 中国航天空气动力技术研究院 一种固液分离防沾污厕具、安装方法及应用
US11871880B2 (en) 2019-07-17 2024-01-16 China Academy Of Aerospace Aerodynamics Solid-liquid separation anti-soiling toilet, mounting method and application of solid-liquid separation anti-soiling toilet
CN113185079A (zh) * 2021-04-29 2021-07-30 北京京城环保股份有限公司 一种粪便固液分离方法及装置

Similar Documents

Publication Publication Date Title
CN101543694B (zh) 一种过滤、气分离机固液分离装置及工艺
CN201190122Y (zh) 粪便预处理固液分离装置
CN207046901U (zh) 一种废水处理装置
CN107716090A (zh) 一种高效去除河湖淤泥中颗粒性杂质的成套设备
CN216236605U (zh) 一种污泥处理用分类脱水固化处理装置
CN205949043U (zh) 一种用于铜米的浮选装置
CN110627243A (zh) 一种具有隔油沉砂功能的多级拦截螺旋压榨机
CN220003247U (zh) 一种环境污水固液分离器
CN222064301U (zh) 一种煤矿井下污水处理系统
CN211999086U (zh) 一种具有隔油沉砂功能的多级拦截螺旋压榨机
CN214556180U (zh) 一种餐厨垃圾处理设备
CN219355372U (zh) 一种污水处理淤泥收集装置的计量装置
CN217093941U (zh) 一种工业固废分拣系统
CN110604969A (zh) 立式固液分离装置
CN211492934U (zh) 用于大物质餐厨垃圾的分选设备
CN2675648Y (zh) 污水处理用浮渣收集设备
CN110271217A (zh) 用于垃圾分类资源再生装备中的多级螺旋脱水机
CN115958040A (zh) 餐厨垃圾浆料处理设备及处理方法
CN209287950U (zh) 一种餐厨垃圾厌氧处理预处理装置
CN209778348U (zh) 封闭式水利筛格栅装置
CN207871717U (zh) 用于垃圾处理的螺旋式固液分离器
CN207253849U (zh) 一种桶仓淌筛过滤式高效节能泥水分离设备
CN207388088U (zh) 一种用于生活垃圾分选系统的塑料清洗及提纯装置
CN221693001U (zh) 一种水利工程的施工车
CN219058760U (zh) 一种混凝土搅拌站废水循环利用系统

Legal Events

Date Code Title Description
C14 Grant of patent or utility model
GR01 Patent grant
ASS Succession or assignment of patent right

Owner name: BEIJING SHIJI GUORUI ENVIRONMENTAL ENGINEERING TEC

Free format text: FORMER OWNER: WANG SHAOKANG

Effective date: 20090904

C41 Transfer of patent application or patent right or utility model
TR01 Transfer of patent right

Effective date of registration: 20090904

Address after: Beijing city Fengtai District No. 18 Feng Zhu Yuan District 03-09, zip code: 100068

Patentee after: Beijing Century Green Environmental Engineering & Technology Co., Ltd.

Address before: Beijing city Fengtai District No. 18 Feng Zhu Yuan District 03-09, zip code: 100068

Patentee before: Wang Shaokang

CX01 Expiry of patent term
CX01 Expiry of patent term

Granted publication date: 20090204