CN201187892Y - 双排空太阳能热水器 - Google Patents
双排空太阳能热水器 Download PDFInfo
- Publication number
- CN201187892Y CN201187892Y CNU200820031134XU CN200820031134U CN201187892Y CN 201187892 Y CN201187892 Y CN 201187892Y CN U200820031134X U CNU200820031134X U CN U200820031134XU CN 200820031134 U CN200820031134 U CN 200820031134U CN 201187892 Y CN201187892 Y CN 201187892Y
- Authority
- CN
- China
- Prior art keywords
- water
- water inlet
- pipe
- switch
- water outlet
- Prior art date
- Legal status (The legal status is an assumption and is not a legal conclusion. Google has not performed a legal analysis and makes no representation as to the accuracy of the status listed.)
- Expired - Fee Related
Links
- XLYOFNOQVPJJNP-UHFFFAOYSA-N water Substances O XLYOFNOQVPJJNP-UHFFFAOYSA-N 0.000 title claims abstract description 181
- 238000009413 insulation Methods 0.000 abstract description 4
- 230000000694 effects Effects 0.000 description 2
- 230000002528 anti-freeze Effects 0.000 description 1
- 230000009286 beneficial effect Effects 0.000 description 1
- 238000010586 diagram Methods 0.000 description 1
- 238000012423 maintenance Methods 0.000 description 1
- 238000000034 method Methods 0.000 description 1
- 239000008399 tap water Substances 0.000 description 1
- 235000020679 tap water Nutrition 0.000 description 1
Images
Classifications
-
- Y—GENERAL TAGGING OF NEW TECHNOLOGICAL DEVELOPMENTS; GENERAL TAGGING OF CROSS-SECTIONAL TECHNOLOGIES SPANNING OVER SEVERAL SECTIONS OF THE IPC; TECHNICAL SUBJECTS COVERED BY FORMER USPC CROSS-REFERENCE ART COLLECTIONS [XRACs] AND DIGESTS
- Y02—TECHNOLOGIES OR APPLICATIONS FOR MITIGATION OR ADAPTATION AGAINST CLIMATE CHANGE
- Y02E—REDUCTION OF GREENHOUSE GAS [GHG] EMISSIONS, RELATED TO ENERGY GENERATION, TRANSMISSION OR DISTRIBUTION
- Y02E10/00—Energy generation through renewable energy sources
- Y02E10/40—Solar thermal energy, e.g. solar towers
- Y02E10/44—Heat exchange systems
Landscapes
- Heat-Pump Type And Storage Water Heaters (AREA)
Abstract
双排空太阳能热水器,由水箱、集热管、进水系统和出水系统组成。水箱由外壳、保温层、集热管接口、进水接管、上出水接管、下出水接管、排气管和内胆组成;进水系统由进水管道、进水开关、排空开关、内进水管及排气管组成;出水系统由出水接管、出水管道、备用阀、排气管和出水开关组成。内进水管上开有一放空孔,并分布于水箱底部的集热管接口处。关闭进水开关,开启出水开关时,出水管道中的余水从出水开关中流出,形成排空。关闭进水开关,打开排空开关时,进水管道和内进水管中的水被虹吸从排空开关中流出,当放空孔露出水面时虹吸停止,进水管道形成排空。
Description
所属技术领域:本实用新型涉及太阳能热水器对进、出水管道具有排空防冻功能的装置。
背景技术:
目前,太阳能热水器的出水接口均设置在水箱的下方,进、出水管道一般无排空装置,有排空装置的往往由于结构复杂,容易发生故障,也不便维修。
发明内容:
本实用新型的发明目的是提供一种上出水,且在不使用时可对进、出水管道进行排空的装置。
本实用新型解决其技术问题所采用的技术方案是:双排空太阳能热水器由水箱、进水系统、出水系统组成。水箱由外壳、保温层、进水接管、上出水接管、下出水接管、集热管接口、排气管及内胆组成。进水系统由进水开关、进水管道、排气管、排空开关及内进水管组成。出水系统由上出水接管、下出水接管、备用阀、出水管道、排气管和出水开关组成。进水管道上装置进水开关、排空开关,并与进水接管相连接,内进水管上在略低于上出水接管下沿处位置开有放空孔,内进水管的出水口位于水箱底部的集热管接口处。出水管道与上出水接管、备用阀和出水开关相连接,备用阀与下出水接管和出水管道相连接。排气管位于水箱的上端。采用本实用新型结构后,由于热对流的缘故,水箱中的水温总是上层高于下层,在使用太阳能热水器时,只要打开进水开关,冷水通过进水管道和内进水管注入水箱底部并向上顶压,水箱中热水自上出水接管流入出水管道供使用,关闭进水开关即仃止出水。在冬季防冻时,关闭进水开关后,出水管道中的残余水从出水开关流完,出水管道自然形成排空;在关闭进水开关,并打开排空开关后,进水管道和内进水管内的水从排空开关中被虹吸流出,直至内进水管上的放空孔露出水箱内的水面时,内进水管由于进入空气,虹吸现象仃止,进水管道即形成排空,。由于进出水管道均处于无水状态,从而达到防冻的目的,水箱内水位则保持在内进水管上放空孔的下沿。
本实用新型的有益效果是:采用本实用新型的结构后,太阳能热水器的出水为水箱中上层高温热水;并对太阳能热水器的进、出水管道方便实施排空。结构简单,使用方便,效果显著。
附图说明:
下面结合附图说明和实施例对本实用新型作进一步说明。
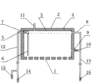
图1是本实用新型实施例的构造图。
图中:<1>集热管接口,<2>水箱外壳,<3>水箱内胆,<4>保温层,<5>进水管接管,<6>内进水管,<7>放空孔,<8>上出水接管,<9>下出水接管,<10>备用阀,<11>排气管,<12>进水管道,<13>出水管道,<14>进水开关,<15>排空开关,<16>出水开关。
具体实施方式:
在图1中,水箱由水箱外壳<2>、水箱内胆<3>、保温层<4>、内进水管<6>、排气管<11>和集热管接口<1>组成。进水管道<12>上串接进水开关<14>,在进水管道<12>上并接排空开关<15>。出水管道<13>与上出水接管<8>和备用阀<10>相连接,备用阀<10>串接在下出水接管<9>和出水管道<13>之间。排气管<11>位于水箱的上端。在图2中所示实施例中,内进水管<6>由位于水箱一侧的进水接管<5>处接入水箱中,并与进水管道<12>串接。在内进水管<6>上开有放空孔<7>,并略低于上出水接管<8>的下沿。上出水接管<8>与下出水接管<9>分别位于水箱另一侧的上部及下部。使用时打开进水开关<14>,自来水通过进水管道<12>、内进水管<6>,进入水箱底部,将水箱中的热水顶入上出水接管<8>,使热水流入出水管道<13>供使用。当关闭进水开关<14>后,由于空气从排气管<11>经水箱上空部、上出水接管<8>进入出水管道<13>,出水管道<13>中残余热水从出水开关<14>中流完,出水管道<13>即自然形成排空。当关闭进水开关<14>,打开排空开关<15>后,由于虹吸作用,使进水管道<12>和内进水管<6>中的水通过进水管道<12>,从排空开关<15>中流出,流至内进水管<6>上的放空孔<7>露出水箱的水面时,空气从排气管<11>、水箱上空部、放空孔<7>进入进水管道<12>,虹吸即仃止,进水管道<12>即形成排空,此时水箱内的水位则保持在放空孔<7>的下沿。
Claims (6)
1,双排空太阳能热水器,由水箱、集热管、进水系统、出水系统组成,其特征在于进水系统位于水箱一侧的底部;出水系统由位于水箱另一侧的上部。
2,按权利要求1所述的双排空太阳能热水器,其特征在于进水系统由进水开关、排空开关、进水管道、内进水管和排气管组成。
3,按权利要求1所述的双排空太阳能热水器,其特征在于内进水管的出水口,位于水箱底部。
4,按权利要求1所述的双排空太阳能热水器,其特征在于内进水管上的放空孔位于略低于上出水管接管下沿。
5,按权利要求1所述的双排空太阳能热水器,其特征在于出水系统由上出水接管、下出水接管、备用阀、出水管道、出水开关和排气管组成。
6,按权利要求1所述的双排空太阳能热水器,其特征在于排气管位于水箱的上端。
Priority Applications (1)
| Application Number | Priority Date | Filing Date | Title |
|---|---|---|---|
| CNU200820031134XU CN201187892Y (zh) | 2008-01-24 | 2008-01-24 | 双排空太阳能热水器 |
Applications Claiming Priority (1)
| Application Number | Priority Date | Filing Date | Title |
|---|---|---|---|
| CNU200820031134XU CN201187892Y (zh) | 2008-01-24 | 2008-01-24 | 双排空太阳能热水器 |
Publications (1)
| Publication Number | Publication Date |
|---|---|
| CN201187892Y true CN201187892Y (zh) | 2009-01-28 |
Family
ID=40310916
Family Applications (1)
| Application Number | Title | Priority Date | Filing Date |
|---|---|---|---|
| CNU200820031134XU Expired - Fee Related CN201187892Y (zh) | 2008-01-24 | 2008-01-24 | 双排空太阳能热水器 |
Country Status (1)
| Country | Link |
|---|---|
| CN (1) | CN201187892Y (zh) |
Cited By (1)
| Publication number | Priority date | Publication date | Assignee | Title |
|---|---|---|---|---|
| CN105841359A (zh) * | 2015-09-22 | 2016-08-10 | 国网安徽省电力公司培训中心 | 一种节能防冻型太阳能热水器 |
-
2008
- 2008-01-24 CN CNU200820031134XU patent/CN201187892Y/zh not_active Expired - Fee Related
Cited By (1)
| Publication number | Priority date | Publication date | Assignee | Title |
|---|---|---|---|---|
| CN105841359A (zh) * | 2015-09-22 | 2016-08-10 | 国网安徽省电力公司培训中心 | 一种节能防冻型太阳能热水器 |
Similar Documents
| Publication | Publication Date | Title |
|---|---|---|
| CN103994593A (zh) | 一种太阳能管道防冻装置及方法 | |
| CN201866963U (zh) | 内置式单管虹吸排空防冻太阳能热水器整套装置 | |
| CN201007575Y (zh) | 管道排空太阳能热水器的防气堵装置 | |
| CN201187892Y (zh) | 双排空太阳能热水器 | |
| CN201368610Y (zh) | 太阳能热水器用上下水管道虹吸式排空装置 | |
| CN202675691U (zh) | 节水易清洗高效太阳能热水器 | |
| CN101457994A (zh) | 一种具有排空功能的太阳能热水器水箱 | |
| CN101737967A (zh) | 一种壁挂式太阳能热水器 | |
| CN201819432U (zh) | 一种具有排空功能的太阳能热水器水箱 | |
| CN202675709U (zh) | 太阳能热水器排空防冻管路系统 | |
| CN201599972U (zh) | 一种太阳能热水器防热水倒流结构 | |
| CN201355141Y (zh) | 排空防冻太阳能 | |
| CN200993495Y (zh) | 侧式恒压顶水式双管排空防冻进出水装置 | |
| CN201964639U (zh) | 一种整体式全玻璃真空太阳能热水器系统 | |
| CN2856865Y (zh) | 即热防冻式太阳能热水器水箱 | |
| CN201935459U (zh) | 一种具有虹吸出水及排空的太阳能热水器 | |
| CN201575634U (zh) | 内置排空防冻型太阳能热水器 | |
| CN200993494Y (zh) | 顶式恒压顶水式双管排空防冻进出水装置 | |
| CN2479405Y (zh) | 热水供给管道排空装置 | |
| CN101694325A (zh) | 一种具有虹吸出水及排空的太阳能热水器 | |
| CN201166487Y (zh) | 太阳能热水器管道排空装置 | |
| CN201731664U (zh) | 多功能上水排空太阳能热水器 | |
| CN201697375U (zh) | 一种太阳能热水器的下水管自动排空装置 | |
| CN201382608Y (zh) | 太阳能输水管路自动排空防冻装置 | |
| CN201181126Y (zh) | 一种承压太阳能热水器卸压排空装置 |
Legal Events
| Date | Code | Title | Description |
|---|---|---|---|
| C14 | Grant of patent or utility model | ||
| GR01 | Patent grant | ||
| C17 | Cessation of patent right | ||
| CF01 | Termination of patent right due to non-payment of annual fee |
Granted publication date: 20090128 Termination date: 20100224 |