CN201171809Y - Biological deodorization reaction device - Google Patents
Biological deodorization reaction device Download PDFInfo
- Publication number
- CN201171809Y CN201171809Y CNU2008200049520U CN200820004952U CN201171809Y CN 201171809 Y CN201171809 Y CN 201171809Y CN U2008200049520 U CNU2008200049520 U CN U2008200049520U CN 200820004952 U CN200820004952 U CN 200820004952U CN 201171809 Y CN201171809 Y CN 201171809Y
- Authority
- CN
- China
- Prior art keywords
- biological deodorizing
- reactor
- gas
- layer
- reaction unit
- Prior art date
- Legal status (The legal status is an assumption and is not a legal conclusion. Google has not performed a legal analysis and makes no representation as to the accuracy of the status listed.)
- Expired - Fee Related
Links
- 238000006243 chemical reaction Methods 0.000 title claims abstract description 18
- 238000004332 deodorization Methods 0.000 title abstract description 32
- 239000007788 liquid Substances 0.000 claims abstract description 20
- 239000000945 filler Substances 0.000 claims abstract description 19
- 230000001877 deodorizing effect Effects 0.000 claims abstract description 17
- 230000000813 microbial effect Effects 0.000 claims abstract description 11
- 238000005507 spraying Methods 0.000 claims abstract description 8
- XLYOFNOQVPJJNP-UHFFFAOYSA-N water Substances O XLYOFNOQVPJJNP-UHFFFAOYSA-N 0.000 claims description 28
- 238000009826 distribution Methods 0.000 claims description 19
- 238000000889 atomisation Methods 0.000 claims description 12
- -1 polypropylene Polymers 0.000 claims description 6
- 239000007921 spray Substances 0.000 claims description 5
- 239000004743 Polypropylene Substances 0.000 claims description 4
- 229920001155 polypropylene Polymers 0.000 claims description 4
- 238000010521 absorption reaction Methods 0.000 claims description 3
- 239000002068 microbial inoculum Substances 0.000 claims description 3
- 239000011368 organic material Substances 0.000 claims description 3
- 239000004698 Polyethylene Substances 0.000 claims description 2
- 235000016709 nutrition Nutrition 0.000 claims description 2
- 229920000573 polyethylene Polymers 0.000 claims description 2
- 229920002635 polyurethane Polymers 0.000 claims description 2
- 239000004814 polyurethane Substances 0.000 claims description 2
- 230000008676 import Effects 0.000 claims 4
- 230000015572 biosynthetic process Effects 0.000 claims 3
- 239000004744 fabric Substances 0.000 claims 3
- 229920002521 macromolecule Polymers 0.000 claims 2
- 239000002781 deodorant agent Substances 0.000 claims 1
- 238000005192 partition Methods 0.000 abstract description 12
- 238000000034 method Methods 0.000 abstract description 8
- 230000007613 environmental effect Effects 0.000 abstract description 5
- 239000010815 organic waste Substances 0.000 abstract description 2
- 239000002351 wastewater Substances 0.000 abstract description 2
- 239000007789 gas Substances 0.000 description 17
- 235000019645 odor Nutrition 0.000 description 15
- 244000005700 microbiome Species 0.000 description 9
- 235000015097 nutrients Nutrition 0.000 description 6
- 239000000126 substance Substances 0.000 description 5
- 241000894006 Bacteria Species 0.000 description 4
- 230000000694 effects Effects 0.000 description 4
- 239000000919 ceramic Substances 0.000 description 3
- 239000004576 sand Substances 0.000 description 3
- CURLTUGMZLYLDI-UHFFFAOYSA-N Carbon dioxide Chemical compound O=C=O CURLTUGMZLYLDI-UHFFFAOYSA-N 0.000 description 2
- 238000005516 engineering process Methods 0.000 description 2
- 238000004519 manufacturing process Methods 0.000 description 2
- 238000012856 packing Methods 0.000 description 2
- 239000007787 solid Substances 0.000 description 2
- 239000008399 tap water Substances 0.000 description 2
- 235000020679 tap water Nutrition 0.000 description 2
- 230000002378 acidificating effect Effects 0.000 description 1
- 230000001580 bacterial effect Effects 0.000 description 1
- 230000009286 beneficial effect Effects 0.000 description 1
- 239000001569 carbon dioxide Substances 0.000 description 1
- 229910002092 carbon dioxide Inorganic materials 0.000 description 1
- 238000004140 cleaning Methods 0.000 description 1
- 238000009434 installation Methods 0.000 description 1
- 230000004060 metabolic process Effects 0.000 description 1
- 230000007269 microbial metabolism Effects 0.000 description 1
- 239000003595 mist Substances 0.000 description 1
- 230000035764 nutrition Effects 0.000 description 1
Images
Classifications
-
- Y—GENERAL TAGGING OF NEW TECHNOLOGICAL DEVELOPMENTS; GENERAL TAGGING OF CROSS-SECTIONAL TECHNOLOGIES SPANNING OVER SEVERAL SECTIONS OF THE IPC; TECHNICAL SUBJECTS COVERED BY FORMER USPC CROSS-REFERENCE ART COLLECTIONS [XRACs] AND DIGESTS
- Y02—TECHNOLOGIES OR APPLICATIONS FOR MITIGATION OR ADAPTATION AGAINST CLIMATE CHANGE
- Y02A—TECHNOLOGIES FOR ADAPTATION TO CLIMATE CHANGE
- Y02A50/00—TECHNOLOGIES FOR ADAPTATION TO CLIMATE CHANGE in human health protection, e.g. against extreme weather
- Y02A50/20—Air quality improvement or preservation, e.g. vehicle emission control or emission reduction by using catalytic converters
Landscapes
- Treating Waste Gases (AREA)
Abstract
本实用新型公开了一种生物除臭反应装置,它适用于高浓度有机废物处理过程中产生臭气的清除,特别适用于城市公厕废水的集中处理和城市垃圾处理过程中产生臭气的清除。它包括一个生物除臭反应器,反应器内部为分层式结构,层与层之间以隔板相分隔;隔板上设置有气液流通孔,在隔板上方放置有填料。隔板下方安装有雾化管道,雾化管道上设有喷雾设备。带有微生物菌液的雾化液喷撒在填料上与恶臭气体相撞,恶臭气体中的臭气及有害成分被清除掉,气体通过顶部的出气孔从排气筒排出。本实用新型设备简单,体积小,造价低,除臭效率高,是一种利国利民的环保设施。
The utility model discloses a biological deodorization reaction device, which is suitable for removing odor generated during the treatment of high-concentration organic waste, and is particularly suitable for the centralized treatment of waste water in urban public toilets and the removal of odor generated in the process of urban garbage treatment. It includes a biological deodorization reactor, the interior of the reactor is a layered structure, and the layers are separated by partitions; gas-liquid flow holes are arranged on the partitions, and fillers are placed above the partitions. An atomizing pipeline is installed under the partition, and a spraying device is arranged on the atomizing pipeline. The atomized liquid with microbial liquid is sprayed on the filler and collides with the malodorous gas, the odor and harmful components in the malodorous gas are removed, and the gas is discharged from the exhaust cylinder through the air outlet hole on the top. The utility model has the advantages of simple equipment, small volume, low cost and high deodorizing efficiency, and is an environmental protection facility that benefits the country and the people.
Description
技术领域 technical field
本实用新型涉及到一种生物除臭反应装置,适用于对高浓度有机废物处理过程中产生臭气的清除,特别适用于对城市公厕废水的集中处理和城市垃圾处理过程中产生的臭气清除。The utility model relates to a biological deodorization reaction device, which is suitable for removing the odor produced in the process of processing high-concentration organic waste, and is especially suitable for the centralized treatment of urban public toilet wastewater and the removal of odor generated in the process of urban garbage treatment. .
背景技术 Background technique
目前除臭的技术主要有化学除臭、物理除臭和生物除臭。生物除臭机理是培养、利用多种微生物共生的特点及新陈代谢的作用将恶臭物质转化为微生物的细胞物质,或被微生物降解为水和二氧化碳以及微量的残留气体,使排放的气体达国家GB14554-93二级标准要求。由于生物除臭成本较低,技术清洁,无二次污染等优点,所以是当前除臭的主要发展方向。但是生物除臭对设备及生物反应器的要求较高,要求反应器中的填料具有足够大的表面积供微生物附着,有一定的水分及营养供微生物繁衍生息。一般的生物反应器都是以陶粒、陶瓷和沙石做填料,在生物反应器上部装水分喷淋装置。但是陶粒、陶瓷和沙石的表面积相对较小;水分喷淋的水滴相对较大,喷的水分少,使陶粒、陶瓷和沙石中含水量不均匀,不能满足微生物需求,喷的过多,需要放流,放流中带走了部分微生物,大大地降低了生物反应器的除臭效果。为了提高处理效果,使处理后的气体达标排放,一般在生物除臭反应装置之前进行预处理,除去酸性和碱性致臭物质,再以组件式生物除臭滤塔(生物除臭反应装置)去除有机臭气和剩余的无机酸碱致臭物质。如公开号为CN 101036852A的固体洗涤-生物滤塔协同除臭方法。但现有的方法程序繁琐,设备复杂,占用场地较大,所用成本较高,不利于大批生产和应用。The current deodorization technologies mainly include chemical deodorization, physical deodorization and biological deodorization. The mechanism of biological deodorization is to cultivate and utilize the symbiotic characteristics of various microorganisms and the role of metabolism to convert odorous substances into microbial cell substances, or be degraded by microorganisms into water, carbon dioxide and trace residual gases, so that the emitted gases can reach the national GB14554- 93 secondary standard requirements. Due to the advantages of low cost, clean technology and no secondary pollution, biological deodorization is the main development direction of deodorization at present. However, biological deodorization has higher requirements on equipment and bioreactors, requiring the filler in the reactor to have a large enough surface area for microorganisms to attach, and a certain amount of water and nutrients for microorganisms to thrive. General bioreactors are filled with ceramsite, ceramics and sand, and a water spray device is installed on the upper part of the bioreactor. However, the surface area of ceramsite, ceramics and sand is relatively small; the water droplets of water spray are relatively large, and the water sprayed is less, which makes the water content in ceramsite, ceramics and sand uneven, which cannot meet the needs of microorganisms. Many microorganisms need to be discharged, and some microorganisms are taken away in the discharge, which greatly reduces the deodorization effect of the bioreactor. In order to improve the treatment effect and make the treated gas meet the standard discharge, pretreatment is generally carried out before the biological deodorization reaction device to remove acidic and alkaline odor-causing substances, and then the component type biological deodorization filter tower (biological deodorization reaction device) Remove organic odor and remaining inorganic acid-base odor-causing substances. For example, the publication number is the solid washing-biological filter tower collaborative deodorization method of CN 101036852A. However, the existing method has cumbersome procedures, complex equipment, large site occupation and high cost, which is not conducive to mass production and application.
发明内容 Contents of the invention
针对上述问题,本实用新型的目的是提供一种不需进行预处理,直接进行生物除臭即能达标排放的生物除臭反应装置。In view of the above problems, the purpose of this utility model is to provide a biological deodorization reaction device that does not require pretreatment, and can directly carry out biological deodorization and achieve standard discharge.
本实用新型的技术方案是:生物除臭反应装置包括一个生物除臭反应器,反应器的顶部设有排气孔,反应器内部为分层式结构,层与层之间以隔板相分隔。反应器的最底一层为布气层,布气层上面的各层为恶臭气处理层。在布气层中安有布气管,布气管外端为臭气进口,布气管上满布有出气孔。隔板上设置有气液流通孔,在隔板上方放置有填料。隔板下方安装有雾化管道,雾化管道上设有方向朝下的喷雾设备。各层的雾化管道均连接到雾化总管上。雾化总管与反应器外部的高压雾化泵出口相连。高压雾化泵的进口连接到水箱出口,水箱进口连接到自来水管和微生物除臭液箱。The technical scheme of the utility model is: the biological deodorization reaction device includes a biological deodorization reactor, the top of the reactor is provided with an exhaust hole, the inside of the reactor is a layered structure, and the layers are separated by partitions . The bottom layer of the reactor is the gas distribution layer, and the layers above the gas distribution layer are malodorous gas treatment layers. An air distribution pipe is installed in the air distribution layer, the outer end of the air distribution pipe is an odor inlet, and the air distribution pipe is covered with air outlets. Gas-liquid circulation holes are arranged on the partition, and fillers are placed above the partition. An atomizing pipeline is installed under the partition, and a downward spraying device is arranged on the atomizing pipeline. The atomization pipes of each layer are connected to the atomization main pipe. The atomization main pipe is connected with the outlet of the high-pressure atomization pump outside the reactor. The inlet of the high-pressure atomizing pump is connected to the outlet of the water tank, and the inlet of the water tank is connected to the running water pipe and the microbial deodorizing liquid tank.
本实用新型设备简单,成本低廉,体积小、场地占用小,便于制造和安装使用。本实用新型具有很强的除臭能力,经处理后排出的气体大大降低了有害成分和难闻气味,有利于空气的清洁和环境保护,是一种利国利民的环保设施。(附表为环境监督部门监测的数据表)The utility model has the advantages of simple equipment, low cost, small volume, small site occupation, and is convenient for manufacture, installation and use. The utility model has a strong deodorizing ability, and the gas discharged after treatment greatly reduces harmful components and unpleasant odors, is beneficial to air cleaning and environmental protection, and is an environmental protection facility that benefits the country and the people. (The attached table is the data table monitored by the environmental supervision department)
附图说明 Description of drawings
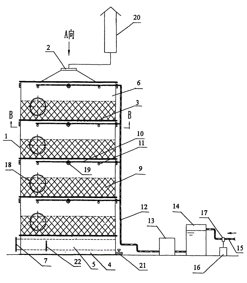
图1是本实用新型的结构示意图。Fig. 1 is the structural representation of the utility model.
图2是图1中的A向视图。Fig. 2 is a view from direction A in Fig. 1 .
图3是图1中的B-B剖视图。Fig. 3 is a B-B sectional view in Fig. 1 .
图中:生物除臭反应器1,排气孔2,隔板3,布气层4,布气管5,恶臭气处理层6,臭气进口7,气液流通孔8,填料9,雾化管道10,喷雾设备11,雾化总管12,高压雾化泵13,水箱14,自来水管15,微生物菌液和营养液箱16,配药泵17,人孔18,观察孔19,排气筒20,排空口21。温度计22。In the figure:
具体实施方式 Detailed ways
下面结合附图对本实用新型作进一步的描述。Below in conjunction with accompanying drawing, the utility model is further described.
参见附图,本实用新型生物除臭反应装置包括一个生物除臭反应器1,生物除臭反应器1可为圆柱形或方形,壳体由聚丙烯焊接而成。生物除臭反应器1的顶部设有排气孔2,排气孔2与外部的一个排气筒20相连把处理后的气体排出。在生物除臭反应器1下部有一排空口21,用于排出反应器底部沉积的液体。下部还有一温度计22,用于检测反应器内温度。生物除臭反应器1内部为分层式结构,一般为2-6层。层与层之间以隔板3相分隔。各层均设有人孔18和观察孔19,生物除臭反应器1的最底一层为布气层4,布气层4上面的各层为恶臭气处理层6。在布气层4中安有布气管5,布气管5外端为臭气进口7,臭气进口7的外侧和臭气管道相连。布气管5上满布有出气孔。隔板3上设置有气液流通孔8,在隔板3上方放置有填料9。填料9为正方形,是比表面积为3000、吸水率为3000%的高分子有机材料,如聚丙烯、聚乙烯或聚氨酯等。气液流通孔8占隔板3面积的4/5,直径为填料9大小的1/2,填料9不会从隔板3的气液流通孔8漏下。隔板3下方安装有雾化管道10,雾化管道10上设有方向朝下的喷雾设备11,喷雾设备11是雾化喷头,也可以是雾化喷孔。雾化的液滴小于80μm。各层的雾化管道10均连接到雾化总管12上。雾化总管12与生物除臭反应器1外部的高压雾化泵13出口相连。高压雾化泵13的进口连接到水箱14出口,水箱14进口通过一个配药泵17连接到自来水管15和微生物菌液和营养液箱16。Referring to the accompanying drawings, the biological deodorization reaction device of the utility model includes a
本实用新型的工作过程是:除臭设备启动前,填料9通过壳体上的人孔18加装到生物除臭反应器1内部的隔板3上。臭气管道中的臭气通过臭气进口7到达布气管5,通过均匀布气,自下而上通过各隔板3上的气液流通孔8,再经过填料9。与此同时,微生物菌液和营养液箱16通过配药泵17,与自来水一起被泵入水箱14后,通过高压雾化泵13将水转变为雾化液,经雾化总管12进入各层的雾化管道10,由喷雾设备11而下喷出,喷撒到填料9上。自下而上的恶臭气体与自上而下的雾滴(水、微生物菌液及营养液)相撞时,部分落在填料9表面,部分被恶臭气体带进填料9内部。恶臭气体与填料中的微生物作用后,恶臭气体中的臭气及有害成分被清除掉。处理后的气体最后通过与壳体顶部排气孔(12)相连的排气筒(13)排出。由于填料9比表面积大,吸水率高,附着在填料9上的微生物菌较多,吸收的水分也较多。一般情况下没有水分从壳体下部的排空口21排出。因此,水分、微生物菌液、微生物营养液,满足了微生物新陈代谢需要的水分、营养,满足了去除恶臭所需微生物菌的数量。反应器中层数越多,处理臭气的效果越好。为了增强微生物菌剂的作用,在除臭设备启动前,可先将固体微生物菌剂通过壳体上的观察孔20均匀喷加到填料9上。The working process of the utility model is: before the deodorization equipment is started, the
附表(环境监督部门监测的数据表)Attached table (data table monitored by the environmental supervision department)
Claims (10)
Priority Applications (1)
| Application Number | Priority Date | Filing Date | Title |
|---|---|---|---|
| CNU2008200049520U CN201171809Y (en) | 2008-03-17 | 2008-03-17 | Biological deodorization reaction device |
Applications Claiming Priority (1)
| Application Number | Priority Date | Filing Date | Title |
|---|---|---|---|
| CNU2008200049520U CN201171809Y (en) | 2008-03-17 | 2008-03-17 | Biological deodorization reaction device |
Publications (1)
| Publication Number | Publication Date |
|---|---|
| CN201171809Y true CN201171809Y (en) | 2008-12-31 |
Family
ID=40198920
Family Applications (1)
| Application Number | Title | Priority Date | Filing Date |
|---|---|---|---|
| CNU2008200049520U Expired - Fee Related CN201171809Y (en) | 2008-03-17 | 2008-03-17 | Biological deodorization reaction device |
Country Status (1)
| Country | Link |
|---|---|
| CN (1) | CN201171809Y (en) |
Cited By (4)
| Publication number | Priority date | Publication date | Assignee | Title |
|---|---|---|---|---|
| CN102500123A (en) * | 2011-11-07 | 2012-06-20 | 李昊民 | Internal spraying tower type oil-gas condenser and application thereof |
| CN102580519A (en) * | 2012-01-16 | 2012-07-18 | 北京世纪国瑞环境工程技术有限公司 | Deodorization device |
| CN106552503A (en) * | 2015-09-24 | 2017-04-05 | 魏晓明 | Integral biological oxidative deamination device of air and method |
| CN108159873A (en) * | 2018-01-11 | 2018-06-15 | 浙江中寰环保科技有限公司 | A kind of food garbage stench processing system and its processing method |
-
2008
- 2008-03-17 CN CNU2008200049520U patent/CN201171809Y/en not_active Expired - Fee Related
Cited By (5)
| Publication number | Priority date | Publication date | Assignee | Title |
|---|---|---|---|---|
| CN102500123A (en) * | 2011-11-07 | 2012-06-20 | 李昊民 | Internal spraying tower type oil-gas condenser and application thereof |
| CN102580519A (en) * | 2012-01-16 | 2012-07-18 | 北京世纪国瑞环境工程技术有限公司 | Deodorization device |
| CN106552503A (en) * | 2015-09-24 | 2017-04-05 | 魏晓明 | Integral biological oxidative deamination device of air and method |
| CN108159873A (en) * | 2018-01-11 | 2018-06-15 | 浙江中寰环保科技有限公司 | A kind of food garbage stench processing system and its processing method |
| CN108159873B (en) * | 2018-01-11 | 2020-04-17 | 浙江中寰环保科技有限公司 | Food waste odor treatment system and treatment method thereof |
Similar Documents
| Publication | Publication Date | Title |
|---|---|---|
| CN202844876U (en) | Novel high-efficiency biological deodorization purifier | |
| CN100506358C (en) | Solid waste washing-biological filter synergistic deodorization method | |
| CN104147921B (en) | A kind of apparatus and method of the activated carbon combined method processing foul gas of biofiltration | |
| CN201171809Y (en) | Biological deodorization reaction device | |
| CN104001421A (en) | Composite biological deodorizing process and apparatus using bubbleless aeration pretreatment | |
| CN205216574U (en) | Biofiltration purifies foul smell device | |
| CN209791267U (en) | High-efficient bio-trickling-filtering deodorizing purifier | |
| CN202666671U (en) | Comprehensive treating device for exhaust gas | |
| CN203244913U (en) | Biological deodorization device | |
| CN205867996U (en) | Microorganism spray column deodorizing device | |
| CN201644098U (en) | Activated carbon deodorization device | |
| CN201291121Y (en) | Combined biology deodorization tower | |
| CN209940752U (en) | Low-cost biological deodorization device | |
| CN108325377B (en) | A biological-physical-chemical combined treatment system and method for malodorous gas | |
| CN218339436U (en) | Gas deodorization processing system | |
| CN203244916U (en) | Biological deodorization device for sewage treatment plant | |
| CN207886971U (en) | Double tower type biological deodorizing system | |
| CN206566760U (en) | A kind of biological deodorizing device | |
| CN200974008Y (en) | Alkalescence solid and liquid washing and deodorizing tower | |
| CN204952609U (en) | Sewage station odor treatment device | |
| CN200995116Y (en) | Acid washing deodorization tower of refused chemical solid | |
| CN206082159U (en) | Organic stench exhaust treatment device of cities and towns sewage treatment plant high concentration | |
| CN205598927U (en) | Rubbish compression station photoelectricity deodorization processing apparatus | |
| CN212348329U (en) | Kitchen waste biological deodorization device | |
| CN202398285U (en) | Biological deodorizing reactor |
Legal Events
| Date | Code | Title | Description |
|---|---|---|---|
| C14 | Grant of patent or utility model | ||
| GR01 | Patent grant | ||
| C17 | Cessation of patent right | ||
| CF01 | Termination of patent right due to non-payment of annual fee |
Granted publication date: 20081231 |

