CN201161368Y - Hexagon depth socket wrench - Google Patents
Hexagon depth socket wrench Download PDFInfo
- Publication number
- CN201161368Y CN201161368Y CNU2008200562600U CN200820056260U CN201161368Y CN 201161368 Y CN201161368 Y CN 201161368Y CN U2008200562600 U CNU2008200562600 U CN U2008200562600U CN 200820056260 U CN200820056260 U CN 200820056260U CN 201161368 Y CN201161368 Y CN 201161368Y
- Authority
- CN
- China
- Prior art keywords
- depth
- inner hexagonal
- handle
- hexagonal
- utility
- Prior art date
- Legal status (The legal status is an assumption and is not a legal conclusion. Google has not performed a legal analysis and makes no representation as to the accuracy of the status listed.)
- Expired - Fee Related
Links
- 230000009286 beneficial effect Effects 0.000 description 1
- 230000007547 defect Effects 0.000 description 1
- 238000010586 diagram Methods 0.000 description 1
- 238000000034 method Methods 0.000 description 1
- 238000012986 modification Methods 0.000 description 1
- 230000004048 modification Effects 0.000 description 1
Landscapes
- Details Of Spanners, Wrenches, And Screw Drivers And Accessories (AREA)
Abstract
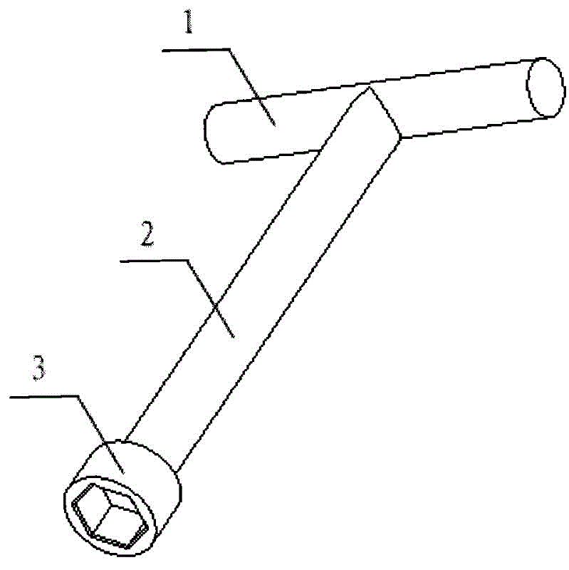
本实用新型涉及一种内六角深度套筒绞手,由把手(1),深度杆(2),内六角套筒(3)组成,所述的深度杆(2)上端装有把手(1),下端装有内六角套筒(3)。本实用新型和专用的内六角系列扳手配套使用,能有利于在特殊场合和有深度的工作环境条件下进行内六角螺栓紧固、连接和拆卸,可以克服不利的工作环境,大大地提高实际工作效率,不用进行不必要的设备拆卸;为工作人员带来操作上的方便,提高了工作效率,降低了时间成本,而且克服了普通内六角扳头刚度不够的不足。
The utility model relates to an inner hexagonal depth sleeve winch, which is composed of a handle (1), a depth rod (2) and an inner hexagonal sleeve (3). The upper end of the depth rod (2) is equipped with a handle (1) , the lower end is equipped with an inner hexagon socket (3). The utility model is used together with the special inner hexagonal series wrench, which can facilitate the fastening, connection and disassembly of the inner hexagonal bolts in special occasions and deep working environment conditions, can overcome the unfavorable working environment, and greatly improve the actual work. Efficiency, without unnecessary disassembly of equipment; it brings convenience to the staff, improves work efficiency, reduces time costs, and overcomes the lack of rigidity of ordinary hexagonal wrenches.
Description
技术领域technical field
本实用新型涉及一种绞手,尤其涉及一种深度套筒绞手。The utility model relates to a hand wrench, in particular to a deep sleeve wrench.
背景技术Background technique
随着我国的经济快速发展和产业的升级,新颖设备的不断出现,进口设备数量增加,各种设备结构也呈现出设计上十分紧凑的趋势,使工作人员对工具的特殊需求也日益提高。在许多有一定深度工作场合中,需要一种比较特殊的工具,才能方便地安装、维修和拆卸设备上的内六角螺栓。With the rapid economic development and industrial upgrading of our country, the continuous emergence of novel equipment, the increase in the number of imported equipment, and the trend of compact design of various equipment structures have increased the special needs of workers for tools. In many working situations with a certain depth, a relatively special tool is needed to easily install, repair and disassemble the hexagon socket head bolts on the equipment.
发明内容Contents of the invention
本实用新型所要解决的技术问题是提供一种内六角深度套筒绞手,解决现有技术中拆卸深度设备上的螺栓不便的缺陷。The technical problem to be solved by the utility model is to provide a hexagonal depth sleeve wrench, which solves the defect of inconvenient disassembly of the bolts on the depth equipment in the prior art.
技术方案Technical solutions
一种内六角深度套筒绞手,由把手(1),深度杆(2),内六角套筒(3)组成,所述的深度杆(2)上端装有把手(1),下端装有内六角套筒(3)。An inner hexagonal depth sleeve winch, which is composed of a handle (1), a depth rod (2), and an inner hexagonal sleeve (3). The upper end of the depth rod (2) is equipped with a handle (1), and the lower end is equipped with a Hex socket socket (3).
有益效果Beneficial effect
本实用新型和专用的内六角系列扳手配套使用,能有利于在特殊场合和有深度的工作环境条件下进行内六角螺栓紧固、连接和拆卸,可以克服不利的工作环境,大大地提高实际工作效率,不用进行不必要的设备拆卸;为工作人员带来操作上的方便,提高了工作效率,降低了时间成本,而且克服了普通内六角扳头刚度不够的不足。The utility model is used together with the special inner hexagonal series wrench, which can facilitate the fastening, connection and disassembly of the inner hexagonal bolts in special occasions and deep working environment conditions, can overcome the unfavorable working environment, and greatly improve the actual work. Efficiency, without unnecessary disassembly of equipment; it brings convenience to the staff, improves work efficiency, reduces time costs, and overcomes the lack of rigidity of ordinary hexagonal wrenches.
附图说明Description of drawings
图1本实用新型结构示意图。Fig. 1 is a structural schematic diagram of the utility model.
具体实施方式Detailed ways
下面结合具体实施例,进一步阐述本实用新型。应理解,这些实施例仅用于说明本实用新型而不用于限制本实用新型的范围。此外应理解,在阅读了本实用新型讲授的内容之后,本领域技术人员可以对本发明作各种改动或修改,这些等价形式同样落于本申请所附权利要求书所限定的范围。Below in conjunction with specific embodiment, further set forth the utility model. It should be understood that these embodiments are only used to illustrate the present utility model and are not intended to limit the scope of the present utility model. In addition, it should be understood that those skilled in the art may make various changes or modifications to the present invention after reading the content taught by the present utility model, and these equivalent forms also fall within the scope defined by the appended claims of the present application.
实施例1Example 1
一种内六角深度套筒绞手,由把手1,深度杆2,内六角套筒3组成,所述的深度杆2上端装有把手1,下端装有内六角套筒3。An inner hexagonal depth socket wrench is composed of a handle 1, a depth rod 2, and an inner hexagonal sleeve 3. The upper end of the depth rod 2 is equipped with a handle 1, and the lower end is equipped with an inner hexagonal sleeve 3.
可以在进行操作中视螺栓的直径大小,在内六角套筒内放入相应专用系列的内六角扳手,套筒内的磁性能牢牢吸引着内六角扳手。内六角扳手只要对准内六角螺栓的头部,它便可以有效地进行拆卸或者装配内六角螺栓。内六角扳手可以很轻松用手从套筒内拿出,轻易地更换规格大小不一的内六角扳手。Depending on the diameter of the bolt during operation, a corresponding special series of hexagonal wrench can be put into the inner hexagonal socket, and the magnetic properties in the sleeve will firmly attract the inner hexagonal wrench. As long as the Allen wrench is aligned with the head of the Allen bolt, it can effectively disassemble or assemble the Allen bolt. The inner hexagonal wrench can be easily taken out from the socket by hand, and the inner hexagonal wrench of different specifications can be easily replaced.
在一种内六角深度套筒绞手深度杆的作用下,工作人员只要双手握着套筒绞手的把手,可以轻松地转动把手,十分方便地拧紧或者拧松具有一定深度或者受到某种局限,难以用普通工具进行操作的内六角螺栓。Under the action of a hexagonal depth socket wrench depth rod, the staff can easily turn the handle as long as they hold the handle of the socket wrench with both hands, and it is very convenient to tighten or unscrew the screw to a certain depth or subject to certain restrictions. , Hexagon socket bolts that are difficult to operate with ordinary tools.
Claims (1)
Priority Applications (1)
| Application Number | Priority Date | Filing Date | Title |
|---|---|---|---|
| CNU2008200562600U CN201161368Y (en) | 2008-03-14 | 2008-03-14 | Hexagon depth socket wrench |
Applications Claiming Priority (1)
| Application Number | Priority Date | Filing Date | Title |
|---|---|---|---|
| CNU2008200562600U CN201161368Y (en) | 2008-03-14 | 2008-03-14 | Hexagon depth socket wrench |
Publications (1)
| Publication Number | Publication Date |
|---|---|
| CN201161368Y true CN201161368Y (en) | 2008-12-10 |
Family
ID=40182312
Family Applications (1)
| Application Number | Title | Priority Date | Filing Date |
|---|---|---|---|
| CNU2008200562600U Expired - Fee Related CN201161368Y (en) | 2008-03-14 | 2008-03-14 | Hexagon depth socket wrench |
Country Status (1)
| Country | Link |
|---|---|
| CN (1) | CN201161368Y (en) |
Cited By (1)
| Publication number | Priority date | Publication date | Assignee | Title |
|---|---|---|---|---|
| CN107855969A (en) * | 2017-10-11 | 2018-03-30 | 国家电网公司 | Anti-induced electrical SF6 takes air valve special equipment |
-
2008
- 2008-03-14 CN CNU2008200562600U patent/CN201161368Y/en not_active Expired - Fee Related
Cited By (1)
| Publication number | Priority date | Publication date | Assignee | Title |
|---|---|---|---|---|
| CN107855969A (en) * | 2017-10-11 | 2018-03-30 | 国家电网公司 | Anti-induced electrical SF6 takes air valve special equipment |
Similar Documents
| Publication | Publication Date | Title |
|---|---|---|
| CN203510032U (en) | Integrated inner and outer hexagonal sleeve wrench | |
| CN204263073U (en) | A kind of bushing dismounting instrument | |
| CN201161368Y (en) | Hexagon depth socket wrench | |
| CN204366903U (en) | Pipeline adpting flange bolt disassembly instrument | |
| CN202607539U (en) | Adjustable wrench | |
| CN201128132Y (en) | Special pin puller | |
| CN201471342U (en) | Special assembly tool for stud bolts | |
| CN212351811U (en) | A dismantling bolt wrench with an extension rod | |
| CN201161325Y (en) | Round corner square series wrench | |
| CN201848800U (en) | Fast unscrewing and screwing wrench | |
| CN201189650Y (en) | Special internal hexagon wrench | |
| CN202684868U (en) | Combined tool of solid wench and screwdriver | |
| CN204414023U (en) | A kind of bolt disassembling tool | |
| CN201187503Y (en) | Screw | |
| CN203125415U (en) | Fastening insulating bar of various types of bolts | |
| CN203245818U (en) | Disassembling device for mechanical seal | |
| CN201685222U (en) | Rama | |
| CN201851459U (en) | External-pentagonal internal-quadrangular bolt | |
| CN201537885U (en) | Multifunctional tube clamp | |
| CN202862104U (en) | Screwdriver sleeve tube device | |
| CN201446507U (en) | Movable hook wrench | |
| CN204800529U (en) | Short wushu multi -use spanner of portable combination | |
| CN202079562U (en) | Novel screwdriver | |
| CN201625934U (en) | Dual purpose bow wrench | |
| CN204658293U (en) | A kind of power-assisted screwdriver |
Legal Events
| Date | Code | Title | Description |
|---|---|---|---|
| C14 | Grant of patent or utility model | ||
| GR01 | Patent grant | ||
| C17 | Cessation of patent right | ||
| CF01 | Termination of patent right due to non-payment of annual fee |
Granted publication date: 20081210 Termination date: 20110314 |
