CN201155448Y - Vail external hydraulic self-sealing plunger pump - Google Patents
Vail external hydraulic self-sealing plunger pump Download PDFInfo
- Publication number
- CN201155448Y CN201155448Y CNU2007201873975U CN200720187397U CN201155448Y CN 201155448 Y CN201155448 Y CN 201155448Y CN U2007201873975 U CNU2007201873975 U CN U2007201873975U CN 200720187397 U CN200720187397 U CN 200720187397U CN 201155448 Y CN201155448 Y CN 201155448Y
- Authority
- CN
- China
- Prior art keywords
- valve
- pump
- plunger
- sealing
- fixed
- Prior art date
- Legal status (The legal status is an assumption and is not a legal conclusion. Google has not performed a legal analysis and makes no representation as to the accuracy of the status listed.)
- Expired - Fee Related
Links
Images
Landscapes
- Details Of Reciprocating Pumps (AREA)
Abstract
本实用新型提供一种凡尔外置式液压自封柱塞抽油泵,主要包括游动凡尔、柱塞、泵筒和固定凡尔,固定凡尔固定连接于泵筒的下部,游动凡尔置于柱塞外部上部,且泵筒下部的固定凡尔连接一插接于一锁紧支承座中的固定锁紧支承,通过一提拉机构可将泵拉出井外;另设分腔过桥接头和反冲洗阀等以形成抽油、冲洗两条专用通道使检泵和冲洗作业更加方便,降低了开采成本。该泵具有泵效高、泵径小、摩阻小、寿命长、作业方便,无污染等特点。
The utility model provides an external valve hydraulic self-sealing plunger oil pump, which mainly includes a swimming valve, a plunger, a pump cylinder and a fixed valve, the fixed valve is fixedly connected to the lower part of the pump cylinder, and the swimming valve is placed On the upper part of the plunger, and the fixed valve on the lower part of the pump barrel is connected to a fixed locking support plugged into a locking support seat, and the pump can be pulled out of the well through a pulling mechanism; a sub-cavity bridge joint is also provided and backwash valve to form two special channels for oil pumping and flushing, which makes the pump inspection and flushing operations more convenient and reduces the production cost. The pump has the characteristics of high pump efficiency, small pump diameter, small friction resistance, long life, convenient operation and no pollution.
Description
技术领域: Technical field:
本实用新型属于石油开采机械举升领域,具体涉及抽油机的柱塞抽油泵,是一种可小柱塞径、具有自封功能的液压柱塞抽油泵。The utility model belongs to the lifting field of petroleum exploitation machinery, in particular to a plunger oil well pump of a pumping unit, which is a hydraulic plunger oil well pump with a small plunger diameter and self-sealing function.
背景技术: Background technique:
目前,有杆柱塞泵抽油是世界石油工业传统的举升方式之一,也是迄今为止占主导地位的人工举升方式。有杆泵抽油技术发展的第一阶段是衬套式柱塞泵,第二阶段为整筒式柱塞泵,目前大量采用该方式。而常规柱塞泵存在摩阻大、效率低、作业复杂等问题,其主要原因是金属柱塞与泵筒存在的直线度与椭圆度误差造成配合干涉,特别将泵用于含聚流体、稠油和含固相微粒较多时存在较大的摩擦阻力,随着间隙变小和聚合物浓度变大,轴向压力变大,产生侧向力,引起杆、管弯曲,使泵的有效冲程缩短、泵效降低,最终导致杆、管偏摩断漏,泵检周期缩短等不良影响。排除故障时只能通过作业起出杆柱或油管柱,增加了原油开采的成本。At present, pumping oil with a rod plunger pump is one of the traditional lifting methods in the world petroleum industry, and it is also the dominant artificial lifting method so far. The first stage of rod pump pumping technology development is the bushing plunger pump, and the second stage is the whole barrel plunger pump, which is widely used at present. However, conventional plunger pumps have problems such as large friction, low efficiency, and complicated operations. When there are more oil and solid-containing particles, there is greater frictional resistance. As the gap becomes smaller and the polymer concentration becomes larger, the axial pressure becomes larger, generating lateral force, causing rods and tubes to bend, and shortening the effective stroke of the pump. , The pump efficiency is reduced, which eventually leads to bad effects such as partial friction and leakage of rods and tubes, and shortened pump inspection cycle. When troubleshooting, the rod string or the tubing string can only be pulled out by operation, which increases the cost of crude oil extraction.
另一方面,目前普遍使用的柱塞泵,游动凡尔(阀)是通过螺纹连接在柱塞内,与柱塞一同在泵筒内相对泵筒运动,因此泵径较大,不适用于在小直径、小排量的井况。On the other hand, in the plunger pump commonly used at present, the swimming valve (valve) is connected in the plunger through threads, and moves with the plunger in the pump barrel relative to the pump barrel, so the pump diameter is relatively large, which is not suitable for In the well conditions of small diameter and small displacement.
实用新型内容:Utility model content:
本实用新型的目的是提供一种凡尔外置式液压自封柱塞抽油泵,使其适用于小直径、小排量的井中,并能解决常规柱塞泵摩阻大、理论排量大效率低、作业复杂等问题。The purpose of this utility model is to provide an external hydraulic self-sealing plunger oil well pump, which is suitable for small-diameter, small-displacement wells, and can solve the problem of conventional plunger pumps with large friction resistance, large theoretical displacement and low efficiency. , complex tasks, etc.
本实用新型凡尔外置式液压自封柱塞抽油泵,主要包括游动凡尔、柱塞、泵筒和固定凡尔,其中:所述固定凡尔固定连接于泵筒的下部,游动凡尔置于柱塞外部上部。The utility model external hydraulic self-sealing plunger oil well pump mainly includes a swimming valve, a plunger, a pump barrel and a fixed valve, wherein: the fixed valve is fixedly connected to the lower part of the pump cylinder, and the swimming valve Placed on top of the outside of the plunger.
以上所述的凡尔外置式液压自封柱塞抽油泵,其中,所述泵筒下部的固定凡尔连接一固定锁紧支承,所述固定锁紧支承插接于一锁紧支承座里。In the external hydraulic self-sealing plunger pump described above, the fixed valve at the bottom of the pump barrel is connected to a fixed locking support, and the fixed locking support is plugged into a locking support seat.
所述泵筒上端设有一组可伸缩凸台,而柱塞的下部设有供可伸缩凸台伸入的凹槽,二者的适时接合形成了将泵拉出地面的提拉机构。The upper end of the pump barrel is provided with a group of telescopic bosses, and the lower part of the plunger is provided with a groove for the telescopic bosses to extend into. The timely engagement of the two forms a lifting mechanism for pulling the pump out of the ground.
以上所述的凡尔外置式液压自封柱塞抽油泵,其中,设一外管同轴套设于游动凡尔、柱塞、泵筒、固定凡尔或固定锁紧支承、以及锁紧支承座之外,且在所述固定凡尔或锁紧支承座下连接一分腔过桥接头,其设开孔于所述外管外并连通固定锁紧支承、固定凡尔、泵筒、柱塞、游动凡尔形成抽油通道。The above-mentioned valve external hydraulic self-sealing plunger oil pump, wherein an outer tube is coaxially sleeved on the floating valve, the plunger, the pump barrel, the fixed valve or the fixed locking support, and the locking support Outside the seat, and connect a sub-cavity bridging joint under the fixed valve or locking support seat, which is provided with an opening outside the outer tube and communicates with the fixed locking support, fixed valve, pump barrel, column The plug and the swimming valve form the oil suction channel.
以上所述的凡尔外置式液压自封柱塞抽油泵,其中,所述外管下端内部固设有一反冲洗阀,反冲洗阀的阀座固定连接外管侧壁,阀座的底部通孔连通外管最底部,阀座的顶部通孔连通外管与分腔过桥接头形成的冲洗腔以及外管和泵筒之间的空腔而形成冲洗专用通道。The external hydraulic self-sealing plunger oil pump described above, wherein, a backwash valve is fixed inside the lower end of the outer pipe, the valve seat of the backwash valve is fixedly connected to the side wall of the outer pipe, and the bottom of the valve seat communicates with the through hole. The bottom of the outer tube and the top through hole of the valve seat communicate with the flushing cavity formed by the outer tube and the sub-cavity bridging joint and the cavity between the outer tube and the pump barrel to form a special channel for flushing.
以上所述的凡尔外置式液压自封柱塞抽油泵,其中,所述泵筒设密封段,密封段设有可传导压力的密封段外壳,外壳内装有一个弹性伸缩套,在弹性伸缩套里面叠装有多个耐磨的密封环。The external hydraulic self-sealing plunger oil well pump described above, wherein, the pump barrel is provided with a sealing section, and the sealing section is provided with a sealing section casing capable of transmitting pressure, and an elastic telescopic sleeve is installed inside the casing, and inside the elastic telescopic casing Multiple wear-resistant sealing rings are stacked.
采用以上设计,本实用新型抽油泵将凡尔(阀)外置,有效地减小了泵径,使这种新型泵更适用于井眼尺寸在Φ34.9mm至Φ50.8mm之间的微小井径、产量为0.5m3/d至1m3/d的小排量的井况。该泵的泵筒和泵筒下部的固定阀通过固定锁紧支承插接在锁紧支承座里,通过柱塞在泵筒里的往复运动(根据需要也可固定柱塞,使泵筒往复运动)来实现泵容积的变化,从而进行吸液和排液。由壳体、弹性套、密封环三层构成的泵筒密封段,利用其液压自封的功能,使泵的上行程无漏失,下行程无摩阻。泵柱塞设有的凹槽和泵筒设有的可伸缩凸台的接合,可将抽油泵方便可靠的拉出地面实施检泵。在抽油泵的底下部设有一个分腔过桥接头,使泵形成抽油、冲洗两条专用通道,这种设计使冲洗作业干净彻底,有效的延长了抽油泵故障周期,降低了采油成本。Adopting the above design, the utility model oil well pump puts the valve (valve) outside, which effectively reduces the pump diameter, making this new pump more suitable for tiny wells with borehole sizes ranging from Φ34.9mm to Φ50.8mm Well conditions with a small diameter and a production rate of 0.5m 3 /d to 1m 3 /d. The pump barrel of the pump and the fixed valve at the lower part of the pump barrel are plugged into the locking support seat through the fixed locking support, and through the reciprocating movement of the plunger in the pump barrel (the plunger can also be fixed as needed to make the pump barrel reciprocate) ) to realize the change of pump volume, so as to carry out suction and discharge. The sealing section of the pump cylinder, which is composed of three layers of casing, elastic sleeve and sealing ring, utilizes its hydraulic self-sealing function to ensure that the pump has no leakage in the upstroke and no friction in the downstroke. The engagement between the groove provided on the pump plunger and the telescopic boss provided on the pump barrel can pull the oil well pump out of the ground conveniently and reliably for pump inspection. There is a sub-cavity bridging joint at the bottom of the oil well pump, so that the pump forms two special channels for oil pumping and flushing. This design makes the flushing operation clean and thorough, effectively prolonging the failure period of the oil well pump and reducing the cost of oil production.
附图说明: Description of drawings:
图1为本实用新型凡尔外置式液压自封柱塞泵的结构图;Fig. 1 is the structural diagram of the external hydraulic self-sealing plunger pump of the utility model;
图2为图1中密封段泵筒的局部放大图;Fig. 2 is a partially enlarged view of the pump barrel of the sealing section in Fig. 1;
图3为本实用新型凡尔外置式液压自封柱塞抽油泵工作示意图;Fig. 3 is a working schematic diagram of the utility model Ver's external hydraulic self-sealing plunger oil well pump;
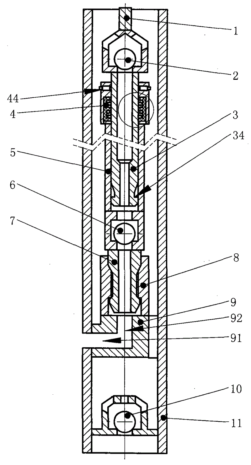
图中:1.抽油杆、2.游动凡尔(阀)、34.柱塞凹槽、3.柱塞、4.泵筒密封段、41.密封段壳体、42.弹性伸缩套、43.密封环、44.可伸缩凸台、5.泵筒、6.固定凡尔(阀)、7.固定锁紧支承、8.锁紧支承座、9.分腔过桥接头、91.水平孔、92.垂直孔、10.反冲洗阀、11.外管、12.套管。In the figure: 1. Sucker rod, 2. Swimming valve (valve), 34. Plunger groove, 3. Plunger, 4. Pump barrel sealing section, 41. Sealing section shell, 42. Elastic telescopic sleeve , 43. Sealing ring, 44. Retractable boss, 5. Pump barrel, 6. Fixed valve (valve), 7. Fixed locking support, 8. Locking support seat, 9. Cavity bridge joint, 91 .Horizontal hole, 92. Vertical hole, 10. Backwash valve, 11. Outer pipe, 12. Casing.
具体实施方式: Detailed ways:
由图1所示,和现有抽油泵相似,本实用新型凡尔外置式液压自封柱塞抽油泵从上至下依次装有抽油杆1、游动凡尔2以及置于泵筒5内的柱塞3;与现有抽油泵不同的是:As shown in Fig. 1, similar to the existing oil well pump, the external hydraulic self-sealing plunger oil well pump of the utility model is equipped with a sucker rod 1, a
泵筒5上部设一密封段4,下部固定连接一固定凡尔6和固定锁紧支承7,固定锁紧支承7插接于锁紧支承座8里,固定锁紧支承7中间设与固定凡尔6相通的通道;The upper part of the
锁紧支承座8下端固定连接一分腔过桥接头9,分腔过桥接头9具有相互连通的水平孔91和垂直孔92,并且垂直孔92与固定锁紧支承7中间的通道连通;The lower end of the
设一外管11用作冲洗管或油管,该外管11套设在以上所述各部件之外,并与分腔过桥接头9的一侧端连接一起,外管11侧壁与分腔过桥接头9的水平孔91相对位置开设一通孔;外管11与其它套设于其中的部件之间留有间隙而形成冲洗通道;外管11的下部固设有一反冲洗阀10,反冲洗阀10的阀座13固定连接外管11侧壁,阀座13的底部通孔连通外管11最底部,阀座13的顶部通孔连通外管11与分腔过桥接头9形成的冲洗腔。Set an
采用以上本设计,本实用新型将固定凡尔(阀)6置于往复运动的柱塞3、泵筒5之外,可以有效地减小泵径。By adopting the above design, the utility model places the fixed valve (valve) 6 outside the
在本实用新型优化方案中,为达到抽油泵的液压自封功能,泵筒5的密封段4采用了优化设计,参见图2所示,密封段4设有可传导压力的密封段外壳41,外壳内装有一个弹性伸缩套42,在弹性伸缩套里面叠装有若干个耐磨的密封环43,由于密封段4内外压差的作用,泵在上冲程时,该密封段4与柱塞3形成密合,实现零漏失;下冲程时则与柱塞3存有间隙,无摩阻。密封段4部分也可参见实用新型人另一专利200520112641.2中描述的设计。In the optimization scheme of the utility model, in order to achieve the hydraulic self-sealing function of the oil well pump, the
在本实用新型另一优化方案中,为将抽油泵拉出地面进行检修,如图1所示,泵筒密封段4上设有一组可伸缩凸台44,而柱塞3的下部设有供可伸缩凸台44伸入的凹槽34,当抽油杆1提拉柱塞3向上时,凹槽34行至可伸缩凸台44位置而使伸缩凸台44插入凹槽34内,从而使柱塞3和泵筒5连接,此时再加力上拉抽油杆1,则使与泵筒5固定连接的固定锁紧支承7从锁紧支承座8中脱开,从而将抽油泵上面部件拉出地面。In another optimization scheme of the present utility model, in order to pull the oil well pump out of the ground for maintenance, as shown in Figure 1, a group of
在本实用新型还一优化方案中,分设抽油通道和清洗通道。参见图3所示,在外管(即冲洗管/油管)11外再轴向套设一套管12,套管12与外管11留有间隙形成洗井通道。所设分腔过桥接头9的水平孔91和垂直孔92向上依次连通固定锁紧支承7通道、固定凡尔6、泵筒5、柱塞3、游动凡尔2而形成一抽油通道;而洗井通道、反冲洗阀10、分腔过桥接头9的外围与外管11的空腔、外管11与其中内部装设部件(如泵筒5)之间的空腔连通而形成冲洗通道。抽油时,反冲洗阀10关闭,则液体通过抽油通道被提升至地面;洗井时,高压液体经洗井通道注入井下并进入外管11的底腔,顶开冲洗阀10进入冲洗通道,对抽油泵内的沉於物进行冲洗,最后经外管11返回地面,完成冲洗作业。In yet another optimized solution of the utility model, an oil pumping channel and a cleaning channel are separately provided. Referring to Fig. 3, a
以上多种优化设计可以结合使用或者单独使用,因此,本实用新型的抽油泵可以做出多种实施的变化,在此恕不一一列举。The above multiple optimized designs can be used in combination or used alone. Therefore, the oil well pump of the present utility model can be implemented in various changes, which are not listed here.
采用以上设计,本实用新型达到以下有益效果:By adopting the above design, the utility model achieves the following beneficial effects:
该凡尔外置式液压自封柱塞抽油泵采用上述方案,首次将固定凡尔(阀)置于往复运动的柱塞、泵筒之外,可以有效地减小泵径,使本实用新型的抽油泵更适用于井眼尺寸在Φ34.9mm至Φ50.8mm之间的微井径、产量为0.5m3/d至1m3/d小排量的井况。目前已实现的新型泵径为国内外最小泵径,该技术已达到国内外领先水平。The valve external hydraulic self-sealing plunger oil pump adopts the above scheme, and for the first time, the fixed valve (valve) is placed outside the reciprocating plunger and pump barrel, which can effectively reduce the pump diameter and make the pumping pump of the utility model The oil pump is more suitable for well conditions with a micro-diameter wellbore size between Φ34.9mm and Φ50.8mm, and a production rate of 0.5m 3 /d to 1m 3 /d and small displacement. The new type of pump diameter that has been realized so far is the smallest pump diameter at home and abroad, and this technology has reached the leading level at home and abroad.
泵筒上设密封段,上冲程泵筒腔外高压,密封段的弹性伸缩套发生弹性形变,形成良好的密封,漏失量趋于零,下冲程弹性伸缩套逐渐恢复原状,间隙变大,摩阻趋于零,上冲程所承受的摩擦是已承受载荷的有效摩擦,降低了对泵筒的磨损,专用耐磨密封环提高了泵的使用寿命。同等情况下有效冲程增加,下冲程无摩擦阻力,减少抽油杆弯曲,增加有效冲程,泵效显著提高。There is a sealing section on the pump barrel, and the high pressure outside the pump barrel cavity on the upstroke causes elastic deformation of the elastic telescopic sleeve of the sealing section to form a good seal, and the leakage tends to zero. The resistance tends to zero, and the friction on the upstroke is the effective friction of the load, which reduces the wear on the pump barrel, and the special wear-resistant sealing ring improves the service life of the pump. Under the same conditions, the effective stroke is increased, the downstroke has no friction resistance, the bending of the sucker rod is reduced, the effective stroke is increased, and the pump efficiency is significantly improved.
检泵时,通过柱塞、泵筒设有的凹槽、凸台提拉机构,可顺利将抽油泵拉出地面,作业方便省力,无污染(起泵时,泵可自动泄油),降低采油成本。When inspecting the pump, the oil well pump can be pulled out of the ground smoothly through the plunger, the groove provided on the pump barrel, and the lifting mechanism of the boss. Oil production costs.
洗井时,于套管内注入高压液体,高压液体经过井底,将反冲洗阀顶开,进入外管,通过外管返回地面,完成冲洗作业。这种专一通道洗井技术,干净彻底,可减少作业次数。When flushing the well, inject high-pressure liquid into the casing. The high-pressure liquid passes through the bottom of the well, opens the backwash valve, enters the outer pipe, and returns to the ground through the outer pipe to complete the flushing operation. This special-channel well washing technology is clean and thorough, which can reduce the number of operations.
Claims (8)
Priority Applications (1)
| Application Number | Priority Date | Filing Date | Title |
|---|---|---|---|
| CNU2007201873975U CN201155448Y (en) | 2007-12-24 | 2007-12-24 | Vail external hydraulic self-sealing plunger pump |
Applications Claiming Priority (1)
| Application Number | Priority Date | Filing Date | Title |
|---|---|---|---|
| CNU2007201873975U CN201155448Y (en) | 2007-12-24 | 2007-12-24 | Vail external hydraulic self-sealing plunger pump |
Publications (1)
| Publication Number | Publication Date |
|---|---|
| CN201155448Y true CN201155448Y (en) | 2008-11-26 |
Family
ID=40103232
Family Applications (1)
| Application Number | Title | Priority Date | Filing Date |
|---|---|---|---|
| CNU2007201873975U Expired - Fee Related CN201155448Y (en) | 2007-12-24 | 2007-12-24 | Vail external hydraulic self-sealing plunger pump |
Country Status (1)
| Country | Link |
|---|---|
| CN (1) | CN201155448Y (en) |
Cited By (3)
| Publication number | Priority date | Publication date | Assignee | Title |
|---|---|---|---|---|
| WO2009092189A1 (en) * | 2007-12-24 | 2009-07-30 | Heilongjiang Jiaxin Petrochemical Machinery Co., Ltd. | External valve type hydraulic self-sealing piston oil well pump |
| CN109030137A (en) * | 2018-06-28 | 2018-12-18 | 中国石油大学(华东) | A kind of experimental provision and method of simulation frozen soil stratum cement sheath consolidation |
| CN119860337A (en) * | 2023-10-20 | 2025-04-22 | 中国石油化工股份有限公司 | Oil pump |
-
2007
- 2007-12-24 CN CNU2007201873975U patent/CN201155448Y/en not_active Expired - Fee Related
Cited By (4)
| Publication number | Priority date | Publication date | Assignee | Title |
|---|---|---|---|---|
| WO2009092189A1 (en) * | 2007-12-24 | 2009-07-30 | Heilongjiang Jiaxin Petrochemical Machinery Co., Ltd. | External valve type hydraulic self-sealing piston oil well pump |
| CN109030137A (en) * | 2018-06-28 | 2018-12-18 | 中国石油大学(华东) | A kind of experimental provision and method of simulation frozen soil stratum cement sheath consolidation |
| CN109030137B (en) * | 2018-06-28 | 2021-07-06 | 中国石油大学(华东) | An experimental device and method for simulating the consolidation of cement sheath in frozen ground |
| CN119860337A (en) * | 2023-10-20 | 2025-04-22 | 中国石油化工股份有限公司 | Oil pump |
Similar Documents
| Publication | Publication Date | Title |
|---|---|---|
| CN101469700A (en) | External valve type hydraulic self-sealing plunger oil-well pump | |
| CN206071845U (en) | An anti-eccentric wear pump | |
| CN101684724A (en) | Snubbing downhole control valve | |
| CN104612944B (en) | A kind of thick oil pump | |
| CN101781979B (en) | Hydraulic driving oil extraction equipment | |
| CN101526079A (en) | Multifunctional oil-extraction and gas-injection integrated oil well pump for sanding heavy crude oil well | |
| CN201155448Y (en) | Vail external hydraulic self-sealing plunger pump | |
| CN212428755U (en) | Oil pipe water-mixing steam-injection hollow rod oil extraction integrated pipe column | |
| CN111550216B (en) | Injection-production integrated lifting device | |
| CN118934525A (en) | A hydraulically driven differential drainage pump and its use method | |
| CN111980640B (en) | Three-layer oil well sucker-rod pump oil extraction and water production reinjection pipe column and use method | |
| CN202731855U (en) | Oil pumping unit drive rodless hydraulic oil pumping system | |
| CN103133335A (en) | Middle exhausting gas prevention oil-well pump and oil pumping technology thereof | |
| CN204371623U (en) | Oil-well pump | |
| CN101782060B (en) | Hydraulic oil pump | |
| CN2725518Y (en) | Rod less hydraulic oil pumping system | |
| CN210598927U (en) | Special downhole hydraulic motor for oil production | |
| CN110318712B (en) | A special downhole hydraulic motor for oil production | |
| CN100365279C (en) | Negative pressure oil pump | |
| CN206681957U (en) | Three plunger mining pumps | |
| CN222976961U (en) | Hydraulic drive differential drainage pump | |
| CN201078219Y (en) | Beam pumping unit drive type hydraulic oil pumping system without pole | |
| CN223048987U (en) | Bridge-crossing series feedback oil pump | |
| CN206592107U (en) | Down-hole oil production elastic expansion plunger | |
| CN202971146U (en) | Inserting sealing type deep suction power assisting device |
Legal Events
| Date | Code | Title | Description |
|---|---|---|---|
| C14 | Grant of patent or utility model | ||
| GR01 | Patent grant | ||
| CF01 | Termination of patent right due to non-payment of annual fee |
Granted publication date: 20081126 Termination date: 20161224 |
|
| CF01 | Termination of patent right due to non-payment of annual fee |
