CN201155155Y - 剪切型铅阻尼器 - Google Patents
剪切型铅阻尼器 Download PDFInfo
- Publication number
- CN201155155Y CN201155155Y CNU2008200788787U CN200820078878U CN201155155Y CN 201155155 Y CN201155155 Y CN 201155155Y CN U2008200788787 U CNU2008200788787 U CN U2008200788787U CN 200820078878 U CN200820078878 U CN 200820078878U CN 201155155 Y CN201155155 Y CN 201155155Y
- Authority
- CN
- China
- Prior art keywords
- cover plates
- lead
- shearing
- damper
- sliding plate
- Prior art date
- Legal status (The legal status is an assumption and is not a legal conclusion. Google has not performed a legal analysis and makes no representation as to the accuracy of the status listed.)
- Expired - Fee Related
Links
- 238000010008 shearing Methods 0.000 claims abstract description 31
- 208000002925 dental caries Diseases 0.000 claims description 6
- 238000013016 damping Methods 0.000 abstract description 2
- 238000004519 manufacturing process Methods 0.000 abstract description 2
- 238000000034 method Methods 0.000 abstract description 2
- 230000014759 maintenance of location Effects 0.000 description 2
- 230000007547 defect Effects 0.000 description 1
- 238000010586 diagram Methods 0.000 description 1
- 238000005516 engineering process Methods 0.000 description 1
Images
Landscapes
- Vibration Dampers (AREA)
Abstract
本实用新型涉及一种剪切型铅阻尼器,可应用于建筑结构减震控制。包括有上下两个盖板1、滑动板2,两个盖板1分别扣在滑动板2的上下两个表面上,在两个盖板1与滑动板2的各接触面上均开有一个凹槽,并且四个凹槽位置相对、尺寸相同,形成上下两个空腔,将剪切铅块3直接嵌于这两个空腔内。将若干个螺杆5穿过两个盖板1,通过锁紧螺母4锁紧螺杆5,固定两个盖板1以及夹于两个盖板1之间的滑动板2和剪切铅块3。本实用新型将常规剪切铅阻尼器的剪切铅柱简化为剪切铅块,剪切铅块直接嵌于盖板与滑动板的凹槽中,简化了铅块与盖板的连接,构造简单,加工方便,降低了制造成本,同时其滞回性能保持不变,具有很高的实际应用价值。
Description
技术领域
本实用新型涉及一种剪切型铅阻尼器,可应用于建筑结构减震控制。
背景技术
铅阻尼器是一类利用铅的塑性变形消散振动能量的一种控制装置。常规的剪切铅阻尼器如图1所示。该类阻尼器包括上下两个盖板1、滑动板2和剪切铅柱6。图1所示的常规剪切铅阻尼器的主要缺点是剪切铅柱6与两个盖板1的连接较为困难,加工时耗费过多的工时和铅材。
实用新型内容
本实用新型的目的在于解决现有剪切铅阻尼器中剪切铅柱6与两个盖板1的连接问题,提供了一种连接更为简单的剪切型铅阻尼器。
为了实现上述目的,本实用新型的设计方案如下。剪切型铅阻尼器,包括有上下两个盖板1、滑动板2,两个盖板1分别扣在滑动板2的上下两个表面上,在两个盖板1与滑动板2的各接触面上均开有一个凹槽,并且四个凹槽位置相对、尺寸相同,形成上下两个空腔。在两个空腔内各嵌入一块与空腔尺寸相同的剪切铅块3。将螺杆5穿过两个盖板1,通过锁紧螺母4锁紧螺杆5,固定两个盖板1以及夹于两个盖板1之间的滑动板2和剪切铅块3。
本实用新型将常规剪切铅阻尼器的剪切铅柱6简化为剪切铅块3,剪切铅块3直接嵌于盖板1与滑动板2的凹槽中,简化了铅块与盖板的连接,构造简单,加工方便,降低了制造成本,同时其滞回性能保持不变,具有很高的实际应用价值。
附图说明:
图1现有剪切铅阻尼器的结构示意图
图2本实用新型提出的剪切型铅阻尼器的俯视结构示意图
图3本实用新型提出的剪切型铅阻尼器a-a剖面结构示意图
图4本实用新型提出的剪切型铅阻尼器b-b剖面结构示意图
图5实施例剪切型铅阻尼器构造图
图6实施例剪切型铅阻尼器的滞回曲线
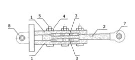
图中:1、盖板,2、滑动板,3、剪切铅块,4、锁紧螺母,5、螺杆,6、剪切铅柱,7、连接铰头,8、带铰端板。
具体实施方式
下面结合实施例对本实用新型进行进一步说明。
如图5所示剪切型铅阻尼器,包括有上下两个盖板1、滑动板2,两个盖板1分别扣在滑动板2的上下两个表面上,在两个盖板1与滑动板2的各接触面上均开有一个凹槽,并且四个凹槽位置相对、尺寸相同,形成上下两个空腔,将剪切铅块3直接嵌于这两个空腔内。将若干个螺杆5穿过两个盖板1,通过锁紧螺母4锁紧螺杆5,固定两个盖板1以及夹于两个盖板1之间的滑动板2和剪切铅块3。两个盖板1与带铰端板8焊接在一起,滑动板2与连接铰头7焊接。
本实施例剪切型铅阻尼器,在简化了铅块与盖板的连接结构的同时,使其滞回性能与常规剪切铅阻尼器滞回性能保持一致,图6所示为本实施例剪切型铅阻尼器的滞回曲线。
Claims (1)
1、剪切型铅阻尼器,包括有上下两个盖板(1)、滑动板(2),其特征在于:两个盖板(1)分别扣在滑动板(2)的上下两个表面上,在两个盖板(1)与滑动板(2)的各接触面上均开有一个凹槽,并且四个凹槽位置相对、尺寸相同,形成上下两个空腔;在两个空腔内各嵌入一块与空腔尺寸相同的剪切铅块(3);螺杆(5)穿过两个盖板(1),通过锁紧螺母(4)锁紧螺杆(5),固定两个盖板(1)以及夹于两个盖板(1)之间的滑动板(2)和剪切铅块(3)。
Priority Applications (1)
| Application Number | Priority Date | Filing Date | Title |
|---|---|---|---|
| CNU2008200788787U CN201155155Y (zh) | 2008-02-01 | 2008-02-01 | 剪切型铅阻尼器 |
Applications Claiming Priority (1)
| Application Number | Priority Date | Filing Date | Title |
|---|---|---|---|
| CNU2008200788787U CN201155155Y (zh) | 2008-02-01 | 2008-02-01 | 剪切型铅阻尼器 |
Publications (1)
| Publication Number | Publication Date |
|---|---|
| CN201155155Y true CN201155155Y (zh) | 2008-11-26 |
Family
ID=40102940
Family Applications (1)
| Application Number | Title | Priority Date | Filing Date |
|---|---|---|---|
| CNU2008200788787U Expired - Fee Related CN201155155Y (zh) | 2008-02-01 | 2008-02-01 | 剪切型铅阻尼器 |
Country Status (1)
| Country | Link |
|---|---|
| CN (1) | CN201155155Y (zh) |
Cited By (3)
| Publication number | Priority date | Publication date | Assignee | Title |
|---|---|---|---|---|
| CN104947830A (zh) * | 2015-07-29 | 2015-09-30 | 北京工业大学 | 一种叠层钢-铅支座 |
| CN104947829A (zh) * | 2015-07-29 | 2015-09-30 | 北京工业大学 | 采用预制切割铅板的叠层钢-铅支座组装方法 |
| CN105178465A (zh) * | 2015-07-29 | 2015-12-23 | 北京工业大学 | 采用现场灌注冷却成型铅板的叠层钢-铅支座组装方法 |
-
2008
- 2008-02-01 CN CNU2008200788787U patent/CN201155155Y/zh not_active Expired - Fee Related
Cited By (5)
| Publication number | Priority date | Publication date | Assignee | Title |
|---|---|---|---|---|
| CN104947830A (zh) * | 2015-07-29 | 2015-09-30 | 北京工业大学 | 一种叠层钢-铅支座 |
| CN104947829A (zh) * | 2015-07-29 | 2015-09-30 | 北京工业大学 | 采用预制切割铅板的叠层钢-铅支座组装方法 |
| CN105178465A (zh) * | 2015-07-29 | 2015-12-23 | 北京工业大学 | 采用现场灌注冷却成型铅板的叠层钢-铅支座组装方法 |
| CN105178465B (zh) * | 2015-07-29 | 2017-07-04 | 北京工业大学 | 采用现场灌注冷却成型铅板的叠层钢‑铅支座组装方法 |
| CN104947829B (zh) * | 2015-07-29 | 2017-10-31 | 北京工业大学 | 采用预制切割铅板的叠层钢‑铅支座组装方法 |
Similar Documents
| Publication | Publication Date | Title |
|---|---|---|
| CN101225679A (zh) | 剪切型铅阻尼器 | |
| CN201982563U (zh) | 一种改进的铅剪切阻尼器 | |
| CN102296724B (zh) | 斜置双层折板钢板剪力墙 | |
| CN109322390B (zh) | 一种盖板螺栓式模块建筑角部连接节点 | |
| CN201635210U (zh) | 粘弹性复合型形状记忆合金阻尼器 | |
| CN201155155Y (zh) | 剪切型铅阻尼器 | |
| CN103541452B (zh) | 软钢与摩擦阻尼器 | |
| CN202265917U (zh) | 多槽铅剪切阻尼器 | |
| CN209211624U (zh) | 一种盖板螺栓式模块建筑角部连接节点 | |
| CN102444217A (zh) | 钢铅拉压阻尼器 | |
| CN202298982U (zh) | 一种预制夹芯墙体纤维增强塑料连接件 | |
| CN102296726A (zh) | 一种装配式铅剪切阻尼墙 | |
| CN202471528U (zh) | 木塑复合材料扭转蠕变仪 | |
| CN2763375Y (zh) | 内藏x形钢板铅复合耗能器 | |
| CN203569696U (zh) | 一种装配式木结构植筋节点 | |
| CN2670468Y (zh) | 梁柱节点结构 | |
| CN201933639U (zh) | 大行程铅剪切阻尼器 | |
| CN201972261U (zh) | 耗能铰 | |
| CN205857383U (zh) | 一种装配式木结构x形梁柱耗能节点 | |
| CN204282578U (zh) | 一种吊装式耐火性剪力墙 | |
| CN104179269B (zh) | 一种铝蜂窝/铅复合耗能器 | |
| CN201528153U (zh) | 一种限位式铅剪切减震器 | |
| CN203160448U (zh) | 波折钢板阻尼器 | |
| CN203320722U (zh) | 一种铅剪切阻尼器 | |
| CN206707324U (zh) | 一种自复位装置加固的古建筑大木构架榫卯节点 |
Legal Events
| Date | Code | Title | Description |
|---|---|---|---|
| C14 | Grant of patent or utility model | ||
| GR01 | Patent grant | ||
| C17 | Cessation of patent right | ||
| CF01 | Termination of patent right due to non-payment of annual fee |
Granted publication date: 20081126 Termination date: 20120201 |