CN201154938Y - Multifunctional sewage treatment and reuse system - Google Patents
Multifunctional sewage treatment and reuse system Download PDFInfo
- Publication number
- CN201154938Y CN201154938Y CNU2007201965036U CN200720196503U CN201154938Y CN 201154938 Y CN201154938 Y CN 201154938Y CN U2007201965036 U CNU2007201965036 U CN U2007201965036U CN 200720196503 U CN200720196503 U CN 200720196503U CN 201154938 Y CN201154938 Y CN 201154938Y
- Authority
- CN
- China
- Prior art keywords
- sewage
- tank
- pipe
- supply mechanism
- reuse
- Prior art date
- Legal status (The legal status is an assumption and is not a legal conclusion. Google has not performed a legal analysis and makes no representation as to the accuracy of the status listed.)
- Expired - Fee Related
Links
Images
Classifications
-
- Y—GENERAL TAGGING OF NEW TECHNOLOGICAL DEVELOPMENTS; GENERAL TAGGING OF CROSS-SECTIONAL TECHNOLOGIES SPANNING OVER SEVERAL SECTIONS OF THE IPC; TECHNICAL SUBJECTS COVERED BY FORMER USPC CROSS-REFERENCE ART COLLECTIONS [XRACs] AND DIGESTS
- Y02—TECHNOLOGIES OR APPLICATIONS FOR MITIGATION OR ADAPTATION AGAINST CLIMATE CHANGE
- Y02W—CLIMATE CHANGE MITIGATION TECHNOLOGIES RELATED TO WASTEWATER TREATMENT OR WASTE MANAGEMENT
- Y02W10/00—Technologies for wastewater treatment
- Y02W10/10—Biological treatment of water, waste water, or sewage
Landscapes
- Treatment Of Biological Wastes In General (AREA)
Abstract
本实用新型涉及一种多功能污水处理及回用系统,包括污水供应机构、净化剂供应机构、处理罐、回用水供应机构及污泥排放机构。污水供应机构一端连接污水池、另一端连接处理罐入水端;净化剂供应机构连接于污水供应机构中;处理罐包括入水端连接污水供应机构的进水管、罐体、主轴、反冲罐、曝气管、滤网、外接回用水供应机构的排水管及电机,其中,进水管为反复弯折并环绕罐体延伸的弯型管;罐体底面中央设有与进水管相连且顶端向上伸至反冲罐内的导管,罐体内底部设有外接污泥排放机构的储泥槽,反冲罐的罐壁设有渗水孔。本实用新型可根据污水性质而选择活性污泥法或物理/化学法,适应范围更广,可使节能减排投入产生最大效益,环保效果好。
The utility model relates to a multifunctional sewage treatment and reuse system, which comprises a sewage supply mechanism, a purification agent supply mechanism, a treatment tank, a reuse water supply mechanism and a sludge discharge mechanism. One end of the sewage supply mechanism is connected to the sewage pool, and the other end is connected to the water inlet of the treatment tank; the purifying agent supply mechanism is connected to the sewage supply mechanism; the treatment tank includes the water inlet pipe, the tank body, the main shaft, the recoil tank, and the exposure tank connected to the sewage supply mechanism at the water inlet. The air pipe, filter screen, drain pipe and motor of the external return water supply mechanism, among which, the water inlet pipe is a curved pipe that is repeatedly bent and extends around the tank body; The conduit in the recoil tank, the bottom of the tank is provided with a sludge storage tank externally connected to the sludge discharge mechanism, and the tank wall of the recoil tank is provided with seepage holes. The utility model can choose the activated sludge method or the physical/chemical method according to the nature of the sewage, has a wider application range, can maximize the investment in energy saving and emission reduction, and has a good environmental protection effect.
Description
技术领域 technical field
本实用新型涉及污水处理技术领域,特别是指一种多功能污水处理及回用系统。The utility model relates to the technical field of sewage treatment, in particular to a multifunctional sewage treatment and reuse system.
背景技术 Background technique
当前,随着对环境保护的日益重视,对于在工业生产、生活中等产生的大量污水都需经净化处理后才能排放。常见的污水处理方式包括活性污泥法(SBR)和物理/化学法(SPR),其一般分别处理不同性质的污水。而现有的污水处理系统多是根据其中一种方法、只为处理某一种性质的污水进行设计的,而难以根据污水的性质来灵活地选择污水处理方法,使得其适用范围有所限制。At present, with the increasing emphasis on environmental protection, a large amount of sewage generated in industrial production and daily life must be purified before it can be discharged. Common sewage treatment methods include activated sludge process (SBR) and physical/chemical process (SPR), which generally treat different types of sewage respectively. However, most of the existing sewage treatment systems are designed according to one of the methods and are only designed to treat a certain type of sewage, and it is difficult to flexibly choose a sewage treatment method according to the nature of the sewage, which limits its scope of application.
实用新型内容Utility model content
本实用新型所要解决的技术问题在于:提供一种多功能污水处理及回用系统,其可适用于不同的污水处理方法中,而具有较广的适用范围。The technical problem to be solved by the utility model is to provide a multifunctional sewage treatment and reuse system, which can be applied to different sewage treatment methods and has a wide application range.
为解决上述技术问题,本实用新型所采用的技术方案是:一种多功能污水处理及回用系统,包括污水供应机构、净化剂供应机构、处理罐、回用水供应机构及污泥排放机构。所述污水供应机构一端连接污水池、另一端连接处理罐入水端;净化剂供应机构连接于污水供应机构中;所述处理罐包括进水管、罐体、可旋转地设于罐体内中轴线上的主轴、设于主轴底端的反冲罐、自外部伸入罐体内底部的曝气管、设于罐体内顶部的滤网、设于滤网上方的罐体上并外接回用水供应机构的排水管及用以驱动主轴旋转的电机,其中,所述进水管为反复弯折并环绕罐体延伸的弯型管,其入水端连接污水供应机构;罐体底面中央设有底端与进水管末端相连且顶端向上伸至反冲罐内的导管,罐体内底部设有外接污泥排放机构的储泥槽,反冲罐的罐壁设有渗水孔。In order to solve the above technical problems, the technical solution adopted by the utility model is: a multifunctional sewage treatment and reuse system, including a sewage supply mechanism, a purifier supply mechanism, a treatment tank, a reuse water supply mechanism and a sludge discharge mechanism. One end of the sewage supply mechanism is connected to the sewage pool, and the other end is connected to the water inlet end of the treatment tank; the purifying agent supply mechanism is connected to the sewage supply mechanism; the treatment tank includes a water inlet pipe, a tank body, and is rotatably arranged on the central axis of the tank body. The main shaft, the recoil tank set at the bottom of the main shaft, the aeration pipe extending from the outside to the bottom of the tank, the filter screen set on the top of the tank body, the drain tank set on the tank above the filter screen and externally connected to the return water supply mechanism The pipe and the motor used to drive the main shaft to rotate, wherein, the water inlet pipe is a curved pipe that is repeatedly bent and extends around the tank body, and its water inlet end is connected to the sewage supply mechanism; the center of the bottom surface of the tank body is provided with a bottom end and an end of the water inlet pipe Connected with a conduit whose top extends upwards into the recoil tank, the bottom of the tank is provided with a sludge storage tank externally connected to the sludge discharge mechanism, and the tank wall of the recoil tank is provided with seepage holes.
优选地,所述回用水供应机构包括设于排水管末端处以接纳回用水的回用水池、抽取回用水的回用水泵以及与回用水泵相连的回用水供应管。Preferably, the reuse water supply mechanism includes a reuse water tank provided at the end of the drain pipe to receive the reuse water, a reuse water pump for pumping the return water, and a return water supply pipe connected to the return water pump.
优选地,所述污泥排放机构包括与储泥槽相连的排泥管、设于排泥管末端的污泥过滤器、设于污泥过滤器顶部以将过滤产生的污水排至污水池中的污水回流管及与污泥过滤器底端相连的污泥脱水机。Preferably, the sludge discharge mechanism includes a sludge discharge pipe connected to the sludge storage tank, a sludge filter arranged at the end of the sludge discharge pipe, and arranged on the top of the sludge filter to discharge the filtered sewage into the sewage tank The sewage return pipe and the sludge dehydrator connected to the bottom of the sludge filter.
优选地,所述排水管上还设有带有控制阀的支管路,所述支管路连接至进水管的入水端。Preferably, the drain pipe is also provided with a branch line with a control valve, and the branch line is connected to the water inlet end of the water inlet pipe.
优选地,所述主轴为中空轴管,其顶端伸至罐体外与回用水供应管相连通。Preferably, the main shaft is a hollow shaft tube, the top end of which extends out of the tank and communicates with the return water supply pipe.
优选地,所述罐体的底端还设有放空管。Preferably, a vent pipe is provided at the bottom end of the tank body.
优选地,所述污水供应机构包括污水泵、污水泵吸水管及污水泵供水管。Preferably, the sewage supply mechanism includes a sewage pump, a sewage pump suction pipe and a sewage pump water supply pipe.
优选地,净化剂供应机构包括净化剂储箱、流量计及相应管路,所述管路末端连接于污水泵的入水口端。Preferably, the cleaning agent supply mechanism includes a cleaning agent storage tank, a flow meter and a corresponding pipeline, and the end of the pipeline is connected to the water inlet port of the sewage pump.
优选地,罐体上还设有清水取样管、澄水取样管、反应室取样管以及回流区取样管。Preferably, the tank body is also provided with a clear water sampling tube, a clear water sampling tube, a reaction chamber sampling tube and a reflux area sampling tube.
优选地,罐体侧面设有若干上下排列的透明观察窗。Preferably, several transparent observation windows arranged up and down are arranged on the side of the tank body.
本实用新型的有益效果是:通过设置反复弯折延伸的弯管型的进水管,有效增加了污水流动时间,延长了生物、化学反应时间,而污水经反冲罐的冲击,使污水在充分曝气条件下,化学反应速度加快,沉淀物更快生成;并且罐体上还设有曝气管,可有效提升活性污泥作用效率,而在不需使用曝气管时只需关闭即可。本实用新型的系统可根据污水性质而单项选择活性污泥法或物理/化学法,其适应范围更广泛,可使节能减排投入产生最大效益,环保效果好。The beneficial effects of the utility model are: by setting the elbow type water inlet pipe which is repeatedly bent and extended, the sewage flow time is effectively increased, and the biological and chemical reaction time is prolonged, and the impact of the sewage by the recoil tank makes the sewage fully Under aeration conditions, the chemical reaction speed is accelerated, and the sediment is formed faster; and there is also an aeration tube on the tank body, which can effectively improve the efficiency of the activated sludge, and only need to be closed when the aeration tube is not used . The system of the utility model can individually select the activated sludge method or the physical/chemical method according to the nature of the sewage, which has a wider scope of application, can maximize the investment in energy saving and emission reduction, and has a good environmental protection effect.
附图说明 Description of drawings
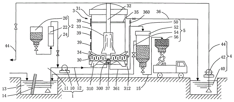
图1为本实用新型多功能污水处理及回用系统的系统组成示意图(处理罐局部剖开)。Fig. 1 is a schematic diagram of the system composition of the multifunctional sewage treatment and reuse system of the present invention (the treatment tank is partially cut away).
图2为本实用新型多功能污水处理及回用系统的处理罐局部剖视示意图。Fig. 2 is a partial cross-sectional schematic diagram of a treatment tank of the multifunctional sewage treatment and reuse system of the present invention.
图3为本实用新型多功能污水处理及回用系统的处理罐的内部结构图。Fig. 3 is the internal structure diagram of the treatment tank of the multifunctional sewage treatment and reuse system of the present invention.
下面结合附图对本实用新型做进一步描述:Below in conjunction with accompanying drawing, the utility model is further described:
具体实施方式Detailed ways
如图1~图3所示,本实用新型提供一种多功能污水处理及回用系统,包括污水供应机构1、净化剂供应机构2、处理罐3、回用水供应机构4及污泥排放机构。As shown in Figures 1 to 3, the utility model provides a multifunctional sewage treatment and reuse system, including a sewage supply mechanism 1, a purifying agent supply mechanism 2, a treatment tank 3, a reuse water supply mechanism 4 and a sludge discharge mechanism .
其中,所述污水供应机构1包括污水泵10、污水泵吸水管11及污水泵供水管12。所述污水泵吸水管11一端插入污水池13内、另一端连接污水泵10的入水端;而污水泵供水管12一端连接污水泵10的出水端、另一端连接于处理罐3的入水端。为初步滤去污水中的较大的固体物,而可由一格栅14将污水池13分成两部分,污水进入其一部分,流经格栅14过滤后进入另一部分中。Wherein, the sewage supply mechanism 1 includes a sewage pump 10 , a sewage pump suction pipe 11 and a sewage pump water supply pipe 12 . One end of the sewage pump suction pipe 11 is inserted into the sewage pool 13, and the other end is connected to the water inlet of the sewage pump 10; In order to preliminarily filter out larger solids in the sewage, the sewage pool 13 can be divided into two parts by a grid 14, and the sewage enters one part, flows through the grid 14 and enters the other part after being filtered.
所述净化剂供应机构2包括净化剂储箱20、流量计22及相应管路24,所述净化剂储箱20、流量计22借助管路24相连通,且流量计22再借助于管路24连接于污水泵10的入水端。The cleaning agent supply mechanism 2 includes a cleaning agent storage tank 20, a flow meter 22 and a corresponding pipeline 24. The cleaning agent storage tank 20 and the flow meter 22 are connected by the pipeline 24, and the flow meter 22 is connected by the pipeline. 24 is connected to the water inlet end of the sewage pump 10.
所述处理罐3包括进水管30、由支撑脚310支撑住的罐体31、可旋转地设于罐体31内中轴线上的主轴32、设于主轴32底端的反冲罐33、自外部伸入罐体31内底部的曝气管34、设于罐体31内顶部的滤网35、设于滤网35上方的罐体31上的排水管36、设于罐体31底面的放空管37及用以驱动主轴32旋转的电机(图未示出)。其中,所述进水管30为反复弯折并环绕罐体31延伸的弯型管,其入水端300连接污水供应机构1。罐体31底面中央设有底端与进水管31末端相连而顶端向上伸至反冲罐33内的导管311,罐体31内底部设有储泥槽312。在本实施方式中,所述主轴32为中空轴管,其顶端伸至罐体31外与回用水供应机构4相连通。本实施方式中,所述反冲罐33类似于钟形,其罐壁上设有渗水孔(图未示出),以便上清液渗出。所述排水管36上供处理后产生的上清液流出,其外接回用水供应机构4。此外,排水管36上还可设有带有控制阀360的支管路361,所述支管路361连接至进水管30的入水端300,从而在处理后的水还未达到即定标准时只需打开控制阀360,排出的水即可再次经支管路361进入处理罐3进行二次处理。设于罐体31底端的放空管37则用于完全排净处理罐内的污水、污泥。The treatment tank 3 includes a
为便于取样检测污水理化指标,在罐体31上还设有若干取样管,在本实施方式中,取样管包括清水取样管381、澄水取样管382、反应室取样管383以及回流区取样管384。In order to facilitate sampling and detection of sewage physical and chemical indicators, several sampling pipes are also provided on the tank body 31. In this embodiment, the sampling pipes include clear
为便于观察罐体31内的污水反应处理状态,而还在罐体31侧面设有若干上下排列的透明观察窗39,一般地,设置上、中、下三个透明观察窗。For the convenience of observing the sewage reaction treatment state in the tank body 31, a number of
所述回用水供应机构4与排水管相连,包括设于排水管36末端处以接纳回用水的回用水池40、抽取回用水的回用水泵42以及与回用水泵42相连的回用水供应管44。The reclaimed water supply mechanism 4 is connected to the drain pipe, including a reclaimed water pool 40 arranged at the end of the
所述污泥排放机构与储泥槽312相连,包括与储泥槽312相连的排泥管50、设于排泥管50末端的污泥过滤器52、设于污泥过滤器52顶部以将过滤产生的污水排至污水池13中的污水回流管54及与污泥过滤器52底端相连的污泥脱水机56。Described sludge discharge mechanism links to each other with
在具体使用时,污水由污水供应机构1抽取并混入净化剂后被送至进水管30,污水在反复弯折延伸的弯型管式的进水管30中流动,同时进行化学反应;当污水到达反冲罐33时,污水经上下冲击,使污水充分曝气、化学反应更加充分,同时活性污泥也充分发挥其作用;由于反冲罐33还随主轴32高速旋转,使污水形成高速旋涡状态,沉淀物(污泥)与上清液逐渐分离,污泥落入污泥槽312内,而上清液则经滤网35进一步过滤后从排水管36溢出而进入回用水供应机构4以供回用;而污泥则可进入污泥排放机构5,经过滤、脱水后即可转运走。In specific use, the sewage is extracted by the sewage supply mechanism 1 and mixed with a purifying agent and then sent to the
而当需将罐体31内的全部污泥排放干净时,则可打开设于罐体31底端的放空管即可。And when all the sludge in the tank body 31 needs to be discharged cleanly, then the vent pipe that is located at the bottom of the tank body 31 can be opened.
本实用新型在使用时,可以根据污水性质来确定是否需要开启曝气管34,从而可根据污水性质,选择适当的处理方法,使节能减排产生最大效益。When the utility model is in use, it can be determined whether to open the
Claims (10)
Priority Applications (1)
| Application Number | Priority Date | Filing Date | Title |
|---|---|---|---|
| CNU2007201965036U CN201154938Y (en) | 2007-12-25 | 2007-12-25 | Multifunctional sewage treatment and reuse system |
Applications Claiming Priority (1)
| Application Number | Priority Date | Filing Date | Title |
|---|---|---|---|
| CNU2007201965036U CN201154938Y (en) | 2007-12-25 | 2007-12-25 | Multifunctional sewage treatment and reuse system |
Publications (1)
| Publication Number | Publication Date |
|---|---|
| CN201154938Y true CN201154938Y (en) | 2008-11-26 |
Family
ID=40102724
Family Applications (1)
| Application Number | Title | Priority Date | Filing Date |
|---|---|---|---|
| CNU2007201965036U Expired - Fee Related CN201154938Y (en) | 2007-12-25 | 2007-12-25 | Multifunctional sewage treatment and reuse system |
Country Status (1)
| Country | Link |
|---|---|
| CN (1) | CN201154938Y (en) |
Cited By (2)
| Publication number | Priority date | Publication date | Assignee | Title |
|---|---|---|---|---|
| CN104229985A (en) * | 2014-10-17 | 2014-12-24 | 苏州新协力环保科技有限公司 | Activated sludge purifying and processing method for wastewater |
| KR102835454B1 (en) * | 2024-09-09 | 2025-07-17 | 로스웰코리아 주식회사 | Treated water discharge structure of continuous flow type sequencing batch reactor system and sewage and wastewater treatment method using the same |
-
2007
- 2007-12-25 CN CNU2007201965036U patent/CN201154938Y/en not_active Expired - Fee Related
Cited By (2)
| Publication number | Priority date | Publication date | Assignee | Title |
|---|---|---|---|---|
| CN104229985A (en) * | 2014-10-17 | 2014-12-24 | 苏州新协力环保科技有限公司 | Activated sludge purifying and processing method for wastewater |
| KR102835454B1 (en) * | 2024-09-09 | 2025-07-17 | 로스웰코리아 주식회사 | Treated water discharge structure of continuous flow type sequencing batch reactor system and sewage and wastewater treatment method using the same |
Similar Documents
| Publication | Publication Date | Title |
|---|---|---|
| CN106745749B (en) | Aerobic-anoxic integrated AO membrane bioreactor | |
| CN101575153A (en) | On-line purification equipment for metal machining fluid and purification method thereof | |
| CN201154938Y (en) | Multifunctional sewage treatment and reuse system | |
| CN209081678U (en) | A kind of sewage-treatment plant | |
| CN208055145U (en) | A kind of aeration and biological pond | |
| CN2793048Y (en) | High-efficient waste-water purifier | |
| CN211733971U (en) | Domestic sewage treatment anaerobic tank | |
| CN108483794B (en) | Sewage treatment system | |
| CN207483423U (en) | A settling tank for intermittent static treatment of refractory sludge | |
| CN201942559U (en) | Sludge storage pool with aeration system | |
| CN206970342U (en) | A kind of rapid integrated processing system of Tungsten smelting waste water | |
| CN201343462Y (en) | Unpowered siphoning type decanter | |
| CN2194357Y (en) | Waste water comprehensive purifying treatment equipment | |
| CN205419940U (en) | Drain pipe sewage treatment plant | |
| CN204097283U (en) | Air supporting integrated device for biochemical treatment | |
| CN102976564A (en) | Continuous rural domestic waste water treating device | |
| CN209292062U (en) | Device for rapid treatment of high-concentration organic wastewater by continuous back-fraction activated sludge | |
| CN201473408U (en) | Garbage permeate treatment system equipment | |
| CN2741961Y (en) | Full automatic integrated water purifier | |
| CN205442984U (en) | Wastewater treatment device | |
| CN208022854U (en) | A kind of integrated sewage treating apparatus | |
| CN222788529U (en) | A sludge-gas-water combined enhanced sludge discharge device | |
| CN219031925U (en) | Heavy metal-containing ore water treatment system | |
| CN216273646U (en) | New forms of energy villages and small towns sewage treatment system | |
| CN206289130U (en) | An integrated domestic sewage treatment equipment |
Legal Events
| Date | Code | Title | Description |
|---|---|---|---|
| C14 | Grant of patent or utility model | ||
| GR01 | Patent grant | ||
| ASS | Succession or assignment of patent right |
Owner name: SHENZHEN LAYAFA TECHNOLOGY PURIFICATION DEE LOPMEN Free format text: FORMER OWNER: WANG ZHAOJUN Effective date: 20110516 |
|
| C41 | Transfer of patent application or patent right or utility model | ||
| COR | Change of bibliographic data |
Free format text: CORRECT: ADDRESS; FROM: 518000 ROOM 1703, CHANGHONG BUILDING, SUNGANG ROAD, LUOHU DISTRICT, SHENZHEN CITY, GUANGDONG PROVINCE TO: 815, NORTH TOWER, INTERNATIONAL BUSINESS BUILDING, JIABIN ROAD, LUOHU DISTRICT, SHENZHEN CITY, GUANGDONG PROVINCE |
|
| TR01 | Transfer of patent right |
Effective date of registration: 20110516 Address after: Shenzhen, Guangdong, Luohu District province guests Road International Commercial Building North seat 815 Patentee after: Shenzhen Layefa Purification Technology Development Co., Ltd. Address before: 518000 room 1703, Changhong building, Sungang Road, Shenzhen, Guangdong, Luohu District Patentee before: Wang Chaojun |
|
| C17 | Cessation of patent right | ||
| CF01 | Termination of patent right due to non-payment of annual fee |
Granted publication date: 20081126 Termination date: 20121225 |
