CN201154842Y - A viscous material high temperature conveyor - Google Patents
A viscous material high temperature conveyor Download PDFInfo
- Publication number
- CN201154842Y CN201154842Y CNU2007200655988U CN200720065598U CN201154842Y CN 201154842 Y CN201154842 Y CN 201154842Y CN U2007200655988 U CNU2007200655988 U CN U2007200655988U CN 200720065598 U CN200720065598 U CN 200720065598U CN 201154842 Y CN201154842 Y CN 201154842Y
- Authority
- CN
- China
- Prior art keywords
- screw
- slideway device
- reducer
- cantilever
- shell
- Prior art date
- Legal status (The legal status is an assumption and is not a legal conclusion. Google has not performed a legal analysis and makes no representation as to the accuracy of the status listed.)
- Expired - Fee Related
Links
Images
Landscapes
- Screw Conveyors (AREA)
Abstract
一种粘性物料高温输送机,其包括悬臂壳体、进料斗、螺旋输送体、出料管、固定滑道装置、动滑道装置,进料斗与悬臂壳体连接,螺旋输送体通过联轴器与减速机连接,减速机与驱动电机之间通过皮带传动装置连接,活动滑道装置通过螺栓与固定滑道装置联接,螺旋输送体的两端通过滑动轴承支承在悬臂壳体上;螺旋体的螺距为螺旋叶片直径的0.5~0.6倍;悬臂壳体为圆形体,螺旋体的叶片与壳体的间隔为4mm~6mm。本实用新型结构简单,工作可靠,维修方便,制造成本低,特别适用钾肥生产中,在高温下输送粘性粉状物料进转筒干燥机的工作场所。
A high-temperature conveyor for viscous materials, which includes a cantilever shell, a feeding hopper, a screw conveying body, a discharge pipe, a fixed slideway device, and a moving slideway device. The shaft is connected with the reducer, the reducer and the drive motor are connected through a belt transmission device, the movable slideway device is connected with the fixed slideway device through bolts, and the two ends of the screw conveyor are supported on the cantilever shell through sliding bearings; the screw body The pitch of the screw is 0.5 to 0.6 times the diameter of the helical blade; the cantilever shell is a circular body, and the distance between the blade and the shell of the helical body is 4mm to 6mm. The utility model has the advantages of simple structure, reliable operation, convenient maintenance and low manufacturing cost, and is especially suitable for the workplace where viscous powdery materials are transported into the drum dryer under high temperature in potash fertilizer production.
Description
技术领域 technical field
本实用新型涉及一种粘性物料高温输送机,尤其是涉及一种适用于钾肥生产中输送粘性粉状物料进转筒干燥机的工作场所的粘性物料高温输送机。The utility model relates to a viscous material high-temperature conveyor, in particular to a viscous material high-temperature conveyor suitable for conveying viscous powdery materials into a rotary drum dryer in the production of potassium fertilizer.
背景技术 Background technique
现有的螺旋输送机一般用于输送非粘性、不易结块的物料。Existing screw conveyors are generally used to transport non-viscous, non-caking materials.
CN 2685292Y公开了一种粘性物料输送机,是采用无轴螺旋体,加大螺旋体的螺距,以降低缠绕和结团的几率,完成物料的输送。这种粘性物料输送机对于在高温下输送粘性物料显然是不合适的,因为螺距的加大将使物料在高温下干燥结块,加大产品后续工段操作费用。CN 2685292Y discloses a viscous material conveyor, which adopts a shaftless spiral body and increases the pitch of the spiral body to reduce the probability of winding and agglomeration to complete the conveying of materials. This kind of viscous material conveyor is obviously not suitable for conveying viscous materials at high temperature, because the increase of the screw pitch will make the material dry and agglomerate at high temperature, which will increase the operating cost of the subsequent section of the product.
目前市场上的高温螺旋机仅适用于转速很低(7r/min左右),输送距离较短,同时输送量较小的场合(输送长度小于2.5m,输送能力小于10吨)。再者,由于轴承润滑问题,在机壳外层必须设水套管,水套管内敷设冷却水管,用以降低螺旋机在炉内部分的温度,以保证螺旋机正常工作。供水水压不低于0.6~0.8MPa。这使得设备的结构复杂,且无法满足产量较大时的要求。At present, the high-temperature screw machine on the market is only suitable for the occasions with very low speed (about 7r/min), short conveying distance and small conveying capacity (conveying length less than 2.5m and conveying capacity less than 10 tons). Furthermore, due to the problem of bearing lubrication, a water jacket must be installed on the outer layer of the casing, and a cooling water pipe is laid in the water jacket to reduce the temperature of the screw machine in the furnace to ensure the normal operation of the screw machine. The water supply pressure is not lower than 0.6~0.8MPa. This makes the structure of the equipment complex, and cannot meet the requirements when the output is large.
实用新型内容Utility model content
本实用新型的目的在于克服现有技术的上述缺陷,提供一种不会堵塞结块,结构较简单,制造成本低,故障少,维修方便的粘性物料高温输送机。The purpose of the utility model is to overcome the above-mentioned defects of the prior art, and provide a viscous material high-temperature conveyor that will not block and agglomerate, has a relatively simple structure, low manufacturing cost, less failures, and is easy to maintain.
本实用新型的技术方案是:其包括悬臂壳体、进料斗、螺旋输送体,出料管、固定滑道装置、动滑道装置,进料斗与悬臂壳体连接,螺旋输送体通过联轴器与减速机连接,减速机与驱动电机之间通过皮带传动装置连接,活动滑道装置通过螺栓与固定滑道装置联接,螺旋输送体的两端通过滑动轴承(自润滑方式)支承在悬臂壳体上。The technical scheme of the utility model is: it includes a cantilever housing, a feeding hopper, a screw conveying body, a discharge pipe, a fixed slideway device, and a moving slideway device. The shaft is connected with the reducer, the reducer and the driving motor are connected through a belt transmission device, the movable slideway device is connected with the fixed slideway device through bolts, and the two ends of the screw conveyor are supported on the cantilever through sliding bearings (self-lubricating method). on the shell.
所述螺旋体的螺距宜为螺旋叶片直径的0.5~0.6倍。The pitch of the spiral body is preferably 0.5-0.6 times the diameter of the spiral blade.
所述壳体宜为圆形体,螺旋体的叶片与悬臂壳体的间隔宜为4mm~6mm,这样可防止物料粘壁,减少物料堵塞现象。The shell should be circular, and the distance between the blades of the helix and the cantilever shell should be 4mm-6mm, which can prevent the material from sticking to the wall and reduce the phenomenon of material clogging.
输送机螺旋直径及螺距、减速机型式、电机功率大小,可以根据物料的最大及最小输送量确定。The screw diameter and pitch of the conveyor, the type of reducer, and the power of the motor can be determined according to the maximum and minimum conveying volume of the material.
悬臂壳体和螺旋输送体、出料管、轴承座和轴套采用耐热钢。Cantilever shell and screw conveying body, discharge pipe, bearing seat and shaft sleeve are made of heat-resistant steel.
由于采用了滑动轴承,克服了采用滚动轴承所需的在机壳外层设水套管,水套管内敷设冷却水管,使得结构复杂的缺点。Due to the use of sliding bearings, it overcomes the disadvantages of using rolling bearings to set water jackets on the outer layer of the casing and lay cooling water pipes inside the water jackets, which makes the structure complicated.
由于减小了螺旋体的螺距,提高了螺旋体的输送速度,使物料在高温下小范围快速进入高温炉窑内。Because the pitch of the spiral body is reduced, the conveying speed of the spiral body is increased, so that the material enters the high-temperature kiln quickly in a small range at high temperature.
含水的粘性物料从进料斗进入输送机内,驱动电机通过皮带传动装置和减速机带动螺旋输送体推进螺旋送料,物料输送速度的确定要根据物料的粘性程度确定,因为粘性物料的粘结力与速度因素有关,当物料在甩离螺旋面的相对速度增加时,物料的粘结力也相应增加。也就是说,当粘性物料输送速度超过一定范围时,物料颗粒甩离螺旋面时始终摆脱不了粘性的束缚,而又因物料颗粒甩离螺旋面的相对速度较高,动态的粘性力远大于静态粘性力,从而影响输送物料的效果。本实用新型采用的输送速度一般为20~50r/min。The viscous material containing water enters the conveyor from the feeding hopper, and the driving motor drives the screw conveying body to advance the screw feeding through the belt transmission device and the reducer. It is related to the speed factor. When the relative speed of the material being thrown away from the helicoid increases, the cohesive force of the material also increases accordingly. That is to say, when the conveying speed of the viscous material exceeds a certain range, the material particles cannot get rid of the bondage of viscosity when they are thrown off the helicoid, and because the relative speed of the material particles from the helicoid is high, the dynamic viscous force is much greater than the static one. Viscous force, which affects the effect of conveying materials. The conveying speed that the utility model adopts is generally 20~50r/min.
由于螺旋输送机由减速机带动,减速机与电机之间采用皮带联接,调整皮带传动装置的传动比可达到调整输送速度和调整输送量的要求。Since the screw conveyor is driven by a reducer, and the reducer and the motor are connected by a belt, adjusting the transmission ratio of the belt drive can meet the requirements of adjusting the conveying speed and adjusting the conveying volume.
当设备需要检修时,拆开固定滑道装置和动滑道装置的连接件,使设备快速从炉(窑)内抽出,加快冷却速度完成检修工作。When the equipment needs to be overhauled, disassemble the connecting parts of the fixed slideway device and the movable slideway device, so that the equipment can be pulled out from the furnace (kiln) quickly, and the cooling speed can be accelerated to complete the maintenance work.
本实用新型结构简单、工作可靠、维修方便、制造成本低;特别适用钾肥生产中,在高温下输送粘性粉状物料进转筒干燥机的工作场所。The utility model has the advantages of simple structure, reliable operation, convenient maintenance and low manufacturing cost; it is especially suitable for the workplace where viscous powdery materials are transported into the drum dryer under high temperature in potash fertilizer production.
附图说明Description of drawings
图1为本实用新型一实施例的结构总装图;Fig. 1 is the structural assembly diagram of an embodiment of the utility model;
图2为图1所示实施例的俯视图;Fig. 2 is the top view of the embodiment shown in Fig. 1;
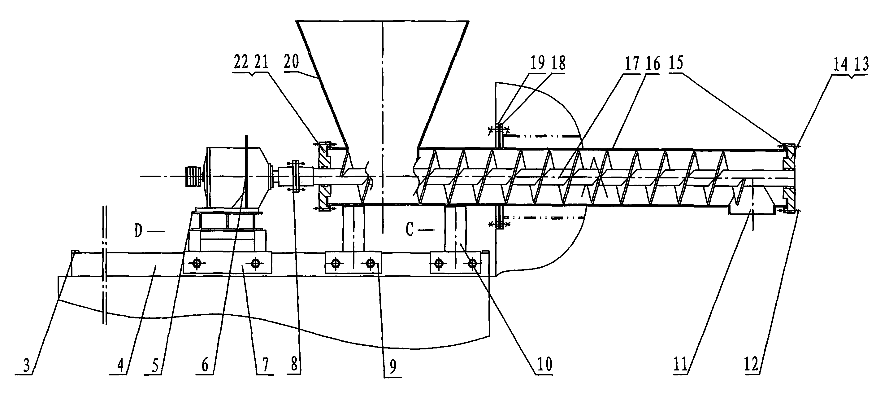
图中:1、驱动电机;2、皮带传动装置;3、固定滑道挡板;4、固定滑道装置;5、共用底座;6、减速机;7、第一活动滑道装置;8、联轴器;9、第二活动滑道装置;10、螺旋输送机支腿;11、出料管;12、螺栓;13、第一轴承座;14、第一轴套;15、悬臂壳体法兰;16、悬臂壳体;17、螺旋输送体;18、干燥机与螺旋机连接法兰;19、螺旋机与干燥机连接法兰;20、进料斗;21、第二轴承座;22、第二轴套In the figure: 1. Drive motor; 2. Belt transmission device; 3. Fixed slideway baffle; 4. Fixed slideway device; 5. Shared base; 6. Reducer; 7. The first movable slideway device; 8. Coupling; 9. Second movable slideway device; 10. Outrigger of screw conveyor; 11. Discharge pipe; 12. Bolt; 13. First bearing seat; 14. First shaft sleeve; 15. Cantilever shell Flange; 16. Cantilever shell; 17. Screw conveying body; 18. Flange connecting dryer and screw machine; 19. Flange connecting screw machine and dryer; 20. Feeding hopper; 21. Second bearing seat; 22. The second shaft sleeve
具体实施方式 Detailed ways
以下结合附图,对本实用新型作进一步说明。Below in conjunction with accompanying drawing, the utility model is further described.
参照图1、2,本实施例包括悬臂壳体16、进料斗20、螺旋输送体17、出料管11、固定滑道装置4、第一活动滑道装置7、第二活动滑道装置9,进料斗20与悬臂壳体16连接,螺旋输送体17通过联轴器8与减速机6连接,减速机6与驱动电机1之间通过皮带传动装置2连接,第一活动滑道装置7、第二活动滑道装置9通过螺栓与固定滑道装置4联接,螺旋输送体17的两端通过第一轴承座13和第二轴承座21支承在悬臂壳体16上;悬臂壳体16上的法兰15通过螺栓12连接;第一轴套14和第二轴套22分别安装在第一轴承座13和第二轴承座21内,第一轴套14和第二轴套22各为两个半圆环组成;悬臂壳体16上焊有法兰19与干燥机上的法兰18用螺栓联接。检修时拆开螺栓,抽出螺旋输送机。Referring to Figures 1 and 2, this embodiment includes a
本实施例的悬臂壳体16靠近减速机6的部分焊有两个支腿10,它们与第二活动滑道装置9焊接;减速机6和驱动电机1安装在共用底座5上,共用底座5与第一活动滑道装置7用螺栓联接。The cantilever housing 16 of the present embodiment is welded with two supporting
参照图1、图2,在固定滑道装置4的两端设有固定滑道挡板3,以防止本实例从滑道中滑出;固定滑道装置4可焊接在钢平台上或将固定滑道装置4焊在混凝土内锚杆上。With reference to Fig. 1, Fig. 2, be provided with fixed
当设备检修时,拆开第一活动滑道装置7和第二活动滑道装置9与固定滑道装置4的连接螺栓,就可方便地抽出本设备。When the equipment is overhauled, the connecting bolts of the first
粘性湿物料从螺旋输送机悬臂壳体16的上部进料斗20加入,螺旋输送体17将物料以一定速度推送到出料管11,从出料口进入干燥炉(窑)内,完成物料进入干燥系统的过程。The viscous wet material is fed from the
根据输送量的多少可调整皮带传动装置2的传动比,达到调整输送速度和调整输送量的要求。The transmission ratio of the belt transmission device 2 can be adjusted according to the amount of conveying volume, so as to meet the requirements of adjusting conveying speed and adjusting conveying quantity.
本实施例使用在新疆某大型钾肥生产装置上,实现了使物料在高温下的快速进入高温炉窑内而不易堵塞。当设备需要检修时,拆开固定滑道装置和动滑道装置的连接件,便可将设备快速从炉(窑)内抽出,加快冷却速度,完成检修工作。This embodiment is used in a large-scale potash fertilizer production device in Xinjiang to realize the rapid entry of materials into the high-temperature kiln at high temperature without being easily blocked. When the equipment needs to be overhauled, the connecting parts of the fixed slideway device and the movable slideway device can be disassembled, and the equipment can be quickly pulled out from the furnace (kiln) to speed up the cooling speed and complete the maintenance work.
Claims (3)
Priority Applications (1)
| Application Number | Priority Date | Filing Date | Title |
|---|---|---|---|
| CNU2007200655988U CN201154842Y (en) | 2007-12-28 | 2007-12-28 | A viscous material high temperature conveyor |
Applications Claiming Priority (1)
| Application Number | Priority Date | Filing Date | Title |
|---|---|---|---|
| CNU2007200655988U CN201154842Y (en) | 2007-12-28 | 2007-12-28 | A viscous material high temperature conveyor |
Publications (1)
| Publication Number | Publication Date |
|---|---|
| CN201154842Y true CN201154842Y (en) | 2008-11-26 |
Family
ID=40102628
Family Applications (1)
| Application Number | Title | Priority Date | Filing Date |
|---|---|---|---|
| CNU2007200655988U Expired - Fee Related CN201154842Y (en) | 2007-12-28 | 2007-12-28 | A viscous material high temperature conveyor |
Country Status (1)
| Country | Link |
|---|---|
| CN (1) | CN201154842Y (en) |
Cited By (8)
| Publication number | Priority date | Publication date | Assignee | Title |
|---|---|---|---|---|
| CN102599139A (en) * | 2012-03-28 | 2012-07-25 | 江苏花海农业科技有限公司 | Method for making external-heating sterilizing insecticidal device for soil |
| CN103411400A (en) * | 2013-08-20 | 2013-11-27 | 顾璐璐 | Organic fertilizer drying equipment adopting spiral delivery |
| CN103438680A (en) * | 2013-08-20 | 2013-12-11 | 顾丽霞 | Fodder spiral transportation and drying equipment |
| CN103569686A (en) * | 2012-08-10 | 2014-02-12 | 无锡市麦杰机械工程有限公司 | Viscous powder material handling device |
| CN104310003A (en) * | 2014-09-03 | 2015-01-28 | 无锡欧易博阀业科技有限公司 | Feeder for stock bin in concrete mixing plant |
| CN105271635A (en) * | 2015-10-14 | 2016-01-27 | 湖北新华光信息材料有限公司 | Optical-glass continuous-melting production line automatic charging technology and apparatus |
| CN114234627A (en) * | 2021-12-22 | 2022-03-25 | 江西钨业股份有限公司 | Double-spiral feeding device, rotary kiln and roasting method for tungsten smelting |
| CN117142064A (en) * | 2023-10-30 | 2023-12-01 | 华能左权煤电有限责任公司 | Coal pile is with buggy conveyer |
-
2007
- 2007-12-28 CN CNU2007200655988U patent/CN201154842Y/en not_active Expired - Fee Related
Cited By (11)
| Publication number | Priority date | Publication date | Assignee | Title |
|---|---|---|---|---|
| CN102599139A (en) * | 2012-03-28 | 2012-07-25 | 江苏花海农业科技有限公司 | Method for making external-heating sterilizing insecticidal device for soil |
| CN102599139B (en) * | 2012-03-28 | 2013-12-04 | 江苏花海农业科技有限公司 | Method for making external-heating sterilizing insecticidal device for soil |
| CN103569686A (en) * | 2012-08-10 | 2014-02-12 | 无锡市麦杰机械工程有限公司 | Viscous powder material handling device |
| CN103411400A (en) * | 2013-08-20 | 2013-11-27 | 顾璐璐 | Organic fertilizer drying equipment adopting spiral delivery |
| CN103438680A (en) * | 2013-08-20 | 2013-12-11 | 顾丽霞 | Fodder spiral transportation and drying equipment |
| CN104310003A (en) * | 2014-09-03 | 2015-01-28 | 无锡欧易博阀业科技有限公司 | Feeder for stock bin in concrete mixing plant |
| CN105271635A (en) * | 2015-10-14 | 2016-01-27 | 湖北新华光信息材料有限公司 | Optical-glass continuous-melting production line automatic charging technology and apparatus |
| CN105271635B (en) * | 2015-10-14 | 2018-07-10 | 湖北新华光信息材料有限公司 | A kind of optical glass continuous melting production line auto feed technique and device |
| CN114234627A (en) * | 2021-12-22 | 2022-03-25 | 江西钨业股份有限公司 | Double-spiral feeding device, rotary kiln and roasting method for tungsten smelting |
| CN117142064A (en) * | 2023-10-30 | 2023-12-01 | 华能左权煤电有限责任公司 | Coal pile is with buggy conveyer |
| CN117142064B (en) * | 2023-10-30 | 2024-01-02 | 华能左权煤电有限责任公司 | Coal pile is with buggy conveyer |
Similar Documents
| Publication | Publication Date | Title |
|---|---|---|
| CN201154842Y (en) | A viscous material high temperature conveyor | |
| CN204451255U (en) | A kind of small reduction ratio screw extrusion dewaterer | |
| CN101012031A (en) | Pressurization trace quantity helix powder feeding equipment | |
| CN203687056U (en) | Feeding device for sludge incinerator | |
| CN101269744A (en) | High temperature water-cooled screw conveyor | |
| CN206235108U (en) | A kind of high efficiency fast-drying device | |
| CN201121052Y (en) | Double screw feeder | |
| CN202967380U (en) | Cantilever floatable screw feeder | |
| CN203957128U (en) | A kind of hydraulic machine transmission mechanism of two shaft pugmill mixer | |
| CN209756195U (en) | Semi-coke powder ball pressing equipment with high yield | |
| CN102514895A (en) | High-temperature spiral conveyor | |
| CN110595156B (en) | Device for preparing dried sand from gold tailings and using method thereof | |
| CN201010370Y (en) | Pressurized micro screw powder feeder | |
| CN101402872A (en) | Slag discharging apparatus of thermal cracking apparatus for waste plastic and rubber | |
| CN201605011U (en) | Screw conveyer | |
| CN214778715U (en) | Disconnected type support-free spiral | |
| CN203781228U (en) | Viscosity powder material loading device with improved structure | |
| CN207631994U (en) | A kind of concrete production equipment | |
| CN205060729U (en) | Conveyor of extruder is moulded firmly in moulded coal vacuum | |
| CN204454575U (en) | Hydrofluoric acid reaction converter stove tail deslagging device | |
| CN217648905U (en) | Single screw extruder for double wall corrugated pipe production line | |
| CN202054401U (en) | Anti-blocking screw conveyer | |
| CN206278593U (en) | It is a kind of Height Adjustable to carry material device | |
| CN207618464U (en) | A kind of auto feeding device of novel industrial furnace | |
| CN104930833A (en) | Drying machine |
Legal Events
| Date | Code | Title | Description |
|---|---|---|---|
| C14 | Grant of patent or utility model | ||
| GR01 | Patent grant | ||
| C17 | Cessation of patent right | ||
| CF01 | Termination of patent right due to non-payment of annual fee |
Granted publication date: 20081126 Termination date: 20111228 |
