CN201149910Y - 电连接器的改良结构 - Google Patents
电连接器的改良结构 Download PDFInfo
- Publication number
- CN201149910Y CN201149910Y CNU200820043378XU CN200820043378U CN201149910Y CN 201149910 Y CN201149910 Y CN 201149910Y CN U200820043378X U CNU200820043378X U CN U200820043378XU CN 200820043378 U CN200820043378 U CN 200820043378U CN 201149910 Y CN201149910 Y CN 201149910Y
- Authority
- CN
- China
- Prior art keywords
- wire body
- insulating body
- line body
- improved
- electric connector
- Prior art date
- Legal status (The legal status is an assumption and is not a legal conclusion. Google has not performed a legal analysis and makes no representation as to the accuracy of the status listed.)
- Expired - Fee Related
Links
- 230000004927 fusion Effects 0.000 claims description 3
- 230000003068 static effect Effects 0.000 claims 2
- 230000000694 effects Effects 0.000 abstract description 4
- 238000005452 bending Methods 0.000 abstract 1
- 238000010586 diagram Methods 0.000 description 8
- 230000004308 accommodation Effects 0.000 description 5
- 238000000034 method Methods 0.000 description 3
- 230000000903 blocking effect Effects 0.000 description 2
- 238000004519 manufacturing process Methods 0.000 description 2
- 230000009286 beneficial effect Effects 0.000 description 1
- 238000000354 decomposition reaction Methods 0.000 description 1
- 238000012986 modification Methods 0.000 description 1
- 230000004048 modification Effects 0.000 description 1
Images
Landscapes
- Details Of Connecting Devices For Male And Female Coupling (AREA)
Abstract
本实用新型涉及电连接器技术领域,特别涉及一种电连接器的改良结构,其包含有绝缘本体,该绝缘本体上设有至少一个线体容置孔,且线体容置孔为阶层状结构,使其形成第一容置空间及第二容置空间,绝缘本体底端可设有至少一个定位柱,顶端向外延伸设有止挡部;当线体插设于线体容置孔时,线体及线体接触端分别插设固定于线体容置孔的第一容置空间及第二容置空间,此时,线体接触端突露于绝缘本体底端,并通过定位柱的定位,使得线体接触端插设于电路板上进行连接,达到电连接的效果;另外,通过止挡部的设置,使其能够避免线体弯曲断裂。
Description
技术领域:
本实用新型涉及电连接器技术领域,特别涉及一种可直接将线体插设连接固定于电路板的电连接器的改良结构。
背景技术:
随着科技日益发达,各式电子产品的使用及需求也日益增加,由于电子产品的普遍化,因此对于电子产品内部的组件也日益受到重视,尤其以电连接器来说更显重要,目前线连接器要组装固定于电路板时,需先于电路板上连接固定一母座连接器,该母座连接器包含有绝缘本体及接触端子,且接触端子与电路板电连接;一具有线体的公座连接器,该公座连接器包含有绝缘本体及线体;当线体要与电路板电连接时,需将公座连接器插设于母座连接器的绝缘本体中,使得线体能够与母座连接器中的接触端子相互连接,进而达到电连接。
虽然上述结构可以达到使用者使用的目的,但是由于其需通过母座连接器及公座连接器相互配合,其所使用的组件过多,进而造成组件在制造、组装时的不稳定,且制造成本提高、质量不易维持,使用不便。
实用新型内容:
本实用新型的目的在于针对现有技术的不足而提供一种通过线体容置孔的设置,使得线体接触端能够突露于绝缘本体底端,进而与电路板电连接的电连接器的改良结构;本实用新型的另一目的是通过线体容置孔的阶层状结构,使其形成第一容置空间及第二容置空间,进而有效地固定线体及线体接触端的电连接器的改良结构。
为实现上述目的,本实用新型采用如下技术方案:
电连接器的改良结构,其包含有绝缘本体,该绝缘本体上设有至少一个用于插设固定线体的线体容置孔,线体接触端突露于绝缘本体底端并连接于电路板上。
所述绝缘本体底端设有至少一个定位柱。
所述定位柱与绝缘本体间设有至少一个卡合部。
所述绝缘本体顶端设有至少一个向外延伸的止挡部。
所述线体为软性排线。
所述线体容置孔为排列设置。
所述线体容置孔为分别容置固定线体及线体的接触端的阶层状结构。
所述线体容置孔与线体之间以熔合方式固定。
所述线体容置孔内设有至少一个卡合固定线体的卡合块。
本实用新型有益效果为:本实用新型包含有绝缘本体,该绝缘本体上设有至少一个线体容置孔,使其能够插设固定线体,进而使得线体接触端突露于绝缘本体底端,并连接于电路板上,当线体插设于线体容置孔时,线体及线体接触端分别插设固定于线体容置孔的第一容置空间及第二容置空间,此时,线体接触端则突露于绝缘本体底端,并通过定位柱的定位,使得线体接触端插设于电路板上进行连接,达到电连接的效果;另外,绝缘本体顶端向外延伸的止挡部,其高于线体底部一段距离,当电连接器受到其它组件或空间的限制时,止挡部产生阻挡效果,可避免线体自底部断裂。
附图说明:
图1为本实用新型电连接器的改良结构的绝缘本体立体结构示意图;
图2为本实用新型电连接器的改良结构的绝缘本体另一角度立体结构示意图;
图3为本实用新型电连接器的改良结构的立体分解结构示意图;
图4为本实用新型电连接器的改良结构的立体组合结构示意图;
图5为本实用新型电连接器的改良结构的分解剖面示意图;
图6为本实用新型电连接器的改良结构的组合剖面示意图;
图7为本实用新型电连接器的改良结构的使用状态剖面示意图;
图8为本实用新型电连接器的改良结构的另一固定方式使用状态示意图。
具体实施方式:
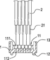
下面结合附图对本实用新型作进一步的说明,见图1~4,电连接器的改良结构,其包含有绝缘本体1,该绝缘本体1上设有至少一个线体容置孔11,且线体容置孔11为阶层状结构,使其形成第一容置空间111及第二容置112空间,该线体容置孔11可针对不同线体2而为排列设置组合,绝缘本体1底端则可设有至少一个定位柱12,该定位柱12与绝缘本体1间设有至少一个卡合部121,使得定位柱12固定于电路板3时,能够通过卡合部121加以固定,增加定位效果,绝缘本体1顶端则向外延伸设有至少一个止挡部13,该止挡部13高于线体2底部一段距离,当电连接器受到其它组件或空间的限制时,止挡部13产生阻挡效果,可避免线体2自底部断裂。
如图5~7所示,为本实用新型所提供的电连接器的改良结构的剖面分解、组合及使用状态示意图,当线体2插设于线体容置孔11时,线体2及线体接触端21分别插设固定于线体容置孔11的第一容置空间111及第二容置空间112,并可通过熔合方式将线体2与绝缘本体1相互固定,此时,线体接触端21则突露于绝缘本体1底端,并通过定位柱12的定位,使得线体接触端21插设于电路板3上进行连接,达到电连接的效果。
如图8所示,为本实用新型所提供的电连接器的改良结构的另一固定方式使用状态示意图,线体2与绝缘本体1的固定方式除可通过熔合的方式外,也可于线体容置孔11内设有至少一个卡合块113,使其得以通过卡合块113卡合固定线体2;需要注意的是,本实用新型线体2及绝缘本体1的固定方式不限定于上述方式。
以上所述仅是本实用新型的较佳实施例,故凡依本实用新型专利申请范围所述的构造、特征及原理所做的等效变化或修饰,均包括于本实用新型专利申请范围内。
Claims (9)
1、电连接器的改良结构,其包含有绝缘本体,其特征在于:该绝缘本体上设有至少一个用于插设固定线体的线体容置孔,线体接触端突露于绝缘本体底端并连接于电路板上。
2、根据权利要求1所述的电连接器的改良结构,其特征在于:所述绝缘本体底端设有至少一个定位柱。
3、根据权利要求2所述的电连接器的改良结构,其特征在于:所述定位柱与绝缘本体之间设有至少一个卡合部。
4、根据权利要求1所述的电连接器的改良结构,其特征在于:所述绝缘本体顶端设有至少一个向外延伸的止挡部。
5、根据权利要求1所述的电连接器的改良结构,其特征在于:所述线体为软性排线。
6、根据权利要求1所述的电连接器的改良结构,其特征在于:所述线体容置孔为排列设置。
7、根据权利要求1所述的电连接器的改良结构,其特征在于:所述线体容置孔为分别容置固定线体及线体的接触端的阶层状结构。
8、根据权利要求1所述的电连接器的改良结构,其特征在于:所述线体容置孔与线体之间以熔合方式固定。
9、根据权利要求1所述的电连接器的改良结构,其特征在于:所述线体容置孔内设有至少一个卡合固定线体的卡合块。
Priority Applications (1)
| Application Number | Priority Date | Filing Date | Title |
|---|---|---|---|
| CNU200820043378XU CN201149910Y (zh) | 2008-01-25 | 2008-01-25 | 电连接器的改良结构 |
Applications Claiming Priority (1)
| Application Number | Priority Date | Filing Date | Title |
|---|---|---|---|
| CNU200820043378XU CN201149910Y (zh) | 2008-01-25 | 2008-01-25 | 电连接器的改良结构 |
Publications (1)
| Publication Number | Publication Date |
|---|---|
| CN201149910Y true CN201149910Y (zh) | 2008-11-12 |
Family
ID=40117682
Family Applications (1)
| Application Number | Title | Priority Date | Filing Date |
|---|---|---|---|
| CNU200820043378XU Expired - Fee Related CN201149910Y (zh) | 2008-01-25 | 2008-01-25 | 电连接器的改良结构 |
Country Status (1)
| Country | Link |
|---|---|
| CN (1) | CN201149910Y (zh) |
Cited By (1)
| Publication number | Priority date | Publication date | Assignee | Title |
|---|---|---|---|---|
| CN105390837A (zh) * | 2014-09-03 | 2016-03-09 | 迈恩德电子有限公司 | 电子结构单元 |
-
2008
- 2008-01-25 CN CNU200820043378XU patent/CN201149910Y/zh not_active Expired - Fee Related
Cited By (2)
| Publication number | Priority date | Publication date | Assignee | Title |
|---|---|---|---|---|
| CN105390837A (zh) * | 2014-09-03 | 2016-03-09 | 迈恩德电子有限公司 | 电子结构单元 |
| CN105390837B (zh) * | 2014-09-03 | 2018-09-25 | 迈恩德电子有限公司 | 电子结构单元 |
Similar Documents
| Publication | Publication Date | Title |
|---|---|---|
| CN201708352U (zh) | 电连接器 | |
| CN103107439B (zh) | 连接器 | |
| CN202103200U (zh) | 一种连接稳固的电连接器 | |
| CN204597047U (zh) | 一种基于type-c的插头连接器 | |
| CN201113042Y (zh) | 电连接器 | |
| CN202906013U (zh) | 电源连接器 | |
| CN201149910Y (zh) | 电连接器的改良结构 | |
| CN207490135U (zh) | 连接器和连接器组件 | |
| CN201315359Y (zh) | 新型板接电连接器 | |
| CN204597056U (zh) | 一种基于type-c的插头连接器 | |
| CN203326277U (zh) | 易插拔的条形连接器 | |
| CN203166137U (zh) | Sas68p新型公座连接器结构 | |
| CN202513411U (zh) | 具限位功能的电连接器插座 | |
| CN201044268Y (zh) | 端子台结构 | |
| CN201623279U (zh) | 一种板接usb连接器 | |
| CN205029099U (zh) | 一种插件组件 | |
| CN204538296U (zh) | 一种连接器 | |
| CN204741105U (zh) | 一种连接可靠的精密连接器 | |
| CN205944515U (zh) | 超薄型连接器组合结构 | |
| CN206059712U (zh) | 一种用于电路板与电连接器相连接的插接式结构 | |
| CN202949069U (zh) | 便于组装的连接器 | |
| CN201820950U (zh) | 一种防水电接头 | |
| CN202423650U (zh) | 电子连接器之插座构造 | |
| CN202058938U (zh) | 插线对插式导线连接器 | |
| CN202094399U (zh) | 电连接器组合构造 |
Legal Events
| Date | Code | Title | Description |
|---|---|---|---|
| C14 | Grant of patent or utility model | ||
| GR01 | Patent grant | ||
| C17 | Cessation of patent right | ||
| CF01 | Termination of patent right due to non-payment of annual fee |
Granted publication date: 20081112 Termination date: 20110125 |