CN201146574Y - 一种基于移动终端的便携式远程实时监控装置 - Google Patents
一种基于移动终端的便携式远程实时监控装置 Download PDFInfo
- Publication number
- CN201146574Y CN201146574Y CNU2007200767659U CN200720076765U CN201146574Y CN 201146574 Y CN201146574 Y CN 201146574Y CN U2007200767659 U CNU2007200767659 U CN U2007200767659U CN 200720076765 U CN200720076765 U CN 200720076765U CN 201146574 Y CN201146574 Y CN 201146574Y
- Authority
- CN
- China
- Prior art keywords
- module
- time monitoring
- real time
- remote real
- monitoring apparatus
- Prior art date
- Legal status (The legal status is an assumption and is not a legal conclusion. Google has not performed a legal analysis and makes no representation as to the accuracy of the status listed.)
- Expired - Fee Related
Links
- 238000012544 monitoring process Methods 0.000 title claims description 22
- 238000004891 communication Methods 0.000 claims abstract description 15
- 238000010295 mobile communication Methods 0.000 claims description 5
- WHXSMMKQMYFTQS-UHFFFAOYSA-N Lithium Chemical compound [Li] WHXSMMKQMYFTQS-UHFFFAOYSA-N 0.000 claims description 4
- 229910052744 lithium Inorganic materials 0.000 claims description 4
- 230000006870 function Effects 0.000 abstract description 23
- 238000012806 monitoring device Methods 0.000 abstract 3
- 230000005540 biological transmission Effects 0.000 description 15
- 230000006835 compression Effects 0.000 description 7
- 238000012546 transfer Methods 0.000 description 7
- 238000007906 compression Methods 0.000 description 5
- 238000010586 diagram Methods 0.000 description 5
- 230000005611 electricity Effects 0.000 description 5
- 230000002349 favourable effect Effects 0.000 description 4
- 238000000151 deposition Methods 0.000 description 3
- 230000006872 improvement Effects 0.000 description 3
- 238000000034 method Methods 0.000 description 3
- 230000008569 process Effects 0.000 description 3
- 230000000703 anti-shock Effects 0.000 description 2
- 238000006243 chemical reaction Methods 0.000 description 2
- 238000013501 data transformation Methods 0.000 description 2
- 230000033001 locomotion Effects 0.000 description 2
- 238000007726 management method Methods 0.000 description 2
- 239000000203 mixture Substances 0.000 description 2
- 206010039203 Road traffic accident Diseases 0.000 description 1
- 230000009471 action Effects 0.000 description 1
- 230000009286 beneficial effect Effects 0.000 description 1
- 230000008859 change Effects 0.000 description 1
- 238000011840 criminal investigation Methods 0.000 description 1
- 230000000694 effects Effects 0.000 description 1
- 238000005516 engineering process Methods 0.000 description 1
- 230000007613 environmental effect Effects 0.000 description 1
- 238000003384 imaging method Methods 0.000 description 1
- 238000011835 investigation Methods 0.000 description 1
- 230000007246 mechanism Effects 0.000 description 1
- 230000006386 memory function Effects 0.000 description 1
- 238000012545 processing Methods 0.000 description 1
- 230000008054 signal transmission Effects 0.000 description 1
- 230000029305 taxis Effects 0.000 description 1
- 230000001960 triggered effect Effects 0.000 description 1
Images
Landscapes
- Traffic Control Systems (AREA)
Abstract
本实用新型提供一种基于移动终端的便携式远程实时监控装置,由数据控制模块、无线通信模块、存储系统模块和电源模块组成;数据控制模块上整合各个多路自定义接口以分别采集各种数据。本实用新型体积小,重量轻,自备电源,各个采集模块之间相互干扰小,具备多功能接口,使产品具备扩展功能。
Description
技术领域
本实用新型涉及一种监控装置,尤其涉及一种基于移动终端的便携式远程实时监控装置。
背景技术
目前现有的远程监控的基本原理是:利用摄像机采集现场实时视频信号,通过前端主机将该视频信号通过CDMA/GPRS无线网络传输到Internet上,通过Internet或专线连接到有计算机网络的远端应急管理中心,管理指挥中心控制服务器接收并控制前端主机传回的视频图像并录像。
目前市场上的远程监控装置功能较为单一,基本上只是实现了现场采集视频信号,然后通过CDMA/GPRS无线网络传输的控制中心的功能。并且数据传输速度普遍较慢,而且延时严重,只能传输5~10帧/秒图像,远远满足不了市场需要。
近几年来,人们对远程监控业务的需求迅猛增加,人们不再满足于只是看到简单的视频画面,还希望远程监控装置具有更多的功能,比如该监控装置可以具备GPS功能;该远程监控装置可以即时报警;视频信号可以更加流畅;该监控装置具有网络监控派遣功能;可以进行数据传输功能;体积与重量小以实现便携;可以进行多路视频采集并自由切换功能。
因此,业界存在着这样的需求:具有多种功能、体积小、传输速率快、便于携带并且可以进行功能扩展的远程监控装置。
实用新型内容
为达到如上多种使用要求,本实用新型提供了一种体积小、便于携带、可车载、传输速率快、功耗小、扩展功能强大的远程监控实时装置,其采用的技术方案如下:
本实用新型提供一种基于移动终端的便携式远程实时监控装置,由数据控制模块、无线通信模块、存储系统模块和电源模块组成;数据控制模块上整合各个多路自定义接口以分别采集各种数据,体积小,重量轻,自备电源,各个采集模块之间相互干扰小,具备多功能接口,使产品具备扩展功能。
本实用新型还采用改良的H.264压缩算法,保留视频信号的关键帧数,删除不重要的帧数,采用CAMEC视频流压缩格式,很好的解决了CDMA/GPRS无线通讯网络带宽有限的瓶颈,确保视频图像及数据传输提高速度,并清晰流畅。
本实用新型的一个实施例中,数据控制模块采用C8051F020单片机,具有多路自定义接口:四路视频/音频输入接口、GPS输入/输出接口、RS485远程控制接口、传感器接口、云台、报警接口、RS-232系统设置接口,可升级硬件或设置硬件参数,可按照实际需求进行扩展。
本实用新型的一个实施例中,无线通信模块采用Q2358C移动通信模块,这是一个具有完整功能的CDMA移动通信模块,通过串口可以实现对此模块的控制和数据传输,能减少信号发射电流,降低设备功耗,使自备电池体积大大减小。
本实用新型的存储系统模块由安全数据卡(SD卡)取代硬盘录像,通过改进软件压缩后,2G的安全数据卡(SD卡)可以存储8个小时的声音和图像信息,由于去掉了硬盘,同时也去掉了相应的散热装置,从而减小终端的体积;同时由于安全数据卡(SD卡)用电量大大少于硬盘,从而降低了耗电量;电量消耗少,终端在保证各部分功能的用电前提下,电池的体积就可以相应减少,从而也减小了终端的体积。
本实用新型的电源模块为可充电的锂电池,充一次电可以使用5-8小时,同时配有车辆专用电源。
本实用新型还包括机构连接部件单元,该单元将所有模块装配在一起,实现产品化。
本实用新型的数据控制模块采用RJ45以太网、RS232、CDMA、GPRS等多种主流通讯端口和协议,可在各种复杂的环境下实现流畅通讯。
本实用新型的优点是:
1.具备GPRS/CDMA无线视频传输功能:只要GPRS/CDMA网络覆盖到的地方,就能传输所采集的图像及数据。
2.多种传感器数据传输功能:系统利用其透明串行数据传输功能,传输各类传感器数据。
3.GPS卫星定位功能:可在网络地图上,得知数据的位置信息。
4.短消息派遣功能:由控管人员发短消息,派遣指挥调度。
5.I/O报警功能:可将即时报警的前后16秒影像及数据传输到指定位置。
6.EDVR影像储存功能:高画质影像储存,掌控所有动态影像,可以实行本地储存及远程接收端储存。
7.网络监控派遣功能:只须几秒钟,即可收到影像、数据、警报信号。
8.防震系统配置功能:系统具有防震系统,安全可靠。
9.断电后,来电自恢复:断电后,来电自动恢复完全不需人值守。
10.电源备份系统:自带锂电池,充一次电可使用5--8小时,同时配有车辆专用电源。
11.多种触发设置功能:能把设备与手机短信绑定一起,远程控制设备。
附图说明
下面结合附图,通过对本实用新型的具体实施方式的详细描述,将使本实用新型的技术方案及其他有益效果显而易见。
图1为本实用新型应用系统示意图;
图2为现有技术的前端视频采集与传输装置的图示;
图3为本实用新型基于移动终端的便携式远程实时监控装置部件组成示意图。
具体实施方式
为了更进一步了解本实用新型的特征,请参阅以下有关本实用新型的详细说明与附图,然而所附图式仅提供参考与说明之用,并非用来对本实用新型的保护范围加以限制。
如图1所示,为本实用新型的应用系统的一个实施例。前端视频采集与传输装置101包括视频采集装置106、CDMA集群视频传输主机105、电源107。采集装置106用来采集视频信号,其采集的视频信号传输给CDMA集群视频传输主机105。电源107为采集装置106和CDMA集群视频传输主机105供电。CDMA集群视频传输主机105通过CDMA网络102将采集装置106所采集的视频信号通过无线路由器103传输到远端应急管理中心104中进行监控和录像等处理。远端应急管理中心104包括Internet 110,用来接收无线路由器103传输来的视频信号,之后传输给控制服务器109,监控者可以通过一台或多台监控终端机108来监控前端视频,例如两台监控终端机108A、108B与控制服务器109相连接,以获得前端视频采集来的数据并提供给监控者。
可以看出,此系统中的前端视频采集与传输装置101有如下缺点:采集信号单一,只能采集视频;需要使用采集装置106、电源107、CDMA集群视频传输主机105三个独立的装置分别完成采集、供电以及存储与传输的功能,体积大,携带不便。
图2为现有技术的前端视频采集与传输装置的图示。因为体积很大(和台式电脑主机大小相近),只能用于车载,无法便携。
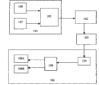
如图2,为本实用新型基于移动终端的便携式远程实时监控装置部件组成的示意图。本实用新型的基于移动终端的便携式远程实时监控装置整合了图1中101的所有功能,并具有其他有益的效果。描述如下:本实用新型包括数据控制模块201、无线通信模块202、存储系统模块203和电源模块204组成;数据控制模块201上整合各个多路自定义接口205,以分别连接各种采集设备206,来采集视频、音频等各种数据。在本实用新型的一个实施例中,数据控制模块201采用C8051F020单片机,其具有的多路自定义接口205为:四路视频/音频输入接口、GPS输入/输出接口、RS485远程控制接口、传感器接口、云台、报警接口、RS-232系统设置接口;可升级硬件或设置硬件参数,可按照实际需求进行扩展。因此,由于多路自定义接口205的存在,使得本实用新型具备了扩展功能。
数据控制模块201采用改良的H.264压缩算法,很好的保留了视频信号的关键帧数,删除了不重要的帧数,使传输速度加快。数据控制模块201采用CAMEC视频流压缩格式,解决了CDMA/GPRS无线通讯网络带宽有限的瓶颈,确保视频图像及数据传输提高速度,使监控终端机108得到的数据清晰流畅。
本实用新型的一个实施例中,无线通信模块202采用Q2358C移动通信模块,这是一个具有完整功能的CDMA移动通信模块,通过串口可以实现对此模块的控制和数据传输,能减少信号发射电流,降低设备功耗,使自备电池体积大大减小。采集设备206所采集的数据经过数据控制模块201的压缩处理之后传输给无线通信模块202,由无线通信模块202通过CDMA或GPRS网络传输到远端应急管理中心104。
本实用新型的存储系统模块203由安全数据卡(SD卡)取代现有技术的硬盘录像,通过改进软件压缩后,2G的安全数据卡(SD卡)可以存储8个小时的声音和图像信息,由于去掉了硬盘,同时也去掉了相应的散热装置,从而减小了终端的体积;同时由于安全数据卡(SD卡)用电量大大少于硬盘,从而降低了耗电量;电量消耗少,终端在保证各部分功能的用电前提下,电池的体积就可以相应减少,从而也减小了本实用新型的体积。
本实用新型采用外置GPS模块,其通过多路自定义接口205中的RS-232系统设置接口与数据控制模块201进行通信,改变了现有技术中GPS模块内置于控制主机中的做法,因而减小了终端体积。在本实用新型的一个实施例中,GPS模块采用台湾Holux公司的GM82 OEM板。它通过外接天线接收GPS信号,计算出所处位置的地理信息,通过串口将此信息传送给数据控制模块201。
本实用新型的电源模块204为可充电的锂电池,在如上配置的情况下,充一次电可以使用5-8小时。
本实用新型体积小(和手机的大小相同),重量轻,耗电小,方便携带,既可以安置在运动载体(如汽车、轮船等)上,也可以由人随身携带,进行大范围的移动,实现对运动载体周围环境或对突发事件现场进行视频图像等数据信息实时采集、存储与远程传输,使远端应急管理中心104能对远程目标及周围环境进行远程监控。
本实用新型适用于以下应用场合:
(1)交通管理:便于交警掌握交通事故现场和动态,方便取证和救援派遣,同时有利整治和管理非法车辆;
(2)公安侦防:刑事侦查和破案搜证,掌握实时影像和相关信息,实时监控并回传中心;
(3)海关辑私:防止海关非法走私,影像动态实时监控回传中心,有利刑事存证;
(4)税务稽查:有利搜索涉税违法案件线索和存证环保局搜证搜证过程中,当时现场之影像和卫星定位信号,实时监控回传中心,抓拍并储存的图片可留作重要证据;
(6)消防车:监控救火抗灾之救援行动;
(7)救护车:掌握病患实际影像救护状况和行车定位踪迹,防范行车意外事件;
(8)运囚车:防止囚犯脱逃及共犯拦截意外事件,掌控行车路线踪迹、监控囚犯影像动态,实时将信息回传监控中心;
(9)客车、旅游车:防止超载旅客、意外事件,杜绝危险人物、小偷、抢匪,影像实时存储行车硬盘中,影像和卫星定位信号及时传回监控中心,保障生命、财产安全,依法打击犯罪,理清责任归属,同时有利刑事存证;
(10)物流车、货柜车:防止货物遗失、掉包、意外事件;物流过程中录像监控、路线掌控、语音调度、控管中心及时掌握过程动态,理清责任归属;
(11)出租车:防止被偷、被抢劫或意外事件,有利于责任追究和刑事存证;行车过程中影像和卫星定位数据随时传回监控中心,确保生命及财产安全,语音调度落实管理效率。
应当理解的是,上述对实施例的详细说明仅为了理解本实用新型,对本领域普通技术人员而言,可以根据上述说明加以改进或变换,只要是达到此目的的所有改进和变换都应属于本实用新型所附权利要求的保护范围。
Claims (6)
1.一种基于移动终端的便携式远程实时监控装置,其特征在于,包括:
数据控制模块,具有多路自定义接口以连接各个数据采集设备以采集数据;
无线通信模块,在该数据控制模块与控制服务器之间通信;
存储系统模块,存储该数据采集模块所采集的数据;
电源模块,为该数据控制模块、该无线通信模块与该存储模块供电。
2.根据权利要求1所述的基于移动终端的便携式远程实时监控装置,其特征在于,所述的多路自定义接口包括至少如下之一:四路视频/音频输入接口、GPS输入/输出接口、RS485远程控制接口、传感器接口、云台、报警接口和RS-232系统设置接口。
3.根据权利要求1或2所述的基于移动终端的便携式远程实时监控装置,其特征在于,该无线通信模块采用Q2358C移动通信模块。
4.根据权利要求1所述的基于移动终端的便携式远程实时监控装置,其特征在于,该存储系统模块采用安全数据卡为存储媒体。
5.根据权利要求1所述的基于移动终端的便携式远程实时监控装置,其特征在于,该电源模块采用可充电锂电池。
6.根据权利要求1所述的基于移动终端的便携式远程实时监控装置,其特征在于,该无线通信模块采用外置GPS模块,该外置GPS模块通过该RS-232系统设置接口与该数据控制模块进行通信。
Priority Applications (1)
| Application Number | Priority Date | Filing Date | Title |
|---|---|---|---|
| CNU2007200767659U CN201146574Y (zh) | 2007-10-30 | 2007-10-30 | 一种基于移动终端的便携式远程实时监控装置 |
Applications Claiming Priority (1)
| Application Number | Priority Date | Filing Date | Title |
|---|---|---|---|
| CNU2007200767659U CN201146574Y (zh) | 2007-10-30 | 2007-10-30 | 一种基于移动终端的便携式远程实时监控装置 |
Publications (1)
| Publication Number | Publication Date |
|---|---|
| CN201146574Y true CN201146574Y (zh) | 2008-11-05 |
Family
ID=40083459
Family Applications (1)
| Application Number | Title | Priority Date | Filing Date |
|---|---|---|---|
| CNU2007200767659U Expired - Fee Related CN201146574Y (zh) | 2007-10-30 | 2007-10-30 | 一种基于移动终端的便携式远程实时监控装置 |
Country Status (1)
| Country | Link |
|---|---|
| CN (1) | CN201146574Y (zh) |
Cited By (7)
| Publication number | Priority date | Publication date | Assignee | Title |
|---|---|---|---|---|
| CN102545970A (zh) * | 2011-12-31 | 2012-07-04 | 福州宜美电子有限公司 | 一种手表利用超低功耗蓝牙传输运动信息到云端的方法 |
| CN102662182A (zh) * | 2012-03-26 | 2012-09-12 | 东南大学 | 一种移动目标定位跟踪信息采集装置及其运行方法 |
| CN102685428A (zh) * | 2012-05-08 | 2012-09-19 | 公安部上海消防研究所 | 一种消防用数字多媒体记录仪 |
| CN101711035B (zh) * | 2009-10-21 | 2012-11-07 | 无锡翱天电气科技有限公司 | 移动监控系统 |
| CN102970368A (zh) * | 2012-11-26 | 2013-03-13 | 江苏新天工广告有限公司 | 万点移动安全管理监控系统 |
| CN103150691A (zh) * | 2013-02-28 | 2013-06-12 | 公安部上海消防研究所 | 一种消防装备专家库综合服务平台 |
| CN105206028A (zh) * | 2014-06-23 | 2015-12-30 | 德赛电子(惠州)有限公司 | 基于物联网的信息采集装置及系统 |
-
2007
- 2007-10-30 CN CNU2007200767659U patent/CN201146574Y/zh not_active Expired - Fee Related
Cited By (9)
| Publication number | Priority date | Publication date | Assignee | Title |
|---|---|---|---|---|
| CN101711035B (zh) * | 2009-10-21 | 2012-11-07 | 无锡翱天电气科技有限公司 | 移动监控系统 |
| CN102545970A (zh) * | 2011-12-31 | 2012-07-04 | 福州宜美电子有限公司 | 一种手表利用超低功耗蓝牙传输运动信息到云端的方法 |
| CN102545970B (zh) * | 2011-12-31 | 2014-12-17 | 福州宜美电子有限公司 | 一种手表利用超低功耗蓝牙传输运动信息到云端的方法 |
| CN102662182A (zh) * | 2012-03-26 | 2012-09-12 | 东南大学 | 一种移动目标定位跟踪信息采集装置及其运行方法 |
| CN102662182B (zh) * | 2012-03-26 | 2015-05-06 | 东南大学 | 一种移动目标定位跟踪信息采集装置及其运行方法 |
| CN102685428A (zh) * | 2012-05-08 | 2012-09-19 | 公安部上海消防研究所 | 一种消防用数字多媒体记录仪 |
| CN102970368A (zh) * | 2012-11-26 | 2013-03-13 | 江苏新天工广告有限公司 | 万点移动安全管理监控系统 |
| CN103150691A (zh) * | 2013-02-28 | 2013-06-12 | 公安部上海消防研究所 | 一种消防装备专家库综合服务平台 |
| CN105206028A (zh) * | 2014-06-23 | 2015-12-30 | 德赛电子(惠州)有限公司 | 基于物联网的信息采集装置及系统 |
Similar Documents
| Publication | Publication Date | Title |
|---|---|---|
| CN201146574Y (zh) | 一种基于移动终端的便携式远程实时监控装置 | |
| CN202772924U (zh) | 智能云卡口系统 | |
| CN102651173B (zh) | 基于3g网络的北斗卫星监控安全行车系统 | |
| CN102231822B (zh) | 一种监控系统 | |
| CN201839388U (zh) | 一种在3g网络下带vpn和gps功能的视频监控系统 | |
| CN103178903A (zh) | 基于无线光网的电力应急通信系统 | |
| CN112185121A (zh) | 一种基于5g的交通精准执法方法及设备 | |
| CN102708603A (zh) | 基于gis的车辆监控车载记录仪 | |
| CN107610026A (zh) | 一种实现数据共享的平安城市系统 | |
| CN201937765U (zh) | 无线监控系统及视频监控仪 | |
| CN102821269A (zh) | 用于动车组的3g远程视频传输系统 | |
| CN111583681A (zh) | 一种交通综合执法系统 | |
| CN202593420U (zh) | 校车安全监控系统 | |
| CN204776961U (zh) | 智能垃圾箱 | |
| CN204904573U (zh) | 一种道路交通流量统计综合监测系统 | |
| CN202042025U (zh) | 一种监测终端 | |
| CN105118291A (zh) | 一种道路交通流量统计综合监测系统 | |
| CN111586373A (zh) | 一种地市级交通局可视化综合监管大数据平台 | |
| CN101159857A (zh) | 远程图像采集监控系统和监控方法 | |
| CN212460818U (zh) | 智慧城市监控系统 | |
| CN103310502A (zh) | 钞车路线监控与分析系统 | |
| CN213123286U (zh) | 一种基于无线传感网的大气成分观测监控预警系统 | |
| CN201667134U (zh) | 3g车载智能监控管理系统 | |
| CN201611516U (zh) | 一种卫星监测消防预警监控设备 | |
| CN109100961B (zh) | 高速公路机电工程系统 |
Legal Events
| Date | Code | Title | Description |
|---|---|---|---|
| C14 | Grant of patent or utility model | ||
| GR01 | Patent grant | ||
| C17 | Cessation of patent right | ||
| CF01 | Termination of patent right due to non-payment of annual fee |
Granted publication date: 20081105 Termination date: 20091130 |