CN201144182Y - Domestic sewage regeneration treatment and reuse device - Google Patents
Domestic sewage regeneration treatment and reuse device Download PDFInfo
- Publication number
- CN201144182Y CN201144182Y CNU2007200091909U CN200720009190U CN201144182Y CN 201144182 Y CN201144182 Y CN 201144182Y CN U2007200091909 U CNU2007200091909 U CN U2007200091909U CN 200720009190 U CN200720009190 U CN 200720009190U CN 201144182 Y CN201144182 Y CN 201144182Y
- Authority
- CN
- China
- Prior art keywords
- chamber
- water
- biological
- downstream
- dividing plate
- Prior art date
- Legal status (The legal status is an assumption and is not a legal conclusion. Google has not performed a legal analysis and makes no representation as to the accuracy of the status listed.)
- Expired - Lifetime
Links
- 239000010865 sewage Substances 0.000 title claims abstract description 27
- 230000008929 regeneration Effects 0.000 title claims abstract description 12
- 238000011069 regeneration method Methods 0.000 title claims abstract description 12
- XLYOFNOQVPJJNP-UHFFFAOYSA-N water Substances O XLYOFNOQVPJJNP-UHFFFAOYSA-N 0.000 claims abstract description 88
- 230000003647 oxidation Effects 0.000 claims abstract description 16
- 238000007254 oxidation reaction Methods 0.000 claims abstract description 16
- OKTJSMMVPCPJKN-UHFFFAOYSA-N Carbon Chemical compound [C] OKTJSMMVPCPJKN-UHFFFAOYSA-N 0.000 claims description 10
- 229910052799 carbon Inorganic materials 0.000 claims description 10
- 238000005276 aerator Methods 0.000 claims description 4
- 239000000701 coagulant Substances 0.000 claims description 4
- 241000894006 Bacteria Species 0.000 claims description 3
- 238000001556 precipitation Methods 0.000 claims description 3
- 238000010521 absorption reaction Methods 0.000 claims 3
- 230000001112 coagulating effect Effects 0.000 claims 2
- 230000000249 desinfective effect Effects 0.000 claims 1
- 239000000706 filtrate Substances 0.000 claims 1
- 238000005192 partition Methods 0.000 abstract description 15
- 239000000463 material Substances 0.000 abstract description 14
- 238000004062 sedimentation Methods 0.000 abstract description 14
- 230000020477 pH reduction Effects 0.000 abstract description 13
- 230000007062 hydrolysis Effects 0.000 abstract description 12
- 238000006460 hydrolysis reaction Methods 0.000 abstract description 12
- 238000006243 chemical reaction Methods 0.000 abstract description 11
- 238000011049 filling Methods 0.000 abstract description 9
- 238000001179 sorption measurement Methods 0.000 abstract description 9
- 238000005345 coagulation Methods 0.000 abstract description 7
- 230000015271 coagulation Effects 0.000 abstract description 7
- 238000000034 method Methods 0.000 abstract description 7
- 238000004064 recycling Methods 0.000 abstract description 5
- 238000000746 purification Methods 0.000 abstract description 4
- 238000001914 filtration Methods 0.000 abstract description 3
- 230000015556 catabolic process Effects 0.000 abstract description 2
- 238000006731 degradation reaction Methods 0.000 abstract description 2
- 230000029087 digestion Effects 0.000 abstract description 2
- 239000007788 liquid Substances 0.000 abstract description 2
- 238000000926 separation method Methods 0.000 abstract description 2
- 239000000945 filler Substances 0.000 description 5
- 238000004659 sterilization and disinfection Methods 0.000 description 5
- 239000010802 sludge Substances 0.000 description 4
- 238000005516 engineering process Methods 0.000 description 3
- 239000002351 wastewater Substances 0.000 description 3
- 241001465754 Metazoa Species 0.000 description 2
- 241000700605 Viruses Species 0.000 description 2
- 238000009435 building construction Methods 0.000 description 2
- 238000004140 cleaning Methods 0.000 description 2
- 239000003651 drinking water Substances 0.000 description 2
- 235000020188 drinking water Nutrition 0.000 description 2
- 238000011010 flushing procedure Methods 0.000 description 2
- 239000002245 particle Substances 0.000 description 2
- 239000008213 purified water Substances 0.000 description 2
- 230000005855 radiation Effects 0.000 description 2
- 230000001954 sterilising effect Effects 0.000 description 2
- 239000000126 substance Substances 0.000 description 2
- 238000011144 upstream manufacturing Methods 0.000 description 2
- 238000005406 washing Methods 0.000 description 2
- 230000008878 coupling Effects 0.000 description 1
- 238000010168 coupling process Methods 0.000 description 1
- 238000005859 coupling reaction Methods 0.000 description 1
- 230000000694 effects Effects 0.000 description 1
- 230000007613 environmental effect Effects 0.000 description 1
- 239000003344 environmental pollutant Substances 0.000 description 1
- 239000010419 fine particle Substances 0.000 description 1
- 230000003301 hydrolyzing effect Effects 0.000 description 1
- 238000002156 mixing Methods 0.000 description 1
- 239000008239 natural water Substances 0.000 description 1
- 231100000719 pollutant Toxicity 0.000 description 1
- 230000002265 prevention Effects 0.000 description 1
- 239000008399 tap water Substances 0.000 description 1
- 235000020679 tap water Nutrition 0.000 description 1
- 239000002699 waste material Substances 0.000 description 1
- 238000003911 water pollution Methods 0.000 description 1
Images
Classifications
-
- Y—GENERAL TAGGING OF NEW TECHNOLOGICAL DEVELOPMENTS; GENERAL TAGGING OF CROSS-SECTIONAL TECHNOLOGIES SPANNING OVER SEVERAL SECTIONS OF THE IPC; TECHNICAL SUBJECTS COVERED BY FORMER USPC CROSS-REFERENCE ART COLLECTIONS [XRACs] AND DIGESTS
- Y02—TECHNOLOGIES OR APPLICATIONS FOR MITIGATION OR ADAPTATION AGAINST CLIMATE CHANGE
- Y02W—CLIMATE CHANGE MITIGATION TECHNOLOGIES RELATED TO WASTEWATER TREATMENT OR WASTE MANAGEMENT
- Y02W10/00—Technologies for wastewater treatment
- Y02W10/10—Biological treatment of water, waste water, or sewage
Landscapes
- Physical Water Treatments (AREA)
- Biological Treatment Of Waste Water (AREA)
Abstract
本实用新型公开了一种生活污水再生处理及回用装置,其在一箱体内侧设有若干具有过水孔的隔板将箱体分成若干腔室,该腔室由上游到下游依次为生物滤室、水解酸化室、生物接触氧化室、混凝反应室及高效沉淀室;所述生物滤室内设有进水管式导流器并一直延伸到该腔室底部,所述高效沉淀室的底部设有漏斗形的泥水分离器及集泥室,且该高效沉淀室的上方设有排水管。该装置的各个腔室内安装了不同的物理拦截固液分离填充材料及生物载体填充材料等,利用物理拦截过滤及生物偶合吸附、消化、降解处理相结合的方法,达到深度净化水质的目的,不但可达到污水排放标准,更可回收再利用。
The utility model discloses a domestic sewage regeneration treatment and recycling device, which is provided with a plurality of partitions with water holes inside a box to divide the box into several chambers, and the chambers are biological filter chamber, hydrolysis acidification chamber, biological contact oxidation chamber, coagulation reaction chamber and high-efficiency sedimentation chamber; the biological filter chamber is provided with a water inlet pipe guide and extends to the bottom of the chamber, and the high-efficiency sedimentation chamber A funnel-shaped mud-water separator and a mud-collecting chamber are provided at the bottom, and a drain pipe is provided above the high-efficiency sedimentation chamber. Different physical interception solid-liquid separation filling materials and biological carrier filling materials are installed in each chamber of the device, and the method of combining physical interception filtration with biocoupling adsorption, digestion, and degradation treatment is used to achieve the purpose of deep purification of water quality, not only It can meet the sewage discharge standard and can be recycled and reused.
Description
技术领域 technical field
本实用新型属于水污染防治的环保技术与节能领域,特别是指一种生活污水再生处理及回用装置。The utility model belongs to the field of environmental protection technology and energy saving of water pollution prevention and control, in particular to a domestic sewage regeneration treatment and recycling device.
背景技术 Background technique
现有的生活污水处理装置主要是以物理、化学、电子、生物等技术单一工艺处理为主要方法,处理后的水质不能够满足或仅能够满足国家规定的GB8978-1996污水综合排放标准,处理后的水质中还存在大量的污染物质,绝大部分继续排入江河湖泊等自然水系,不但污染环境,也造成了水资源的极大浪费。Existing domestic sewage treatment devices mainly use a single process of physical, chemical, electronic, biological and other technologies as the main method. The water quality after treatment cannot meet or can only meet the comprehensive sewage discharge standard stipulated by the state. There are still a large number of pollutants in the water quality of the environment, and most of them continue to be discharged into natural water systems such as rivers and lakes, which not only pollutes the environment, but also causes a great waste of water resources.
实用新型内容Utility model content
本实用新型的目的在于提供一种可对生活污水生化降解再生处理并能回用的生活污水再生处理及回用装置。The purpose of the utility model is to provide a domestic sewage regeneration treatment and recycling device which can biochemically degrade, regenerate and reuse domestic sewage.
为实现上述目的,本实用新型的技术解决方案是:For achieving the above object, the technical solution of the utility model is:
一种生活污水再生处理及回用装置,其在一箱体内则设有若干具有过水孔的隔板将箱体分成若干腔室;该腔室由上游到下游依次为生物滤室、水解酸化室、生物接触氧化室、混凝反应室及高效沉淀室;所述生物滤室内设有进水管式导流器并一直延伸到该腔室底部,而该室内中间固定有生物滤床,其与水解酸化室之间的隔板上的第一过水孔位于上方;所述水解酸化室内中间固定有水解酸化填充料,其下游隔板上开设的第二过水孔位于下方;所述生物接触氧化室中间部分固定有生物接触氧化填充料,其下游隔板上开设的第三过水孔位于上方;所述混凝反应室上方设有混凝剂投加装置,而其下游隔板上的第四过水孔位于中下方;所述高效沉淀室内的中上方固定有高效沉淀填充料,该腔室内底部设有漏斗形的泥水分离器及集泥室,且该高效沉淀室的上方设有排水管。A domestic sewage regeneration treatment and reuse device, which is equipped with a number of partitions with water holes in a box to divide the box into several chambers; the chambers are sequentially composed of biological filter chambers, hydrolysis and acidification chambers from upstream to downstream. chamber, biological contact oxidation chamber, coagulation reaction chamber and high-efficiency sedimentation chamber; the biofilter chamber is provided with a water inlet pipe deflector and extends to the bottom of the chamber, and a biological filter bed is fixed in the middle of the chamber, its The first water hole on the partition between the hydrolysis and acidification chamber is located above; the middle of the hydrolysis acidification chamber is fixed with a hydrolysis acidification filler, and the second water hole opened on the downstream partition is located below; the biological The middle part of the contact oxidation chamber is fixed with a biological contact oxidation filling material, and the third water hole opened on the downstream partition is located above; the coagulant dosing device is arranged above the coagulation reaction chamber, and the downstream partition The fourth water hole is located in the lower middle; the upper middle of the high-efficiency sedimentation chamber is fixed with a high-efficiency sedimentation filler, the bottom of the chamber is provided with a funnel-shaped mud-water separator and a mud collection chamber, and the upper part of the high-efficiency sedimentation chamber is set There are drains.
所述高效沉淀室的下游还依次设置有生物碳吸附滤室及清水室;而该高效沉淀室与生物碳吸附滤室之间的隔板上开设的第五过水孔位于上方;所述生物碳吸附滤室的室内中间固定有生物碳滤料,其下游隔板的下方固定过水导流器,该过水导流器一直延伸向上并与所述清水室连通;所述清水室内安装有紫外C消毒杀菌装置,其底部还安装有回用水泵及再生水回用水管。The downstream of the high-efficiency precipitation chamber is also provided with a biological carbon adsorption filter chamber and a clear water chamber in sequence; and the fifth water hole opened on the partition between the high-efficiency precipitation chamber and the biological carbon adsorption filter chamber is located at the top; The middle of the carbon adsorption filter room is fixed with biological carbon filter material, and the water flow deflector is fixed under the downstream partition, and the water flow deflector extends upward and communicates with the clean water chamber; the clean water chamber is equipped with The ultraviolet C disinfection and sterilization device is also equipped with a return water pump and a reclaimed water return water pipe at the bottom.
所述水解酸化室底部设有水下射流搅拌机。An underwater jet mixer is installed at the bottom of the hydrolysis acidification chamber.
所述生物接触氧化室底部设有水下曝气机。An underwater aerator is provided at the bottom of the biological contact oxidation chamber.
所述箱体的底板外侧安装有带阀门的排泥管与各个腔室底部连通。A mud discharge pipe with a valve is installed on the outside of the bottom plate of the box to communicate with the bottom of each chamber.
采用上述方案后,由于本实用新型在箱体内的各个腔室内,安装了不同的物理拦截固液分离填充材料及生物载体填充材料等,废水可均匀的从各个净化体的侧壁向后面工序流动,经过各滤层和生物床时,水体会依次进行过滤净化,由于滤层及生物床层上生物膜层的设置,可以对废水中的细小颗粒物和非颗粒有机物质进行生化降解,对废水进行完全有效的净化作用,从而延长炭层的使用周期,降低其更换的频率;本实用新型利用物理拦截过滤及生物偶合吸附、消化、降解处理相结合的方法,达到深度净化水质的目的;最后再经清水室内紫外线消毒器的光化学辐射反应,有效杀灭病菌病毒,可令净化的水质更为安全可靠,对人畜和生态环境不产生二次污染,使处理后的水质能够满足国家《城市污水再生利用》的水质要求,可用于冲厕、道路清扫、消防、城市绿化、车辆冲洗、建筑施工的非饮用水及景观环境用水。也就是说,经过本实用新型处理过的污水不但可达到污水排放标准,更可回收再利用。After adopting the above scheme, because the utility model installs different physical interception solid-liquid separation filling materials and biological carrier filling materials in each chamber of the box body, the waste water can evenly flow from the side walls of each purification body to the subsequent process , when passing through each filter layer and biological bed, the water body will be filtered and purified in sequence. Due to the setting of the biofilm layer on the filter layer and the biological bed layer, the fine particles and non-particle organic substances in the wastewater can be biochemically degraded, and the wastewater can be degraded. Complete and effective purification effect, thereby prolonging the service life of the carbon layer and reducing the frequency of its replacement; the utility model uses the method of combining physical interception and filtration with biological coupling adsorption, digestion and degradation treatment to achieve the purpose of deep purification of water quality; finally After the photochemical radiation reaction of the clean water indoor ultraviolet sterilizer, it can effectively kill bacteria and viruses, make the purified water safer and more reliable, and will not cause secondary pollution to humans, animals and the ecological environment, so that the treated water quality can meet the national "Urban Sewage Regeneration" Utilizing the water quality requirements of ", it can be used for toilet flushing, road cleaning, fire protection, urban greening, vehicle washing, non-drinking water for building construction and water for landscape environment. That is to say, the sewage treated by the utility model can not only meet the sewage discharge standard, but also can be recycled and reused.
附图说明 Description of drawings
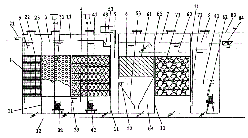
图1是本实用新型结构剖视图。Fig. 1 is a sectional view of the structure of the utility model.
具体实施方式 Detailed ways
如图1所示,本实用新型所述的生活污水再生处理及回用装置在一箱体1内则设有若干具有过水孔的隔板11,从而将箱体1分成若干腔室,该腔室由上游到下游依次为生物滤室2、水解酸化室3、生物接触氧化室4、混凝反应室5、高效沉淀室6、生物碳吸附滤室7及清水室8。其中:As shown in Figure 1, the domestic sewage regeneration treatment and recycling device described in the utility model is provided with a plurality of
所述生物滤室2内设有进水管式导流器21,该导流器21一直延伸到生物滤室2的底部,而该室内中间固定有生物滤床22。另其下游的隔板11上开有第一过水孔23与水解酸化室3连通,并位于生物滤床22的上方。The
所述水解酸化室3内中间固定有水解酸化填充料31,在室内底部设有水下射流搅拌机32,而在其下游的隔板11下方开有第二过水孔33与生物接触氧化室4连通。A hydrolytic
所述的生物接触氧化室4中间部分固定有生物接触氧化填充料41,其室内底部设有水下曝气机42,另在其下游的隔板11上方开有第三过水孔43与混凝反应室5连通。The middle part of the biological contact oxidation chamber 4 is fixed with a biological contact
所述混凝反应室5上方设有混凝剂投加装置51,另在其下游的隔板11中下方开有第四过水孔52与高效沉淀室6连通。A
所述高效沉淀室6内的中上方固定有高效沉淀填充料61,在填料上方水平面的面板上,安装了一个带阀门的排水管62,在室内底部设有漏斗形的泥水分离器63及集泥室64,另在其下游的隔板11上方开有第五过水孔65与生物碳吸附滤室7连通。High-
所述生物碳吸附滤室7的室内中间固定有生物碳滤料71,在其下游的隔板11下方固定过水导流器72,该过水导流器72一直延伸向上并与清水室8连通。In the middle of the biochar adsorption filter chamber 7, a
所述清水室8内安装有紫外C消毒杀菌装置81,其底部安装有回用水泵82及再生水回用水管83,同时还安装有自来水补偿器84。A UV-
此外,在箱体1的底板外侧还安装有带阀门的排泥管12与各个腔室底部连通,从而可方便将各腔室内的淤泥排出。In addition, a
本实用新型在使用时,污水先由进水管式的导流器21进入到生物滤室2,由于导流器21一直延伸到该腔室的底部,使污水是直接进入到生物滤室2的底部而不是上方,这样当污水经生物滤室2过滤时,是由底部向上渗入到生物滤床22内进行过滤,而不是象传统技术那样由上方向下进行过滤。由于污水中的淤泥较多,如果从上方向下过滤,淤泥很容易落在生物滤床的上方,而堵塞滤料。如果从下方向上渗入,由淤泥会自然沉入腔室底部而不会堵塞滤料。之后可开启阀门从排泥管12排出。When the utility model is in use, the sewage first enters the
经过生物滤室2粗部过滤的污水由第一过水孔23进入到所述水解酸化室3后,由其内的水解酸化填充料31进行水解酸化反应,而其底部的水下射流搅拌机32则可令水解酸化填充料31与污水充分混合,使反应更充分。之后污水再第二过水孔33进入到生物接触氧化室4进行氧化处理,而其内的水下曝气机42与上述水下射流搅拌机32的作用相当,可令氧化更充分。After the sewage filtered through the rough part of the
经过氧化处理的水再由上方的第三过水孔43进入到混凝反应室5,同时与混凝剂混合,使污水内的细小污物结合而成较大粒颗的污物,然后由其中下方的第四过水孔52进入到高效沉淀室6内。The oxidized water enters the
由于所述的第四过水孔52设置于中下方,且其下设有漏斗形的泥水分离器63,这样水自然形成螺旋状,从而使较重的污物由底部的出口进入到集泥室64,且由于出口较小,因此污物一旦进入到集泥室64就不易浮出,而水则经过上方的高效沉淀填充料61进行再次过滤。自此,污水已经经过一级处理,可达到排入标准,如果不象再回收利用的话,就可由上方的排水管62排出。Since the
如果还想对水进一步进行处理以达到回收利用的目的,则水继续由第五过水孔65进入到生物碳吸附滤室7内,进行生物碳滤料71过滤,再经过过水导流器72而进入清水室8,由于该过水导流器72一直延伸向上,因此可再次起到沉淀污物的作用。到达清水室8内的水再由紫外C消毒杀菌装置81进行紫外线光化学辐射反应,可有效杀灭病菌病毒,令净化的水质更为安全可靠,对人畜和生态环境不产生二次污染。最后经净化的清水由回用水泵82及再生水回用水管83排出,并可用于冲厕、道路清扫、消防、城市绿化、车辆冲洗、建筑施工的非饮用水及景观环境用水。If you want to further process the water to achieve the purpose of recycling, the water will continue to enter the biochar adsorption filter chamber 7 through the
Claims (5)
Priority Applications (1)
| Application Number | Priority Date | Filing Date | Title |
|---|---|---|---|
| CNU2007200091909U CN201144182Y (en) | 2007-12-18 | 2007-12-18 | Domestic sewage regeneration treatment and reuse device |
Applications Claiming Priority (1)
| Application Number | Priority Date | Filing Date | Title |
|---|---|---|---|
| CNU2007200091909U CN201144182Y (en) | 2007-12-18 | 2007-12-18 | Domestic sewage regeneration treatment and reuse device |
Publications (1)
| Publication Number | Publication Date |
|---|---|
| CN201144182Y true CN201144182Y (en) | 2008-11-05 |
Family
ID=40081050
Family Applications (1)
| Application Number | Title | Priority Date | Filing Date |
|---|---|---|---|
| CNU2007200091909U Expired - Lifetime CN201144182Y (en) | 2007-12-18 | 2007-12-18 | Domestic sewage regeneration treatment and reuse device |
Country Status (1)
| Country | Link |
|---|---|
| CN (1) | CN201144182Y (en) |
Cited By (7)
| Publication number | Priority date | Publication date | Assignee | Title |
|---|---|---|---|---|
| CN102701540A (en) * | 2012-06-28 | 2012-10-03 | 苏州科博思流体科技有限公司 | High-efficiency domestic sewage treatment device |
| CN103241896A (en) * | 2013-05-02 | 2013-08-14 | 江苏瑞盛水处理有限公司 | Integrated water-treatment device |
| CN103553272A (en) * | 2013-11-11 | 2014-02-05 | 孙田力 | Constant-water-level biofilm sewage treatment device |
| CN104402164A (en) * | 2014-09-30 | 2015-03-11 | 四川中测环境技术有限公司 | Integrated processing system and method thereof for sewage |
| CN104891748A (en) * | 2015-06-16 | 2015-09-09 | 山东海丽管道科技有限公司 | Purification tank |
| CN108178433A (en) * | 2017-12-27 | 2018-06-19 | 谢安迪 | A kind of medical institutions' sewage disposal device |
| CN110066074A (en) * | 2019-05-28 | 2019-07-30 | 河海大学 | A kind of sewage reuse processing unit |
-
2007
- 2007-12-18 CN CNU2007200091909U patent/CN201144182Y/en not_active Expired - Lifetime
Cited By (7)
| Publication number | Priority date | Publication date | Assignee | Title |
|---|---|---|---|---|
| CN102701540A (en) * | 2012-06-28 | 2012-10-03 | 苏州科博思流体科技有限公司 | High-efficiency domestic sewage treatment device |
| CN103241896A (en) * | 2013-05-02 | 2013-08-14 | 江苏瑞盛水处理有限公司 | Integrated water-treatment device |
| CN103553272A (en) * | 2013-11-11 | 2014-02-05 | 孙田力 | Constant-water-level biofilm sewage treatment device |
| CN104402164A (en) * | 2014-09-30 | 2015-03-11 | 四川中测环境技术有限公司 | Integrated processing system and method thereof for sewage |
| CN104891748A (en) * | 2015-06-16 | 2015-09-09 | 山东海丽管道科技有限公司 | Purification tank |
| CN108178433A (en) * | 2017-12-27 | 2018-06-19 | 谢安迪 | A kind of medical institutions' sewage disposal device |
| CN110066074A (en) * | 2019-05-28 | 2019-07-30 | 河海大学 | A kind of sewage reuse processing unit |
Similar Documents
| Publication | Publication Date | Title |
|---|---|---|
| CN201144182Y (en) | Domestic sewage regeneration treatment and reuse device | |
| CN104150688A (en) | Device for classifying organic matters in underground water and purifying underground water by areas and purifying method | |
| CN107986560A (en) | Urban sewage treatment system | |
| CN204874123U (en) | Quality of water clean system | |
| CN104150656B (en) | Nanometer aeration condenses-stirs the apparatus and method of flocculating and purifying biological treatment of sewage | |
| CN104724843B (en) | A kind of Airfloat filtering pond | |
| CN204550258U (en) | A kind of waste disposal plant | |
| CN104193077B (en) | Device and method for degrading organic wastewater by carrousel oxidation ditch | |
| CN114315020A (en) | Be provided with ultrafiltration reverse osmosis system's sewage treatment system | |
| CN211445407U (en) | Purify ecological dam device in black and odorous river course | |
| CN104150702B (en) | Vertical subsurface flow wetland is purified waste water Treated sewage reusing device and treatment process | |
| CN2900510Y (en) | Combined aeration biological filter pool | |
| CN104193086B (en) | The apparatus and method of a kind of villages and small towns collective and distributive type sewage fast processing | |
| CN202643507U (en) | High-efficiency fluidization-state waste water treatment device without septic tank | |
| CN214571301U (en) | Rainwater treatment and recycling integrated equipment | |
| CN213388113U (en) | Intelligent water treatment device | |
| CN207792980U (en) | A kind of special integrated equipment for wastewater treatment of sanitary sewage | |
| CN202191745U (en) | Four-in-one integrated water clarifier with dimethicone crystal purifier | |
| JP4219110B2 (en) | Scum eliminating sewage treatment method and apparatus | |
| KR20060018168A (en) | Filter rotation circulating sewage system | |
| CN115340250A (en) | Integrated sewage treatment equipment | |
| CN217103477U (en) | Microbial degradation device for sewage treatment | |
| CN213570012U (en) | Domestic sewage treatment device | |
| CN219098913U (en) | Three-pond septic sewage treatment device | |
| CN116903173B (en) | Riverside purification system using rainwater as resource replenishment and its application |
Legal Events
| Date | Code | Title | Description |
|---|---|---|---|
| C14 | Grant of patent or utility model | ||
| GR01 | Patent grant | ||
| ASS | Succession or assignment of patent right |
Owner name: HENAN HONGLIYUAN BIOLOGY SCIENCE AND TECHNOLOGY CO Free format text: FORMER OWNER: SUN TIANLI Effective date: 20091030 |
|
| C41 | Transfer of patent application or patent right or utility model | ||
| TR01 | Transfer of patent right |
Effective date of registration: 20091030 Address after: 3-3-903, Manhattan square, Jinshui Road East, Jinshui District, Henan, Zhengzhou, 450003 Patentee after: Henan Acer Liyuan Biotechnology Co. Ltd. Address before: Fujian city of Xiamen Province, North Hubin Road, No. 16, 305 Lianbinli, zip code: 361012 Patentee before: Sun Tianli |
|
| C56 | Change in the name or address of the patentee |
Owner name: HENAN HONGLIYUAN BIOLOGY SCIENCE AND TECHNOLOGY CO Free format text: NEW ADDRESS: NO.12, 19/F, BUILDING B, (ITALY INTERNATIONAL), NO.A-23, JUNCTION OF CBD SHANGWUWAIHUAN AND SHANGWU EAST 2ND STREET, ZHENGDONG NEW DISTRICT, ZHENGZHOU CITY, HENAN PROVINCE, ZIP CODE:450000 |
|
| CP02 | Change in the address of a patent holder |
Address after: B District, Zhengzhou, Henan, CBD business circle and business East two street intersection, A-23 (Italy International), building 450000, 19, floor 12, zip code: Zheng Dong Patentee after: Henan Acer Liyuan Biotechnology Co. Ltd. Address before: 3-3-903, Manhattan square, Jinshui Road East, Jinshui District, Henan, Zhengzhou, 450003 Patentee before: Henan Acer Liyuan Biotechnology Co. Ltd. |
|
| CX01 | Expiry of patent term | ||
| CX01 | Expiry of patent term |
Granted publication date: 20081105 |
