CN201138440Y - Wireless remote monitoring system for constant-current water injection of oil well - Google Patents

Wireless remote monitoring system for constant-current water injection of oil well Download PDF

Info

Publication number
CN201138440Y
CN201138440Y CNU200720171505XU CN200720171505U CN201138440Y CN 201138440 Y CN201138440 Y CN 201138440Y CN U200720171505X U CNU200720171505X U CN U200720171505XU CN 200720171505 U CN200720171505 U CN 200720171505U CN 201138440 Y CN201138440 Y CN 201138440Y
Authority
CN
China
Prior art keywords
data radio
radio station
oil well
main pipe
data
Prior art date
Legal status (The legal status is an assumption and is not a legal conclusion. Google has not performed a legal analysis and makes no representation as to the accuracy of the status listed.)
Expired - Fee Related
Application number
CNU200720171505XU
Other languages
Chinese (zh)
Inventor
赵吉安
Current Assignee (The listed assignees may be inaccurate. Google has not performed a legal analysis and makes no representation or warranty as to the accuracy of the list.)
Individual
Original Assignee
Individual
Priority date (The priority date is an assumption and is not a legal conclusion. Google has not performed a legal analysis and makes no representation as to the accuracy of the date listed.)
Filing date
Publication date
Application filed by Individual filed Critical Individual
Priority to CNU200720171505XU priority Critical patent/CN201138440Y/en
Application granted granted Critical
Publication of CN201138440Y publication Critical patent/CN201138440Y/en
Anticipated expiration legal-status Critical
Expired - Fee Related legal-status Critical Current

Links

Images

Classifications

    • YGENERAL TAGGING OF NEW TECHNOLOGICAL DEVELOPMENTS; GENERAL TAGGING OF CROSS-SECTIONAL TECHNOLOGIES SPANNING OVER SEVERAL SECTIONS OF THE IPC; TECHNICAL SUBJECTS COVERED BY FORMER USPC CROSS-REFERENCE ART COLLECTIONS [XRACs] AND DIGESTS
    • Y02TECHNOLOGIES OR APPLICATIONS FOR MITIGATION OR ADAPTATION AGAINST CLIMATE CHANGE
    • Y02PCLIMATE CHANGE MITIGATION TECHNOLOGIES IN THE PRODUCTION OR PROCESSING OF GOODS
    • Y02P90/00Enabling technologies with a potential contribution to greenhouse gas [GHG] emissions mitigation
    • Y02P90/02Total factory control, e.g. smart factories, flexible manufacturing systems [FMS] or integrated manufacturing systems [IMS]

Landscapes

  • Arrangements For Transmission Of Measured Signals (AREA)

Abstract

The utility model discloses an oil well constant current injection wireless remote monitoring system which comprises an upper monitoring terminal, an on-site instrument terminal and an injection pipe; the injection pipe comprises an on-site pipe, a main pipe and equipments and instruments thereof; the upper monitoring terminal comprises a PLC and a data radio; the PLC and the data radio are connected by a data line; the on-site instrument terminal comprises a data radio, a flow controller, a flow meter and an electric control valve; the flow meter and the electric control valve are connected to the on-site pipe, and connected with the data radio and the flow controller by data lines; the equipments and the instruments of the main pipe comprise a water pump, a pressure controller, a frequency converter, a data radio and a pressure sensor, wherein, the water pump and the pressure sensor are arranged on the main pipe and connected with the data radio, the pressure controller and the frequency converter by data lines. The upper monitoring terminal is used to monitor the on-site instrument terminal and the main pipe, as well as the equipments and instruments, thereby controlling the injection pipe on the site to inject water into the oil well with constant flow and realizing the remote monitoring and control.

Description

Oil well constant current water filling wireless remote control system
Technical field
The utility model relates to a kind of oil well supervisory system, particularly oil well constant current water filling wireless remote control system.
Background technology
Progressively decaying through long-term oil recovery grown place stressor layer in the oil field, needs to use water injection technology to increase reservoir pressure and carry out oil producing operation.Control water injection pressure, flow just are the important parameters of decision oil field rational exploitation.Considering needs the process conditions complicacy that adapts in the configuration design of water injection technology and electromechanical equipment, the process conditions that satisfy comprise: the increasing of later development water injection well; Oil storage reservoir pressure and oil and gas and water distribution constantly change; The increase and decrease of switch well number; Influence of well-flushing and insufficient water or the like.The uncertainty of process conditions causes the water injection pressure fluctuation, the inhomogeneous instability of water injection rate, and water injection pressure control difficulty is big, brings difficulty to oil field production high and stable yields and management.Water injection pressure is promptly regulated pump capacity by changing pipe system performance curve by the control of pump discharge hand door at present, and pump, motor coupling are difficult to reach the optimal working point operation at pump, and pipe network efficient is low, and energy loss is up to more than 50%.
Summary of the invention
The purpose of this utility model is the shortcoming that solves above-mentioned prior art, provide a kind of can be to the wireless remote control system of oil well constant current water filling.
For achieving the above object, the utility model comprises the upper monitoring end, field instrument end and water injecting pipeline, water injecting pipeline comprises on-the-spot pipeline, main pipe rail and equipment thereof and instrument, the upper monitoring end comprises PLC and data radio station, PLC links to each other by data line with data radio station, the field instrument end comprises data radio station, flow controller, flowmeter and motorized valve, flowmeter is connected on the on-the-spot pipeline and by data line with motorized valve and links to each other with flow controller with data radio station, main pipe rail equipment and instrument comprise water pump, pressure controller, frequency converter, data radio station, pressure transducer, wherein water pump and pressure transducer are connected on the main pipe rail and by data line and data radio station, pressure controller links to each other with frequency converter.
As further improvement, field instrument end described in the utility model also comprises jaw opening sensor, and jaw opening sensor links to each other with motorized valve.
As further improving, upper monitoring end described in the utility model also comprises computing machine.
Because adopt the upper monitoring end to field instrument end and main pipe rail and equipment and instrument enforcement monitoring, the water injecting pipeline at may command scene is realized remote monitoring and control with the water filling in oil well of constant flow.
Description of drawings
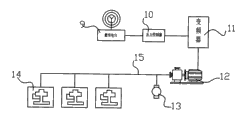
Fig. 1 is the block diagram of the utility model embodiment upper monitoring end.
Fig. 2 is the block diagram of the utility model embodiment field instrument end.
Fig. 3 is the block diagram of the utility model embodiment main pipe rail and equipment and instrument.
Embodiment
Below in conjunction with accompanying drawing oil well constant current water filling wireless remote control system of the present utility model is described further.
As Fig. 1, Fig. 2 and shown in Figure 3, the utility model oil well constant current water filling wireless remote control system comprises the upper monitoring end, field instrument end and water injecting pipeline, water injecting pipeline comprises on-the-spot pipeline 14, main pipe rail 15 and equipment thereof and instrument, the upper monitoring end comprises PLC 3 and data radio station 1, PLC 3 and data radio station 1 link to each other by data line, the field instrument end comprises data radio station 5, flow controller 6, flowmeter 7 and motorized valve 8, flowmeter 7 is connected on the on-the-spot pipeline 14 and by data line with motorized valve 8 and links to each other with flow controller 6 with data radio station 5, main pipe rail equipment and instrument comprise water pump 12, pressure controller 10, frequency converter 11, data radio station 9, pressure transducer 13, wherein water pump 12 and pressure transducer 13 are connected on the main pipe rail 15 and by data line and data radio station 9, pressure controller 10 links to each other with frequency converter 11.The field instrument end also comprises jaw opening sensor 4, and jaw opening sensor 4 links to each other with motorized valve 8.The upper monitoring end also comprises computing machine 2.
Concrete workflow is as follows, PLC 3 at the upper monitoring end sets concrete control program earlier, by data radio station 1 control data is passed to the field instrument end, after the data radio station 5 of field instrument end receives data, through the flow controller 6 control linkages motorized valve 8 on the pipeline at the scene, guarantee constant current water filling in the oil well.Simultaneously the field instrument end flowmeter 7 the discharge data of on-the-spot pipeline are sent to the upper monitoring end by data radio station 5.The data radio station 1 of upper monitoring end also will send to the pressure controller 10 of main pipe rail equipment and instrument about the pressure control data, control the hydraulic pressure that water pumps 12 are regulated main pipe rail 15 by frequency converter 11, the pressure transducer 13 that is connected on simultaneously on the main pipe rail 15 is sent to the upper monitoring end with the hydraulic pressure data by data radio station 9.

Claims (3)

1. oil well constant current water filling wireless remote control system, it is characterized in that, comprise the upper monitoring end, field instrument end and water injecting pipeline, water injecting pipeline comprises on-the-spot pipeline, main pipe rail and equipment thereof and instrument, the upper monitoring end comprises PLC and data radio station, PLC links to each other by data line with data radio station, the field instrument end comprises data radio station, flow controller, flowmeter and motorized valve, flowmeter is connected on the on-the-spot pipeline and by data line with motorized valve and links to each other with flow controller with data radio station, main pipe rail equipment and instrument comprise water pump, pressure controller, frequency converter, data radio station, pressure transducer, wherein water pump and pressure transducer are connected on the main pipe rail and by data line and data radio station, pressure controller links to each other with frequency converter.
2. according to a kind of oil well constant current water filling wireless remote control system of claim 1, it is characterized in that described field instrument end also comprises jaw opening sensor, jaw opening sensor links to each other with motorized valve.
3. according to a kind of oil well constant current water filling wireless remote control system of claim 1 or 2, it is characterized in that described upper monitoring end also comprises computing machine.
CNU200720171505XU 2007-12-11 2007-12-11 Wireless remote monitoring system for constant-current water injection of oil well Expired - Fee Related CN201138440Y (en)

Priority Applications (1)

Application Number Priority Date Filing Date Title
CNU200720171505XU CN201138440Y (en) 2007-12-11 2007-12-11 Wireless remote monitoring system for constant-current water injection of oil well

Applications Claiming Priority (1)

Application Number Priority Date Filing Date Title
CNU200720171505XU CN201138440Y (en) 2007-12-11 2007-12-11 Wireless remote monitoring system for constant-current water injection of oil well

Publications (1)

Publication Number Publication Date
CN201138440Y true CN201138440Y (en) 2008-10-22

Family

ID=40039123

Family Applications (1)

Application Number Title Priority Date Filing Date
CNU200720171505XU Expired - Fee Related CN201138440Y (en) 2007-12-11 2007-12-11 Wireless remote monitoring system for constant-current water injection of oil well

Country Status (1)

Country Link
CN (1) CN201138440Y (en)

Cited By (3)

* Cited by examiner, † Cited by third party
Publication number Priority date Publication date Assignee Title
CN102436237A (en) * 2011-11-02 2012-05-02 北京必创科技有限公司 Watering heat tracing control system and watering heat tracing control method
CN101739017B (en) * 2009-12-28 2012-07-18 上海交通大学 Control method of remote wireless control device of frequency converter
CN106444647A (en) * 2015-08-13 2017-02-22 中国石油天然气股份有限公司 Data Acquisition and Control System for Steam Flooding Production

Cited By (4)

* Cited by examiner, † Cited by third party
Publication number Priority date Publication date Assignee Title
CN101739017B (en) * 2009-12-28 2012-07-18 上海交通大学 Control method of remote wireless control device of frequency converter
CN102436237A (en) * 2011-11-02 2012-05-02 北京必创科技有限公司 Watering heat tracing control system and watering heat tracing control method
CN102436237B (en) * 2011-11-02 2014-12-10 北京必创科技有限公司 Watering heat tracing control method
CN106444647A (en) * 2015-08-13 2017-02-22 中国石油天然气股份有限公司 Data Acquisition and Control System for Steam Flooding Production

Similar Documents

Publication Publication Date Title
CN201730812U (en) Full automatic variable frequency control coal mine underground fracturing pump group
CN201513146U (en) Solar-powered integrated remote measuring and monitoring system
CN203394452U (en) A continuous auxiliary gas lift drainage gas recovery compression device
CN107780885A (en) Method and device for an intelligent switch well
CN201138440Y (en) Wireless remote monitoring system for constant-current water injection of oil well
CN201489358U (en) It is used in the intelligent control system device of oilfield mechanical production
CN202148890U (en) Device for producing pressure pulse at wellhead of water injection well
CN202073534U (en) Oil well pumping control system
CN201156191Y (en) Well Controller
CN101673093A (en) Intelligent variable frequency control system of oil extractor
CN203453028U (en) Energy-saving control system for air compressors
CN104818964A (en) Rodless oil production system with continuous nonmetal cable laying tube
CN212776825U (en) Gas collecting pipeline of intelligent wellhead of natural gas well
CN113107447B (en) Downhole porous section parallel dynamic fracturing system and construction method thereof
CN205012982U (en) Many wells formula intelligence water distribution metering device
CN202520290U (en) Water injection regulation and optimization control system
CN202417849U (en) Wellhead natural gas pressure-energy power generation system
CN204028688U (en) Oil well production remote data acquiring and transmission system
CN203783548U (en) Movable compressor gas lift
CN202331166U (en) Intelligent remote control monitoring device of water injection well
CN106638809A (en) Multi-path water supply control system of constant-pressure variable frequency pump
CN102287173B (en) Well mouth photo-electricity remote sensing self-control instilling system and method
CN213177257U (en) Intelligent heating pipeline for natural gas well
CN204024644U (en) Ground and underground equipment two-way communication inclinometer
CN212337245U (en) Oil well back pressure automatic control device

Legal Events

Date Code Title Description
C14 Grant of patent or utility model
GR01 Patent grant
C17 Cessation of patent right
CF01 Termination of patent right due to non-payment of annual fee

Granted publication date: 20081022

Termination date: 20111211