CN201105584Y - A new type of multifunctional ruler - Google Patents

A new type of multifunctional ruler Download PDF

Info

Publication number
CN201105584Y
CN201105584Y CNU2007200552017U CN200720055201U CN201105584Y CN 201105584 Y CN201105584 Y CN 201105584Y CN U2007200552017 U CNU2007200552017 U CN U2007200552017U CN 200720055201 U CN200720055201 U CN 200720055201U CN 201105584 Y CN201105584 Y CN 201105584Y
Authority
CN
China
Prior art keywords
ruler
protractor
hole
groove
utility
Prior art date
Legal status (The legal status is an assumption and is not a legal conclusion. Google has not performed a legal analysis and makes no representation as to the accuracy of the status listed.)
Expired - Fee Related
Application number
CNU2007200552017U
Other languages
Chinese (zh)
Inventor
梁佛南
Current Assignee (The listed assignees may be inaccurate. Google has not performed a legal analysis and makes no representation or warranty as to the accuracy of the list.)
Dongguan Zhidao Stationery Co Ltd
Original Assignee
Individual
Priority date (The priority date is an assumption and is not a legal conclusion. Google has not performed a legal analysis and makes no representation as to the accuracy of the date listed.)
Filing date
Publication date
Application filed by Individual filed Critical Individual
Priority to CNU2007200552017U priority Critical patent/CN201105584Y/en
Application granted granted Critical
Publication of CN201105584Y publication Critical patent/CN201105584Y/en
Anticipated expiration legal-status Critical
Expired - Fee Related legal-status Critical Current

Links

Images

Landscapes

  • Length-Measuring Instruments Using Mechanical Means (AREA)
  • Drawing Aids And Blackboards (AREA)

Abstract

The utility model relates to the technical field of stationery, in particular to a novel multifunctional ruler set. Including ruler and protractor, wherein: the protractor is of a hollow type, a cylindrical center shaft is arranged at the central point of the protractor, a through hole matched with the cylindrical center shaft is formed in the ruler, a through groove is further formed in the ruler, and a straight edge of the through groove is just located in the radial direction of the through hole. And a plurality of positioning round holes are also formed in the ruler. The positioning round holes are arranged on the same straight line in the radial direction of the through holes. The utility model discloses simple structure, multiple functional, it is also simple and convenient swift to use.

Description

一种新型多功能套尺 A new type of multifunctional ruler

技术领域:Technical field:

本实用新型涉及文具用品技术领域,特指一种新型多功能套尺。The utility model relates to the technical field of stationery, in particular to a novel multifunctional ruler.

背景技术:Background technique:

同学们在用量角器测量角度时,有时会遇到角度的边长较短的情况,须将边长延长超出量角器方可进行测量,否则很难准确测量角度;另一方面,当需要画某一角度的三角形或边长确定的角度时,也只能先画出角度,再用直尺来确定边长,因此比较繁琐。另外,画圆弧时,目前只能借助圆弧来画,遇到紧急突发情况(比如考试时圆规突然不见或者圆规的笔芯断了等等),容易影响情绪,导致发挥失常等。When students use a protractor to measure an angle, sometimes they encounter the situation that the side length of the angle is short, and the side length must be extended beyond the protractor to measure, otherwise it is difficult to measure the angle accurately; on the other hand, when it is necessary to draw a certain When the triangle of the angle or the angle determined by the side length, the angle can only be drawn first, and then the side length is determined with a ruler, so it is rather cumbersome. In addition, when drawing arcs, you can only use arcs to draw at present. In case of emergencies (such as the compasses suddenly disappearing during the exam or the refill of the compasses is broken, etc.), it is easy to affect the mood and lead to abnormal performance.

实用新型内容:Utility model content:

本实用新型的目的在于克服现有尺类的功能不全等不足之处,提供一种使用方便、功能全的多功能套尺。The purpose of the utility model is to overcome the shortcomings of existing rulers such as incomplete functions, and provide a multifunctional set of rulers that is easy to use and has complete functions.

本实用新型实现其目的采用的技术方案是:新型多功能套尺,包括直尺和量角器,其中:所述量角器为中空型,且量角器的中心点处设有圆柱形中轴,而于所述直尺上设有与所述圆柱型中轴相吻合之通孔,于该直尺上还开设有通槽,且通槽的一条直边恰好位于通孔的径向上。The technical solution adopted by the utility model to achieve its purpose is: a new multifunctional set of rulers, including a ruler and a protractor, wherein: the protractor is a hollow type, and the central point of the protractor is provided with a cylindrical central axis, and in the The straightedge is provided with a through hole coincident with the cylindrical central axis, and a through groove is also opened on the straightedge, and a straight side of the through groove is just positioned on the radial direction of the through hole.

所述直尺通槽的总长度大于量角器的外径。The total length of the straightedge through groove is greater than the outer diameter of the protractor.

所述直尺上还设有数个定位圆孔。所述定位圆孔排列于通孔径向的同一直线上。The ruler is also provided with several positioning circular holes. The positioning circular holes are arranged on the same straight line in the radial direction of the through holes.

所述直尺通槽的直边设有以所述通孔的中心为零刻度的刻度标线。The straight edge of the straightedge through groove is provided with a scale mark with the center of the through hole as the zero scale.

所述直尺上定位圆孔也设有以所述通孔的中心为零刻度的刻度。The positioning circular hole on the ruler is also provided with a scale with the center of the through hole as the zero scale.

本实用新型采用上述结构后,在使用本实用新型套尺时,将直尺通过其通孔套于量角器中心的圆柱形中轴使直尺可绕中轴自由旋转,①当用于测量角度时,先将量角器的中心点及一边与所测角度的顶点和一边对齐,然后旋转直尺,当直尺的通槽的直边与所测角度的另一边重合时,直边与量角器所对的刻度即为所测角度;②当用于画某一角度的三角形或特定边长的角度时,先画出一边,然后量角器对齐,然后旋转直尺至所需角度,因直尺通槽的直边上有刻度标线,可直接画出所需长度的线条;③当用于画弧线时,可将笔芯穿过定位圆孔然后旋转直尺从而画所需角度的弧线。After the utility model adopts the above-mentioned structure, when using the utility model set of rulers, the straightedge is placed on the cylindrical central axis of the protractor center through the through hole so that the straightedge can freely rotate around the central axis, ① when used to measure angles , first align the center point and one side of the protractor with the vertex and one side of the measured angle, and then rotate the straightedge. It is the measured angle; ② When used to draw a triangle with a certain angle or an angle with a specific side length, first draw one side, then align the protractor, and then rotate the ruler to the required angle, because the straight edge of the straightedge through the slot There are scale markings on it, which can directly draw the line of the required length; ③ When used to draw an arc, you can put the refill through the positioning hole and then rotate the ruler to draw the arc at the required angle.

附图说明:Description of drawings:

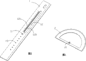
图1是本实用新型套尺量角器的立体图;Fig. 1 is the perspective view of the utility model sleeve ruler protractor;

图2是本实用新型套尺直尺的立体图;Fig. 2 is the perspective view of the utility model sleeve ruler ruler;

图3、图4是本实用新型组合使用时的示意图。Fig. 3 and Fig. 4 are schematic diagrams when the utility model is used in combination.

具体实施方式:Detailed ways:

下面结合附图对本实用新型进一步说明。Below in conjunction with accompanying drawing, the utility model is further described.

如图1、2所示,本实用新型包括直尺1和量角器2,均采用透明材料制作。其中所述量角器2为中空型,即中部形成半圆形空腔20,且量角器的中心点处设有圆柱形中轴21,而于所述直尺1上设有与所述圆柱型中轴21相吻合之通孔11,于该直尺1上还开设有通槽12,且通槽12的一条直边120恰好位于通孔的径向上。图中所示通槽12为分段式的,显然也可以是合为一条通槽式的。通槽12的总长度大于量角器2的外径。在直边120所在位置,设有以通孔11中心为零刻度的刻度标线121。在通孔11的另一侧,则设有数个定位圆孔13,定位圆孔13的排列在通孔11的径向直线上,且在该直线上可设置一标志线以与量角器2的刻度标线重合形成读数。定位圆孔13的内径与笔芯相当,且圆孔13的中心处也可设置以通孔11中心为零刻度的刻度标线(图中末示出),以便确定画弧半径。As shown in Fig. 1, 2, the utility model comprises ruler 1 and protractor 2, all adopts transparent material to make. Wherein said protractor 2 is a hollow type, that is, a semicircular cavity 20 is formed in the middle, and a cylindrical central axis 21 is provided at the central point of the protractor, and said straightedge 1 is provided with said cylindrical central axis. 21 coincides with the through hole 11, the ruler 1 is also provided with a through groove 12, and a straight edge 120 of the through groove 12 is just positioned on the radial direction of the through hole. The through groove 12 shown in the figure is segmented, and obviously also can be combined into a through groove type. The total length of the slot 12 is greater than the outer diameter of the protractor 2 . At the position where the straight edge 120 is located, there is a scale marking line 121 with the center of the through hole 11 as the zero scale. On the other side of the through hole 11, several positioning circular holes 13 are arranged. The positioning circular holes 13 are arranged on the radial straight line of the through hole 11, and a marking line can be set on the straight line to match the scale of the protractor 2. The marking lines coincide to form the reading. The inner diameter of positioning circular hole 13 is suitable with pen core, and the center of circular hole 13 also can be provided with the scale mark line (not shown in the figure) that the center of through hole 11 is zero scale, so that determine drawing arc radius.

使用本实用新型套尺时,将直尺1通过其通孔11套于量角器2中心的圆柱形中轴21使直尺1可绕中轴21自由旋转,①当用于测量角度时,先将量角器2的中心点及一边与所测角度的顶点和一边对齐,然后旋转直尺1,当直尺1的通槽12的直边120与所测角度的另一边重合时,直边120与量角器2所对的刻度即为所测角度(如图3所示);②当用于画某一角度的三角形或特定边长的角度时,先画出一边,然后量角器2对齐,然后旋转直尺1至所需角度,因直尺1通槽12的直边120上有刻度标线121,可直接画出所需长度的线条(如图3所示);③当用于画弧线时,可将笔芯穿过定位圆孔13然后旋转直尺从而画所需角度的弧线(如图4所示)。When using the utility model set of rulers, the straightedge 1 is placed on the cylindrical central axis 21 of the protractor 2 center through its through hole 11 so that the straightedge 1 can freely rotate around the central axis 21. ① When used for measuring angles, first put the The center point and one side of the protractor 2 are aligned with the vertex and one side of the measured angle, then the ruler 1 is rotated, and when the straight side 120 of the through groove 12 of the ruler 1 coincides with the other side of the measured angle, the straight side 120 is aligned with the protractor 2 The corresponding scale is the measured angle (as shown in Figure 3); ② When used to draw a triangle with a certain angle or an angle with a specific side length, first draw one side, then align the protractor 2, and then rotate the ruler 1 To the desired angle, because of the scale marks 121 on the straight edge 120 of the straight edge 1 through groove 12, the line (as shown in Figure 3) of required length can be directly drawn; 3. when being used for drawing arcs, can Pass the refill through the positioning circular hole 13 and then rotate the ruler to draw an arc at a desired angle (as shown in Figure 4).

综上所述,本实用新型结构简单、功能齐全,使用起来也简便快捷。In summary, the utility model has the advantages of simple structure, complete functions, and convenient and fast use.

Claims (6)

1. a Multifunction overlaps chi, comprise ruler (1) and protractor (2), it is characterized in that: described protractor (2) is a hollow type, and the central spot of protractor (2) is provided with cylindrical axis (21), and be provided with the through hole (11) that matches with described column type axis (21) in described ruler (1), on this ruler (1), also offer groove (12), and the footpath that a straight flange (120) of groove (12) is positioned at through hole (11) just upwards.
2. according to the described a kind of Multifunction cover chi of claim 1, it is characterized in that: the total length of described ruler (1) groove (12) is greater than the external diameter of protractor (2).
3. a kind of Multifunction cover chi according to claim 1 and 2, it is characterized in that: it is the scale graticule of zero graduation that the straight flange (120) of described ruler (1) groove (12) is provided with the center of described through hole (11).
4. a kind of Multifunction cover chi according to claim 1 is characterized in that: also be provided with several positioning round orifice (13) on the described ruler (1).
5. a kind of Multifunction cover chi according to claim 4, it is characterized in that: described positioning round orifice (13) is arranged on through hole (11) the same straight line radially.
6. a kind of Multifunction cover chi according to claim 4, it is characterized in that: the center that the last positioning round orifice (13) of described ruler (1) also is provided with described through hole (11) is the scale of zero graduation.
CNU2007200552017U 2007-08-03 2007-08-03 A new type of multifunctional ruler Expired - Fee Related CN201105584Y (en)

Priority Applications (1)

Application Number Priority Date Filing Date Title
CNU2007200552017U CN201105584Y (en) 2007-08-03 2007-08-03 A new type of multifunctional ruler

Applications Claiming Priority (1)

Application Number Priority Date Filing Date Title
CNU2007200552017U CN201105584Y (en) 2007-08-03 2007-08-03 A new type of multifunctional ruler

Publications (1)

Publication Number Publication Date
CN201105584Y true CN201105584Y (en) 2008-08-27

Family

ID=39957377

Family Applications (1)

Application Number Title Priority Date Filing Date
CNU2007200552017U Expired - Fee Related CN201105584Y (en) 2007-08-03 2007-08-03 A new type of multifunctional ruler

Country Status (1)

Country Link
CN (1) CN201105584Y (en)

Cited By (3)

* Cited by examiner, † Cited by third party
Publication number Priority date Publication date Assignee Title
CN103192634A (en) * 2013-04-07 2013-07-10 严红利 Rule
CN103660731A (en) * 2013-12-25 2014-03-26 李云帆 Multifunctional angle drawing device
CN112729040A (en) * 2021-01-19 2021-04-30 余光明 Angle ruler

Cited By (3)

* Cited by examiner, † Cited by third party
Publication number Priority date Publication date Assignee Title
CN103192634A (en) * 2013-04-07 2013-07-10 严红利 Rule
CN103660731A (en) * 2013-12-25 2014-03-26 李云帆 Multifunctional angle drawing device
CN112729040A (en) * 2021-01-19 2021-04-30 余光明 Angle ruler

Similar Documents

Publication Publication Date Title
CN102632749B (en) Drawing method of multifunctional combined drawing instrument
CN201105584Y (en) A new type of multifunctional ruler
CN202144164U (en) Straight ruler capable of measuring diameter
CN203713333U (en) Multifunctional mathematical teaching aid
CN211308060U (en) Folding multifunctional ruler
CN204820798U (en) Compasses
CN101284473A (en) A multifunctional drawing ruler
CN203995340U (en) Set square with calipers angle measurement device
CN203293760U (en) Pen capable of drawing straight lines and angles
CN201573431U (en) Multi-functional drawing rule for mathematics
CN209063770U (en) a compass
KR200450940Y1 (en) A multifunctional protractor with functions of ruler, compasses and protractor
CN201913960U (en) A combination angle ruler
CN202293902U (en) Multifunctional ruler
CN205112778U (en) Multi -functional protractor is used to mathematics
CN202439425U (en) Compasses ruler
CN204845272U (en) Demonstration of triangle -shaped cosine law and graphics primitive
CN201309341Y (en) Multifunctional angle-drawing protractor
CN206475644U (en) A kind of Portable type compasses
CN223258936U (en) Surveying and mapping ruler
CN2933900Y (en) Multifunctional folding ruler
CN202541123U (en) Multifunctional compasses
CN201849171U (en) Compasses with ruler
CN204136645U (en) Gauge chi
CN200967355Y (en) Multipurpose surveying and mapping calipers

Legal Events

Date Code Title Description
C14 Grant of patent or utility model
GR01 Patent grant
EE01 Entry into force of recordation of patent licensing contract

Assignee: Dongguan Zhidao Stationery Co., Ltd.

Assignor: Liang Fonan

Contract fulfillment period: 2008.10.20 to 2015.10.19

Contract record no.: 2009440001393

Denomination of utility model: Novel multifunctional ruler set

Granted publication date: 20080827

License type: Exclusive license

Record date: 20090904

LIC Patent licence contract for exploitation submitted for record

Free format text: EXCLUSIVE LICENSE; TIME LIMIT OF IMPLEMENTING CONTACT: 2008.10.20 TO 2015.10.19; CHANGE OF CONTRACT

Name of requester: DONGGUAN CITY ZHIGAO STATIONERY CO., LTD.

Effective date: 20090904

ASS Succession or assignment of patent right

Owner name: DONGGUAN ZHIDAO STATIONERY CO., LTD.

Free format text: FORMER OWNER: LIANG FONAN

Effective date: 20130725

C41 Transfer of patent application or patent right or utility model
COR Change of bibliographic data

Free format text: CORRECT: ADDRESS; FROM: 523000 DONGGUAN, GUANGDONG PROVINCE TO: 523290 DONGGUAN, GUANGDONG PROVINCE

TR01 Transfer of patent right

Effective date of registration: 20130725

Address after: Guangdong Zhenhua 523290 city of Dongguan province Shijie town orange Chau Industrial Zone Third Road No. 6

Patentee after: Dongguan Zhidao Stationery Co., Ltd.

Address before: 523000 Guangdong city of Dongguan province East Lake City Garden 4 6E

Patentee before: Liang Fonan

CF01 Termination of patent right due to non-payment of annual fee

Granted publication date: 20080827

Termination date: 20150803

EXPY Termination of patent right or utility model