CN201080472Y - Water-gas producer - Google Patents
Water-gas producer Download PDFInfo
- Publication number
- CN201080472Y CN201080472Y CNU2007200260019U CN200720026001U CN201080472Y CN 201080472 Y CN201080472 Y CN 201080472Y CN U2007200260019 U CNU2007200260019 U CN U2007200260019U CN 200720026001 U CN200720026001 U CN 200720026001U CN 201080472 Y CN201080472 Y CN 201080472Y
- Authority
- CN
- China
- Prior art keywords
- water
- vapourizing furnace
- coal
- furnace
- burner
- Prior art date
- Legal status (The legal status is an assumption and is not a legal conclusion. Google has not performed a legal analysis and makes no representation as to the accuracy of the status listed.)
- Expired - Fee Related
Links
- 239000007789 gas Substances 0.000 claims abstract description 33
- XLYOFNOQVPJJNP-UHFFFAOYSA-N water Substances O XLYOFNOQVPJJNP-UHFFFAOYSA-N 0.000 claims abstract description 29
- 239000003245 coal Substances 0.000 claims abstract description 28
- 238000002485 combustion reaction Methods 0.000 claims abstract description 22
- 239000002918 waste heat Substances 0.000 claims abstract description 21
- 239000002893 slag Substances 0.000 claims abstract description 14
- 238000005553 drilling Methods 0.000 claims description 12
- 238000002309 gasification Methods 0.000 claims description 9
- 230000006837 decompression Effects 0.000 claims description 7
- 230000007246 mechanism Effects 0.000 claims description 7
- 230000002093 peripheral effect Effects 0.000 claims description 3
- 238000005422 blasting Methods 0.000 claims 3
- 244000126211 Hericium coralloides Species 0.000 claims 2
- 238000011084 recovery Methods 0.000 abstract description 9
- 239000000428 dust Substances 0.000 abstract description 4
- UGFAIRIUMAVXCW-UHFFFAOYSA-N Carbon monoxide Chemical compound [O+]#[C-] UGFAIRIUMAVXCW-UHFFFAOYSA-N 0.000 abstract description 3
- UCKMPCXJQFINFW-UHFFFAOYSA-N Sulphide Chemical compound [S-2] UCKMPCXJQFINFW-UHFFFAOYSA-N 0.000 abstract description 3
- 229910002091 carbon monoxide Inorganic materials 0.000 abstract description 3
- 239000000779 smoke Substances 0.000 abstract description 3
- 238000005516 engineering process Methods 0.000 abstract 1
- 238000010586 diagram Methods 0.000 description 8
- 230000003068 static effect Effects 0.000 description 5
- 239000002817 coal dust Substances 0.000 description 3
- 238000004880 explosion Methods 0.000 description 3
- 238000000034 method Methods 0.000 description 3
- 238000009792 diffusion process Methods 0.000 description 2
- 238000004519 manufacturing process Methods 0.000 description 2
- 239000000463 material Substances 0.000 description 2
- 230000008569 process Effects 0.000 description 2
- 230000001105 regulatory effect Effects 0.000 description 2
- 238000003892 spreading Methods 0.000 description 2
- 230000007480 spreading Effects 0.000 description 2
- 230000032258 transport Effects 0.000 description 2
- 229910000831 Steel Inorganic materials 0.000 description 1
- 238000006243 chemical reaction Methods 0.000 description 1
- 238000001816 cooling Methods 0.000 description 1
- 239000000498 cooling water Substances 0.000 description 1
- 230000007547 defect Effects 0.000 description 1
- 238000009826 distribution Methods 0.000 description 1
- 230000000694 effects Effects 0.000 description 1
- 230000007613 environmental effect Effects 0.000 description 1
- 238000003912 environmental pollution Methods 0.000 description 1
- 238000005242 forging Methods 0.000 description 1
- 239000000446 fuel Substances 0.000 description 1
- 230000006872 improvement Effects 0.000 description 1
- 229910052751 metal Inorganic materials 0.000 description 1
- 239000002184 metal Substances 0.000 description 1
- 230000000149 penetrating effect Effects 0.000 description 1
- 238000010008 shearing Methods 0.000 description 1
- 239000010959 steel Substances 0.000 description 1
- 239000002699 waste material Substances 0.000 description 1
Images
Classifications
-
- Y—GENERAL TAGGING OF NEW TECHNOLOGICAL DEVELOPMENTS; GENERAL TAGGING OF CROSS-SECTIONAL TECHNOLOGIES SPANNING OVER SEVERAL SECTIONS OF THE IPC; TECHNICAL SUBJECTS COVERED BY FORMER USPC CROSS-REFERENCE ART COLLECTIONS [XRACs] AND DIGESTS
- Y02—TECHNOLOGIES OR APPLICATIONS FOR MITIGATION OR ADAPTATION AGAINST CLIMATE CHANGE
- Y02P—CLIMATE CHANGE MITIGATION TECHNOLOGIES IN THE PRODUCTION OR PROCESSING OF GOODS
- Y02P20/00—Technologies relating to chemical industry
- Y02P20/10—Process efficiency
-
- Y—GENERAL TAGGING OF NEW TECHNOLOGICAL DEVELOPMENTS; GENERAL TAGGING OF CROSS-SECTIONAL TECHNOLOGIES SPANNING OVER SEVERAL SECTIONS OF THE IPC; TECHNICAL SUBJECTS COVERED BY FORMER USPC CROSS-REFERENCE ART COLLECTIONS [XRACs] AND DIGESTS
- Y02—TECHNOLOGIES OR APPLICATIONS FOR MITIGATION OR ADAPTATION AGAINST CLIMATE CHANGE
- Y02P—CLIMATE CHANGE MITIGATION TECHNOLOGIES IN THE PRODUCTION OR PROCESSING OF GOODS
- Y02P20/00—Technologies relating to chemical industry
- Y02P20/10—Process efficiency
- Y02P20/129—Energy recovery, e.g. by cogeneration, H2recovery or pressure recovery turbines
Landscapes
- Muffle Furnaces And Rotary Kilns (AREA)
Abstract
水煤气发生器,属炉窑技术类,由气化炉和燃烧炉等组成,其特征在于还包括安全阀、水封式加煤容器、水冷式烧嘴、无动力排渣炉篦、余热回收器和热风调温器,本实用新型使得煤炭燃烧充分,节约能源,粉尘和烟尘以及一氧化碳、硫化物等有害气体排放大大的减少,且燃烧炉温度可控,炉温可达1600℃,实为一种节能环保型的产品。
The water gas generator belongs to the kiln technology category. It is composed of a gasifier and a combustion furnace. It is characterized in that it also includes a safety valve, a water-sealed coal charging container, a water-cooled burner, a non-powered slag discharge grate, and a waste heat recovery device. And the hot air thermostat, the utility model makes the coal burn fully, saves energy, greatly reduces the emission of dust and smoke, carbon monoxide, sulfide and other harmful gases, and the temperature of the combustion furnace can be controlled, and the furnace temperature can reach 1600 ° C, which is actually a kind of energy saving Environmentally friendly products.
Description
技术领域 technical field
本实用新型涉及一种水煤气发生器,属炉窑技术类。The utility model relates to a water gas generator, which belongs to the technical category of furnaces and kilns.
背景技术 Background technique
我国是煤炭大国,小工厂企业炉窑多数使用煤炭作燃料,如小型锻造厂中的烧铁炉即属此列。通常情况下煤炭直接燃烧会产生大量的粉尘和烟尘,另外还伴随有一氧化碳、硫化物等有害气体排入空间,这对环境造成极大的污染,更重要的是煤炭直燃热效率低,严重浪费能源,故而促使人们改用水煤气发生器。水煤气发生器比较直燃式炉有了很大的改进,但由于炉体结构及相关的炉具部件不尽合理使得煤炭的气化转换不完全,热效率还不太高,有极大的改进空间,特别是小型水煤气发生器供气燃烧温度不高,如炉径一米以下水煤气发生器供气燃烧的烧铁炉温度不足1000度,故节煤效果不显著,也存在排放不达标和环境污染问题。my country is a big coal country, and most of the kilns in small factories and enterprises use coal as fuel, such as the iron-burning furnaces in small forging factories. Usually, the direct combustion of coal will produce a large amount of dust and smoke, and in addition, harmful gases such as carbon monoxide and sulfide will be discharged into the space, which will cause great pollution to the environment. More importantly, the thermal efficiency of direct coal combustion is low and serious waste energy, thus prompting people to switch to water gas generators. Compared with the direct-fired furnace, the water gas generator has been greatly improved, but due to the unreasonable structure of the furnace body and related furnace components, the gasification conversion of coal is not complete, and the thermal efficiency is not too high, so there is great room for improvement. , especially for small water gas generators, the gas supply combustion temperature is not high. For example, the temperature of the iron-burning furnace for water gas generator gas supply combustion with a furnace diameter of less than one meter is less than 1000 degrees, so the effect of saving coal is not significant, and there are also emissions that do not meet standards and environmental pollution. question.
发明内容 Contents of the invention
为克服现有技术的缺陷,本实用新型提供一种设计合理、节能环保的水煤气发生器。In order to overcome the defects of the prior art, the utility model provides a water gas generator with reasonable design, energy saving and environmental protection.
一种水煤气发生器,由气化炉、燃烧炉、上料机构、加煤容器、打钎孔、煤气出口、炉篦、风机、出渣口和减压制气箱组成,气化炉为套筒状,套筒加层中是水,水通过小孔和气化炉侧的减压制气箱相连通;加煤容器位于气化炉的顶端中心部位,可容纳由上料机构输送来的煤炭并将其加入到气化炉中;打钎孔位于气化炉的顶端外围部位,出渣口位于气化炉的中下部位,气化炉内位于出渣口下面是炉篦,风机位于气化炉的炉篦下部外侧,为气化炉提供空气及水蒸气;水煤气由气化炉侧上方的煤气出口输出接到燃烧炉内的烧嘴上,其特征在于打钎孔为圆筒状,上面加有安全阀,以防止气化炉因操作不当而导致回火爆炸出现危险;加煤容器为水封式结构,可防止加煤过程中的煤炭粉尘扩散;烧嘴为水冷式烧嘴,使得烧嘴能耐高温;炉篦是无动力排渣炉篦,由动静篦齿交错排列而成,动篦齿平行的固定在转轴上,转轴一端伸出气化炉外和旋转手柄相连接;燃烧炉前后出口处上方固定有余热回收器,余热回收器将收集有余热的热风输送到热风调温器,热风调温器固定在水冷式烧嘴上,可调节燃烧炉的燃烧温度。A water gas generator, which consists of a gasifier, a combustion furnace, a feeding mechanism, a coal feeding container, a drilling hole, a gas outlet, a grate, a fan, a slag outlet, and a decompression gas box. The gasifier is a set Cylindrical, with water in the sleeve layer, the water communicates with the decompression gas box on the side of the gasifier through small holes; the coal charging container is located at the top center of the gasifier, and can accommodate the coal delivered by the feeding mechanism and add it into the gasifier; the drilling hole is located at the top peripheral part of the gasifier, the slag outlet is located at the middle and lower part of the gasifier, the grate is located below the slag outlet in the gasifier, and the fan is located at the gasifier. The outside of the lower part of the furnace grate provides air and water vapor for the gasification furnace; the water gas is output from the gas outlet on the upper side of the gasification furnace to the burner in the combustion furnace. It is characterized in that the drilling hole is cylindrical. There is a safety valve on it to prevent the danger of backfire explosion caused by improper operation of the gasifier; the coal charging container is a water-sealed structure, which can prevent the coal dust from spreading during the coal charging process; the burner is a water-cooled burner, The burner can withstand high temperature; the grate is a non-powered slagging grate, which is composed of moving and static grate teeth, which are fixed in parallel on the rotating shaft, and one end of the rotating shaft extends out of the gasifier and connects with the rotating handle; the combustion furnace A waste heat recovery device is fixed above the front and rear outlets, and the waste heat recovery device transports the hot air collected with waste heat to the hot air thermostat, which is fixed on the water-cooled burner to adjust the combustion temperature of the combustion furnace.
本实用新型由于带有安全阀,避免了热量及有效气体的损失和粉尘的扩散,解决了气化炉因操作不当而导致回火爆炸的问题,避免发生危险;水封式结构的加煤容器可防止煤炭粉尘的扩散,且使得加入气化炉内的煤炭分布均匀;水冷式烧嘴可使烧嘴长期在高温下正常工作而不会损坏,如普通烧嘴只能使用一到三个月,水冷式烧嘴可使用十年;无动力排渣炉篦不使用动力,故可节约能源,且排渣顺畅方便;余热回收器和热风调温器的使用使得燃烧炉的余热得到有效地回收,通过热风调温器可调节燃烧炉的燃烧温度。Because the utility model has a safety valve, it avoids the loss of heat and effective gas and the diffusion of dust, solves the problem of backfire explosion caused by improper operation of the gasifier, and avoids danger; the coal charging container with water-sealed structure It can prevent the diffusion of coal dust and make the coal distribution in the gasifier even; the water-cooled burner can make the burner work normally at high temperature for a long time without damage. For example, ordinary burners can only be used for one to three months. , the water-cooled burner can be used for ten years; the unpowered slag discharge grate does not use power, so it can save energy, and the slag discharge is smooth and convenient; the use of waste heat recovery device and hot air thermostat can effectively recover the waste heat of the combustion furnace , the combustion temperature of the combustion furnace can be adjusted through the hot air thermostat.
本实用新型设计新颖,煤炭燃烧充分,节约能源,粉尘和烟尘以及一氧化碳、硫化物等有害气体排放大大的减少,且燃烧炉温度可控,实为一种节能环保型的产品。尤其是直径尺寸一米之下的小型水煤气发生器燃烧温度可达1600℃。The utility model is novel in design, fully burns coal, saves energy, greatly reduces the emission of harmful gases such as dust and smoke, carbon monoxide and sulfide, and the temperature of the combustion furnace is controllable. It is an energy-saving and environment-friendly product. In particular, the combustion temperature of a small water gas generator with a diameter of less than one meter can reach 1600°C.
附图说明 Description of drawings
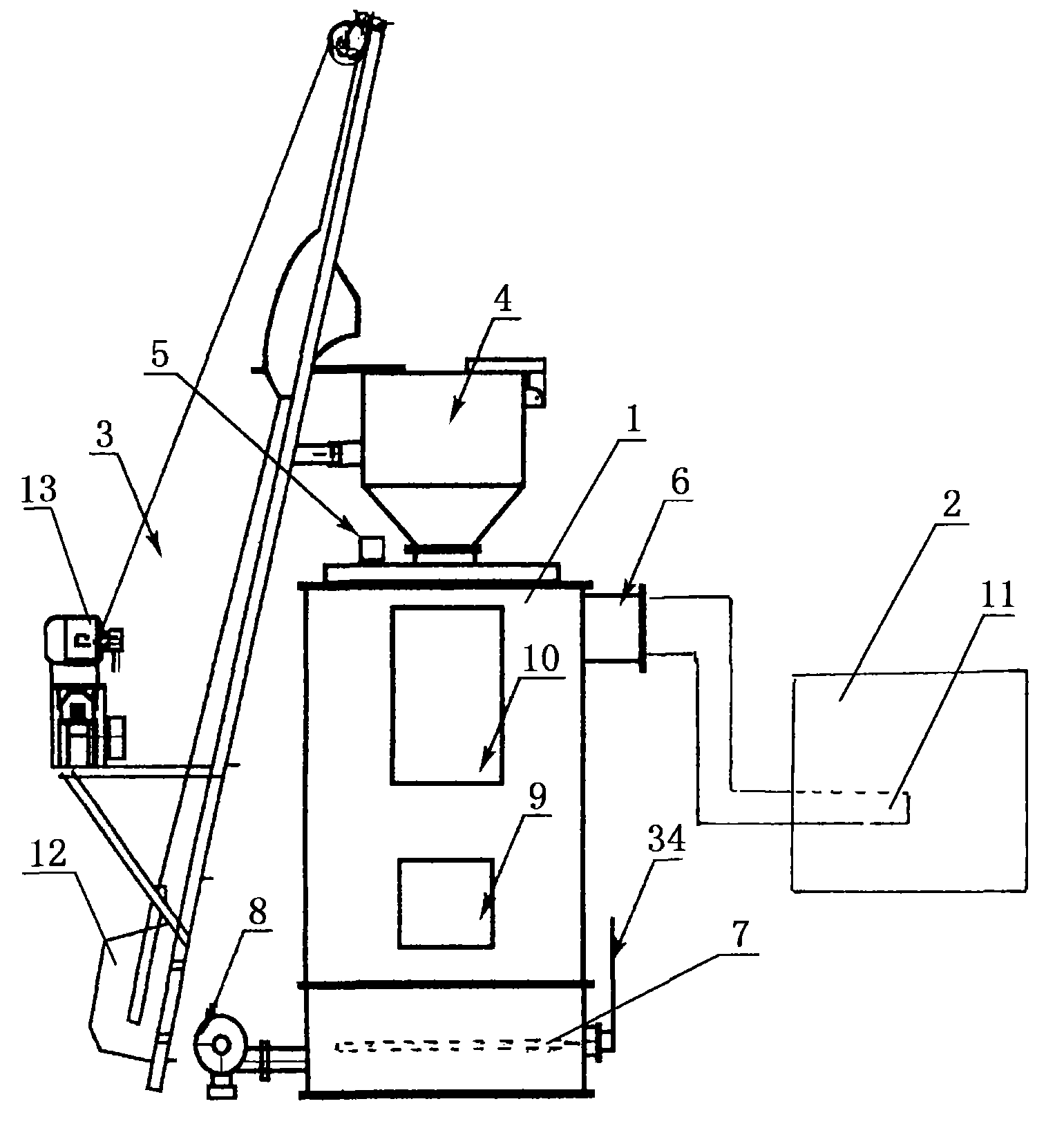
图1是本实用新型示意图。Fig. 1 is a schematic diagram of the utility model.
其中:1、气化炉,2、燃烧炉,3、上料机构,4、加煤容器,5、打钎孔,6、煤气出口,7、炉篦,8、风机,9、出渣口,10、减压制气箱,11、烧嘴,12、送料桶,13、电机。Among them: 1. Gasifier, 2. Combustion furnace, 3. Feeding mechanism, 4. Coal feeding container, 5. Drilling holes, 6. Gas outlet, 7. Grate, 8. Fan, 9. Slag outlet , 10, decompression gas box, 11, burner, 12, feeding barrel, 13, motor.
图2是本实用新型安全阀示意图。Fig. 2 is a schematic diagram of the utility model safety valve.
其中:14、圆盖,15、内圈,16、外圈,17、环形沟槽。Wherein: 14, round cover, 15, inner ring, 16, outer ring, 17, annular groove.
图3是本实用新型水冷式烧嘴示意图。Fig. 3 is a schematic diagram of the water-cooled burner of the present invention.
其中:18、进气管,19、出气管,20、封闭腔,21、进水管,22、出水管,23、水。Wherein: 18, air intake pipe, 19, air outlet pipe, 20, closed cavity, 21, water inlet pipe, 22, water outlet pipe, 23, water.
图4是本实用新型水封式加煤容器示意图。Fig. 4 is a schematic diagram of a water-sealed coaling container of the present invention.
其中:24、加煤斗,25、加煤斗盖,26、料阀,27、水封槽,28、转动轴,29、圆环形挡板,30、水平挡板。Wherein: 24, coaling hopper, 25, coaling hopper cover, 26, material valve, 27, water seal tank, 28, rotating shaft, 29, annular baffle, 30, horizontal baffle.
图5是本实用新型无动力排渣炉篦示意图。Fig. 5 is a schematic diagram of the non-powered slagging grate of the utility model.
其中:31、静篦齿,32、动篦齿,33、转轴,34、旋转手柄,35、炉篦。Wherein: 31, static grate teeth, 32, movable grate teeth, 33, rotating shaft, 34, rotary handle, 35, fire grate.
图6是本实用新型余热回收器示意图。Fig. 6 is a schematic diagram of the waste heat recovery device of the present invention.
其中:36、封闭体,37、贯穿直圆孔洞,38、进风口,39、出风口。Wherein: 36, closed body, 37, run through the straight circular hole, 38, air inlet, 39, air outlet.
图7是本实用新型热风调温器示意图。Fig. 7 is a schematic diagram of the hot air thermostat of the present invention.
其中:40、余热进气管,41、余热输送管,42、调节阀,43、出气管,44、封闭腔,45、水。Wherein: 40, waste heat intake pipe, 41, waste heat delivery pipe, 42, regulating valve, 43, air outlet pipe, 44, closed cavity, 45, water.
具体实施方式 Detailed ways
实施例:Example:
本实用新型实施例如上述图示所示,由气化炉1、燃烧炉2、上料机构3、加煤容器4、打钎孔5、煤气出口6、炉篦7、风机8、出渣口9和减压制气箱10组成,气化炉1为套筒状,套筒加层中是水,水通过小孔和气化炉1侧的减压制气箱10相连通;加煤容器4位于气化炉1的顶端中心部位,可容纳由上料机构3输送来的煤炭并将其加入到气化炉1中;打钎孔5位于气化炉1的顶端外围部位,出渣口9位于气化炉1的中下部位,气化炉1内位于出渣口9下面是炉篦7,风机8位于气化炉1的炉篦7下部外侧,为气化炉1提供空气及水蒸气;水煤气由气化炉1侧上方的煤气出口6输出接到燃烧炉2内的烧嘴11上,其特征在于打钎孔5为圆筒状,上面加有安全阀,以防止气化炉1因操作不当而导致回火爆炸出现危险;加煤容器4为水封式结构,可防止加煤过程中的煤炭粉尘扩散;烧嘴11为水冷式烧嘴,使得烧嘴11能耐高温;炉篦7是无动力排渣炉篦,由动静篦齿32、31交错排列而成,动篦齿32平行的固定在转轴33上,转轴33一端伸出气化炉1外和旋转手柄34相连接;燃烧炉2前后出口处上方固定有余热回收器,余热回收器将收集有余热的热风输送到热风调温器,热风调温器固定在水冷式烧嘴上,可增加并调节燃烧炉的燃烧温度。The embodiment of the utility model is shown in the above diagram, consisting of a gasification furnace 1, a combustion furnace 2, a feeding mechanism 3, a coal feeding container 4, a drilling hole 5, a gas outlet 6, a grate 7, a blower fan 8, and a slag outlet 9 and a decompression gas production box 10, the gasifier 1 is in the shape of a sleeve, and the sleeve is filled with water, and the water communicates with the decompression gas production box 10 on the side of the gasification furnace 1 through small holes; the coal charging container 4 Located at the center of the top of the gasifier 1, it can accommodate the coal transported by the feeding mechanism 3 and add it to the gasifier 1; the drilling hole 5 is located at the peripheral part of the top of the gasifier 1, and the slag outlet 9 Located in the middle and lower part of the gasifier 1, the grate 7 is located below the slag outlet 9 in the gasifier 1, and the fan 8 is located outside the lower part of the grate 7 of the gasifier 1 to provide air and water vapor for the gasifier 1 The water gas is output by the gas outlet 6 on the upper side of the gasification furnace 1 and connected to the burner 11 in the combustion furnace 2. It is characterized in that the drilling hole 5 is cylindrical, and a safety valve is added on it to prevent the gasification furnace 1 from burning. Due to improper operation, there is a danger of backfire explosion; the coal charging container 4 is a water-sealed structure, which can prevent the coal dust from spreading during the coal charging process; the burner 11 is a water-cooled burner, so that the burner 11 can withstand high temperature; the grate 7 is a non-powered slagging grate, which is formed by staggered arrangement of dynamic and
安全阀如图2所示,由金属制成的圆盖14,圆盖14上带有内圈15,和圆盖14外圈16之间形成环形沟槽17,安全阀放置在圆筒状打钎孔5上,环形沟槽17和打钎孔5相扣合。As shown in Figure 2, the safety valve has a round cover 14 made of metal, with an inner ring 15 on the round cover 14, and an annular groove 17 is formed between the outer ring 16 of the round cover 14, and the safety valve is placed in a cylindrical hole. On the drilling hole 5, the annular groove 17 is engaged with the drilling hole 5.
水冷式烧嘴如图3所示,由进气管18和出气管19组成,出气管19后端封闭,前端开口,其后端侧面和进气管18相连通,其特征在于出气管19前端周边带有一圈封闭腔20,封闭腔20上带有进水管21和出水管22,冷却水由进水管21流进封闭腔20内,对出气管19进行冷却后,携带热量经出水管22流出。As shown in Figure 3, the water-cooled burner is composed of an
水封式加煤容器如图4所示,由加煤斗24、加煤斗盖25和位于加煤斗24底部的料阀26等组成,加煤斗24上边缘外部设置有水封槽27,加煤斗盖25一端通过转动轴28连接在加煤斗24的侧壁上,其对应端是水平挡板30,加煤斗盖25下部设置有与水封槽形状、位置相适配的圆环形挡板29。As shown in Figure 4, the water-sealed coaling container is composed of a
无动力排渣炉篦如图5所示,由动静篦齿32、31交错排列而成,动篦齿32平行的固定在转轴33上,转轴33一端伸出气化炉1外和旋转手柄34相连接,通过人工在气化炉1外转动旋转手柄34从而带动动篦齿32转动,使得动、静篦齿32和31之间完成剪切运动,以达到排渣目的。As shown in Figure 5, the non-powered slagging grate is composed of dynamic and
余热回收器如图6所示,它是由钢板制成的圆柱形封闭体36,封闭体36两端直径大于其中间部位,封闭体36中间延圆柱方向带有规则排列的7个贯穿直圆孔洞37,封闭体36两端带有进风口38和出风口39。As shown in Figure 6, the waste heat recovery device is a cylindrical
热风调温器如图7所示,它是由余热进气管40,两路余热输送管41组成,余热进气管40一端同余热回收器的出风口39相连通,另一端连通两路余热输送管41,两路余热输送管41上带有调节阀42,两路余热输送管41输出端连接在烧嘴的出气管前端开口处。The hot air thermostat is shown in Figure 7. It is composed of a waste
Claims (1)
Priority Applications (1)
| Application Number | Priority Date | Filing Date | Title |
|---|---|---|---|
| CNU2007200260019U CN201080472Y (en) | 2007-07-31 | 2007-07-31 | Water-gas producer |
Applications Claiming Priority (1)
| Application Number | Priority Date | Filing Date | Title |
|---|---|---|---|
| CNU2007200260019U CN201080472Y (en) | 2007-07-31 | 2007-07-31 | Water-gas producer |
Publications (1)
| Publication Number | Publication Date |
|---|---|
| CN201080472Y true CN201080472Y (en) | 2008-07-02 |
Family
ID=39614151
Family Applications (1)
| Application Number | Title | Priority Date | Filing Date |
|---|---|---|---|
| CNU2007200260019U Expired - Fee Related CN201080472Y (en) | 2007-07-31 | 2007-07-31 | Water-gas producer |
Country Status (1)
| Country | Link |
|---|---|
| CN (1) | CN201080472Y (en) |
Cited By (5)
| Publication number | Priority date | Publication date | Assignee | Title |
|---|---|---|---|---|
| CN102504870A (en) * | 2011-11-11 | 2012-06-20 | 无锡市莱达热工工程有限公司 | Furnace body assembly of coal gas producer |
| CN104165354A (en) * | 2014-06-09 | 2014-11-26 | 章云 | Coal combusting furnace |
| CN104964554A (en) * | 2015-06-08 | 2015-10-07 | 江苏鸿浩盛世环保设备有限公司 | Energy-saving system for drying non-woven drying oven and application method thereof |
| CN106381172A (en) * | 2016-10-21 | 2017-02-08 | 西安建筑科技大学 | Electric-control-heating circulating-water-cooling coal gas generating and collecting device |
| CN109110730A (en) * | 2018-09-11 | 2019-01-01 | 浙江工业职业技术学院 | Power device for making for new-energy automobile |
-
2007
- 2007-07-31 CN CNU2007200260019U patent/CN201080472Y/en not_active Expired - Fee Related
Cited By (5)
| Publication number | Priority date | Publication date | Assignee | Title |
|---|---|---|---|---|
| CN102504870A (en) * | 2011-11-11 | 2012-06-20 | 无锡市莱达热工工程有限公司 | Furnace body assembly of coal gas producer |
| CN104165354A (en) * | 2014-06-09 | 2014-11-26 | 章云 | Coal combusting furnace |
| CN104964554A (en) * | 2015-06-08 | 2015-10-07 | 江苏鸿浩盛世环保设备有限公司 | Energy-saving system for drying non-woven drying oven and application method thereof |
| CN106381172A (en) * | 2016-10-21 | 2017-02-08 | 西安建筑科技大学 | Electric-control-heating circulating-water-cooling coal gas generating and collecting device |
| CN109110730A (en) * | 2018-09-11 | 2019-01-01 | 浙江工业职业技术学院 | Power device for making for new-energy automobile |
Similar Documents
| Publication | Publication Date | Title |
|---|---|---|
| CN208804681U (en) | A kind of refuse pyrolysis gasification furnace sealing is into charging device | |
| CN204648254U (en) | Residents in rural community CIU | |
| CN102901104A (en) | Upright garbage incinerator | |
| CN102345862B (en) | Biomass particle combustion device and combustion method thereof | |
| CN102168853A (en) | Three-dimensional hierarchical air supply combined waste incinerator | |
| CN201080472Y (en) | Water-gas producer | |
| CN106322439A (en) | Normal-pressure smoke-free environment-friendly combustion furnace | |
| CN2503361Y (en) | Rotary furnace bed garbage gasification incineration device | |
| CN204593362U (en) | A kind of biomass particle burning machine | |
| CN203298289U (en) | Double-furnace biomass ultrahigh temperature burner | |
| CN107062206A (en) | Direct combustion system and its application occur for biological fuel gas | |
| CN202494117U (en) | Paratactic type half gasification household garbage digestion furnace | |
| CN114321930A (en) | A harmless integrated treatment device for hazardous waste | |
| CN108467738A (en) | Solid waste medium temperature pyrocrack furnace | |
| CN109724087A (en) | An integrated system for flue gas treatment of domestic waste incineration | |
| CN203273948U (en) | Biomass energy-saving furnace | |
| CN204880093U (en) | Combustor of high -efficient gasification burning of living beings crushed aggregates | |
| CN105066184B (en) | Biomass particle gasification stove | |
| CN202274491U (en) | Vertical-type garbage incinerator | |
| CN108130131A (en) | A kind of biomass pyrogenation gasification cooking stove | |
| CN206617929U (en) | Energy-conserving and environment-protective biomass boiler | |
| CN102393069B (en) | A gas-solid mixed combustion hot blast stove with double towers and double furnaces | |
| CN208562232U (en) | Solid waste medium temperature pyrocrack furnace | |
| CN208804680U (en) | A kind of external airway device of refuse pyrolysis gasification furnace | |
| CN206430130U (en) | A kind of low-energy-consumptienvironment-friendlyhigh-precision environment-friendlyhigh-precision refuse treatment plant |
Legal Events
| Date | Code | Title | Description |
|---|---|---|---|
| C14 | Grant of patent or utility model | ||
| GR01 | Patent grant | ||
| C17 | Cessation of patent right | ||
| CF01 | Termination of patent right due to non-payment of annual fee |
Granted publication date: 20080702 Termination date: 20130731 |
