CN201012076Y - Cleaning tool combined base of collodion mop - Google Patents
Cleaning tool combined base of collodion mop Download PDFInfo
- Publication number
- CN201012076Y CN201012076Y CNU2007200007449U CN200720000744U CN201012076Y CN 201012076 Y CN201012076 Y CN 201012076Y CN U2007200007449 U CNU2007200007449 U CN U2007200007449U CN 200720000744 U CN200720000744 U CN 200720000744U CN 201012076 Y CN201012076 Y CN 201012076Y
- Authority
- CN
- China
- Prior art keywords
- burnisher
- joint portion
- collodion mop
- cleaning tool
- groove
- Prior art date
- Legal status (The legal status is an assumption and is not a legal conclusion. Google has not performed a legal analysis and makes no representation as to the accuracy of the status listed.)
- Expired - Fee Related
Links
- 238000004140 cleaning Methods 0.000 title abstract description 37
- 238000007790 scraping Methods 0.000 claims description 3
- 241000278713 Theora Species 0.000 claims 1
- 239000011324 bead Substances 0.000 description 16
- 230000008878 coupling Effects 0.000 description 11
- 238000010168 coupling process Methods 0.000 description 11
- 238000005859 coupling reaction Methods 0.000 description 11
- 238000010586 diagram Methods 0.000 description 4
- XLYOFNOQVPJJNP-UHFFFAOYSA-N water Substances O XLYOFNOQVPJJNP-UHFFFAOYSA-N 0.000 description 4
- 239000006260 foam Substances 0.000 description 3
- 238000000034 method Methods 0.000 description 3
- 230000007547 defect Effects 0.000 description 1
- 230000000694 effects Effects 0.000 description 1
- 238000005516 engineering process Methods 0.000 description 1
- 239000000463 material Substances 0.000 description 1
- 230000002093 peripheral effect Effects 0.000 description 1
- 235000021110 pickles Nutrition 0.000 description 1
- 239000004033 plastic Substances 0.000 description 1
- 230000001360 synchronised effect Effects 0.000 description 1
Images
Landscapes
- Cleaning Implements For Floors, Carpets, Furniture, Walls, And The Like (AREA)
Abstract
一种胶绵拖把的清洁工具结合座,用以结合于同侧具有一第一压条及一第二压条的胶绵拖把上;该胶绵拖把的清洁工具结合座,具有一第一结合部及一第二结合部,该第一结合部与一清洁工具结合,该第二结合部具有二片体,分别连接于该第一结合部的二端上,且该各片体相互对称位置的端缘上并分别形成有一第一卡槽及一第二卡槽,以由该第一卡槽勾扣于该第一压条上而由该第二卡槽勾扣于该第二压条上,使该清洁工具能间接地连接于该胶绵拖把上。
A cleaning tool combination seat for a sponge mop is used to be combined with a sponge mop having a first pressure strip and a second pressure strip on the same side; the cleaning tool combination seat for the sponge mop has a first combination portion and a second combination portion, the first combination portion is combined with a cleaning tool, the second combination portion has two plates, which are respectively connected to the two ends of the first combination portion, and the end edges of the plates at mutually symmetrical positions are respectively formed with a first clamping groove and a second clamping groove, so that the first clamping groove is hooked on the first pressure strip and the second clamping groove is hooked on the second pressure strip, so that the cleaning tool can be indirectly connected to the sponge mop.
Description
技术领域 technical field
本实用新型与胶绵拖把有关,特别是指一种胶绵拖把的清洁工具结合座。The utility model relates to a rubber mop, in particular to a cleaning tool combination seat of a rubber mop.
背景技术 Background technique
按,一般于进行室内、外地板清洁时,会先以一刷子刷过较脏的污渍后再以一胶绵拖把沾水清洁,或直接先以胶绵拖把清洁后,再以一刮刀清洁工具,将胶绵拖把残留于地板上的水份加以刮除。Generally, when cleaning indoor and outdoor floors, first use a brush to brush the dirty stains and then use a rubber mop to clean it with water, or directly clean it with a rubber mop first, and then use a scraper to clean the tools , Scrape off the water remaining on the floor with the rubber mop.
惟,无论以上述何种方式进行地板的清洁,皆需利用二独立的清洁工具(胶绵拖把与刷子或胶绵拖把与刮刀清洁工具)分别作二趟清洁程序。此对使用者而言,不仅需购置二组以上的清洁工具而耗费金钱,更须进行二趟的清洁作业而耗费时间。However, no matter which method is used to clean the floor, two independent cleaning tools (a rubber mop and a brush or a rubber mop and a scraper cleaning tool) are required to perform two cleaning procedures respectively. For the user, not only need to purchase more than two sets of cleaning tools and cost money, but also need to perform two cleaning operations and time-consuming.
实用新型内容Utility model content
本实用新型的目的在于提供一种胶绵拖把的清洁工具结合座,以克服公知技术中存在的缺陷。The purpose of this utility model is to provide a cleaning tool combination seat of a rubber mop to overcome the defects in the known technology.
为实现上述目的,本实用新型提供的胶绵拖把的清洁工具结合座,用以结合于同一侧具有一第一压条及一第二压条的胶绵拖把上;In order to achieve the above purpose, the cleaning tool combination seat of the rubber mop provided by the utility model is used to be combined with a rubber mop having a first bead and a second bead on the same side;
该胶绵拖把的清洁工具结合座,具有一第一结合部及一第二结合部,该第一结合部与一清洁工具结合,该第二结合部具有二片体,分别连接于该第一结合部的二端上,且该各片体相互对称位置的端缘上并分别形成有一第一卡槽及一第二卡槽,以由该第一卡槽勾扣于该第一压条上而由该第二卡槽勾扣于该第二压条上,使该清洁工具能间接连接于该胶绵拖把上。The cleaning tool combination seat of the rubber mop has a first combination part and a second combination part, the first combination part is combined with a cleaning tool, and the second combination part has two pieces, respectively connected to the first On the two ends of the joint part, and on the end edges of the mutual symmetrical positions of the sheets, a first card slot and a second card slot are respectively formed, so that the first card slot can be hooked on the first bead and The second clamping groove is hooked on the second pressing bar, so that the cleaning tool can be indirectly connected to the rubber mop.
所述胶绵拖把的清洁工具结合座,其中该清洁工具为一刮刀座,该刮刀座具有一结合杆及一固接于该结合杆上的软性刮片;该第一结合部的一外侧面上开设有一结合槽,该结合槽供该结合杆容置。The cleaning tool combination seat of the rubber mop, wherein the cleaning tool is a scraper seat, and the scraper seat has a combination rod and a soft scraper fixed on the combination rod; an outer part of the first combination part A combination groove is provided on the side, and the combination groove is accommodated by the combination rod.
所述胶绵拖把的清洁工具结合座,其中该第二结合部与该第一结合部为一体连接。The cleaning tool combination seat of the foam mop, wherein the second combination part is integrally connected with the first combination part.
所述胶绵拖把的清洁工具结合座,其中该各第一卡槽的开口朝向第一压条的侧边,而该第二卡槽的开口方向则朝向该第二压条的上方。In the cleaning tool combination seat of the foam mop, the openings of the first slots face to the side of the first bead, and the openings of the second slots face to the top of the second bead.
所述胶绵拖把的清洁工具结合座,其中还具有一第三结合部,一体连接于该第一结合部的一侧,并具有一结合孔,该结合孔内形成有一内螺纹,可供一手持杆所套接。The cleaning tool combination seat of the rubber mop also has a third combination part, which is integrally connected to one side of the first combination part, and has a combination hole. An internal thread is formed in the combination hole for a The handlebar is socketed.
所述胶绵拖把的清洁工具结合座,其中该清洁工具为一刷子。The cleaning tool combination seat of the foam mop, wherein the cleaning tool is a brush.
由本实用新型的实施,可以节省另行购置所需的费用,并且可以于单一清洁行程中由胶绵拖把及另一清洁工具同时进行清洁作业。The implementation of the utility model can save the cost required for additional purchase, and the cleaning operation can be performed simultaneously by the rubber mop and another cleaning tool in a single cleaning stroke.
附图说明 Description of drawings
图1为本实用新型一较佳实施例的立体图。Fig. 1 is a perspective view of a preferred embodiment of the present invention.
图2为图1所示较佳实施例与一手持杆结合的示意图。Fig. 2 is a schematic view of the combination of the preferred embodiment shown in Fig. 1 with a handle.
图3为图1所示较佳实施例与一手持杆结合的使用状态示意图。Fig. 3 is a schematic diagram of the use state of the preferred embodiment shown in Fig. 1 combined with a hand-held rod.
图4为图1所示较佳实施例与一胶绵拖把的立体图。Fig. 4 is a perspective view of the preferred embodiment shown in Fig. 1 and a rubber mop.
图5为图1所示较佳实施例与一胶绵拖把间的结合示意图。Fig. 5 is a schematic diagram of the combination of the preferred embodiment shown in Fig. 1 and a rubber mop.
图6为图1所示较佳实施例与一胶绵拖把间的结合示意图。Fig. 6 is a schematic diagram of the combination of the preferred embodiment shown in Fig. 1 and a rubber mop.
图7为图1所示较佳实施例与一胶绵拖把结合的使用状态示意图。Fig. 7 is a schematic diagram of the use state of the preferred embodiment shown in Fig. 1 combined with a rubber mop.
具体实施方式 Detailed ways
为能详细说明本实用新型的构造及特点,举下列较佳实施例并配合附图说明如下:In order to describe the structure and characteristics of the present utility model in detail, the following preferred embodiments are described as follows in conjunction with the accompanying drawings:
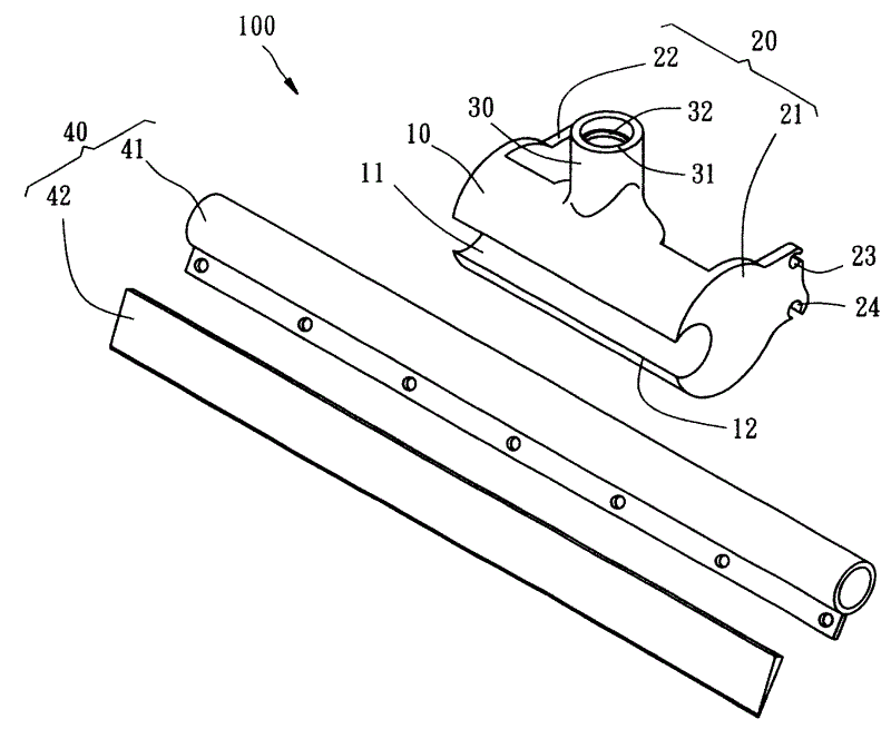
请参阅图1至图7,为本实用新型所提供一较佳实施例胶绵拖把的清洁工具结合座100,其包含有以塑料材料所一体制成的一第一结合部10、一第二结合部20及一第三结合部30;其中:Please refer to Fig. 1 to Fig. 7, the cleaning
该第一结合部10,呈一圆柱状,该第一结合部10的一外侧面上开设一结合槽11,且该结合槽11形成有一连通外部的槽口12。The
该第二结合部20,为二片体21、22,分别一体连接于该第一结合部10的二外端上,并沿该结合槽11槽口12的相反侧所向外延伸,且该各片体21、22相互对称位置的自由端缘上个别形成有一第一卡槽23及一第二卡槽24,该各第一卡槽23的开口方向朝向该结合槽11槽口12方向的相反侧,而该第二卡槽24的开口方向则与该第一卡槽23的开口方向概呈垂直状态(以图1为基准为朝向下方)。The second
该第三结合部30),呈圆柱状,以其一端一体连接于该第一结合部10的一侧,并于该其自由端上往内延伸一具有预定深度的结合孔31,该结合孔31的内周壁上形成有一内螺纹32。The third joint part 30) is cylindrical, one end of which is integrally connected to one side of the first
上述即为本实用新型所提供一种胶绵拖把的清洁工具结合座100的型态,接着再将其使用特点介绍如下:The above is the type of the cleaning
首先,如图1至图3所示,该第一结合部10的结合槽11是供一刮刀座40所容设结合,其中该刮刀座40具有一容置于该结合槽11中的结合杆41及一与该结合杆41固接的软性刮片42,且该软性刮片42并自该结合槽11的槽口12所穿出。First, as shown in FIGS. 1 to 3 , the
如图2及图3所示,该胶绵拖把的清洁工具结合座100于使用时,可由该结合孔31供一手持杆50所套接,并由该内螺纹32与该手持杆50螺合固接,让使用者能直接以握持手持杆50的方式将该软性刮片42抵触于欲进行刮除水份的地板或其它平面上,以由该软性刮片42将水份加以刮除。当然,虽然于本实施例中该第一结合部10是由该结合槽11供该刮刀座40结合,但实际上该第一结合部10亦可开设其它型态的槽、孔或其它态样,用以供刷子、菜瓜布...等其它型态的清洁工具连接。As shown in Figures 2 and 3, when the cleaning
请参阅图4至图7,亦可将该已结合刮刀座40的清洁工具结合座100直接连接于一胶绵拖把60上,以于使用该胶绵拖把60进行拖地的同时能一并由该软性刮片42进行刮除水份的动作。Referring to Fig. 4 to Fig. 7, the cleaning
其中,该胶绵拖把60具有一杆体61、一固接于该杆体61一端且断面呈倒U形的头部62、二第一压条63、二第二压条64及一胶绵65;该二第一压条63与该二第二压条64分别具有一轴杆631、641及三滚筒632、642,该二第一压条63的轴杆631设于该头部62二侧而平行并列,该二第一压条63的滚筒632穿套于该轴杆631上,且各滚筒632间距有一预定的间隙,该二第二压条64的轴杆641设于该头部62二侧而平行并列并位于该二第一压条63的下方,该二第二压条64的滚筒642穿套于该轴杆641上,且各滚筒642间距有一预定的间隙,该胶绵65置于该二第二压条64间。Wherein, the rubber mop 60 has a
当欲将该胶绵拖把的清洁工具结合座100与该胶绵拖把60结合时,先由该第二卡槽24与位于该胶绵拖把60一侧的第二压条64轴杆641加以勾扣(与位于各滚筒642间隙中的轴杆641勾扣)(如图5所示),再以该第二卡槽24及该第二压条64的轴心加以转动该胶绵拖把的清洁工具结合座100,使再由该第一卡槽23勾扣于位在该第二压条64上方的第一压条63轴杆631上(如图6所示),以由不同开口方向的第一卡槽23及第二卡槽24紧固地勾扣结合于该胶绵拖把60上。When the cleaning
如此一来,当使用者以该胶绵拖把60对一地板进行清洁时,由该胶绵拖把60所残留于地板上的水份,便能由随着该胶绵拖把60所同步于该地板上位移的软性刮片42将残留的水份加以刮除;由此使用者可由胶绵拖把60进行清洁地板的同一趟行程中,同时由软性刮片42将该胶绵拖把60所残留的水份一并刮除,而可将以前必须先由拖把进行清洁行程后再由刮片进行刮除水份行程的二趟行程缩减为一趟行程,以大幅节省使用者拖地及刮除水份所需的时间。In this way, when the user cleans a floor with the rubber mop 60, the moisture left on the floor by the rubber mop 60 can be synchronized with the rubber mop 60 on the floor. The
况且,如此一来,使用者仅需以较低费用购置本实用新型胶绵拖把的清洁工具结合座100,便能具有多种清洁方式的功效,而无须再以大量金钱分别购置多种清洁工具。Moreover, in this way, the user only needs to purchase the cleaning
Claims (6)
Priority Applications (1)
| Application Number | Priority Date | Filing Date | Title |
|---|---|---|---|
| CNU2007200007449U CN201012076Y (en) | 2007-02-14 | 2007-02-14 | Cleaning tool combined base of collodion mop |
Applications Claiming Priority (1)
| Application Number | Priority Date | Filing Date | Title |
|---|---|---|---|
| CNU2007200007449U CN201012076Y (en) | 2007-02-14 | 2007-02-14 | Cleaning tool combined base of collodion mop |
Publications (1)
| Publication Number | Publication Date |
|---|---|
| CN201012076Y true CN201012076Y (en) | 2008-01-30 |
Family
ID=39023862
Family Applications (1)
| Application Number | Title | Priority Date | Filing Date |
|---|---|---|---|
| CNU2007200007449U Expired - Fee Related CN201012076Y (en) | 2007-02-14 | 2007-02-14 | Cleaning tool combined base of collodion mop |
Country Status (1)
| Country | Link |
|---|---|
| CN (1) | CN201012076Y (en) |
Cited By (1)
| Publication number | Priority date | Publication date | Assignee | Title |
|---|---|---|---|---|
| CN109512349A (en) * | 2018-10-29 | 2019-03-26 | 深圳龙图腾创新设计有限公司 | A kind of mop with back-blading plate |
-
2007
- 2007-02-14 CN CNU2007200007449U patent/CN201012076Y/en not_active Expired - Fee Related
Cited By (1)
| Publication number | Priority date | Publication date | Assignee | Title |
|---|---|---|---|---|
| CN109512349A (en) * | 2018-10-29 | 2019-03-26 | 深圳龙图腾创新设计有限公司 | A kind of mop with back-blading plate |
Similar Documents
| Publication | Publication Date | Title |
|---|---|---|
| CN102076255B (en) | cleaning utensils | |
| CN206381140U (en) | A kind of mop water-expelling device | |
| CN201012076Y (en) | Cleaning tool combined base of collodion mop | |
| US8336153B2 (en) | Cleaning device | |
| CN201453138U (en) | Window frame cleaning device | |
| CN218635518U (en) | A new type of cleaning brush | |
| CN107361510B (en) | Handle, tool with handle and method for connecting flexible material to handle | |
| CN2850405Y (en) | floor brush with scraper | |
| CN203016151U (en) | Corner brush | |
| CN223143427U (en) | Cleaning brush piece | |
| JP3050806U (en) | Cleaning tool for gap | |
| CN223745962U (en) | Portable type multifunctional cleaning brush | |
| CN205458493U (en) | Wash rotatory mop burnisher of more thorough hand | |
| CN204158335U (en) | Structure of multifunctional cleaning tool | |
| JP2005270164A (en) | Polishing implement | |
| CN204410738U (en) | multifunctional mopping brush | |
| CN223745961U (en) | Household detachable cleaning brush | |
| JP3194257U (en) | Cleaning tool | |
| CN214348055U (en) | Contact cleaning tool | |
| JP2004073678A (en) | Cleaner | |
| CN201491926U (en) | Double-side brush | |
| JP2011078552A (en) | Triangular prism scrubbing brush with length | |
| CN103767642B (en) | Efficient mop | |
| CN210493096U (en) | Rotatable double-sided pot brush convenient to process and capable of being effectively positioned | |
| JP2000210244A (en) | Carpet cleaning tool |
Legal Events
| Date | Code | Title | Description |
|---|---|---|---|
| C14 | Grant of patent or utility model | ||
| GR01 | Patent grant | ||
| C17 | Cessation of patent right | ||
| CF01 | Termination of patent right due to non-payment of annual fee |
Granted publication date: 20080130 |
