CN201011160Y - 一种汽车遮阳篷 - Google Patents

一种汽车遮阳篷 Download PDF

Info

Publication number
CN201011160Y
CN201011160Y CNU2006201417855U CN200620141785U CN201011160Y CN 201011160 Y CN201011160 Y CN 201011160Y CN U2006201417855 U CNU2006201417855 U CN U2006201417855U CN 200620141785 U CN200620141785 U CN 200620141785U CN 201011160 Y CN201011160 Y CN 201011160Y
Authority
CN
China
Prior art keywords
main
puggaree
round ring
sleeve pipe
secondary support
Prior art date
Legal status (The legal status is an assumption and is not a legal conclusion. Google has not performed a legal analysis and makes no representation as to the accuracy of the status listed.)
Expired - Fee Related
Application number
CNU2006201417855U
Other languages
English (en)
Inventor
张光红
张光华
Current Assignee (The listed assignees may be inaccurate. Google has not performed a legal analysis and makes no representation or warranty as to the accuracy of the list.)
Individual
Original Assignee
Individual
Priority date (The priority date is an assumption and is not a legal conclusion. Google has not performed a legal analysis and makes no representation as to the accuracy of the date listed.)
Filing date
Publication date
Application filed by Individual filed Critical Individual
Priority to CNU2006201417855U priority Critical patent/CN201011160Y/zh
Application granted granted Critical
Publication of CN201011160Y publication Critical patent/CN201011160Y/zh
Anticipated expiration legal-status Critical
Expired - Fee Related legal-status Critical Current

Links

Images

Landscapes

  • Building Awnings And Sunshades (AREA)

Abstract

本实用新型涉及一种机械化的车篷构筑物,尤其涉及一种汽车遮阳篷。包括两个基座,所述基座内设有有门形主支撑杆和若干门形副支撑杆,所述支撑杆之间设有连动装置,所述主支撑杆与基座之间均设有弹簧牵拉装置,所述基座后侧均设有可轴向转动的圆锥管,所述圆锥管内卡设有扭簧,所述圆锥管上均绕设有半圆环形遮阳布,所述半圆环形遮阳布一端与主支撑杆的侧杆相连,所述副支撑杆与半圆环形遮阳布之间设有磁性连接结构,所述两个圆锥管的后侧设有由电机驱动的套管,所述套管上绕设有主遮阳布,所述主遮阳布一端与主支撑杆的顶杆相连。本实用新型的设计目的在于提供一种汽车遮阳篷,其结构合理,操作使用方便,展开时可罩住车身整体,收拢时占地小。

Description

一种汽车遮阳篷
技术领域
本实用新型涉及一种机械化的车篷构筑物,尤其涉及一种汽车遮阳篷。
背景技术
随着经济的发展,人们生活水平的不断提高,私家车的普及率也越来越高。可是绝大多数的车都是露天停放,在炎热的夏天,驾乘者进入车内就像进入烤炉,同样车辆长时间经受风吹、日晒、雨淋还会加快车辆的老损。目前市场上常见的普通汽车遮阳篷多具有四根支柱,这种遮阳篷占地较大,而且车辆停放不便,同时这种遮阳篷大多只有顶部设有遮阳布,因此无法达到令人满意的遮阳、防雨、防尘的效果。
发明内容
本实用新型的发明目的在于提供一种结构合理,操作使用方便,展开时可罩住车身整体,收拢时占地小的汽车遮阳篷。
本实用新型是通过下述技术方案解决上述技术问题的:一种汽车遮阳篷,包括两个设置在两侧的基座,所述基座内通过主轴转动连接有门形主支撑杆和若干门形副支撑杆,所述主支撑杆、副支撑杆之间设有连动装置,所述主支撑杆与两个基座之间均设有弹簧牵拉装置,所述两个基座后侧均设有可轴向转动的圆锥管及圆锥管的支座,所述圆锥管内卡设有扭簧,所述扭簧一端与支座的转轴固定连接,所述两个圆锥管上均绕设有半圆环形遮阳布,所述半圆环形遮阳布一端固定在圆锥管上,所述半圆环形遮阳布另一端与主支撑杆的侧杆相连,所述副支撑杆与半圆环形遮阳布之间设有磁性连接结构,所述两个圆锥管的后侧设有可轴向转动的套管及套管的支座,所述套管由电机驱动,所述套管上绕设有主遮阳布,所述主遮阳布一端固定在套管上,所述主遮阳布另一端与主支撑杆的顶杆相连。
作为优选,所述连动装置为设置在所有支撑杆之间的连接绳。
作为优选,所述弹簧牵拉装置包括固定设置在主支撑杆的侧杆内的拉簧,所述拉簧一端连有拉绳,所述拉绳绕过设置在主轴上的定滑轮与设置在基座上的扣钉相连。
作为优选,所述磁性连接机构包括设置在所述副支撑杆的侧杆上的磁石,所述半圆环形遮阳布与磁石对应位置设有软铁片。
作为优选,所述副支撑杆的两侧杆上设有对应的弹簧伸缩件。
作为优选,所述套管内设有管状电机,所述套管由管状电机驱动。
作为优选,所述若干副支撑杆呈子母状套置结构。即所述副支撑杆的杆体横截面呈凹字形,所述若干副支撑杆从外到内套置在一起。
作为优选,所述副支撑杆为4根。即应具有至少一根或一根以上的副支撑杆。
如上所述,即设有扭簧的圆锥管用于收拢半圆环形遮阳布,由电机驱动的套管用于收拢主遮阳布。由于半圆环形遮阳布和主遮阳布均与主支撑杆相连,因此由弹簧牵拉装置拉动的主支撑杆用于打开半圆环形遮阳布和主遮阳布。当电机正转时,此时套管无拉力,由于弹簧牵拉装置的拉力大于扭簧的旋转力,因此遮阳篷被打开;当电机反转时,由于电机的拉力大于弹簧牵拉装置的拉力,因此遮阳篷被收拢。
采用本技术方案的实用新型,其有益效果是:
一、本实用新型提供的一种汽车遮阳篷,由于采用半圆环形遮阳布遮挡车辆侧面,采用长方形的主遮阳布遮挡车辆顶部,因此可完全将车身整体罩住,可以起到较佳的遮阳、防雨、防尘效果。为了使半圆环形遮阳布能被完全收卷,因此采用圆锥管,并且在圆锥管内设有扭簧,通过扭簧使圆锥管产生轴向转动力。
二、所述连动装置可使主支撑杆、副支撑杆一个接一个的打开,因此遮阳篷的打开角度可以根据使用者的需要随意控制。
三、所述主支撑杆内设置拉簧,并且与拉簧连接的拉绳从定滑轮的前侧绕过固定在扣钉上,这种设计使得主支撑杆具有足够的拉力,当电机正转时可以打开主遮阳布和半圆环形遮阳布。当然所述弹簧牵拉装置也可以采用将拉簧设置在基座上,拉绳绕过主轴或定滑轮与主支撑杆连接,其效果是相同的。采用弹簧牵拉装置可以降低制造成本。
四、采用磁性连接机构,当遮阳篷打开时,副支撑杆的侧杆与半圆环形遮阳布可磁性连接在一起;当遮阳篷收拢时,副支撑杆与半圆环形遮阳篷可分开收拢。
五、当遮阳篷打开时,主遮阳布受到主支撑杆的拉力和电机的拉力对副支撑杆产生下压力,由于副支撑杆上设有弹簧伸缩件,因此主遮阳布会形成一个比较美观的弧度。
六、采用管状电机使得汽车遮阳篷体积更小,外形更美观。
七、所述若干副支撑杆呈子母状套置结构。当汽车遮阳篷收拢时,其它副支撑杆均收拢到最外侧的副支撑杆内部,使得遮阳篷收拢时外形更简洁美观。
附图说明
图1为本实用新型实施例1的汽车遮阳篷半开时的立体结构示意图。
图2为本实用新型实施例1的圆锥管及圆锥管支座结构示意图。
图3为本实用新型实施例1的套管及电机结构示意图。
图4为本实用新型实施例1的主支撑杆、副支撑杆以及基座结构示意图。
图5为图4的A-A向剖视图。
图6为本实用新型实施例1的半圆环形遮阳布结构示意图。
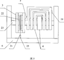
图7为本实用新型实施例2的其中一个主支撑杆、副支撑杆以及基座结构示意图。
具体实施方式
下面结合附图1-6对本实用新型作进一步详细描述:
实施例1
如图1-6所示,一种汽车遮阳篷,包括两个设置在两侧的基座6,所述基座6内通过主轴23转动连接有门形主支撑杆3和四根门形副支撑杆4。所述副支撑杆4的两根侧杆13上设有对应的弹簧伸缩件20。所述主支撑杆3、副支撑杆4之间设有连动装置,所述连动装置为设置在主支撑杆3、副支撑杆4之间的连接绳7。
所述主支撑杆3与基座6之间设有弹簧牵拉装置,所述弹簧牵拉装置包括固定设置在主支撑杆3的侧杆14内的拉簧24,所述拉簧24一端连有拉绳21,所述拉绳21绕过设置在主轴23上的定滑轮22与设置在基座6上的扣钉25相连。
所述两个基座6后侧均设有可轴向转动的圆锥管8及圆锥管8的支座10,所述圆锥管8内卡设有扭簧17,所述扭簧17一端与支座10的转轴16固定连接,所述两个圆锥管8上均绕设有半圆环形遮阳布2,所述半圆环形遮阳布2一端固定在圆锥管8上,所述半圆环形遮阳布2另一端与主支撑杆3的侧杆14相连。
所述副支撑杆4与半圆环形遮阳布2之间设有磁性连接结构,所述磁性连接机构包括设置在所述副支撑杆4的侧杆13上的磁石19,所述半圆环形遮阳布2与磁石19对应位置设有软铁片26。
所述两个圆锥管8的后侧设有可轴向转动的套管12及套管12的支座11,所述套管12内设有管状电机18,所述套管12与管状电机18固定连接,并有管状电机18驱动。所述套管12上绕设有主遮阳布1,所述主遮阳布1一端固定在套管12上,所述主遮阳布1另一端与主支撑杆3的顶杆15相连。
本实用新型的工作原理是:
利用电机的正转和反转控制遮阳篷拉开与合拢。即设有扭簧的圆锥管用于收拢半圆环形遮阳布,由电机驱动的套管用于收拢主遮阳布。由于半圆环形遮阳布和主遮阳布均与主支撑杆相连,因此由弹簧牵拉装置拉动的主支撑杆用于打开半圆环形遮阳布和主遮阳布。当电机正转时,由于弹簧牵拉装置的拉力大与扭簧的旋转力,因此遮阳篷被打开;当电机反转时,由于电机的拉力大于弹簧牵拉装置的拉力,因此主遮阳布被套管收拢,半圆环形遮阳布被圆锥管收拢。副支撑杆主要作用在于支撑半圆环形遮阳布和主遮阳布。
实施例2
如图7所示,一种汽车遮阳篷,包括两个设置在两侧的基座6,所述基座6内通过主轴23转动连接有门形主支撑杆3和四根门形副支撑杆4。所述4根副支撑杆4呈子母状套置结构。即所述若干副支撑杆4从外到内套置在一起。所述主支撑杆3、副支撑杆4之间设有连动装置,所述连动装置为设置在主支撑杆3、副支撑杆4之间的连接绳7。
所述主支撑杆3与基座6之间设有弹簧牵拉装置,所述弹簧牵拉装置包括固定设置在主支撑杆3的侧杆14内的拉簧24,所述拉簧24一端连有拉绳21,所述拉绳21绕过设置在主轴23上的定滑轮22与设置在基座6上的扣钉25相连。
所述两个基座6后侧均设有可轴向转动的圆锥管8及圆锥管8的支座10,所述圆锥管8内卡设有扭簧17,所述扭簧17一端与支座10的转轴16固定连接,所述两个圆锥管8上均绕设有半圆环形遮阳布2,所述半圆环形遮阳布2一端固定在圆锥管8上,所述半圆环形遮阳布2另一端与主支撑杆3的侧杆14相连。
所述副支撑杆4与半圆环形遮阳布2之间设有磁性连接结构,所述磁性连接机构包括设置在所述副支撑杆4的侧杆13上的磁石19,所述半圆环形遮阳布2与磁石19对应位置设有软铁片26。
所述两个圆锥管8的后侧设有可轴向转动的套管12及套管12的支座11,所述套管12内设有管状电机18,所述套管12与管状电机18固定连接,并有管状电机18驱动。所述套管12上绕设有主遮阳布1,所述主遮阳布1一端固定在套管12上,所述主遮阳布1另一端与主支撑杆3的顶杆15相连。
以上所述仅为本实用新型的较佳实施例,凡依本实用新型申请专利范围所作的均等变化与修饰,皆应属本实用新型专利的涵盖范围。

Claims (9)

1.一种汽车遮阳篷,其特征在于,包括两个设置在两侧的基座(6),所述基座(6)内通过主轴(23)转动连接有门形主支撑杆(3)和若干门形副支撑杆(4),所述主支撑杆(3)、副支撑杆(4)之间设有连动装置,所述主支撑杆(3)与基座(6)之间设有弹簧牵拉装置,所述两个基座(6)后侧均设有可轴向转动的圆锥管(8)及圆锥管(8)的支座(10),所述圆锥管(8)内卡设有扭簧(17),所述扭簧(17)一端与支座(10)的转轴(16)固定连接,所述两个圆锥管(8)上均绕设有半圆环形遮阳布(2),所述半圆环形遮阳布(2)一端固定在圆锥管(8)上,所述半圆环形遮阳布(2)另一端与主支撑杆(3)的侧杆(14)相连,所述副支撑杆(4)与半圆环形遮阳布(2)之间设有磁性连接结构,所述两个圆锥管(8)的后侧设有可轴向转动的套管(12)及套管(12)的支座(11),所述套管(12)由电机驱动,所述套管(12)上绕设有主遮阳布(1),所述主遮阳布(1)一端固定在套管(12)上,所述主遮阳布(1)另一端与主支撑杆(3)的顶杆(15)相连。
2.如权利要求1所述的一种汽车遮阳篷,其特征在于,所述连动装置为设置在主支撑杆(3)、副支撑杆(4)之间的连接绳(7)。
3.如权利要求1所述的一种汽车遮阳篷,其特征在于,所述弹簧牵拉装置包括固定设置在主支撑杆(3)的侧杆(14)内的拉簧(24),所述拉簧(24)一端连有拉绳(21),所述拉绳(21)绕过设置在主轴(23)上的定滑轮(22)与设置在基座(6)上的扣钉(25)相连。
4.如权利要求1所述的一种汽车遮阳篷,其特征在于,所述磁性连接机构包括设置在所述副支撑杆(4)的侧杆(13)上的磁石(19),所述半圆环形遮阳布(2)与磁石(19)对应位置设有软铁片(26)。
5.如权利要求1所述的一种汽车遮阳篷,其特征在于,所述副支撑杆(4)的两侧杆(13)上设有对应的弹簧伸缩件(20)。
6.如权利要求1所述的一种汽车遮阳篷,其特征在于,所述套管(12)内设有管状电机(18),所述套管(12)由管状电机(18)驱动。
7.如权利要求1或2或3或4或6所述的一种汽车遮阳篷,其特征在于,所述若干副支撑杆呈子母状套置结构。
8.如权利要求7所述的一种汽车遮阳篷,其特征在于,所述副支撑杆(4)为4根。
9.如权利要求1或2或3或4或5或6所述的一种汽车遮阳篷,其特征在于,所述副支撑杆(4)为4根。
CNU2006201417855U 2006-12-30 2006-12-30 一种汽车遮阳篷 Expired - Fee Related CN201011160Y (zh)

Priority Applications (1)

Application Number Priority Date Filing Date Title
CNU2006201417855U CN201011160Y (zh) 2006-12-30 2006-12-30 一种汽车遮阳篷

Applications Claiming Priority (1)

Application Number Priority Date Filing Date Title
CNU2006201417855U CN201011160Y (zh) 2006-12-30 2006-12-30 一种汽车遮阳篷

Publications (1)

Publication Number Publication Date
CN201011160Y true CN201011160Y (zh) 2008-01-23

Family

ID=39046104

Family Applications (1)

Application Number Title Priority Date Filing Date
CNU2006201417855U Expired - Fee Related CN201011160Y (zh) 2006-12-30 2006-12-30 一种汽车遮阳篷

Country Status (1)

Country Link
CN (1) CN201011160Y (zh)

Cited By (7)

* Cited by examiner, † Cited by third party
Publication number Priority date Publication date Assignee Title
CN102913011A (zh) * 2011-08-03 2013-02-06 能昌实业股份有限公司 遮蔽装置
CN104712172A (zh) * 2015-01-13 2015-06-17 江苏理工学院 房车自动遮阳篷设施及其控制方法
CN105045152A (zh) * 2015-07-24 2015-11-11 广州极飞电子科技有限公司 无人机搭载平台和平台系统
CN106652052A (zh) * 2016-12-30 2017-05-10 苏州远扬智能科技有限公司 一种停车场出入口管理系统及方法
CN107258403A (zh) * 2017-05-25 2017-10-20 太仓市家欣农场专业合作社 自动式防雨遮阳棚
CN108222620A (zh) * 2018-01-12 2018-06-29 德施普科技发展温州有限公司 一种智能车位锁
US20230242031A1 (en) * 2022-01-31 2023-08-03 The CornHer Office, LLC Mobile child-related facility

Cited By (11)

* Cited by examiner, † Cited by third party
Publication number Priority date Publication date Assignee Title
CN102913011A (zh) * 2011-08-03 2013-02-06 能昌实业股份有限公司 遮蔽装置
CN102913011B (zh) * 2011-08-03 2014-09-24 能昌实业股份有限公司 遮蔽装置
CN104712172A (zh) * 2015-01-13 2015-06-17 江苏理工学院 房车自动遮阳篷设施及其控制方法
CN104712172B (zh) * 2015-01-13 2017-02-08 江苏理工学院 房车自动遮阳篷设施及其控制方法
CN105045152A (zh) * 2015-07-24 2015-11-11 广州极飞电子科技有限公司 无人机搭载平台和平台系统
CN105045152B (zh) * 2015-07-24 2018-07-06 广州极飞科技有限公司 无人机搭载平台和平台系统
CN106652052A (zh) * 2016-12-30 2017-05-10 苏州远扬智能科技有限公司 一种停车场出入口管理系统及方法
CN107258403A (zh) * 2017-05-25 2017-10-20 太仓市家欣农场专业合作社 自动式防雨遮阳棚
CN108222620A (zh) * 2018-01-12 2018-06-29 德施普科技发展温州有限公司 一种智能车位锁
CN108222620B (zh) * 2018-01-12 2020-07-10 南通纤麦家纺科技有限公司 一种智能车位锁
US20230242031A1 (en) * 2022-01-31 2023-08-03 The CornHer Office, LLC Mobile child-related facility

Similar Documents

Publication Publication Date Title
CN104563413B (zh) 一种折叠式遮阳棚
CN103434375B (zh) 汽车遮阳篷
CN201287622Y (zh) 一种汽车遮阳篷
CN201011160Y (zh) 一种汽车遮阳篷
CN110934393A (zh) 一种电动开合的遮阳伞
CN201133112Y (zh) 一种汽车遮阳篷
CN201287619Y (zh) 一种汽车遮阳篷装置
CN102126422A (zh) 可展收的汽车保护罩
CN201627402U (zh) 一种遮阳篷
CN201288430Y (zh) 一种遮阳篷
CN201872580U (zh) 自动伸缩式汽车遮阳篷
CN210680373U (zh) 遮阳伞开闭机构及采用该机构的便携式全自动汽车遮阳伞
CN201520204U (zh) 车载自动伞
CN218594116U (zh) 一种全自动开合的汽车遮阳伞
CN202064661U (zh) 一种汽车遮阳篷
CN2732528Y (zh) 全自动汽车遮阳伞
CN208347376U (zh) 一种可移动太阳能电动汽车遮阳伞
CN201802125U (zh) 多功能居住型帐篷
CN212957969U (zh) 一种户外帐篷篷顶用篷布伸缩机构
CN104477079A (zh) 空间可变的房车厢体结构
CN212980019U (zh) 一种带伸缩功能的雨棚
CN203819007U (zh) 一种全自动轿车遮阳伞
CN206938425U (zh) 移动车棚
CN202990485U (zh) 折叠式停车棚
CN201395963Y (zh) 门式可折叠车库

Legal Events

Date Code Title Description
C14 Grant of patent or utility model
GR01 Patent grant
COR Change of bibliographic data

Free format text: CORRECT: CO-PATENTEE TO: ZHANG GUANGHUA ^

CU01 Correction of utility model patent

Correction item: Co-patentee

Correct: Zhang Guanghua

Number: 04

Page: The title page

Volume: 24

CU03 Correction of utility model patent gazette

Correction item: Co-patentee

Correct: Zhang Guanghua

Number: 04

Volume: 24

ERR Gazette correction

Free format text: CORRECT: CO-PATENTEE; FROM: NONE ^ TO: ZHANG GUANGHUA ^

C17 Cessation of patent right
CF01 Termination of patent right due to non-payment of annual fee

Granted publication date: 20080123

Termination date: 20101230