CN200999646Y - engine exhaust manifold - Google Patents
engine exhaust manifold Download PDFInfo
- Publication number
- CN200999646Y CN200999646Y CNU2007201153194U CN200720115319U CN200999646Y CN 200999646 Y CN200999646 Y CN 200999646Y CN U2007201153194 U CNU2007201153194 U CN U2007201153194U CN 200720115319 U CN200720115319 U CN 200720115319U CN 200999646 Y CN200999646 Y CN 200999646Y
- Authority
- CN
- China
- Prior art keywords
- main pipe
- air passage
- airway
- exhaust gas
- gas recirculation
- Prior art date
- Legal status (The legal status is an assumption and is not a legal conclusion. Google has not performed a legal analysis and makes no representation as to the accuracy of the status listed.)
- Expired - Fee Related
Links
- 238000009434 installation Methods 0.000 claims abstract description 18
- 239000007789 gas Substances 0.000 claims abstract description 15
- QVGXLLKOCUKJST-UHFFFAOYSA-N atomic oxygen Chemical compound [O] QVGXLLKOCUKJST-UHFFFAOYSA-N 0.000 claims abstract description 9
- 239000001301 oxygen Substances 0.000 claims abstract description 9
- 229910052760 oxygen Inorganic materials 0.000 claims abstract description 9
- 230000003197 catalytic effect Effects 0.000 claims abstract description 4
- 230000007704 transition Effects 0.000 claims description 2
- 230000009286 beneficial effect Effects 0.000 abstract description 6
- 238000005266 casting Methods 0.000 abstract description 4
- 229910001018 Cast iron Inorganic materials 0.000 description 2
- 238000010586 diagram Methods 0.000 description 2
- 239000010410 layer Substances 0.000 description 2
- 239000002356 single layer Substances 0.000 description 2
- 238000000034 method Methods 0.000 description 1
- 229910001220 stainless steel Inorganic materials 0.000 description 1
- 239000010935 stainless steel Substances 0.000 description 1
Classifications
-
- Y—GENERAL TAGGING OF NEW TECHNOLOGICAL DEVELOPMENTS; GENERAL TAGGING OF CROSS-SECTIONAL TECHNOLOGIES SPANNING OVER SEVERAL SECTIONS OF THE IPC; TECHNICAL SUBJECTS COVERED BY FORMER USPC CROSS-REFERENCE ART COLLECTIONS [XRACs] AND DIGESTS
- Y02—TECHNOLOGIES OR APPLICATIONS FOR MITIGATION OR ADAPTATION AGAINST CLIMATE CHANGE
- Y02T—CLIMATE CHANGE MITIGATION TECHNOLOGIES RELATED TO TRANSPORTATION
- Y02T10/00—Road transport of goods or passengers
- Y02T10/10—Internal combustion engine [ICE] based vehicles
- Y02T10/12—Improving ICE efficiencies
Landscapes
- Exhaust Silencers (AREA)
Abstract
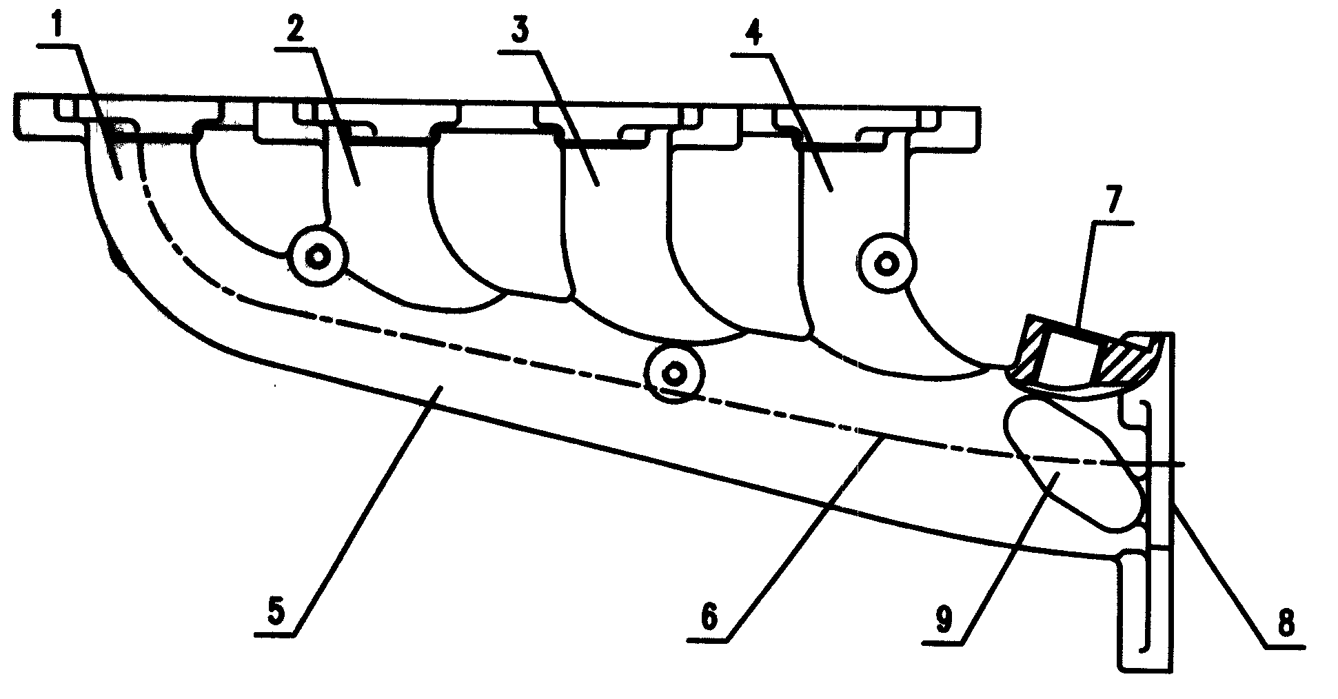
本实用新型涉及发动机排气歧管布置,具体为一种发动机排气歧管结构布置。其特点是:汇集段总管(5)截面尺寸自第一排气道(1)末端开始向发动机后方逐渐扩大;第二(2)、三(3)、四(4)气道为等截面尺寸,自总管(5)内侧圆滑切入总管气道中,其中心线在总管中心线(6)内侧,与总管中心线不相切;氧传感器安装孔(7)布置在第四气道(4)和出口法兰(8)之间的总管内侧分型面处;出口法兰(8)与催化器转接段法兰采用三点螺栓(10)连接,三点呈120度分布;在第四气道和总管出口法兰之间的总管上方布置了废气再循环通道安装接口(8)。本实用新型优点是:与常规设计相比,属渐扩型总管,气道布置能减小各缸排气之间的相互干扰,有利于铸造和废气再循环系统的装配;结构紧凑、有利于节约能源、达到排放法规要求。
The utility model relates to an arrangement of engine exhaust manifolds, in particular to a structural arrangement of engine exhaust manifolds. Its characteristics are: the cross-sectional size of the main pipe (5) of the converging section gradually expands from the end of the first exhaust passage (1) to the rear of the engine; the second (2), third (3), and fourth (4) air passages are of equal cross-sectional size , from the inner side of the main pipe (5) smoothly cut into the main pipe airway, its centerline is inside the main pipe centerline (6) and not tangent to the main pipe centerline; the oxygen sensor installation hole (7) is arranged between the fourth airway (4) and The inner parting surface of the main pipe between the outlet flanges (8); the outlet flange (8) and the catalytic converter adapter section flange are connected by three-point bolts (10), and the three points are distributed at 120 degrees; between the fourth airway and the An exhaust gas recirculation channel installation interface (8) is arranged above the main pipe between the main pipe outlet flanges. The utility model has the advantages that: compared with the conventional design, it is a gradually expanding main pipe, and the arrangement of the air passage can reduce the mutual interference between the exhaust gas of each cylinder, which is beneficial to the assembly of the casting and exhaust gas recirculation system; the structure is compact, and it is beneficial Conserve energy and meet emission regulations.
Description
技术领域:本实用新型涉及发动机排气歧管壳体,具体为一种发动机排气歧管装置。Technical field: The utility model relates to an engine exhaust manifold housing, in particular to an engine exhaust manifold device.
背景技术:直列四缸发动机排气歧管结构型式多种多样,按歧管的布置型式主要分为单层管气道和双层管气道两种。单层管气道为四根歧管直接汇入一个总管(四合一),双层管气道为每两个气道为一组,分别汇入各自的总管后再汇集到一起(二合一)。传统发动机排气歧管主要采用铸铁材料铸造,现代发动机为了满足日益严格的排放法规,不锈钢焊接的排气歧管得到了推广。Background technology: The exhaust manifold of an inline four-cylinder engine has various structural types, and is mainly divided into two types: single-layer pipe air passage and double-layer pipe air passage according to the arrangement of the manifold. The single-layer pipe airway is that four manifolds directly flow into one main pipe (four-in-one), and the double-layer pipe airway is a group of two airways, which are respectively connected to their respective main pipes and then merged together (two-in-one). one). Traditional engine exhaust manifolds are mainly made of cast iron. In order to meet increasingly stringent emission regulations for modern engines, stainless steel welded exhaust manifolds have been promoted.
发明内容:本实用新型的目的在于提供一种结构简单、占据空间体积小、部件紧凑、解决发动机排气系在空间紧张时的安装问题的发动机铸铁发动机排气歧管装置。本实用新型的目的是这样实现的:它由第一气道(1)、第二气道(2)、第三气道(3)、第四气道(4)、汇集段总管(5)、总管中心线(6)、氧传感器安装孔(7)、出口法兰(8)、废气再循环通道安装接口(9)组成。汇集段总管(5)截面尺寸自第一排气道(1)末端开始向发动机后方逐渐扩大,为渐扩型汇集段总管;第二气道(2)、第三气道(3)、第四气道(4)气道为等截面尺寸,汇集段总管(5)内侧圆滑弧线(11)切入汇集段总管(5)中,其中心线在总管中心线(6)内侧,与总管中心线(6)不相切;氧传感器安装孔(7)设置在第四气道(4)和出口法兰(8)之间的总管内侧分型面处;出口法兰(8)与催化器转接段法兰采用三点螺栓(10)连接,三点呈120度分布;在第四气道(4)和总管出口法兰(8)之间的总管上方布置了废气再循环通道安装接口(9);第一气道(1)与第二气道(2)、第三气道(3)、第四气道(4)、汇集段总管(5)、总管中心线(6)、氧传感器安装孔(7)、出口法兰(8)、废气再循环通道安装接口(9)是一体连接。本实用新型优点是:该布置方案结构紧凑,节约了机舱空间,该方案降低了整车的重量,有利于节约能源,达到排放法规要求。Summary of the invention: The purpose of this utility model is to provide an engine cast iron engine exhaust manifold device with simple structure, small space occupation, compact components, and solving the installation problem of the engine exhaust system when the space is tight. The purpose of this utility model is achieved in that it consists of the first airway (1), the second airway (2), the third airway (3), the fourth airway (4), the collection section main pipe (5) , the central line of the main pipe (6), the oxygen sensor installation hole (7), the outlet flange (8), and the exhaust gas recirculation channel installation interface (9). The cross-sectional size of the collecting section main pipe (5) gradually expands from the end of the first exhaust passage (1) to the rear of the engine, which is a gradually expanding collection section main pipe; the second air passage (2), the third air passage (3), the The air passages of the four air passages (4) are of the same cross-sectional size, and the smooth arc (11) inside the main pipe (5) of the collection section cuts into the main pipe (5) of the collection section, and its centerline is inside the central line of the main pipe (6), and is in line with the center of the main pipe. The line (6) is not tangent; the oxygen sensor installation hole (7) is set at the parting surface inside the main pipe between the fourth airway (4) and the outlet flange (8); the outlet flange (8) and the catalytic converter The flange of the transition section is connected by three-point bolts (10), and the three points are distributed at 120 degrees; the exhaust gas recirculation channel installation interface (9 ); the first airway (1) and the second airway (2), the third airway (3), the fourth airway (4), the manifold of the converging section (5), the central line of the manifold (6), the oxygen sensor The installation hole (7), the outlet flange (8), and the exhaust gas recirculation channel installation interface (9) are integrally connected. The utility model has the advantages that the layout scheme is compact in structure, saves the space of the engine room, reduces the weight of the whole vehicle, is beneficial to save energy, and meets the requirements of emission regulations.
附图说明:图1为本实用新型结构布置示意图,图2为本实用新型出口法兰布置示意图。Description of drawings: Fig. 1 is a schematic diagram of the structure layout of the utility model, and Fig. 2 is a schematic diagram of the layout of the outlet flange of the utility model.
具体实施方式:汇集段总管(5)截面尺寸自第一排气道(1)末端开始向发动机后方逐渐扩大,为渐扩型汇集段总管;第二气道(2)、第三气道(3)、第四气道(4)气道为等截面尺寸,汇集段总管(5)内侧圆滑弧线(11)切入汇集段总管(5)中,其中心线在总管中心线(6)内侧,与总管中心线(6)不相切;从而减小各缸排气之间的相互干扰。氧传感器安装孔(7)设置在第四气道(4)和出口法兰(8)之间的总管内侧分型面处;有利于铸造。出口法兰(8)与催化器转接段法兰采用三点螺栓(10)连接,三点呈120度分布;在第四气道(4)和总管出口法兰(8)之间的总管上方布置了废气再循环通道安装接口(9);第一气道(1)与第二气道(2)、第三气道(3)、第四气道(4)、汇集段总管(5)、总管中心线(6)、氧传感器安装孔(7)、出口法兰(8)、废气再循环通道安装接口(9)是一体连接,有利于排气歧管铸造和废气再循环装配。本实用新型与常规设计相比,本排气歧管布置方案属渐扩型总管,气道布置能减小各缸排气之间的相互干扰,有利于铸造和废气再循环系统的装配;结构紧凑、有利于节约能源、达到排放法规要求。Specific implementation method: the sectional size of the collection section main pipe (5) gradually expands from the end of the first exhaust duct (1) to the rear of the engine, and is a gradually expanding collection section main pipe; the second air passage (2), the third air passage ( 3) The airway of the fourth airway (4) has the same cross-sectional size, and the smooth arc (11) inside the main pipe (5) of the collection section cuts into the main pipe (5) of the collection section, and its center line is inside the center line (6) of the main pipe , is not tangent to the central line (6) of the manifold; thereby reducing the mutual interference between the exhaust gases of each cylinder. The oxygen sensor installation hole (7) is arranged at the parting surface inside the main pipe between the fourth air channel (4) and the outlet flange (8), which is beneficial to casting. The outlet flange (8) is connected to the adapter flange of the catalytic converter by three-point bolts (10), and the three points are distributed at 120 degrees; it is arranged above the main pipe between the fourth air passage (4) and the main pipe outlet flange (8) The exhaust gas recirculation channel installation interface (9); the first air channel (1) and the second air channel (2), the third air channel (3), the fourth air channel (4), the main pipe of the collecting section (5), The central line of the main pipe (6), the oxygen sensor installation hole (7), the outlet flange (8), and the exhaust gas recirculation channel installation interface (9) are integrally connected, which is beneficial to the casting of the exhaust manifold and the assembly of the exhaust gas recirculation. Compared with the conventional design, the utility model has an exhaust manifold arrangement scheme which belongs to a gradually expanding main pipe, and the arrangement of the air passage can reduce the mutual interference between the exhaust gases of each cylinder, which is beneficial to the assembly of the casting and exhaust gas recirculation system; the structure Compact, conducive to saving energy and meeting emission regulations.
Claims (1)
Priority Applications (1)
| Application Number | Priority Date | Filing Date | Title |
|---|---|---|---|
| CNU2007201153194U CN200999646Y (en) | 2007-01-09 | 2007-01-09 | engine exhaust manifold |
Applications Claiming Priority (1)
| Application Number | Priority Date | Filing Date | Title |
|---|---|---|---|
| CNU2007201153194U CN200999646Y (en) | 2007-01-09 | 2007-01-09 | engine exhaust manifold |
Publications (1)
| Publication Number | Publication Date |
|---|---|
| CN200999646Y true CN200999646Y (en) | 2008-01-02 |
Family
ID=39014053
Family Applications (1)
| Application Number | Title | Priority Date | Filing Date |
|---|---|---|---|
| CNU2007201153194U Expired - Fee Related CN200999646Y (en) | 2007-01-09 | 2007-01-09 | engine exhaust manifold |
Country Status (1)
| Country | Link |
|---|---|
| CN (1) | CN200999646Y (en) |
Cited By (5)
| Publication number | Priority date | Publication date | Assignee | Title |
|---|---|---|---|---|
| CN102493896A (en) * | 2011-12-14 | 2012-06-13 | 重庆长安汽车股份有限公司 | Exhaust manifold for exhaust gas recirculation (EGR) engine |
| CN103967575A (en) * | 2013-01-28 | 2014-08-06 | 通用汽车环球科技运作有限责任公司 | Partially Integrated Exhaust Manifold |
| CN106150640A (en) * | 2016-06-29 | 2016-11-23 | 中国北方发动机研究所(天津) | A kind of high supercharging pressure level turbo-charged diesel variable cross-section exhaustor |
| CN109339968A (en) * | 2018-08-23 | 2019-02-15 | 浙江吉利控股集团有限公司 | A cylinder head with an integrated exhaust structure |
| CN116044557A (en) * | 2023-02-28 | 2023-05-02 | 哈尔滨东安汽车动力股份有限公司 | An exhaust manifold assembly shared by oblique and upright |
-
2007
- 2007-01-09 CN CNU2007201153194U patent/CN200999646Y/en not_active Expired - Fee Related
Cited By (7)
| Publication number | Priority date | Publication date | Assignee | Title |
|---|---|---|---|---|
| CN102493896A (en) * | 2011-12-14 | 2012-06-13 | 重庆长安汽车股份有限公司 | Exhaust manifold for exhaust gas recirculation (EGR) engine |
| CN103967575A (en) * | 2013-01-28 | 2014-08-06 | 通用汽车环球科技运作有限责任公司 | Partially Integrated Exhaust Manifold |
| CN103967575B (en) * | 2013-01-28 | 2017-01-04 | 通用汽车环球科技运作有限责任公司 | The exhaust manifold of sectoral integration |
| CN106150640A (en) * | 2016-06-29 | 2016-11-23 | 中国北方发动机研究所(天津) | A kind of high supercharging pressure level turbo-charged diesel variable cross-section exhaustor |
| CN109339968A (en) * | 2018-08-23 | 2019-02-15 | 浙江吉利控股集团有限公司 | A cylinder head with an integrated exhaust structure |
| CN109339968B (en) * | 2018-08-23 | 2021-06-01 | 浙江吉利控股集团有限公司 | Cylinder cover with integrated exhaust structure |
| CN116044557A (en) * | 2023-02-28 | 2023-05-02 | 哈尔滨东安汽车动力股份有限公司 | An exhaust manifold assembly shared by oblique and upright |
Similar Documents
| Publication | Publication Date | Title |
|---|---|---|
| CN200999646Y (en) | engine exhaust manifold | |
| CN103670833A (en) | Air intake manifold of diesel engine | |
| CN101949343B (en) | Air inlet branch pipe and manufacture method thereof | |
| CN202165148U (en) | Silencing exhaust system of car | |
| CN202273740U (en) | Engine exhaust manifold assembly with three-way catalytic converter | |
| CN204060889U (en) | Engine exhaust manifold assembly | |
| CN203335189U (en) | Three-way catalyst assembly of supercharged engine | |
| CN202718782U (en) | Half-moon wedge-shaped resonant intake pipe | |
| CN202544965U (en) | Combined gasoline engine exhaust silencer for motorcycles | |
| CN202165151U (en) | Exhaust manifold specially used by automobile two-stage supercharged engine | |
| CN202431335U (en) | Automotive three-way catalytic silencer | |
| CN202284493U (en) | Double-channel GDI engine exhaust manifold | |
| CN201221404Y (en) | Exhaust interface device of internal combustion engine supercharger | |
| CN201756993U (en) | Engine exhaust manifold | |
| CN111577494B (en) | Intake manifold with waste gas inlet hole | |
| CN203271891U (en) | Semi-shell-type exhaust branch pipe | |
| CN115045745A (en) | Inclined rear-drive exhaust manifold assembly with EGR (exhaust gas Recirculation) pipe structure | |
| CN201071749Y (en) | A pulse-type exhaust pipe for a four-cylinder engine | |
| CN103195551B (en) | Engine exhaust manifold assembly | |
| CN203321666U (en) | Volute air intake and exhaust system of automobile engine | |
| CN202250333U (en) | Exhaust manifold | |
| CN202531279U (en) | Turbine casing provided with exhaust pipe in vehicle turbocharger | |
| CN201874650U (en) | Muffling and heating device utilizing automotive tail gas | |
| CN222084580U (en) | Integrated device of catalyst and exhaust manifold for engine | |
| CN203239439U (en) | Automobile exhaust pipe |
Legal Events
| Date | Code | Title | Description |
|---|---|---|---|
| C14 | Grant of patent or utility model | ||
| GR01 | Patent grant | ||
| EE01 | Entry into force of recordation of patent licensing contract |
Assignee: Harbin Airui Automotive Exhaust System Co., Ltd. Assignor: Dongan Automobile Power Co., Ltd., Harbin Contract fulfillment period: 2008.9.26 to 2017.1.9 Contract record no.: 2008230000078 Denomination of utility model: Engine exhaust manifold device Granted publication date: 20080102 License type: Exclusive license Record date: 20081013 |
|
| LIC | Patent licence contract for exploitation submitted for record |
Free format text: EXCLUSIVE LICENSE; TIME LIMIT OF IMPLEMENTING CONTACT: 2008.9.26 TO 2017.1.9; CHANGE OF CONTRACT Name of requester: HARBIN AIRUI CAR EXHAUST SYSTEM CO., LTD. Effective date: 20081013 |
|
| C17 | Cessation of patent right | ||
| CF01 | Termination of patent right due to non-payment of annual fee |
Granted publication date: 20080102 Termination date: 20140109 |
