CN200998761Y - Tire die forging upper demoulding device - Google Patents
Tire die forging upper demoulding device Download PDFInfo
- Publication number
- CN200998761Y CN200998761Y CNU2007200339425U CN200720033942U CN200998761Y CN 200998761 Y CN200998761 Y CN 200998761Y CN U2007200339425 U CNU2007200339425 U CN U2007200339425U CN 200720033942 U CN200720033942 U CN 200720033942U CN 200998761 Y CN200998761 Y CN 200998761Y
- Authority
- CN
- China
- Prior art keywords
- mold
- demoulding
- cylinder
- forging
- plunger
- Prior art date
- Legal status (The legal status is an assumption and is not a legal conclusion. Google has not performed a legal analysis and makes no representation as to the accuracy of the status listed.)
- Expired - Lifetime
Links
Images
Landscapes
- Forging (AREA)
Abstract
胎模锻上脱模装置属于锻压机械,尤其涉及液压锻造的脱模装置。该装置包括由锻压机主缸、上模台、上模座依次连接成同心柱体,其特点是主缸、上模台、模座芯中心内设同径内腔,内腔中设脱模液压缸及脱模缸柱塞,脱模缸柱塞下与芯轴连接;顶出杆滑装在模座芯设的通孔中,与设在芯轴下端的压板相对应;顶出套滑装在外模与内模予设的环形限位槽内,与顶杆相对应,脱模时脱模缸柱塞向下推压顶杆及顶出套,使工件与上模完全脱离,顶出套使工件与上模脱离。其优点是该装置脱模效果好,快速、可靠,确保百分之百脱模,提高了锻压加工的效率;该装置结构简单、合理,易维修;避免了润滑剂污染,模具消耗减少,提高成材率。
A demoulding device for an upper tire die forging belongs to forging machinery, in particular to a demoulding device for hydraulic forging. The device consists of a forging press main cylinder, upper die table, and upper die base that are connected in sequence to form a concentric cylinder. The hydraulic cylinder and the plunger of the demoulding cylinder are connected with the mandrel under the plunger of the demoulding cylinder; It is installed in the annular limit groove provided by the outer mold and the inner mold, corresponding to the ejector rod. When demoulding, the plunger of the demoulding cylinder pushes down the ejector rod and the ejector sleeve, so that the workpiece and the upper mold are completely separated, and the ejector sleeve The workpiece is separated from the upper mold. The advantage is that the device has a good demoulding effect, is fast and reliable, ensures 100% demoulding, and improves the efficiency of forging processing; the device has a simple and reasonable structure and is easy to maintain; lubricant pollution is avoided, mold consumption is reduced, and the yield of finished products is improved.
Description
技术领域technical field
本实用新型属于锻压机械,尤其涉及液压胎模锻造脱模装置。The utility model belongs to forging machinery, in particular to a hydraulic tire mold forging demoulding device.
背景技术Background technique
大型胎模锻的上模由上模座、上模台依次连接在主缸的下方。在锻造加工过程中,由于工件表面形状复杂、坯料加热等原因,锻压成型后工件与胎模之间摩擦力大,常发生工件与上模粘连、不易脱离,脱模已成为影响生产的难题。当前解决脱模问题是从尽可能减少工件与上模之间的摩擦力着手,依靠工件自重落下而脱模的。有的采用在锻造过程中由喷涂设备向模具表面喷涂润滑剂,减小工件与上模之间的摩擦力;有的采取增大模具的拔模斜度,减少工件与上模间垂直方向的摩擦力,以利脱模。其前者缺陷是喷涂润滑剂既需要喷涂设备和润滑剂,增加了加工成本,又会污染环境和增加治理污染费用;其后者缺陷是增大拔模斜度,既增加了坯料投料量,也增大了再加工的切削量,更为重要的是两者都不能确保百分之百脱模,降低了加工效率,还会造成工件报废,模具损坏(失效),影响生产顺利进行。The upper mold of the large tire die forging is connected under the master cylinder in turn by the upper mold base and the upper mold platform. During the forging process, due to the complex surface shape of the workpiece and the heating of the billet, the friction between the workpiece and the tire mold after forging is large, and the workpiece and the upper mold often adhere to each other and are not easy to separate. Demolding has become a difficult problem affecting production. The current solution to the demoulding problem is to start with reducing the friction between the workpiece and the upper mold as much as possible, and rely on the workpiece's own weight to drop and demould. Some use spraying equipment to spray lubricant on the surface of the mold during the forging process to reduce the friction between the workpiece and the upper mold; some adopt to increase the draft angle of the mold to reduce the vertical friction between the workpiece and the upper mold. Friction to facilitate demoulding. The defect of the former is that spraying lubricant requires both spraying equipment and lubricant, which increases the processing cost, pollutes the environment and increases the cost of pollution control; The amount of cutting for reprocessing is increased, and more importantly, neither of them can ensure 100% demoulding, which reduces the processing efficiency, and also causes workpiece scrapping, mold damage (failure), and affects the smooth progress of production.
发明内容Contents of the invention
为了克服现有技术存在的不足,本实用新型的目的是提供一种胎模锻上脱模装置,脱模时对工件施加自上而下的推压力,确保工件顺利地从上模中脱落下来,使生产顺利进行,还避免了喷涂润滑剂造成的污染,或减少坯料投料量。In order to overcome the deficiencies in the prior art, the purpose of this utility model is to provide a mold forging upper demoulding device, which applies a push force from top to bottom on the workpiece during demoulding, so as to ensure that the workpiece falls off from the upper mold smoothly. , so that the production goes on smoothly, and also avoids the pollution caused by spraying lubricants, or reduces the amount of billet feeding.
一种胎模锻上脱模装置,包括锻压机的主缸、上模台、上模座依次连接成同心柱体,其特点是主缸、上模台、模座芯中心内设同径内腔,内腔中设脱模液压缸及脱模缸柱塞,脱模缸柱塞下端与芯轴连接,顶杆滑装在模座芯设的通孔中,与设在芯轴下端的压板相对应,以确保顶杆上下垂直运动;顶出套滑装在外模与内模预设的环形限位槽内,与顶杆相对应。A tire die forging upper demoulding device, comprising a main cylinder of a forging press, an upper die table, and an upper die seat connected in sequence to form a concentric cylinder, and is characterized in that the main cylinder, the upper die table, and the center of the die seat core are provided with inner cores of the same diameter. The inner cavity is provided with a demoulding hydraulic cylinder and a demoulding cylinder plunger. The lower end of the demoulding cylinder plunger is connected with the mandrel. Corresponding to ensure the vertical movement of the ejector rod up and down; the ejector sleeve is slidably installed in the preset annular limit groove of the outer mold and the inner mold, corresponding to the ejector rod.
本实用新型进一步改进,主缸、上模台、模座芯中心设同径槽孔,连接成设置脱模液压缸及其柱塞的内腔,脱模液压缸及其柱塞置于内腔中,由脱模缸法兰固定在主缸上;主缸还设有上油孔、下油孔,油孔一端与脱模液压缸连通,另端与油嘴连接,上油孔或下油孔进油后,推动脱模缸柱塞上下运动。The utility model is further improved, the center of the main cylinder, the upper mold table, and the core of the mold base are provided with slot holes with the same diameter, which are connected to form an inner cavity for setting the demoulding hydraulic cylinder and its plunger, and the demoulding hydraulic cylinder and its plunger are placed in the inner cavity In the main cylinder, the flange of the demoulding cylinder is fixed on the main cylinder; the main cylinder is also equipped with an upper oil hole and a lower oil hole, one end of the oil hole is connected with the demoulding hydraulic cylinder, and the other end is connected with the oil nozzle, the upper oil hole or the lower oil hole After entering the oil, push the plunger of the demoulding cylinder to move up and down.
上模座内设模座芯,模座芯上设凹槽,侧设倒置的装配凸台,与上模座内设的凸台相配合,模座芯置于上模座内,由上模座的凸台支承,上模座固定上模台上;模座芯至少设一对滑装顶杆的通孔,通孔上下两端设铜套,顶杆滑装在通孔及铜套中,落在顶出套上。设铜套以减轻顶杆及模座芯通孔的磨损。顶杆上设环形限位凸台,以限制其向下行程,也便于脱模机构的拆装。There is a mold core inside the upper mold base, a groove is set on the mold base, and an inverted assembly boss is set on the side, which matches with the boss inside the upper mold base. The mold base core is placed in the upper mold base, and the upper mold The upper mold base is fixed on the upper mold platform; the core of the mold base is provided with at least one pair of through holes for sliding ejector rods, and copper sleeves are provided at the upper and lower ends of the through holes, and the ejector rods are slidably installed in the through holes and copper sleeves. , falling on the ejector sleeve. A copper sleeve is provided to reduce the wear of the ejector pin and the through hole of the mold base core. An annular limit boss is provided on the ejector rod to limit its downward stroke and facilitate the disassembly and assembly of the demoulding mechanism.
上模由外模和内模构成,外模设有固定内模的环形凸台,内模嵌入外模内,由外模支承,外模固定在上模台上;外模还设有滑装顶出套的环形凸台,与内模构成环形限位槽以对顶出套进行限位。The upper mold is composed of an outer mold and an inner mold. The outer mold is provided with an annular boss for fixing the inner mold. The inner mold is embedded in the outer mold and supported by the outer mold. The outer mold is fixed on the upper mold platform; the outer mold is also equipped with a sliding The annular boss of the ejection sleeve forms an annular limiting groove with the inner mold to limit the ejection sleeve.
顶出套为环形体,滑装于环形限位槽内,采用环形体,脱模时工件受力均匀。The ejector sleeve is an annular body, which slides in the annular limit groove. The annular body is adopted, and the workpiece is evenly stressed when demoulding.
锻压加工前,脱模缸柱塞处于缸体上端,当主缸压下后,坯料产生变形,会将顶出套向上推至环形限位槽的上部;当工件压制成型后,主缸上提的同时,给出脱模缸柱塞向下运动的信号,上油孔进油,推动脱模缸柱塞向下运动,压下芯轴、顶杆和顶出套,对工件施加压力,直至工件与上模完全脱离。由于脱模时仅克服工件与上模之间的摩擦力,消耗动力小。Before the forging process, the plunger of the demoulding cylinder is at the upper end of the cylinder body. When the main cylinder is pressed down, the billet is deformed, and the ejector sleeve will be pushed up to the upper part of the annular limit groove; after the workpiece is pressed and formed, the main cylinder is lifted At the same time, a signal for the downward movement of the plunger of the demoulding cylinder is given, oil is fed into the upper oil hole, the plunger of the demoulding cylinder is pushed down, the mandrel, the ejector rod and the ejector sleeve are pressed down, and pressure is applied to the workpiece until the workpiece Completely separated from the upper mold. Because only the friction between the workpiece and the upper mold is overcome when demolding, the power consumption is small.
与现有技术相比,其优点是该装置脱模效果好,快速、可靠,确保百分之百脱模,提高了锻压加工的效率;该装置结构简单、合理,易维修;避免了润滑剂污染,模具使用寿命延长,模具消耗减少,提高成材率,加工费用大大降低。Compared with the prior art, the advantage is that the device has a good demoulding effect, is fast and reliable, ensures 100% demoulding, and improves the efficiency of forging processing; the device has a simple and reasonable structure and is easy to maintain; it avoids lubricant pollution, mold The service life is extended, the mold consumption is reduced, the finished product rate is improved, and the processing cost is greatly reduced.
附图说明Description of drawings
下面对照附图对本实用新型作进一步说明。Below with reference to accompanying drawing, the utility model is further described.
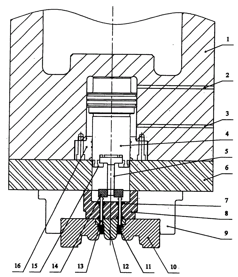
图1是胎模锻上脱模装置结构示意图。Fig. 1 is a structural schematic diagram of a demoulding device for tire die forging.
具体实施方式Detailed ways
由图1所示实施例可以看出,锻压机的主缸1与上模台6、上模座9依次连接成同心柱体,主缸1、上模台6及模座芯8中心设置同心同径内腔,内腔中设置脱模液压缸及脱模缸柱塞4,脱模缸柱塞4下与芯轴5连接,顶杆13滑装在模座芯8设的通孔中,与设在芯轴5下端的压板14相对应,顶杆13在模座芯8的通孔中作上下运动,顶出套11滑装在外模10与内模12预设的环形限位槽内与顶杆13相对应,顶杆13推动顶出套,在环形限位槽内作上下运动。From the embodiment shown in Figure 1, it can be seen that the
主缸1中心设半开口槽孔、装配脱模缸法兰16的螺孔,侧壁设上油孔2、下油孔3,上模台6设同径通孔,主缸1、上模台6、模座芯8连接后,形成固定脱模液压缸及其柱塞4的内腔,脱模液压缸及其柱塞4设于内腔中,由脱模缸法兰16固定在主缸1上。上油孔2、下油孔3通向脱模液压缸,另端外接油嘴,上油孔2进油,下油孔3排油,推动脱模缸柱塞4向下运动,下油孔3进油,上油孔2排油,脱模缸柱塞4上提。The center of the
芯轴5上由卡口法兰15固定在脱模缸柱塞4上,下端与压板14连接,可以采用螺纹连接,也可用销轴连接。采用卡口法兰15固定,可以使芯轴5保持垂直,也可以使两旁的压板14受力平衡、均匀。The
上模座9内设模座芯8。模座芯8上部设凹槽,与主缸1上模台6设的槽孔同径。模座芯8侧设倒置的装配凸台,与上模座9内设的凸台相对应,模座芯8置于上模座9内由上模座的凸台支承,固定在上模座9内。Die
模座芯9至少设一对滑装顶杆13的通孔,通孔多少视所需脱模力的大小而定。通孔上下两端部设置铜套7,以减少顶杆13及模座芯8通孔的磨损。Die
顶杆13上端带有环形限位凸台,与摸座芯8设的通孔配合,对顶杆13向下行程进行限制,也便于脱模机构拆卸与安装。The upper end of the
上模由外模10和内模12构成,外模10设有固定内模12的环形凸台,内模12嵌入外模10内,由外模10的凸台支承。外模10还设有支承顶出套11的环形的凸台,顶出套11置于由外模10预设的环形凸台和内模12构成的环形限位槽内,顶出套11可以在限位槽内上下运动,传递压力。内模12还设有通孔,与模座芯8设的通孔相对应。顶杆13由模座芯8及内模12设的通孔落在顶出套11上,传递压力。顶出套11为环形体,以使工件脱模受力均匀。Upper mold is made of
本实用新型不局限于图1所示实施方式的结构,推压工件还可以具有其它结构变形,例如,内模12直接与芯轴5连接,芯轴5连接在脱模缸柱塞4上,脱模时内模12推压工件,使工件与上模脱离。The utility model is not limited to the structure of the embodiment shown in Figure 1, and the pushing workpiece can also have other structural deformations, for example, the
本实用新型脱模是按下述方式进行工作:常态下脱模缸柱塞4处于脱模液压缸缸体上端。锻压加工开始后,主缸1压下,坯料变形,顶出套11向上推压,直顶环形限位槽的上部;工件成型后,主缸1上提,脱模缸得到脱模信号,上油孔2进油,推动脱模缸柱塞4向下运动,芯轴5受压,由压板14、顶出杆13传递压力,顶出套11推压工件,使工件与上模脱离。脱模以后,下油孔3进油,脱模缸柱塞4上提,芯轴5上提,顶出杆13自然下垂落在顶出套11上,顶出套11落在外模10的环形凸台上,由于推压力仅克服工件与模之间的摩擦力,作用力很小,如90MN车轮锻压机,脱模缸压力仅需0.2MN能力的液压缸。The demoulding of the present utility model is to work in the following manner: under the normal state, the demoulding
Claims (7)
Priority Applications (1)
| Application Number | Priority Date | Filing Date | Title |
|---|---|---|---|
| CNU2007200339425U CN200998761Y (en) | 2007-02-01 | 2007-02-01 | Tire die forging upper demoulding device |
Applications Claiming Priority (1)
| Application Number | Priority Date | Filing Date | Title |
|---|---|---|---|
| CNU2007200339425U CN200998761Y (en) | 2007-02-01 | 2007-02-01 | Tire die forging upper demoulding device |
Publications (1)
| Publication Number | Publication Date |
|---|---|
| CN200998761Y true CN200998761Y (en) | 2008-01-02 |
Family
ID=39013167
Family Applications (1)
| Application Number | Title | Priority Date | Filing Date |
|---|---|---|---|
| CNU2007200339425U Expired - Lifetime CN200998761Y (en) | 2007-02-01 | 2007-02-01 | Tire die forging upper demoulding device |
Country Status (1)
| Country | Link |
|---|---|
| CN (1) | CN200998761Y (en) |
Cited By (1)
| Publication number | Priority date | Publication date | Assignee | Title |
|---|---|---|---|---|
| CN101015849B (en) * | 2007-02-01 | 2011-06-15 | 马鞍山钢铁股份有限公司 | Tyre die forging-demoulding device |
-
2007
- 2007-02-01 CN CNU2007200339425U patent/CN200998761Y/en not_active Expired - Lifetime
Cited By (1)
| Publication number | Priority date | Publication date | Assignee | Title |
|---|---|---|---|---|
| CN101015849B (en) * | 2007-02-01 | 2011-06-15 | 马鞍山钢铁股份有限公司 | Tyre die forging-demoulding device |
Similar Documents
| Publication | Publication Date | Title |
|---|---|---|
| CN202290828U (en) | One-step forming die for gear shaft | |
| CN106424342B (en) | A composite mold for blanking, drawing, punching and inner flanging of cylinder cover | |
| CN204974784U (en) | A anti - extrusion die for producing long and thin dark blind hole aluminium alloy shell | |
| CN101875068A (en) | Cold extrusion molding mould of part | |
| CN204365941U (en) | A kind of large-sized forging equipment die holder | |
| CN103551851B (en) | A kind of sheet metal part combined shaping method of bottom belt bulge-structure and mould | |
| CN203470676U (en) | Concave die floating stamping device for multi-station die | |
| CN101015849B (en) | Tyre die forging-demoulding device | |
| CN200998761Y (en) | Tire die forging upper demoulding device | |
| CN202052787U (en) | Backward extrusion molding device for large cup-shaped piece | |
| CN206122374U (en) | Floating plug extrusion die structure of ring gear | |
| CN204524138U (en) | A kind of Model For The Bush-axle Type Parts production mould | |
| CN201483616U (en) | Wood flour wood wool single-chip tray pressing machine | |
| CN203862947U (en) | Press machine hot upset die holder | |
| CN203711520U (en) | Continuous extrusion and automatic demoulding device of deep cylinder workpiece | |
| CN103691867B (en) | The hot upsetting die holder of forcing press | |
| CN203124544U (en) | Hot extrusion die structure | |
| CN202701704U (en) | Reshaping tool of thin-wall casting piece | |
| CN202427821U (en) | Stamping mold with rapid replacing type stamping head | |
| CN206297175U (en) | Medicine device is moved back in a kind of annular powder column pressing | |
| CN103611749B (en) | The base pressurizing unit of contour forging technique | |
| CN103008382B (en) | Die for manufacturing reducing pipe | |
| CN204724707U (en) | The cold expansion mould of a kind of outer rim | |
| CN209903008U (en) | Grinding wheel die | |
| CN205978137U (en) | Lay bearing plastic cage pressure equipment mould for intelligent pump |
Legal Events
| Date | Code | Title | Description |
|---|---|---|---|
| C14 | Grant of patent or utility model | ||
| GR01 | Patent grant | ||
| AV01 | Patent right actively abandoned |
Granted publication date: 20080102 Effective date of abandoning: 20070201 |
