CN200977301Y - Microwave sterilizing air purifying apparatus - Google Patents
Microwave sterilizing air purifying apparatus Download PDFInfo
- Publication number
- CN200977301Y CN200977301Y CN200620021948.6U CN200620021948U CN200977301Y CN 200977301 Y CN200977301 Y CN 200977301Y CN 200620021948 U CN200620021948 U CN 200620021948U CN 200977301 Y CN200977301 Y CN 200977301Y
- Authority
- CN
- China
- Prior art keywords
- microwave
- air
- disinfection
- utility
- model
- Prior art date
- Legal status (The legal status is an assumption and is not a legal conclusion. Google has not performed a legal analysis and makes no representation as to the accuracy of the status listed.)
- Expired - Fee Related
Links
- 230000001954 sterilising effect Effects 0.000 title claims abstract description 11
- 238000004659 sterilization and disinfection Methods 0.000 claims abstract description 41
- XLYOFNOQVPJJNP-UHFFFAOYSA-N water Substances O XLYOFNOQVPJJNP-UHFFFAOYSA-N 0.000 claims abstract description 11
- OKTJSMMVPCPJKN-UHFFFAOYSA-N Carbon Chemical compound [C] OKTJSMMVPCPJKN-UHFFFAOYSA-N 0.000 claims description 4
- 229920000742 Cotton Polymers 0.000 claims description 2
- 241000894006 Bacteria Species 0.000 abstract description 10
- 238000000034 method Methods 0.000 abstract description 9
- 241000700605 Viruses Species 0.000 abstract description 8
- 238000000746 purification Methods 0.000 abstract description 8
- 230000008569 process Effects 0.000 abstract description 7
- 239000000428 dust Substances 0.000 abstract description 4
- 238000001914 filtration Methods 0.000 abstract description 4
- 230000009471 action Effects 0.000 abstract description 3
- 239000007921 spray Substances 0.000 abstract description 3
- 238000005507 spraying Methods 0.000 abstract description 3
- 238000012856 packing Methods 0.000 description 6
- CBENFWSGALASAD-UHFFFAOYSA-N Ozone Chemical compound [O-][O+]=O CBENFWSGALASAD-UHFFFAOYSA-N 0.000 description 4
- 230000000694 effects Effects 0.000 description 4
- 102000004169 proteins and genes Human genes 0.000 description 4
- 108090000623 proteins and genes Proteins 0.000 description 4
- 102000004190 Enzymes Human genes 0.000 description 2
- 108090000790 Enzymes Proteins 0.000 description 2
- KFSLWBXXFJQRDL-UHFFFAOYSA-N Peracetic acid Chemical compound CC(=O)OO KFSLWBXXFJQRDL-UHFFFAOYSA-N 0.000 description 2
- 230000000844 anti-bacterial effect Effects 0.000 description 2
- 210000004027 cell Anatomy 0.000 description 2
- 238000010586 diagram Methods 0.000 description 2
- 230000001681 protective effect Effects 0.000 description 2
- 239000000126 substance Substances 0.000 description 2
- ZAMOUSCENKQFHK-UHFFFAOYSA-N Chlorine atom Chemical compound [Cl] ZAMOUSCENKQFHK-UHFFFAOYSA-N 0.000 description 1
- 241000238631 Hexapoda Species 0.000 description 1
- 238000010521 absorption reaction Methods 0.000 description 1
- 238000004887 air purification Methods 0.000 description 1
- 230000001580 bacterial effect Effects 0.000 description 1
- 230000004071 biological effect Effects 0.000 description 1
- 235000014633 carbohydrates Nutrition 0.000 description 1
- 150000001720 carbohydrates Chemical class 0.000 description 1
- 210000000170 cell membrane Anatomy 0.000 description 1
- 230000008859 change Effects 0.000 description 1
- 238000006243 chemical reaction Methods 0.000 description 1
- 229910052801 chlorine Inorganic materials 0.000 description 1
- 239000000460 chlorine Substances 0.000 description 1
- 150000001875 compounds Chemical class 0.000 description 1
- 230000007812 deficiency Effects 0.000 description 1
- 239000000645 desinfectant Substances 0.000 description 1
- 238000009792 diffusion process Methods 0.000 description 1
- 238000005265 energy consumption Methods 0.000 description 1
- 238000005516 engineering process Methods 0.000 description 1
- 239000003925 fat Substances 0.000 description 1
- 239000012535 impurity Substances 0.000 description 1
- 238000004519 manufacturing process Methods 0.000 description 1
- 239000000463 material Substances 0.000 description 1
- 230000007246 mechanism Effects 0.000 description 1
- 102000039446 nucleic acids Human genes 0.000 description 1
- 108020004707 nucleic acids Proteins 0.000 description 1
- 150000007523 nucleic acids Chemical class 0.000 description 1
- 235000015097 nutrients Nutrition 0.000 description 1
- 239000002245 particle Substances 0.000 description 1
- 230000000149 penetrating effect Effects 0.000 description 1
- 230000035515 penetration Effects 0.000 description 1
- 230000035699 permeability Effects 0.000 description 1
- 230000001766 physiological effect Effects 0.000 description 1
- 230000010287 polarization Effects 0.000 description 1
- 238000002360 preparation method Methods 0.000 description 1
- 230000005855 radiation Effects 0.000 description 1
- 238000001179 sorption measurement Methods 0.000 description 1
Images
Classifications
-
- Y—GENERAL TAGGING OF NEW TECHNOLOGICAL DEVELOPMENTS; GENERAL TAGGING OF CROSS-SECTIONAL TECHNOLOGIES SPANNING OVER SEVERAL SECTIONS OF THE IPC; TECHNICAL SUBJECTS COVERED BY FORMER USPC CROSS-REFERENCE ART COLLECTIONS [XRACs] AND DIGESTS
- Y02—TECHNOLOGIES OR APPLICATIONS FOR MITIGATION OR ADAPTATION AGAINST CLIMATE CHANGE
- Y02A—TECHNOLOGIES FOR ADAPTATION TO CLIMATE CHANGE
- Y02A50/00—TECHNOLOGIES FOR ADAPTATION TO CLIMATE CHANGE in human health protection, e.g. against extreme weather
- Y02A50/20—Air quality improvement or preservation, e.g. vehicle emission control or emission reduction by using catalytic converters
Landscapes
- Disinfection, Sterilisation Or Deodorisation Of Air (AREA)
Abstract
一种微波消毒空气净化器。本实用新型涉及一种净化装置,外壳体内套装有内壳体,其前端部位由微波屏蔽网组成的过滤腔室相接,内壳体中固装有离心风机,过滤腔室顶部安装有微波发生器,其两侧有对称的喷淋头与循环水泵相接,离心风机前方装有对称的红外线消毒灯。本实用新型结构简单、设计合理采用本装置利用病毒和细菌通常附着在灰尘表面及病毒和细菌在微波作用下容易变性、失去活力、直至杀死等基本原理,将空气过滤净化和微波消毒有机结合,通过风机的转动带动室内空气循环流经本实用新型,既实现了对空气的净化、又实现了对空气消毒杀菌。在微波消毒的过程中,还可以实现喷水对空气加湿功能。
A microwave sterilizing air purifier. The utility model relates to a purification device. An inner shell is set inside the outer shell, and the front end of the shell is connected with a filter chamber composed of a microwave shielding net. A centrifugal fan is fixed in the inner shell, and a microwave generator is installed on the top of the filter chamber. There are symmetrical spray heads on both sides connected to the circulating water pump, and symmetrical infrared disinfection lamps are installed in front of the centrifugal fan. The utility model has simple structure and reasonable design. The device uses the basic principles that viruses and bacteria are usually attached to the surface of dust and that viruses and bacteria are easily denatured, lose vitality, and even be killed under the action of microwaves, and organically combine air filtration and purification with microwave disinfection. The rotation of the fan drives the indoor air to circulate through the utility model, which not only realizes the purification of the air, but also realizes the disinfection and sterilization of the air. In the process of microwave disinfection, it can also realize the function of spraying water to humidify the air.
Description
技术领域technical field
本实用新型涉及一种净化装置,尤其是涉及一种微波消毒空气净化器。The utility model relates to a purification device, in particular to a microwave disinfection air purifier.
背景技术Background technique
目前,在空气消毒方面,紫外线、臭氧和杀菌酶空气消毒器等是现在普遍使用的空气消毒设备。紫外线空气消毒机采用过滤和紫外辐射滤除空气中带菌尘埃,并对病毒进行消毒,但紫外线穿透能力弱,仅能杀死滤床表面病毒;臭氧消毒机利用臭氧对空气进行消毒,但剩余臭氧对人体有害;杀菌酶空气消毒机对细菌和病毒具有一定的针对性。目前上述设备在对空气进行消毒过程中,空气中细菌和病毒瞬间通过设备中的消毒区,消毒杀菌时间短,效果难以保证。另外,利用含氯制剂和过氧乙酸等消毒药剂也可实现空气的消毒杀菌,但目前该类方法主要通过人工喷洒的方法实现,很少用于小型空气净化消毒设备中。目前,人居环境室内空气消毒杀菌已成为国家和人们普遍重视的问题,因此,有必要开发能够用于人居环境的室内空气消毒净化器。At present, in terms of air disinfection, ultraviolet light, ozone and bactericidal enzyme air sterilizers are commonly used air disinfection equipment. Ultraviolet air sterilizer uses filtration and ultraviolet radiation to filter out bacteria-carrying dust in the air and sterilizes viruses, but the ultraviolet penetrating ability is weak and can only kill viruses on the surface of the filter bed; ozone sterilizer uses ozone to sterilize the air, but the remaining Ozone is harmful to the human body; the bactericidal enzyme air disinfector has certain pertinence to bacteria and viruses. At present, during the air disinfection process of the above-mentioned equipment, bacteria and viruses in the air pass through the disinfection area in the equipment instantly, and the disinfection and sterilization time is short, so the effect is difficult to guarantee. In addition, air disinfection and sterilization can also be achieved by using disinfectants such as chlorine-containing preparations and peracetic acid, but at present, this type of method is mainly realized by manual spraying, and is rarely used in small air purification and disinfection equipment. At present, indoor air disinfection and sterilization in living environment has become a problem that the country and people generally pay attention to. Therefore, it is necessary to develop an indoor air disinfection purifier that can be used in living environment.
发明内容Contents of the invention
本实用新型的目的在于克服上述技术中存在的不足之处,提供一种结构简单、设计合理,将空气过滤净化和微波消毒结合为一体的微波消毒空气净化器。The purpose of the utility model is to overcome the deficiencies in the above-mentioned technologies, and provide a microwave disinfection air purifier with simple structure and reasonable design, which combines air filtration purification and microwave disinfection.
为了达到上述目的,本实用新型采用的技术方案是:外壳体内套装有内壳体,其前端部位由微波屏蔽网组成的过滤腔室相接,内壳体中固装有离心风机,过滤腔室顶部安装有微波发生器,其两侧有对称的喷淋头与循环水泵相接,离心风机前方装有对称的红外线消毒灯。In order to achieve the above-mentioned purpose, the technical scheme adopted by the utility model is: an inner shell is set inside the outer shell, and its front end is connected by a filter chamber composed of a microwave shielding net, a centrifugal fan is fixed in the inner shell, and the filter chamber A microwave generator is installed on the top, symmetrical spray heads on both sides are connected with the circulating water pump, and symmetrical infrared disinfection lamps are installed in front of the centrifugal fan.
本实用新型的优点是:The utility model has the advantages of:
1、结构简单、设计合理采用本装置利用病毒和细菌通常附着在灰尘表面及病毒和细菌在微波作用下容易变性、失去活力、直至杀死等基本原理,将空气过滤净化和微波消毒有机结合,通过风机的转动带动室内空气循环流经本实用新型,既实现了对空气的净化、又实现了对空气消毒杀菌。在微波消毒的过程中,还可以实现喷水对空气加湿功能。1. The structure is simple and the design is reasonable. This device uses the basic principles that viruses and bacteria are usually attached to the dust surface and that viruses and bacteria are easy to denature, lose vitality, and kill under the action of microwaves, and organically combine air filtration and purification with microwave disinfection. The rotation of the fan drives the indoor air to circulate through the utility model, which not only realizes the purification of the air, but also realizes the disinfection and sterilization of the air. In the process of microwave disinfection, it can also realize the function of spraying water to humidify the air.
2、本实用新型主要由带有进风口和出风口的壳体、离心风机、过滤腔微波消毒、微波发生器、水加湿管等部分组成,结构简单、易于制造。2. The utility model is mainly composed of a shell with an air inlet and an air outlet, a centrifugal fan, a filter chamber for microwave disinfection, a microwave generator, and a water humidification pipe. The structure is simple and easy to manufacture.
3、本实用新型采用的微波消毒箱装有防止微波泄露的微波防护筛网,保证在微波消毒的过程中对人体不会造成危害,在室内有人活动的条件下也可以实现对室内空气的消毒灭菌。3. The microwave disinfection box adopted by the utility model is equipped with a microwave protection screen to prevent microwave leakage, so as to ensure that the human body will not be harmed during the microwave disinfection process, and the indoor air can also be sterilized under the condition of indoor activities. Sterilize.
4、本实用新型的微波消毒过程为间歇消毒过程、且消毒过程风机停止运行,因此,对室内空气温度升高影响很小,且消毒能耗不超过0.1kWh。4. The microwave disinfection process of the utility model is an intermittent disinfection process, and the fan stops running during the disinfection process. Therefore, it has little effect on the rise of the indoor air temperature, and the disinfection energy consumption does not exceed 0.1kWh.
5、本实用新型可用于家庭居室、医院病房、办公室、会议室、餐厅、休息室、车站候车室、机场候机室等室内场所,实现上述场所的室内空气消毒与净化,具有广阔的市场前景。5. The utility model can be used in indoor places such as family rooms, hospital wards, offices, conference rooms, restaurants, lounges, station waiting rooms, airport waiting rooms, etc., to realize indoor air disinfection and purification in the above places, and has broad market prospects .
附图说明Description of drawings
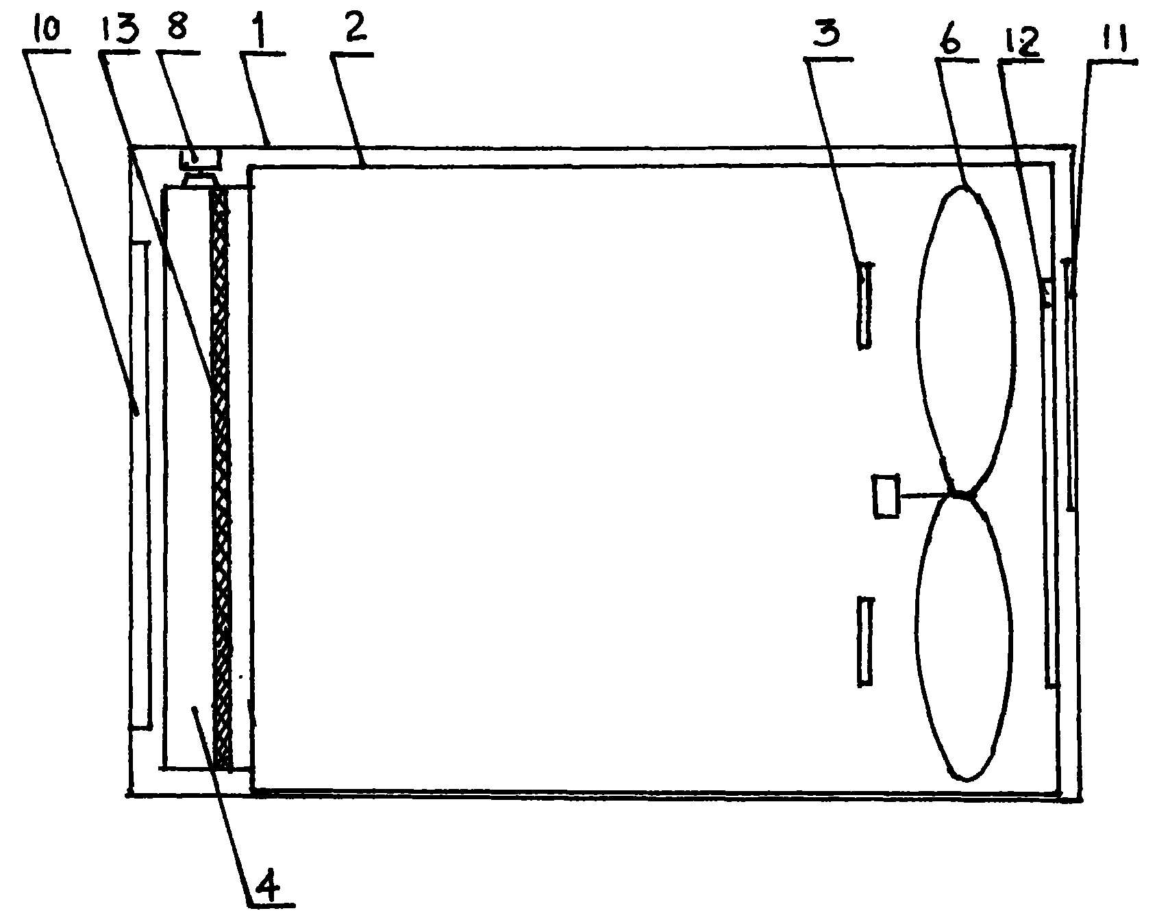
图1是本实用新型结构示意图;Fig. 1 is a structural representation of the utility model;
图2是本实用新型喷淋器、水泵、微波发生器连接示意图;Fig. 2 is a schematic diagram of the connection of the shower, the water pump and the microwave generator of the present invention;
图3是进风口结构示意图;Fig. 3 is a schematic diagram of the structure of the air inlet;
具体实施方式Detailed ways
下面结合附图对本实用新型的实施例作进一步详细描述。Embodiments of the utility model are described in further detail below in conjunction with the accompanying drawings.
由图1-图3可知,本实用新型是外壳体1内套装有内壳体2,其前端部位由微波屏蔽网7组成的过滤腔室4相接,内壳体2中固装有离心风机6,过滤腔室4顶部安装有微波发生器8,其两侧有对称的喷淋头9与循环水泵5相接,离心风机6前方装有对称的红外线消毒灯3。As can be seen from Figures 1-3, the utility model is that the outer shell 1 is fitted with an inner shell 2, and its front end is connected by a filter chamber 4 composed of a microwave shielding net 7, and a centrifugal fan is fixed in the inner shell 2 6. A microwave generator 8 is installed on the top of the filter chamber 4, and symmetrical spray heads 9 are connected to the circulating
外壳体1前后两侧分别设有进风口10、出风口11。An
在外壳体1内出风口11处设有活性炭过滤网12。An activated
过滤腔室4装有耐高温过滤棉13。The filter chamber 4 is equipped with a high temperature resistant filter cotton 13 .
本实用新型在关闭微波发生器,启动风机,气流先后流经进风口、左微波防护筛网、耐热填料层、右微波防护筛网、风机,由送风口送出,气流在流经耐热填料层时,空气中的大颗粒灰尘等杂质被过滤在填料层表面。In the utility model, when the microwave generator is closed and the fan is started, the airflow flows through the air inlet, the left microwave protective screen, the heat-resistant packing layer, the right microwave protective screen, and the fan, and is sent out from the air supply port, and the airflow flows through the heat-resistant packing. When filling the packing layer, impurities such as large particles of dust in the air are filtered on the surface of the packing layer.
关闭风机,启动微型潜水泵,对耐热填料层加湿。Turn off the fan, start the micro-submersible pump, and humidify the heat-resistant packing layer.
启动微波发生器,对耐热填料层进行微波消毒灭菌。Start the microwave generator to sterilize the heat-resistant packing layer by microwave.
本实用新型主要构件联接关系是左侧为进风口,中间为过滤腔、微波发生器,右侧为离心风机和出风口。气流由进风口进入,经过过滤腔进入离心风机再经过离心风机加压后经过出风口排出。The connection relationship of the main components of the utility model is that the left side is an air inlet, the middle is a filter cavity and a microwave generator, and the right side is a centrifugal fan and an air outlet. The air flow enters from the air inlet, enters the centrifugal fan through the filter chamber, is pressurized by the centrifugal fan, and is discharged through the air outlet.
微波灭菌的机理在于,细菌、成虫与任何生物细胞一样,是由水、蛋白质、核酸、碳水化合物、脂肪和无机物等复杂化合物构成的一种凝聚态介质,其中水是生物细胞的主要成分,含量在75-85%,因为细菌的各种生理活动都必须由水参与才能进行,而细菌的生长繁殖过程,对各种营养物的吸收是通过细胞膜质的扩散、渗透和吸附作用来完成的。在一定强度为波长的作用下,物料中的虫类和菌体也会因分子极化驰豫,同时吸收微波能升温。由于它们是凝聚态物质,分子间的作用力加剧了微波能向热能的能态转化,从而使体内蛋白质同时受到无极性热能运动和极性转动两方面的作用,使其空间结构变化或破坏,而使蛋白质变性。蛋白质变性后,其溶解度、粘度、膨胀性、渗透性、稳定性都会发生明显的变化,而失去生物活性,另一方面,微波能的非热效应在灭菌中起到了常规物理灭菌所没有的特殊作用。也造成细菌死亡的原因之一。The mechanism of microwave sterilization is that bacteria and adults, like any biological cells, are a condensed medium composed of complex compounds such as water, proteins, nucleic acids, carbohydrates, fats and inorganic substances, among which water is the main component of biological cells , the content is 75-85%, because the various physiological activities of bacteria must be carried out with the participation of water, and the growth and reproduction of bacteria, the absorption of various nutrients is completed through the diffusion, penetration and adsorption of the cell membrane of. Under the action of a certain intensity of wavelength, the insects and bacteria in the material will also relax due to molecular polarization, and at the same time absorb microwave energy to heat up. Because they are condensed substances, the force between molecules intensifies the energy state conversion of microwave energy to heat energy, so that the proteins in the body are simultaneously affected by non-polar heat energy movement and polarity rotation, and their spatial structure is changed or destroyed. to denature the protein. After the protein is denatured, its solubility, viscosity, expansion, permeability, and stability will change significantly, and the biological activity will be lost. On the other hand, the non-thermal effect of microwave energy plays a role in sterilization that is not available in conventional physical sterilization. special role. It is also one of the causes of bacterial death.
Claims (4)
Priority Applications (1)
| Application Number | Priority Date | Filing Date | Title |
|---|---|---|---|
| CN200620021948.6U CN200977301Y (en) | 2006-11-07 | 2006-11-07 | Microwave sterilizing air purifying apparatus |
Applications Claiming Priority (1)
| Application Number | Priority Date | Filing Date | Title |
|---|---|---|---|
| CN200620021948.6U CN200977301Y (en) | 2006-11-07 | 2006-11-07 | Microwave sterilizing air purifying apparatus |
Publications (1)
| Publication Number | Publication Date |
|---|---|
| CN200977301Y true CN200977301Y (en) | 2007-11-21 |
Family
ID=38977684
Family Applications (1)
| Application Number | Title | Priority Date | Filing Date |
|---|---|---|---|
| CN200620021948.6U Expired - Fee Related CN200977301Y (en) | 2006-11-07 | 2006-11-07 | Microwave sterilizing air purifying apparatus |
Country Status (1)
| Country | Link |
|---|---|
| CN (1) | CN200977301Y (en) |
Cited By (4)
| Publication number | Priority date | Publication date | Assignee | Title |
|---|---|---|---|---|
| CN102068710A (en) * | 2011-01-18 | 2011-05-25 | 北京大学 | Equipment and method for inactivating microbes in air |
| RU2686484C1 (en) * | 2018-02-19 | 2019-04-29 | Федеральное государственное бюджетное образовательное учреждение высшего образования "Красноярский государственный аграрный университет" | Air disinfection device |
| CN111425957A (en) * | 2020-04-01 | 2020-07-17 | 珠海格力电器股份有限公司 | Air purifying device |
| WO2022000585A1 (en) * | 2020-06-29 | 2022-01-06 | 于毅欣 | Disinfection device and method |
-
2006
- 2006-11-07 CN CN200620021948.6U patent/CN200977301Y/en not_active Expired - Fee Related
Cited By (4)
| Publication number | Priority date | Publication date | Assignee | Title |
|---|---|---|---|---|
| CN102068710A (en) * | 2011-01-18 | 2011-05-25 | 北京大学 | Equipment and method for inactivating microbes in air |
| RU2686484C1 (en) * | 2018-02-19 | 2019-04-29 | Федеральное государственное бюджетное образовательное учреждение высшего образования "Красноярский государственный аграрный университет" | Air disinfection device |
| CN111425957A (en) * | 2020-04-01 | 2020-07-17 | 珠海格力电器股份有限公司 | Air purifying device |
| WO2022000585A1 (en) * | 2020-06-29 | 2022-01-06 | 于毅欣 | Disinfection device and method |
Similar Documents
| Publication | Publication Date | Title |
|---|---|---|
| CN202777162U (en) | Hydrogen peroxide space sterilizer | |
| CN206846980U (en) | A kind of purified humidifier | |
| CN111623461A (en) | Anti-pollution infectious disease isolation ventilation equipment | |
| CN103619360A (en) | Gas sterilization apparatus | |
| CN200945263Y (en) | microwave disinfection air purifier | |
| CN200977301Y (en) | Microwave sterilizing air purifying apparatus | |
| CN206548610U (en) | A kind of Respiratory Medicine doctor and patient isolation device | |
| CN106989451A (en) | A kind of no material consumption, non-maintaining Medical sterilization air purifier | |
| CN101296741A (en) | Internal suction type air filtering and sterilizing method and system | |
| CN1197625C (en) | Air purifying method and device thereof | |
| CN213300406U (en) | Air purification and sterilization device for hospital environment | |
| KR20230094901A (en) | A quarantine air sterilizer | |
| CN108904856A (en) | A kind of chlorination equipment for general surgical ward | |
| CN1202867C (en) | Device and method for fast inactivating causative agent in gas with microwave | |
| CN2667385Y (en) | Air purifying sterilizer | |
| KR100710589B1 (en) | Ventilation | |
| CN2629710Y (en) | C-wave ultra-violet-ray liquid-permeating sterilizing-disinfecting vehicle | |
| CN2619817Y (en) | Automobile indoor air circulation ultraviolet sterilizing device | |
| CN202113375U (en) | Medical laminar flow air sterilizer | |
| CN214841461U (en) | Sterile disinfection equipment | |
| CN217383251U (en) | Indoor multifunctional air purification and disinfection machine | |
| CN201175467Y (en) | Infectious disease ward air purification device | |
| CN215723970U (en) | Breathe ward air purification device for internal medicine nursing | |
| CN2626490Y (en) | Air disinfection device | |
| CN2621678Y (en) | Appts. for fast inactivating air pathogen by microwave |
Legal Events
| Date | Code | Title | Description |
|---|---|---|---|
| C14 | Grant of patent or utility model | ||
| GR01 | Patent grant | ||
| C19 | Lapse of patent right due to non-payment of the annual fee | ||
| CF01 | Termination of patent right due to non-payment of annual fee |
