CN200974460Y - Accumulator stationary barrier for electric automobile - Google Patents
Accumulator stationary barrier for electric automobile Download PDFInfo
- Publication number
- CN200974460Y CN200974460Y CN200620165320.3U CN200620165320U CN200974460Y CN 200974460 Y CN200974460 Y CN 200974460Y CN 200620165320 U CN200620165320 U CN 200620165320U CN 200974460 Y CN200974460 Y CN 200974460Y
- Authority
- CN
- China
- Prior art keywords
- mounting ring
- carriage
- battery
- storage battery
- perpendicular connecting
- Prior art date
- Legal status (The legal status is an assumption and is not a legal conclusion. Google has not performed a legal analysis and makes no representation as to the accuracy of the status listed.)
- Expired - Lifetime
Links
Images
Classifications
-
- Y—GENERAL TAGGING OF NEW TECHNOLOGICAL DEVELOPMENTS; GENERAL TAGGING OF CROSS-SECTIONAL TECHNOLOGIES SPANNING OVER SEVERAL SECTIONS OF THE IPC; TECHNICAL SUBJECTS COVERED BY FORMER USPC CROSS-REFERENCE ART COLLECTIONS [XRACs] AND DIGESTS
- Y02—TECHNOLOGIES OR APPLICATIONS FOR MITIGATION OR ADAPTATION AGAINST CLIMATE CHANGE
- Y02E—REDUCTION OF GREENHOUSE GAS [GHG] EMISSIONS, RELATED TO ENERGY GENERATION, TRANSMISSION OR DISTRIBUTION
- Y02E60/00—Enabling technologies; Technologies with a potential or indirect contribution to GHG emissions mitigation
- Y02E60/10—Energy storage using batteries
Landscapes
- Battery Mounting, Suspending (AREA)
- Connection Of Batteries Or Terminals (AREA)
Abstract
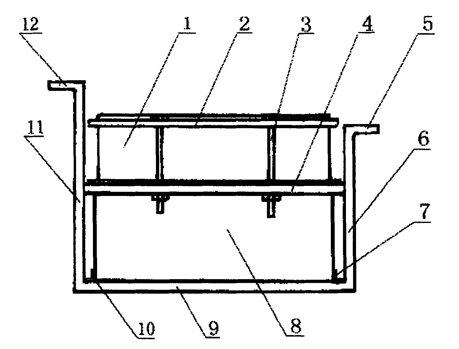
本实用新型公开了一种电动汽车的蓄电池固定支架,包括托架、上固定圈、下固定圈、螺栓螺母、连接块、电池箱,托架由相互平行的竖连接条和与竖连接条垂直相连的横连接条组成,托架的竖连接条的上端分别与连接块相连,下固定圈与托架的竖连接条连接于下固定圈的中线延长线上,电池箱为一无盖的长方体盒体,其上部具有向外的折边,折边的下表面与下固定圈上表面贴合,电池箱的下底面放置于托架的横连接条上,蓄电池放置于电池箱内,上固定圈卡在蓄电池的上部,上固定圈与下固定圈通过螺栓螺母相互联接。本实用新型采用这样的结构,减轻了蓄电池固定支架的重量,减小了体积,安装和拆卸蓄电池显得方便,使得蓄电池在电动汽车上便于布置。
The utility model discloses a battery fixing bracket for an electric vehicle, which comprises a bracket, an upper fixing ring, a lower fixing ring, bolts and nuts, a connecting block, and a battery box. The upper ends of the vertical connecting bars of the bracket are respectively connected with the connecting blocks, the lower fixing ring and the vertical connecting bars of the bracket are connected on the extension line of the center line of the lower fixing ring, and the battery box is a cuboid without a cover The box body has an outward folded edge on the upper part, and the lower surface of the folded edge is attached to the upper surface of the lower fixing ring. The lower bottom surface of the battery box is placed on the horizontal connecting strip of the bracket, and the battery is placed in the battery box, and the upper surface is fixed. The ring is stuck on the upper part of the battery, and the upper fixing ring and the lower fixing ring are connected to each other through bolts and nuts. The utility model adopts such a structure, which reduces the weight of the storage battery fixing bracket and reduces the volume, and it is convenient to install and disassemble the storage battery, so that the storage battery is convenient to be arranged on the electric vehicle.
Description
Claims (3)
Priority Applications (1)
| Application Number | Priority Date | Filing Date | Title |
|---|---|---|---|
| CN200620165320.3U CN200974460Y (en) | 2006-12-04 | 2006-12-04 | Accumulator stationary barrier for electric automobile |
Applications Claiming Priority (1)
| Application Number | Priority Date | Filing Date | Title |
|---|---|---|---|
| CN200620165320.3U CN200974460Y (en) | 2006-12-04 | 2006-12-04 | Accumulator stationary barrier for electric automobile |
Publications (1)
| Publication Number | Publication Date |
|---|---|
| CN200974460Y true CN200974460Y (en) | 2007-11-14 |
Family
ID=38900754
Family Applications (1)
| Application Number | Title | Priority Date | Filing Date |
|---|---|---|---|
| CN200620165320.3U Expired - Lifetime CN200974460Y (en) | 2006-12-04 | 2006-12-04 | Accumulator stationary barrier for electric automobile |
Country Status (1)
| Country | Link |
|---|---|
| CN (1) | CN200974460Y (en) |
Cited By (2)
| Publication number | Priority date | Publication date | Assignee | Title |
|---|---|---|---|---|
| CN101683872B (en) * | 2008-09-25 | 2013-07-17 | 本田技研工业株式会社 | Accumulator configuration structure in electric vehicle |
| CN106080160A (en) * | 2016-08-23 | 2016-11-09 | 合肥工业大学 | A kind of Special vehicle chassis cell integral framework |
-
2006
- 2006-12-04 CN CN200620165320.3U patent/CN200974460Y/en not_active Expired - Lifetime
Cited By (2)
| Publication number | Priority date | Publication date | Assignee | Title |
|---|---|---|---|---|
| CN101683872B (en) * | 2008-09-25 | 2013-07-17 | 本田技研工业株式会社 | Accumulator configuration structure in electric vehicle |
| CN106080160A (en) * | 2016-08-23 | 2016-11-09 | 合肥工业大学 | A kind of Special vehicle chassis cell integral framework |
Similar Documents
| Publication | Publication Date | Title |
|---|---|---|
| CN102013465A (en) | Battery fixing device for electric automobile | |
| CN205439952U (en) | Support for electric truck power battery box | |
| CN200974460Y (en) | Accumulator stationary barrier for electric automobile | |
| CN202294982U (en) | Water tank upper beam assembly | |
| CN205168744U (en) | Electro -tricycle frame | |
| CN203401903U (en) | Installing structure of rear vibration damper | |
| CN203671029U (en) | Novel combined type cable hook | |
| CN207190976U (en) | A kind of heavy hauler battery installation structure | |
| CN202192958U (en) | Left/right trailing arm beam support of air suspension of passenger car | |
| CN106159143A (en) | Aluminum alloy battery box structure | |
| CN203006845U (en) | Hoisting trailer for dismounting and mounting automobile assembly | |
| CN202295120U (en) | Front footrest bracket assembly of motorcycle | |
| CN202280418U (en) | Ladder stand on loading machine | |
| CN202480822U (en) | Shock absorber suspension roof glue | |
| CN201143958Y (en) | Novel transition bracket for connecting horizontal beam and vertical beam | |
| CN201309509Y (en) | Novel fender support | |
| CN201592702U (en) | Supporting device for supporting leg | |
| CN201566697U (en) | Combined bracket mechanism of gas storage cylinder, regeneration cylinder and dryer of heavy truck | |
| CN204774494U (en) | Multi -functional empty filter support device | |
| CN210257979U (en) | Battery package mounting structure and car | |
| CN218316217U (en) | An installation structure of electric drive assembly of pure electric wide-body dump truck | |
| CN202923327U (en) | Support integrated air suspension assembly with lifting guide arm | |
| CN200951731Y (en) | Vibrating-proof supporter for high voltage current mutual inductor conveying | |
| CN203305834U (en) | Water tank radiator for agricultural vehicles | |
| CN2860970Y (en) | Frame structure for minisize car wing installation |
Legal Events
| Date | Code | Title | Description |
|---|---|---|---|
| C14 | Grant of patent or utility model | ||
| GR01 | Patent grant | ||
| ASS | Succession or assignment of patent right |
Owner name: ZHONGTAI HOLDING GROUP CO.,LTD. Free format text: FORMER OWNER: WU JIANZHONG Effective date: 20091106 |
|
| C41 | Transfer of patent application or patent right or utility model | ||
| TR01 | Transfer of patent right |
Effective date of registration: 20091106 Address after: No. 1 Beihu Road, hardware science and Technology Industrial Park, Zhejiang, Yongkang: 321301 Patentee after: Zotye Holding Group Co., Ltd. Address before: Guli town Yongkang city Zhejiang province Zhao village, zip code: 311300 Patentee before: Wu Jianzhong |
|
| C41 | Transfer of patent application or patent right or utility model | ||
| TR01 | Transfer of patent right |
Effective date of registration: 20151022 Address after: 321300 No. 9 Beihu Road, Yongkang Economic Development Zone, Zhejiang, China Patentee after: Zhejiang Zhongtai Automobile Manufacturing Co., Ltd. Address before: 321301 No. 1 Beihu Road, hardware science and Technology Industrial Park, Zhejiang, Yongkang Patentee before: Zotye Holding Group Co., Ltd. |
|
| CX01 | Expiry of patent term |
Granted publication date: 20071114 |
|
| EXPY | Termination of patent right or utility model |
