CN200961604Y - Combined insert element - Google Patents
Combined insert element Download PDFInfo
- Publication number
- CN200961604Y CN200961604Y CN 200620065244 CN200620065244U CN200961604Y CN 200961604 Y CN200961604 Y CN 200961604Y CN 200620065244 CN200620065244 CN 200620065244 CN 200620065244 U CN200620065244 U CN 200620065244U CN 200961604 Y CN200961604 Y CN 200961604Y
- Authority
- CN
- China
- Prior art keywords
- slot
- inserter
- abaculus
- plug
- outer plugin
- Prior art date
- Legal status (The legal status is an assumption and is not a legal conclusion. Google has not performed a legal analysis and makes no representation as to the accuracy of the status listed.)
- Expired - Fee Related
Links
- 230000002146 bilateral effect Effects 0.000 claims description 3
- 238000007789 sealing Methods 0.000 claims description 3
- 238000009434 installation Methods 0.000 description 4
- 230000015572 biosynthetic process Effects 0.000 description 1
- 239000004566 building material Substances 0.000 description 1
- 239000000470 constituent Substances 0.000 description 1
- 230000007812 deficiency Effects 0.000 description 1
- 230000000694 effects Effects 0.000 description 1
- 238000000034 method Methods 0.000 description 1
Images
Landscapes
- Assembled Shelves (AREA)
Abstract
The utility model relates to a combination connector, comprising an external inserter and an internal inserter, wherein the middle part of the external inserter is provided with a slot, one end of the slot is close, and the other end is open; two sides of a notch of the slot is symmetrically equipped with a plurality of inserted pieces; the internal inserter is an inserted piece whose two sides are provided with calking grooves and cross-section is in a I shape; the internal inserter is inserted in the slot of the external inserter through the inserted piece on the top of the internal inserter and connected as a whole through the cooperation of the inserted pieces arranged on the external inserter and the calking grooves disposed on the internal inserter; and the external inserter and the internal inserter are all provided with bolt holes. The utility model is characterized in that the inclined surface on the top of the slot of the external inserter is equipped with a locating pit, the corresponding position on the side of the top of the inserted piece of the internal inserter is provided with a protrusion, and the internal inserter is inserted in the slot of the external inserter and connected as a whole through the cooperation of the protrusion arranged on the back of internal inserter and the locating pit disposed on the slot of the external inserter, which makes all parts of the furniture to be installed conveniently with each other and hard to be detached with manpower after being installed. The connection structure is safe and firm.
Description
Technical field
The utility model relates to a kind of plug connector, specifically is a kind of assembly parts that each several part connects between furniture and the building materials that can be used for.
Background technique
The general employing of connection combination screw-nut between the existing furniture each several part connects or adopts nail to connect, when adopting screw-nut to connect, all need the dismounting between the assistant tool ability implementation structure when transportation and installation furniture, the comparison inconvenience seems, and the furniture that adopts nail to connect, because volume is difficult to carrying more greatly, also tend to destroy the structure of furniture during dismounting, and can occur between the furniture each several part of long back service time loosening.For addressing this problem, a kind of combined inserting spare has appearred in the prior art, as China Patent No. is the disclosed double-plug in of ZL02267688.0 space combiner, its structure is pegged graft by outer plugin and plug-in part and is formed, the plug surface of outer plugin and plug-in part becomes the wedge shape of same slope, be equipped with several funnel shaped sunk screw holes on outer plugin and the plug-in part, during use earlier outer plugin and plug-in part respectively by screw in the two-part joint of furniture, again the last end face of plug-in part is inserted in the groove of outer plugin, wedge shape plug surface formation drive fit by outer plugin and plug-in part is connected, when using the combined inserting spare connection furniture difference constituent element of this structure, must instrument, install quick and conveniently, but shortcoming is to connect the back under the effect of manpower, plug-in part and outer plugin are separated easily, make connection firm safely inadequately.
Summary of the invention
The utility model provides a kind of easy for installation, the combined inserting spare that attachment security is firm at above-mentioned existing problems and deficiency.
The technical solution of the utility model is achieved in that
A kind of combined inserting spare, comprise outer plugin and plug-in part, wherein, be provided with slot in the middle of the described outer plugin, an and end of this slot sealing, the other end opening, the notch bilateral symmetry of slot is provided with a plurality of abaculus, plug-in part is that both sides are provided with caulking groove and cross section is the abaculus of " worker " font, the caulking groove that abaculus that the abaculus of plug-in part by its top inserted in the slot that is embedded in outer plugin and be provided with by outer plugin and plug-in part are provided with matches and is connected as a single entity, be equipped with screw hole on outer plugin and the plug-in part, it is characterized in that: described external piece slot upper inclined surface is provided with positioning pit, the corresponding position of the upper side of plug-in part abaculus is provided with projection, and the positioning pit that projection that plug-in part is inserted in the slot that is embedded in outer plugin and is provided with by its rear portion and external piece slot are provided with matches and is connected as one.
Wherein, the middle part of the bi-side of above-mentioned plug-in part abaculus is made as parallel surface, and the upper and lower of the bi-side of abaculus is made as the inclined-plane, and the middle part of the fitting surface of Dui Ying outer plugin slot is made as parallel surface with it, and the upper and lower of the bi-side of slot is made as the inclined-plane.
Above-mentioned caulking groove is made as parallel surface near the middle part of a side of abaculus, and the upper and lower is made as the inclined-plane, and the fitting surface of the middle part abaculus of Dui Ying outer plugin is made as parallel surface with it, and the upper and lower abaculus is made as the inclined-plane.
The utility model is owing to adopted external piece slot upper inclined surface to be provided with positioning pit, the corresponding position of the upper side of plug-in part abaculus is provided with projection, the structural type that the positioning pit that projection that plug-in part is inserted in the slot be embedded in outer plugin and is provided with by its rear portion and external piece slot are provided with matches and is connected as one, make between the furniture each several part easy for installation, be difficult to after the installation disassemble with manpower, its linkage structure safety is firm.
Below in conjunction with accompanying drawing the utility model is further described.
Description of drawings
Fig. 1 is the structural representation that the utility model outer plugin and plug-in part cooperate;
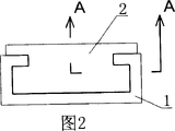
Fig. 2 is the plan structure schematic representation of the cooperation of the utility model outer plugin and plug-in part;
Fig. 3 shows A-A sectional structure schematic representation for Fig. 2;
Fig. 4 shows B-B sectional structure schematic representation for Fig. 2;
Fig. 5 is the structural representation of the utility model outer plugin;
Fig. 6 is the structural representation of the utility model plug-in part.
Embodiment
Extremely shown in Figure 6 as Fig. 1, the utility model is a kind of combined inserting spare, comprise outer plugin 1 and plug-in part 2, wherein, be provided with slot 11 in the middle of the outer plugin 1, an and end of this slot 11 sealing, the other end opening, the notch bilateral symmetry of slot 11 is provided with a plurality of abaculus 12, plug-in part 2 is provided with caulking groove 21 for both sides and cross section is the abaculus of " worker " font, the abaculus 22 of plug-in part 2 by its top insert in the slot that is embedded in outer plugin 1 11 and the caulking groove 21 that is provided with of the abaculus 12 that is provided with by outer plugin 1 and plug-in part 2 match and be connected as a single entity, be equipped with sunk screw hole 13 on outer plugin 1 and the plug-in part 2,23, the middle part of the bi-side of plug-in part 2 abaculus 22 is made as parallel surface 221, the upper and lower of the bi-side of abaculus 22 is made as inclined-plane 223,224, the middle part of the fitting surface of Dui Ying outer plugin 1 slot 11 is made as parallel surface 111 with it, and the upper and lower of the bi-side of slot 11 is made as inclined-plane 113,114; Caulking groove 21 is made as parallel surface 211 near the middle part of a side of abaculus 22, and the upper and lower is made as inclined-plane 212,213, and the fitting surface of the middle part abaculus 12 of Dui Ying outer plugin 1 is made as parallel surface 121 with it, and upper and lower abaculus 12 is made as inclined-plane 122,123; External piece 1 slot 11 upper inclined surface 113 are provided with positioning pit 114, the corresponding position of the upper side of plug-in part 2 abaculus 22 is provided with projection 225, and the positioning pit 114 that projection 225 that plug-in part 2 is inserted in the slot 11 that is embedded in outer plugin 1 and is provided with by its rear portion and external piece 1 slot 11 are provided with matches and is connected as one.
Although the utility model is to describe with reference to specific embodiment, this description and not meaning that is construed as limiting the utility model.With reference to description of the present utility model, other of the disclosed embodiments changes, and all can expect for those skilled in the art, and such variation should belong in the affiliated claim institute restricted portion.
Claims (3)
1, a kind of combined inserting spare, comprise outer plugin (1) and plug-in part (2), wherein, be provided with slot (11) in the middle of the described outer plugin (1), an and end of this slot (11) sealing, the other end opening, the notch bilateral symmetry of slot (11) is provided with a plurality of abaculus (12), described plug-in part (2) is provided with caulking groove (21) for both sides and cross section is the abaculus of " worker " font, described plug-in part (2) is inserted in the slot that is embedded in outer plugin (1) (11) by its top abaculus (22), the caulking groove (21) that abaculus (12) that outer plugin (1) is provided with and plug-in part (2) both sides are provided with matches, be equipped with screw hole (13 on described outer plugin (1) and the plug-in part (2), 23), it is characterized in that: described external piece (1) slot (11) upper inclined surface (113) is provided with positioning pit (114), the corresponding position of the upper side of described plug-in part (2) abaculus (22) is provided with projection (225), and the positioning pit (114) that projection (225) that described plug-in part (2) is inserted in the slot (11) that is embedded in outer plugin (1) and is provided with by its rear portion and external piece (1) slot (11) are provided with matches and is connected as one.
2, combined inserting spare according to claim 1, it is characterized in that: the middle part of the bi-side of above-mentioned plug-in part (2) abaculus (22) is made as parallel surface (221), the upper and lower of the bi-side of abaculus (22) is made as inclined-plane (223,224), the middle part of the fitting surface of Dui Ying outer plugin (1) slot (11) is made as parallel surface (111) with it, and the upper and lower of the bi-side of slot (11) is made as inclined-plane (113,114).
3, combined inserting spare according to claim 1, it is characterized in that: above-mentioned caulking groove (21) is made as parallel surface (211) near the middle part of a side of abaculus (22), the upper and lower is made as inclined-plane (212,213), the fitting surface of the middle part abaculus (12) of Dui Ying outer plugin (1) is made as parallel surface (121) with it, and upper and lower abaculus (12) is made as inclined-plane (122,123).
Priority Applications (1)
| Application Number | Priority Date | Filing Date | Title |
|---|---|---|---|
| CN 200620065244 CN200961604Y (en) | 2006-09-30 | 2006-09-30 | Combined insert element |
Applications Claiming Priority (1)
| Application Number | Priority Date | Filing Date | Title |
|---|---|---|---|
| CN 200620065244 CN200961604Y (en) | 2006-09-30 | 2006-09-30 | Combined insert element |
Publications (1)
| Publication Number | Publication Date |
|---|---|
| CN200961604Y true CN200961604Y (en) | 2007-10-17 |
Family
ID=38798119
Family Applications (1)
| Application Number | Title | Priority Date | Filing Date |
|---|---|---|---|
| CN 200620065244 Expired - Fee Related CN200961604Y (en) | 2006-09-30 | 2006-09-30 | Combined insert element |
Country Status (1)
| Country | Link |
|---|---|
| CN (1) | CN200961604Y (en) |
Cited By (3)
| Publication number | Priority date | Publication date | Assignee | Title |
|---|---|---|---|---|
| CN105650415A (en) * | 2016-03-30 | 2016-06-08 | 合肥惠科金扬科技有限公司 | Double-base structure of liquid crystal display equipment and liquid crystal display equipment |
| CN106704326A (en) * | 2015-08-04 | 2017-05-24 | 成都百年同程科技有限公司 | Connection structure |
| CN108757675A (en) * | 2018-06-29 | 2018-11-06 | 左右家居有限公司 | A kind of something or somebody to fall back on installation fittings and installation method |
-
2006
- 2006-09-30 CN CN 200620065244 patent/CN200961604Y/en not_active Expired - Fee Related
Cited By (4)
| Publication number | Priority date | Publication date | Assignee | Title |
|---|---|---|---|---|
| CN106704326A (en) * | 2015-08-04 | 2017-05-24 | 成都百年同程科技有限公司 | Connection structure |
| CN105650415A (en) * | 2016-03-30 | 2016-06-08 | 合肥惠科金扬科技有限公司 | Double-base structure of liquid crystal display equipment and liquid crystal display equipment |
| CN105650415B (en) * | 2016-03-30 | 2018-08-07 | 合肥惠科金扬科技有限公司 | The Double bottom holder structure and liquid crystal display of liquid crystal display |
| CN108757675A (en) * | 2018-06-29 | 2018-11-06 | 左右家居有限公司 | A kind of something or somebody to fall back on installation fittings and installation method |
Similar Documents
| Publication | Publication Date | Title |
|---|---|---|
| CN215054350U (en) | Energy-conserving glass curtain wall mounting structure | |
| CN202955081U (en) | Connection structure of pipe framework | |
| CN200961604Y (en) | Combined insert element | |
| CN201374339Y (en) | Solar cell-mounting clamp module | |
| CN211396379U (en) | Heat-preservation and heat-insulation decorative plate | |
| CN110425202A (en) | A kind of connector and plate fitment connection structure and plate fitment assemble method | |
| CN109004125B (en) | Tube concealed battery | |
| CN214499081U (en) | Concrete pipe sheet | |
| CN204801788U (en) | Side wall transition stand template structure | |
| CN106286509A (en) | Connector | |
| CN214941992U (en) | Wear-resisting type environmental protection floor | |
| CN2627120Y (en) | Interlinked lock catch floor | |
| CN2918621Y (en) | Floor high-low transition mouth reducing strip | |
| CN2365311Y (en) | Hook type mortise hole floor | |
| CN2791138Y (en) | Groove-like section material | |
| CN102829046B (en) | Method for assembling panel furniture | |
| CN201103206Y (en) | Insertion groove guard bar upright pole | |
| CN210509830U (en) | Connecting piece and plate-type furniture connecting structure using same | |
| CN216043388U (en) | High strength PC fan door mosaic structure | |
| CN208478877U (en) | A kind of power distribution cabinet nameplate mounting structure | |
| CN207298350U (en) | A kind of bursting diaphragm being easily installed | |
| CN2930480Y (en) | A screen connection structure | |
| CN2802234Y (en) | Elastic fastening ring | |
| CN214696314U (en) | Simple plug-in type aluminum plate curtain wall system | |
| CN218781207U (en) | Novel lamp plate member mounting structure |
Legal Events
| Date | Code | Title | Description |
|---|---|---|---|
| C14 | Grant of patent or utility model | ||
| GR01 | Patent grant | ||
| C17 | Cessation of patent right | ||
| CF01 | Termination of patent right due to non-payment of annual fee |
Granted publication date: 20071017 Termination date: 20091030 |