CN116407785A - An emergency fire-proof and heat-insulating aluminum-plastic film escape device and its application method - Google Patents
An emergency fire-proof and heat-insulating aluminum-plastic film escape device and its application method Download PDFInfo
- Publication number
- CN116407785A CN116407785A CN202310209393.6A CN202310209393A CN116407785A CN 116407785 A CN116407785 A CN 116407785A CN 202310209393 A CN202310209393 A CN 202310209393A CN 116407785 A CN116407785 A CN 116407785A
- Authority
- CN
- China
- Prior art keywords
- base
- symmetrical
- box
- plastic film
- heat
- Prior art date
- Legal status (The legal status is an assumption and is not a legal conclusion. Google has not performed a legal analysis and makes no representation as to the accuracy of the status listed.)
- Granted
Links
Images
Classifications
-
- A—HUMAN NECESSITIES
- A62—LIFE-SAVING; FIRE-FIGHTING
- A62B—DEVICES, APPARATUS OR METHODS FOR LIFE-SAVING
- A62B1/00—Devices for lowering persons from buildings or the like
- A62B1/20—Devices for lowering persons from buildings or the like by making use of sliding-ropes, sliding-poles or chutes, e.g. hoses, pipes, sliding-grooves, sliding-sheets
-
- Y—GENERAL TAGGING OF NEW TECHNOLOGICAL DEVELOPMENTS; GENERAL TAGGING OF CROSS-SECTIONAL TECHNOLOGIES SPANNING OVER SEVERAL SECTIONS OF THE IPC; TECHNICAL SUBJECTS COVERED BY FORMER USPC CROSS-REFERENCE ART COLLECTIONS [XRACs] AND DIGESTS
- Y02—TECHNOLOGIES OR APPLICATIONS FOR MITIGATION OR ADAPTATION AGAINST CLIMATE CHANGE
- Y02E—REDUCTION OF GREENHOUSE GAS [GHG] EMISSIONS, RELATED TO ENERGY GENERATION, TRANSMISSION OR DISTRIBUTION
- Y02E60/00—Enabling technologies; Technologies with a potential or indirect contribution to GHG emissions mitigation
- Y02E60/10—Energy storage using batteries
Landscapes
- Health & Medical Sciences (AREA)
- General Health & Medical Sciences (AREA)
- Business, Economics & Management (AREA)
- Emergency Management (AREA)
- Purses, Travelling Bags, Baskets, Or Suitcases (AREA)
- Ladders (AREA)
- Emergency Lowering Means (AREA)
Abstract
本发明公开了一种应急防火隔热铝塑膜逃生装置及其使用方法,属于逃生设备技术领域,包括箱体、底座a和底座b,箱体的上部设有底座a,箱体的下部设有底座b,箱体上开设有斜置滑道,滑道内设有挡环,挡环上套有固定环,固定环与逃生袋固定连接,箱体的顶部设有对称的凸起a,箱体的底部设有对称的凸起b,底座a的下部设有对称凹槽a,底座a的右侧设有凸起c,底座a的上部设有对称的插槽a,底座b的上部设有对称凹槽b,底座b的左侧设有凹槽c,底座b的上部设有对称的插槽b,箱体的正面和反面均设有对称上设有对称的连接件,连接件通过活动轴活动连接梯子,解决了现有逃生装置不能广泛应用的技术问题,主要应用于逃生。
The invention discloses an emergency fire-proof and heat-insulating aluminum-plastic film escape device and a use method thereof, belonging to the technical field of escape equipment, comprising a box body, a base a and a base b, the upper part of the box body is provided with the base a, and the lower part of the box body is provided with There is a base b, an oblique slideway is provided on the box body, a retaining ring is provided in the slideway, a fixing ring is set on the retaining ring, the fixing ring is fixedly connected with the escape bag, and a symmetrical protrusion a is provided on the top of the box body. The bottom of the box is provided with a symmetrical protrusion b, the lower part of the base a is provided with a symmetrical groove a, the right side of the base a is provided with a protrusion c, the upper part of the base a is provided with a symmetrical slot a, and the upper part of the base b is provided with a symmetrical groove a. There is a symmetrical groove b, the left side of the base b is provided with a groove c, the upper part of the base b is provided with a symmetrical slot b, and the front and back of the box are equipped with symmetrical connectors. The ladder is movably connected by the movable shaft, which solves the technical problem that the existing escape device cannot be widely used, and is mainly used for escape.
Description
技术领域technical field
本发明涉及逃生设备技术领域,具体为一种应急防火隔热铝塑膜逃生装置及其使用方法。The invention relates to the technical field of escape equipment, in particular to an emergency fire-proof and heat-insulating aluminum-plastic film escape device and a use method thereof.
背景技术Background technique
201810213270.9公开了一种楼房逃生袋,楼房逃生袋,包括布袋,所述布袋上一段开放式一段收紧式交错分布,所述收紧式布袋部分分三层,第一层为布袋,第二层为若干棉垫,第三层为若干圈式弹簧,圈式弹簧为由螺旋状弹簧围成一个圆构成圆圈形状的弹簧,棉垫通过布条固定在布袋外面,通过布条将圈式弹簧固定在棉垫外面,圈式弹簧的初始拉力为10-15公斤,圈式弹簧内圈最小周长为50-70厘米。本发明设计科学、操作简单,适合在楼房家庭中推广应用。201810213270.9 discloses a building escape bag. The building escape bag includes a cloth bag. One section of the cloth bag is open and the other is tightened in a staggered manner. The tightened cloth bag is divided into three layers. There are several cotton pads, and the third layer is several coil springs. The coil spring is a spring surrounded by a spiral spring to form a circle shape. The cotton pads are fixed outside the bag through cloth strips, and the coil springs are fixed by cloth strips. Outside the cotton pad, the initial tension of the coil spring is 10-15 kg, and the minimum circumference of the inner ring of the coil spring is 50-70 cm. The invention has scientific design and simple operation, and is suitable for popularization and application in buildings and families.
上述设备需要在楼房中专门安装一个平台才可以实现,我们知道对于现代的住房来讲,除非是自建房,其他房屋很难安装一个逃生平台来配合逃生袋进行逃生。现有的大部分住宅以及办公楼都无法独立安装上述设备来实现逃生。The above-mentioned equipment needs to be specially installed in the building with a platform. We know that for modern houses, unless it is a self-built house, it is difficult for other houses to install an escape platform to cooperate with the escape bag for escape. Most of the existing residences and office buildings cannot independently install the above-mentioned equipment to realize escape.
201320078746.5公开了一种垂挂式逃生袋,所述逃生袋为直筒形橡胶袋体结构,顶端口设有挂钩,底端口通过竖直橡胶柱连接缓冲垫;在逃生袋侧壁从上至下开设逃生口;在逃生袋的内壁从上至下设有多个减速袋,所述减速袋顶口与逃生袋内壁连接,底口采用缩口结构,整体为漏斗状结构,采用软材料制成。本实用新型具有设计合理、安全可靠、方便使用等优点。201320078746.5 discloses a hanging escape bag, the escape bag is a straight cylindrical rubber bag body structure, the top port is provided with a hook, and the bottom port is connected to the buffer pad through a vertical rubber column; an escape bag is provided on the side wall of the escape bag from top to bottom. Mouth; the inner wall of the escape bag is provided with a plurality of deceleration bags from top to bottom, the top mouth of the deceleration bag is connected with the inner wall of the escape bag, and the bottom mouth adopts a shrinking structure, which is a funnel-shaped structure as a whole and is made of soft materials. The utility model has the advantages of reasonable design, safety and reliability, convenient use and the like.
但是上述设备需要将逃生袋挂外固定栏杆上实现逃生,实际操作过程中有许多难处,当逃生袋挂在窗户外时,使用者进行逃生时,需要站在逃生袋边上才可以使用,此时就得需要防护装置,没有防护装置很难保证使用者的生命安全,此时相当于仍然需要独立建设一个防护平台才可以使用上述设备,在现有的住宅或办公楼中,很难实现每个房间都安装上述防护平台。However, the above-mentioned equipment needs to hang the escape bag on the external fixed railing to realize escape. There are many difficulties in the actual operation process. When the escape bag is hung outside the window, the user needs to stand on the side of the escape bag to use it when escaping. Protective devices must be needed, without protective devices, it is difficult to ensure the safety of users. At this time, it is equivalent to still need to build a protective platform independently to use the above-mentioned equipment. In the existing residential or office buildings, it is difficult to realize every The above-mentioned protective platforms are installed in each room.
于是申请人经过研究对上述设备进行改进,使逃生设备可以同时满足不同房屋来进行独立安装,并不需要额外制造逃生平台,而且在使用过程中还能保证使用者的生命安全、使用起来更方便。Therefore, the applicant improved the above-mentioned equipment after research, so that the escape equipment can be installed independently in different houses at the same time, without the need to manufacture an additional escape platform, and it can also ensure the safety of the user during use, and it is more convenient to use .
发明内容Contents of the invention
为了解决背景技术中的技术问题,本发明提供了一种应急防火隔热铝塑膜逃生装置及其使用方法,采用的技术方案如下:In order to solve the technical problems in the background technology, the present invention provides an emergency fire-proof and heat-insulating aluminum-plastic film escape device and its use method. The adopted technical scheme is as follows:
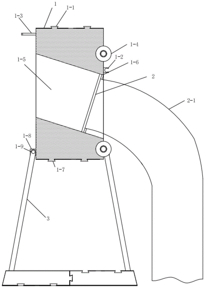
一种应急防火隔热铝塑膜逃生装置,其特征在于,包括箱体、底座a和底座b,箱体的材料可以根据需要进行调整,一般采用防火材料制作而成,箱体的上部设有底座a,箱体的下部设有底座b,箱体、底座a和底座b具有一定的重量,足以支撑整个装置在使用过程中不倾斜,箱体上开设有斜置滑道,滑道用于逃生者滑落,所述的滑道内设有挡环,挡环上套有固定环,固定环与逃生袋固定连接,箱体的顶部设有对称的凸起a,箱体的底部设有对称的凸起b,底座a的下部设有对称凹槽a,底座a的右侧设有凸起c,底座a的上部设有对称的插槽a,底座b的上部设有对称凹槽b,底座b的左侧设有凹槽c,底座b的上部设有对称的插槽b,凸起a与凹槽a相对应,凸起b与凹槽b相对应,凸起c与凹槽c相对应,箱体的正面和反面均设有对称上设有对称的连接件,所述的连接件通过活动轴活动连接梯子,箱体的反面设有固定件,固定件用于固定连接梯子。An emergency fire-proof and heat-insulating aluminum-plastic film escape device is characterized in that it includes a box body, a base a and a base b, the material of the box body can be adjusted according to needs, and is generally made of fireproof materials. The base a, the lower part of the box is provided with the base b, the box, the base a and the base b have a certain weight, enough to support the whole device not to tilt during use, the box is provided with an inclined slideway, the slideway is used for When the escapee slides down, the slideway is provided with a retaining ring, the retaining ring is covered with a fixed ring, the fixed ring is fixedly connected with the escape bag, the top of the box is provided with a symmetrical protrusion a, and the bottom of the box is provided with a symmetrical The lower part of the base a is provided with a symmetrical groove a, the right side of the base a is provided with a protrusion c, the upper part of the base a is provided with a symmetrical slot a, and the upper part of the base b is provided with a symmetrical groove b, The left side of the base b is provided with a groove c, the upper part of the base b is provided with a symmetrical slot b, the protrusion a corresponds to the groove a, the protrusion b corresponds to the groove b, and the protrusion c corresponds to the groove c Correspondingly, the front and back sides of the box body are provided with symmetrical connecting pieces, and the connecting piece is movably connected to the ladder through the movable shaft, and the back side of the box body is provided with a fixing piece, which is used for fixedly connecting the ladder.
优选地:为了保证设备稳定,所述的底座a和底座b的下部分别设有防滑层a和防滑层b。优选地:为了方便移动,所述的箱体上设有一组轮子。Preferably: in order to ensure the stability of the equipment, the lower parts of the base a and the base b are respectively provided with an anti-slip layer a and an anti-slip layer b. Preferably: for the convenience of moving, a set of wheels is provided on the box.
优选地:为了方便攀爬,所述的箱体的正面还设有拉手。Preferably: in order to facilitate climbing, a handle is provided on the front of the box.
优选地:为了达到更好的隔热效果,逃生袋的外层设有隔热铝塑膜。Preferably: in order to achieve a better heat insulation effect, the outer layer of the escape bag is provided with a heat-insulating aluminum-plastic film.
本发明的工作原理如下:将底座a和底座b从箱体上取出来,并将底座a和底座b连接在一起形成底座;将两边的梯子分别翻转使梯子3的底部固定于插槽a和插槽b中;将固定环套在挡环上卡紧形成固定,然后再将逃生袋从上向下扔;使用者站在梯子向上并用手拉住拉手,然后从滑道中滑落至地面即可。The working principle of the present invention is as follows: the base a and the base b are taken out from the box body, and the base a and the base b are connected together to form a base; the ladders on both sides are turned over respectively so that the bottom of the ladder 3 is fixed in the slot a and In the slot b; set the fixing ring on the retaining ring to fix it, and then throw the escape bag from top to bottom; the user stands on the ladder and holds the handle with his hand, and then slides down from the slide to the ground .
与现有技术相比,本发明具有如下优点:本发明可以在任何家庭中摆放,通过本发明的设计,任何家庭和房间都可以使用上述设备,结构简单、不使用时占用空间较小,利用自身结构对逃生袋进行存放,在需要使用时,仅需要将上述设备安装在一起,整个操作时间不超过二分钟,可以满足快速逃生的要求,是本领域的首创,适于全面推广和应用。Compared with the prior art, the present invention has the following advantages: the present invention can be placed in any family, through the design of the present invention, any family and room can use the above-mentioned equipment, the structure is simple, and the space occupied is small when not in use, Utilize its own structure to store the escape bag. When it needs to be used, you only need to install the above equipment together. The whole operation time does not exceed two minutes, which can meet the requirements of rapid escape. It is the first initiative in this field and is suitable for comprehensive promotion and application. .
附图说明:Description of drawings:
图1为本发明的组装结构图;Fig. 1 is the assembled structural diagram of the present invention;
图2为本发明不使用时的结构图;Fig. 2 is the structural diagram when the present invention is not in use;
图3为本发明使用时的内部结构图;Fig. 3 is the internal structure diagram when the present invention is used;
图4为本发明使用时的侧视图a;Fig. 4 is a side view a when the present invention is in use;
图5为本发明使用时的侧视图b;Fig. 5 is a side view b when the present invention is in use;
图6本发明的底座部分结构图;Fig. 6 is a structural diagram of the base part of the present invention;
图7为本发明的使用状态图。Fig. 7 is a diagram of the use state of the present invention.
具体实施方式:Detailed ways:
下面将结合本发明实例中的附图,对本发明的一个具体实施方式进行清晰、完整地描述,但应当理解本发明的保护范围并不受到具体实施方式的限制。基于本发明中的实施方式,本领域内其他技术人员在没有做出创造性的工作前提下,所采用的其他实施例,都属于本发明的保护范围。A specific embodiment of the present invention will be clearly and completely described below in conjunction with the accompanying drawings in the examples of the present invention, but it should be understood that the protection scope of the present invention is not limited by the specific embodiment. Based on the implementation manner in the present invention, other embodiments adopted by other skilled persons in the art without making creative work, all belong to the protection scope of the present invention.
实施例1Example 1
如图1、图3、图4、图5、图6所示:As shown in Figure 1, Figure 3, Figure 4, Figure 5, and Figure 6:
一种应急防火隔热铝塑膜逃生装置,其特征在于,包括箱体1、底座a4和底座b5,箱体1的上部设有底座a4,箱体1的下部设有底座b5,箱体1上开设有斜置滑道1-5,所述的滑道1-5内设有挡环1-6,挡环1-6上套有固定环2,固定环2与逃生袋2-1固定连接,箱体1的顶部设有对称的凸起a1-1,箱体1的底部设有对称的凸起b1-7,底座a4的下部设有对称凹槽a4-2,底座a4的右侧设有凸起c4-1,底座a4的上部设有对称的插槽a4-3,底座b5的上部设有对称凹槽b5-1,底座b5的左侧设有凹槽c5-2,底座b5的上部设有对称的插槽b5-3,凸起a1-1与凹槽a4-2相对应,凸起b1-7与凹槽b5-1相对应,凸起c4-1与凹槽c5-2相对应,箱体1的正面和反面均设有对称上设有对称的连接件1-8,所述的连接件1-8通过活动轴1-9活动连接梯子3,箱体1的反面设有固定件1-10,固定件1-10用于活动连接梯子3,梯子可以自由围绕活动轴1-9旋转,所述的箱体1上设有一组轮子1-4,轮子1-4用于装置的移动,所述的箱体1的正面还设有拉手1-3,拉手1-3用于人们在逃生过程中进行攀爬,所述的逃生袋2-1的外层设有隔热铝塑膜,所述的底座a4和底座b5的下部分别设有防滑层a4-4和防滑层b5-4。An emergency fire-proof and heat-insulating aluminum-plastic film escape device, characterized in that it includes a box body 1, a base a4 and a base b5, the upper part of the box body 1 is provided with a base a4, the lower part of the box body 1 is provided with a base b5, and the box body 1 There is an inclined slideway 1-5 on the top, and a retaining ring 1-6 is provided in the slideway 1-5, and a
如图2所示:本发明在平时不使用时,整个设备是一个长方体的结构,整个逃生袋2-1收藏在滑道1-5中保存,当需要移动时,仅需要用手推拉手1-3便可,As shown in Figure 2: when the present invention is not in use at ordinary times, the entire device is a cuboid structure, and the entire escape bag 2-1 is stored in the slideway 1-5 for storage, and when it needs to be moved, it is only necessary to push and pull the handle 1 by hand -3 is enough,
如图7所示:当需要逃生时,按以下步骤进行操作:As shown in Figure 7: When escape is required, follow the steps below:
步骤1:将底座a4和底座b5从箱体1上取出来,并将底座a4和底座b5连接在一起形成底座;Step 1: Take out base a4 and base b5 from box body 1, and connect base a4 and base b5 together to form a base;
步骤2:将两边的梯子3分别翻转使梯子3的底部固定于插槽a4-3和插槽b5-3中;步骤3:将固定环2套在挡环1-6上卡紧形成固定,然后再将逃生袋2-1从上向下扔;步骤4:使用者站在梯子3向上并用手拉住拉手1-3,然后从滑道1-5中滑落至地面即可。Step 2: Flip the ladder 3 on both sides to fix the bottom of the ladder 3 in the slot a4-3 and slot b5-3; Step 3: Put the
此外,应当理解,虽然本说明书按照实施方式加以描述,但并非每个实施方式仅包含一个独立的技术方案,说明书的这种叙述方式仅仅是为清楚起见,本领域技术人员应当将说明书作为一个整体,各实施例中的技术方案也可以经适当组合,形成本领域技术人员可以理解的其他实施方式。In addition, it should be understood that although this specification is described according to implementation modes, not each implementation mode only includes an independent technical solution, and this description in the specification is only for clarity, and those skilled in the art should take the specification as a whole , the technical solutions in the various embodiments can also be properly combined to form other implementations that can be understood by those skilled in the art.
Claims (6)
Priority Applications (1)
| Application Number | Priority Date | Filing Date | Title |
|---|---|---|---|
| CN202310209393.6A CN116407785B (en) | 2023-03-07 | 2023-03-07 | An emergency fireproof and heat-insulating aluminum-plastic film escape device and its use method |
Applications Claiming Priority (1)
| Application Number | Priority Date | Filing Date | Title |
|---|---|---|---|
| CN202310209393.6A CN116407785B (en) | 2023-03-07 | 2023-03-07 | An emergency fireproof and heat-insulating aluminum-plastic film escape device and its use method |
Publications (2)
| Publication Number | Publication Date |
|---|---|
| CN116407785A true CN116407785A (en) | 2023-07-11 |
| CN116407785B CN116407785B (en) | 2025-10-24 |
Family
ID=87057290
Family Applications (1)
| Application Number | Title | Priority Date | Filing Date |
|---|---|---|---|
| CN202310209393.6A Active CN116407785B (en) | 2023-03-07 | 2023-03-07 | An emergency fireproof and heat-insulating aluminum-plastic film escape device and its use method |
Country Status (1)
| Country | Link |
|---|---|
| CN (1) | CN116407785B (en) |
Citations (4)
| Publication number | Priority date | Publication date | Assignee | Title |
|---|---|---|---|---|
| US6382352B1 (en) * | 2001-01-16 | 2002-05-07 | Alfonzo Dowe, Sr. | Deployable emergency escape ladder |
| CN109078272A (en) * | 2018-07-27 | 2018-12-25 | 天津润木科技有限公司 | A kind of stowable safe escape device |
| CN212662475U (en) * | 2020-07-15 | 2021-03-09 | 刘志东 | Novel high-rise escape device |
| CN216788265U (en) * | 2022-01-24 | 2022-06-21 | 中建七局(上海)有限公司 | A emergency ladder that is used for site operation to have a safety protection function |
-
2023
- 2023-03-07 CN CN202310209393.6A patent/CN116407785B/en active Active
Patent Citations (4)
| Publication number | Priority date | Publication date | Assignee | Title |
|---|---|---|---|---|
| US6382352B1 (en) * | 2001-01-16 | 2002-05-07 | Alfonzo Dowe, Sr. | Deployable emergency escape ladder |
| CN109078272A (en) * | 2018-07-27 | 2018-12-25 | 天津润木科技有限公司 | A kind of stowable safe escape device |
| CN212662475U (en) * | 2020-07-15 | 2021-03-09 | 刘志东 | Novel high-rise escape device |
| CN216788265U (en) * | 2022-01-24 | 2022-06-21 | 中建七局(上海)有限公司 | A emergency ladder that is used for site operation to have a safety protection function |
Also Published As
| Publication number | Publication date |
|---|---|
| CN116407785B (en) | 2025-10-24 |
Similar Documents
| Publication | Publication Date | Title |
|---|---|---|
| CN104027895A (en) | A rapid descent bracket suitable for high-rise escape | |
| CN116407785A (en) | An emergency fire-proof and heat-insulating aluminum-plastic film escape device and its application method | |
| CN111569303A (en) | A safety protection device based on outdoor deep well rescue | |
| CN107648762A (en) | A kind of device of escape and rescue | |
| CN205323036U (en) | Inflatable lifesaving slide way | |
| CN111997347B (en) | Safe escape system for lifting hanging basket for building construction | |
| TWM462124U (en) | Escape device for building | |
| CN201337770Y (en) | Life preserver used for self-rescue on high-rise building | |
| CN207861814U (en) | One kind climbing wall bicycle | |
| CN104759040B (en) | A kind of high building is sought survival system | |
| CN111375149A (en) | Folding high-altitude escape channel | |
| CN111268604B (en) | A support frame of a distribution network low-voltage line junction box | |
| CN211313329U (en) | Multifunctional combined hanging basket | |
| CN220929262U (en) | Fire escape ladder | |
| CN211201724U (en) | Wisdom city is with emergent emergency escape ladder | |
| CN204246697U (en) | The building of intake type slide and composition thereof | |
| CN212973902U (en) | Externally-hung foldable slowly-descending escape ladder | |
| CN211004067U (en) | Rail type refuge ladder | |
| CN109884758B (en) | High altitude is with optic fibre operation protection device, optic fibre guiding mechanism and optic fibre case | |
| CN204485113U (en) | A kind of high building is sought survival system | |
| CN217480758U (en) | A safety anti-fall device for housing construction | |
| CN219963776U (en) | High-altitude fire rescue device | |
| CN205730003U (en) | The rope of a kind of high-rise circulation escape device slows down and recovery structure | |
| CN219721725U (en) | An escape passage and high-rise escape device | |
| CN218285771U (en) | Cell phone case installation base with stop gear |
Legal Events
| Date | Code | Title | Description |
|---|---|---|---|
| PB01 | Publication | ||
| PB01 | Publication | ||
| SE01 | Entry into force of request for substantive examination | ||
| SE01 | Entry into force of request for substantive examination | ||
| GR01 | Patent grant | ||
| GR01 | Patent grant |
