CN116390360A - 一种自动翻转印刷机及印刷方法 - Google Patents

一种自动翻转印刷机及印刷方法 Download PDF

Info

Publication number
CN116390360A
CN116390360A CN202310620982.3A CN202310620982A CN116390360A CN 116390360 A CN116390360 A CN 116390360A CN 202310620982 A CN202310620982 A CN 202310620982A CN 116390360 A CN116390360 A CN 116390360A
Authority
CN
China
Prior art keywords
carrier
station
circuit board
printing
turnover
Prior art date
Legal status (The legal status is an assumption and is not a legal conclusion. Google has not performed a legal analysis and makes no representation as to the accuracy of the status listed.)
Granted
Application number
CN202310620982.3A
Other languages
English (en)
Other versions
CN116390360B (zh
Inventor
陈嘉进
张魁金
Current Assignee (The listed assignees may be inaccurate. Google has not performed a legal analysis and makes no representation or warranty as to the accuracy of the list.)
Shandong Yuqing Zhijia Intelligent Technology Co ltd
Original Assignee
Dongguan Zhunrui Automation Equipment Co ltd
Priority date (The priority date is an assumption and is not a legal conclusion. Google has not performed a legal analysis and makes no representation as to the accuracy of the date listed.)
Filing date
Publication date
Application filed by Dongguan Zhunrui Automation Equipment Co ltd filed Critical Dongguan Zhunrui Automation Equipment Co ltd
Priority to CN202310620982.3A priority Critical patent/CN116390360B/zh
Publication of CN116390360A publication Critical patent/CN116390360A/zh
Application granted granted Critical
Publication of CN116390360B publication Critical patent/CN116390360B/zh
Active legal-status Critical Current
Anticipated expiration legal-status Critical

Links

Images

Classifications

    • HELECTRICITY
    • H05ELECTRIC TECHNIQUES NOT OTHERWISE PROVIDED FOR
    • H05KPRINTED CIRCUITS; CASINGS OR CONSTRUCTIONAL DETAILS OF ELECTRIC APPARATUS; MANUFACTURE OF ASSEMBLAGES OF ELECTRICAL COMPONENTS
    • H05K3/00Apparatus or processes for manufacturing printed circuits
    • HELECTRICITY
    • H05ELECTRIC TECHNIQUES NOT OTHERWISE PROVIDED FOR
    • H05KPRINTED CIRCUITS; CASINGS OR CONSTRUCTIONAL DETAILS OF ELECTRIC APPARATUS; MANUFACTURE OF ASSEMBLAGES OF ELECTRICAL COMPONENTS
    • H05K3/00Apparatus or processes for manufacturing printed circuits
    • H05K3/0094Filling or covering plated through-holes or blind plated vias, e.g. for masking or for mechanical reinforcement
    • HELECTRICITY
    • H05ELECTRIC TECHNIQUES NOT OTHERWISE PROVIDED FOR
    • H05KPRINTED CIRCUITS; CASINGS OR CONSTRUCTIONAL DETAILS OF ELECTRIC APPARATUS; MANUFACTURE OF ASSEMBLAGES OF ELECTRICAL COMPONENTS
    • H05K3/00Apparatus or processes for manufacturing printed circuits
    • H05K3/10Apparatus or processes for manufacturing printed circuits in which conductive material is applied to the insulating support in such a manner as to form the desired conductive pattern
    • H05K3/12Apparatus or processes for manufacturing printed circuits in which conductive material is applied to the insulating support in such a manner as to form the desired conductive pattern using thick film techniques, e.g. printing techniques to apply the conductive material or similar techniques for applying conductive paste or ink patterns
    • H05K3/1216Apparatus or processes for manufacturing printed circuits in which conductive material is applied to the insulating support in such a manner as to form the desired conductive pattern using thick film techniques, e.g. printing techniques to apply the conductive material or similar techniques for applying conductive paste or ink patterns by screen printing or stencil printing
    • YGENERAL TAGGING OF NEW TECHNOLOGICAL DEVELOPMENTS; GENERAL TAGGING OF CROSS-SECTIONAL TECHNOLOGIES SPANNING OVER SEVERAL SECTIONS OF THE IPC; TECHNICAL SUBJECTS COVERED BY FORMER USPC CROSS-REFERENCE ART COLLECTIONS [XRACs] AND DIGESTS
    • Y02TECHNOLOGIES OR APPLICATIONS FOR MITIGATION OR ADAPTATION AGAINST CLIMATE CHANGE
    • Y02PCLIMATE CHANGE MITIGATION TECHNOLOGIES IN THE PRODUCTION OR PROCESSING OF GOODS
    • Y02P70/00Climate change mitigation technologies in the production process for final industrial or consumer products
    • Y02P70/50Manufacturing or production processes characterised by the final manufactured product

Landscapes

  • Engineering & Computer Science (AREA)
  • Manufacturing & Machinery (AREA)
  • Microelectronics & Electronic Packaging (AREA)
  • Manufacturing Of Printed Wiring (AREA)

Abstract

本发明公开了一种自动翻转印刷机及印刷方法,包括设有工作台的机身,工作台上设有X轴双位滑轨和Z轴滑轨,X轴双位滑轨上滑动设有可交错移动的的第一载具和第二载具,X轴双位滑轨的两端分别为第一工位和第二工位,第一工位上设有塞孔印刷机构,第二工位上设有白网印刷机构,Z轴滑轨固定在第二工位上方并滑动连接有可沿Z轴移动的翻转机构,翻转机构可将位于第二工位上的电路板夹持、抬高并翻转,使电路板翻面朝上待印刷,第一载具和第二载具可交错运动,翻转机构自动对印刷板翻面,操作人员全程只需站在第一工位上进行放料和取料,操作简单方便,有效缩减设备体积,一机多用,降低人工成本,提高机械自动化程度,适合规模化生产。

Description

一种自动翻转印刷机及印刷方法
技术领域
本发明属于制品的加工领域,具体是一种自动翻转印刷机及印刷方法。
背景技术
双面印刷电路板,也称为双面电镀直通或DSPT,通过使用过孔在顶层和底层之间交替,它可以实现更近或更多的布线轨迹,在双面电路板的制作过程中,先在孔内填充铜材,在后续加工中还需要对电路板两面的进行整面进行白网印刷,为了避免印刷材料塞入孔内堵塞或溢出,需要先用树脂进行塞孔工序作为预防手段,再分别对电路板两面分别整面印刷;
目前现有的电路板双面印刷工序通常是由多台设备组成,通过输送带或人工运料联合形成一整条生产加工线,依次经过塞孔机塞孔、印刷机第一面印刷、人工(或翻面机)取料翻料、再放印刷机第二面印刷,才能完成塞孔和双面印刷的全部工序,设备繁杂体积大,所需生产空间大,通常还需要多个操作人员分别在不同工位上进行放料、翻料和取料操作,操作麻烦,人工成本高,且多台设备运行的生产耗能高,不利于规模化生产。
发明内容
(1)要解决的技术问题
针对现有技术的不足,本发明的目的在于提供一种自动翻转印刷机及印刷方法,旨在解决现有技术下电路板双面印刷设备体积大、操作不便、人工成本高、设备耗能高的技术问题。
(2)技术方案
本发明提供了一种自动翻转印刷机,包括设有工作台的机身,所述工作台上设有X轴双位滑轨和Z轴滑轨,所述X轴双位滑轨上滑动设有可交错移动的用于运载电路板的第一载具和第二载具,所述X轴双位滑轨的两端分别为第一工位和第二工位,所述第一工位上设有塞孔印刷机构,所述第二工位上设有白网印刷机构,所述Z轴滑轨固定在第二工位上方并滑动连接有可沿Z轴上下移动的翻转机构,所述翻转机构可将位于第二工位上的电路板夹持、抬高并翻转,使电路板翻面朝上待印刷,所述翻转机构抬高电路板时,白网印刷机构同步抬高对翻转形成避位。
进一步的是,所述第一载具从第一工位向第二工位移动时,第二载具同时从第二工位向第一工位移动。
进一步的是,所述第一载具和第二载具侧边均设置有用于对翻转机构夹持电路板时形成避位的避位槽。
进一步的是,所述电路板位于第二工位上印刷时,所述翻转机构位于第一载具或第二载具下方,所述白网印刷机构位于第一载具或第二载具上方。
进一步的是,所述翻转机构包括滑动安装在Z轴滑轨上的固定长板、滑动安装在固定长板上的两个翻料夹臂、供翻料夹臂沿X轴方向移动夹臂滑轨、安装在翻转夹臂一端可沿X轴旋转的固定块以及安装在固定块上的若干翻转夹,所述翻转夹包括可相互分离或靠近的上夹和下夹。
进一步的是,所述固定长板的长度大于电路板的长度,所述两翻料夹臂上的翻转夹之间的最大距离大于电路板的长度。
进一步的是,所述翻转夹的下夹固定设置在固定块上,所述下夹上方设有上滑轨,翻转夹的上夹滑动安装在上滑轨上,且上夹可由驱动气缸带动沿Z轴上下滑动。
进一步的是,X轴双位滑轨包括固定在工作台上的两个第一滑轨、位于两个第一滑轨之间的两个第二滑轨,所述第一滑轨上设有用于支撑第一载具沿X轴水平移动的第一支撑座,所述第二滑轨上设有用于支撑第二载具沿X轴水平移动的第二支撑座,所述第一支撑座高于第二支撑座,所述第一滑轨和第二滑轨之间设有载具驱动机构,所述载具驱动机构包括内圈带棘齿的环形皮带和载具电机,所述第一支撑座和第二支撑座侧边分别设有第一连接件和第二连接件与环形皮带的棘齿啮合固定,使第一支撑座和第二支撑座分别固定在环形皮带上环边和下环边上。
进一步的是,所述工作台侧边还设有两个控制面板,所述控制面板位于第一工位两侧。
本发明还提供了一种印刷方法,包括上述的自动翻转印刷机,印刷方法包括以下步骤:
S1:操作人员在第一工位处的第一载具上放置待加工的电路板;
S2:在操作面板上启动自动翻转印刷机,所述第一工位上的塞孔印刷机构下压并对第一载具上的电路板进行塞孔工序;
S3:塞孔完成后,载具驱动机构驱动第一载具从第一工位移动至第二工位,同时驱动第二载具从第二工位移动至第一工位;
S4:第二工位上的白网印刷机构启动下压,并对第一载具上的电路板进行一面印刷;
S5:一面印刷完成后,白网印刷机构抬起,翻转机构下降夹持电路板两侧,执行抬起、翻转操作,从而将电路板待印刷的另一面翻转朝上,同时载具驱动机构驱动第一载具从第二工位移动至第一工位,驱动第二载具从第一工位移动至第二工位;
S6:翻转机构翻转完成后,翻转机构带动翻面完成的电路板下降并松开放置在第二载具上,同时,如步骤S1,操作人员在第一工位处的第一载具上放置新的待加工的另一电路板;
S7:白网印刷机构启动下压,并对第二载具上的电路板进行二面印刷,同时,如步骤S2,塞孔印刷机构下压并对第一载具上新放的电路板进行塞孔工序;
S8:印刷完成后,载具驱动机构驱动第二载具运载成品电路板从第二工位移动至第一工位,同时,如步骤S3,第一工位上的塞孔操作同步完成,第一载具被载具驱动机构带动从第一工位移动至第二工位;
S9:操作人员将第二载具上的成品电路板取下,循环步骤S4-S8。
(3)有益效果
与现有技术相比,本发明的有益效果在于:
本发明中通过设置可在X轴双位滑轨上错位移动的第一载具和第二载具,使操作人员将待加工的电路板放在第一工位上塞孔并由第一载具带动转移至第二工位的同时,第二载具可将完成双面印刷的成品电路板运载至第一工位上,待第一载具从第一工位处移开,由操作人员取下第二载具上的成品电路板,随后第二载具移动至第二工位上等待翻转机构将待印刷第二面的电路板放下,而此时第一载具又回到第一工位上供操作人员放置新的待加工电路板,以此往复,操作人员全程只需站在第一工位上进行放料和取料,操作十分简单方便,且有效缩减了设备体积,一机多用,降低人工成本,提高机械自动化程度,有效节省生产加工成本,适合规模化生产。
附图说明
图1是现有技术示意图。
图2是本发明的立体结构图。
图3是本发明的塞孔印刷机构抬起状态立体结构图。
图4是本发明的第一载具和第二载具立体结构图。
图5是本发明的Z轴滑轨、翻转机构和电路板组合状态示意图。
图6是本发明的其中一个翻料夹臂结构示意图。
图7是本发明的工作台上的X轴双位滑轨和第一支撑座、第二支撑座组合状态立体结构图。
图8是本发明的工作台上的X轴双位滑轨俯视图。
图9是本发明的载具驱动机构和第一连接块、第二连接块组合状态立体结构图。
图10是本发明的印刷方法步骤示意图。
附图标记:1-机身;11-电路板;2-工作台;21-X轴双位滑轨;211-第一工位;212-第二工位;22-Z轴滑轨;23-第一滑轨;231-第一支撑座;232-第一连接件;24-第二滑轨;241-第二支撑座;242-第二连接件;25-载具驱动机构;26-环形皮带;261-棘齿;262-上环边;263-下环边;27-载具电机;31-第一载具;32-第二载具;33-避位槽;41-塞孔印刷机构;42-白网印刷机构;43-翻转机构;431-固定长板;432-翻料夹臂;433-夹臂滑轨;434-固定块;435-翻转夹;4351-下夹;4352-上夹;4353-上滑轨;4354-驱动气缸;5-控制面板。
具体实施方式
下面将结合本发明实施例中的附图,对本发明实施例中的技术方案进行清楚、完整地描述。
如图2-5所示,本发明提供了一种自动翻转印刷机,包括设有工作台2的机身1,所述工作台2上设有X轴双位滑轨21和Z轴滑轨22,所述X轴双位滑轨21上滑动设有可上下交错移动的用于运载电路板11的第一载具31和第二载具32,所述X轴双位滑轨21的两端分别为第一工位211和第二工位212,印刷机进行启动工作前,第一载具31和第二载具32分别停留在第一工位211和第二工位212上,所述第一工位211上设有塞孔印刷机构41,所述第二工位212上设有白网印刷机构42,所述Z轴滑轨22固定在第二工位212上方,其上滑动连接有可沿Z轴上下移动的翻转机构43,所述翻转机构43可将位于第二工位212上的电路板11夹持、抬高并翻转,使电路板11翻面朝上待印刷,所述翻转机构43抬高电路板11时,白网印刷机构42同步抬高对翻转形成避位。
如图4所示,本发明中的第一载具31在Z轴方向上高于第二载具32,当第一载具31和第二载具32交汇时,第一载具31从第二载具32正上方经过,设备启动时,第一载具31位于第一工位211上,其上方对应的是塞孔印刷机构41,第二载具32位于第二工位212上,其上方对应的是白网印刷机构42,在一较佳实施例中,第一载具31所承担工作职责是:在第一工位211接收待加工电路板11→等待塞孔工序完成→移动至第二工位212→等待一面印刷完成→等待翻转机构43夹持电路板11抬起→移动至第一工位211等待接收操作人员放新料;而第二载具32所承担的工作职责是:在第二工位212待翻转机构43翻面后接收电路板11→等待二面印刷完成→移动至第一工位211等待操作人员取料→移动至第二工位212等待接收翻面后的电路板11,其中第一载具31在从第一工位211移动至第二工位212的同时,第二载具32也从第二工位212移动至第一工位211,两者交汇时各自运载不同加工状态下的电路板11,互不干扰,具体如下:
工作时,由操作人员将待加工的电路板11放置在位于第一工位211处的第一载具31上,塞孔印刷机构41对第一载具31上的电路板11进行塞孔工序,电路板11在第一工位211上完成塞孔后,塞孔印刷机构41抬起,第一载具31沿X轴双位滑轨21从第一工位211移动至第二工位212后停止移动,此时第一载具31上的电路板11一面朝上与白网印刷机构42相对,另一面与第一载具31接触,白网印刷机构42对移动至第二工位212的第一载具31上的电路板11进行单面印刷,完成单面印刷后,白网印刷机构42抬起,翻转机构43将第二工位212上的电路板11夹持并抬起,使电路板11沿Z轴方向移动并与第一载具31分离,在抬起一定高度后(即电路板11可自由翻转且不磕碰到其他机构的高度),翻转机构43将电路板11翻转180度,使电路板11完成单面印刷的一面朝向工作台2,空白的另一面与白网印刷机构42相对,在翻转机构43将电路板11夹持脱离与第一载具31的接触时,第一载具31从第二工位212滑动复位至第一工位211上,而第二工位212上的第二载具32暴露出来,翻转机构43对电路板11完成翻转后,将电路板11沿Z轴向下移动至第二载具32上,使电路板11完成印刷的一面与第二载具32相接触,而空白的一面朝上由白网印刷机构42对其进行印刷,从而在第二工位212上完成对电路板11的双面印刷工序,最后第二载具32沿X轴双位滑轨21移动至第一工位211处,由操作人员将第二载具32上的成品电路板11取下即可;
本发明中的自动翻转印刷机通过设置可在X轴双位滑轨21上错位移动的第一载具31和第二载具32,使操作人员将待加工的电路板11放在第一工位211上塞孔并由第一载具31带动转移至第二工位212的同时,第二载具32可将完成双面印刷的成品电路板11运载至第一工位211上,待第一载具31从第一工位211处移开,由操作人员取下第二载具32上的成品电路板11,随后第二载具32移动至第二工位212上等待翻转机构43将待印刷第二面的电路板11放下,而此时第一载具31又回到第一工位211上供操作人员放置新的待加工电路板11,以此往复,操作人员全程只需站在第一工位211上进行放料和取料,操作十分简单方便,相比于现有技术需要通过多设备依次经过塞孔机塞孔、印刷机一面印刷、人工取料翻板、放印刷机二面印刷,才能完成塞孔和双面印刷的全部工序,且设备繁杂所占用生产空间大,通常还需要两个操作人员分别在两头放料和取料,本发明的自动翻转印刷机有效缩减了设备体积,一机多用(可塞孔、可一面印刷、可自动翻面、可二面印刷),且降低人工成本,提高机械自动化程度,有效节省生产加工成本,适合规模化生产。
要说明的是,上述实施例是将第一载具31和第二载具32的运行合理分化的较佳设置,在其他实施例中,可以设置第一载具31和第二载具32分别运载单个电路板11完成全部工序,例如,第一载具31在第一工位211上接收一块待加工电路板11后,等待完成塞孔工序,将电路板11运载至第二工位212,等待一面印刷、翻面、二面印刷全部全程后再由第一载具31将成品电路板11运载回到第一工位211等待取料,在第一载具31运载该电路板11的同时,第二载具32可运载另一块电路板11等待第一载具31完成上一工序离开后移动至该工序位置下等待进行电路板11的加工。
还要说明的是,由于电路板11整体较薄且贴放在第一载具31或第二载具32上方,翻转机构43夹持电路板11不便,因此在第一载具31和第二载具32侧边均设置有避位槽33,当翻转机构43夹持电路板11时,可从避位槽33处与电路板11下方接触,从而方便将电路板11从第一载具31或第二载具32上沿Z轴向上抬起脱离。
当本发明中的所述电路板11位于第二工位212上印刷时,所述翻转机构43位于第一载具31或第二载具32下方,而用于对电路板11进行印刷操作的白网印刷机构42位于第一载具31或第二载具32上方,并对第一载具31或第二载具32上放置的电路板11朝上的一面进行印刷操作,通过设置翻转机构43在印刷时位于第一载具31或第二载具32下方,使翻转机构43对白网印刷机构42进行避位,从而避免翻转机构43对白网印刷机构42的印刷操作造成妨碍。
要说明的是,在本发明实施例中,翻转机构43是通过第一载具31和第二载具32上所设置的避位槽33进行下沉避位的,在另一些实施例中,也可以通过翻转机构43的多角度移动来实现将翻转机构43移动至第一载具31或第二载具32下方,因此本发明中的翻转机构43不仅仅局限于通过避位槽33进行下沉避位,仅作为一种较优实施方式。
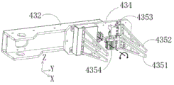
如图5和图6所示,本发明中的翻转机构43包括滑动安装在Z轴滑轨22上的固定长板431、滑动安装在固定长板431上的两个翻料夹臂432、供翻料夹臂432沿X轴方向移动夹臂滑轨433、安装在翻转夹435臂一端可沿X轴旋转的固定块434以及安装在固定块434上的若干翻转夹435,所述翻转夹435包括可相互分离或靠近的上夹4352和下夹4351,通过上夹4352和下夹4351的相互分离,使翻转夹435呈打开状态,随后通过固定长板431沿Z轴滑轨22上下调整翻转夹435位置,使其位于电路板11两侧,两翻料夹臂432沿夹臂滑轨433相向移动(即两翻料夹臂432相互靠拢),使电路板11位于打开的翻转夹435之间(即此时电路板11位于上夹4352和下夹4351之间),由于第一载具31和第二载具32上设有避位槽33,下夹4351可从避位槽33处插入第一载具31或第二载具32中,从而下夹4351与电路板11下方接触准备夹持,而上夹4352对应位于电路板11的上方准备夹持,随后上夹4352和下夹4351相互靠近使翻转夹435逐渐闭合至可夹持住电路板11的状态,待上夹4352和下夹4351位置稳定后,固定长板431沿Z轴滑轨22向上移动至合适位置,固定块434沿X轴旋转180度,进而带动固定块434上翻转夹435所夹持的电路板11翻转180度,从而将电路板11翻面以便于进行二面印刷,通过设置可自动夹取、翻面的翻转机构43,实现了对电路板11进行自动翻面的作用,避免需要人工翻面对生产效率的降低和人工成本的增加。
要说明的是,所述固定长板431的长度大于电路板11的长度,所述两翻料夹臂432上翻转夹435之间的最大距离大于电路板11的长度,这样当两翻料夹臂432沿Z轴滑轨22上下滑动时不会接触到电路板11,同时翻料夹臂432上的翻转夹435随着翻料夹臂432上下滑动时也不会与电路板11接触,从而避免翻转夹435在夹持电路板11之前磕碰到电路板11造成不良品流出的风险。
本发明实施例中翻转夹435的下夹4351固定设置在固定块434上,所述下夹4351上方设有上滑轨4353,翻转夹435的上夹4352滑动安装在上滑轨4353上,且上夹4352可由驱动气缸4354带动沿Z轴上下滑动,通过设置下夹4351固定上夹4352可活动,一方面只需要一个驱动气缸4354即可实现翻转夹435的打开和闭合状态的转换,节省生产动力输出,另一方面将下夹4351固定有利于下夹4351对避位槽33的定位,因避位槽33位置限定,将下夹4351对位插入避位槽33中只需控制固定长板431在Z轴滑轨22上的位置即可,从而简化机械运行操作,避免下夹4351活动对位不准导致对电路板11的夹取不牢固。
如图7-9所示,本发明中的X轴双位滑轨21包括固定在工作台2上的两个第一滑轨23、位于两个第一滑轨23之间的两个第二滑轨24,所述第一滑轨23上设有用于支撑第一载具31沿X轴水平移动的第一支撑座231,所述第二滑轨24上设有用于支撑第二载具32沿X轴水平移动的第二支撑座241,所述第一支撑座231高于第二支撑座241,所述第一滑轨23和第二滑轨24之间设有载具驱动机构25,所述载具驱动机构25包括内圈带棘齿261的环形皮带26和载具电机27,所述第一支撑座231和第二支撑座241侧边分别设有第一连接件232和第二连接件242与环形皮带26的棘齿261啮合固定,使第一支撑座231和第二支撑座241分别固定在环形皮带26上环边262和下环边263上,由于环形皮带26在转动时,其上环边262和下环边263的运动方向是相反的,因此可以通过载具电机27驱动环形皮带26转动,进而带动上环边262和下环边263所固定的第一支撑座231和第二支撑座241相反方向移动,从而实现第一载具31和第二载具32在第一工位211和第二工位212上交错移动。
本发明中的工作台2侧边还设有两个控制面板5,所述控制面板5位于第一工位211两侧,因操作人员只需要站在第一工位211对应的设备位置处进行放料和取料,因此将控制面板5设置在第一工位211两侧,一方面便于操作人员对第一工位211和第二工位212上的设备进行调整控制,另一方面可随时控制设备开启和停止,操作安全方便。
本发明还在使用上述自动翻转印刷机的基础上提供了一种印刷方法,如图10所示,印刷方法包括以下步骤:
S1:操作人员在第一工位211处的第一载具31上放置待加工的电路板11;
S2:在操作面板上启动自动翻转印刷机,所述第一工位211上的塞孔印刷机构41下压并对第一载具31上的电路板11进行塞孔工序;
S3:塞孔完成后,载具驱动机构25驱动第一载具31从第一工位211移动至第二工位212,同时驱动第二载具32从第二工位212移动至第一工位211;
S4:第二工位212上的白网印刷机构42启动下压,并对第一载具31上的电路板11进行一面印刷;
S5:一面印刷完成后,白网印刷机构42抬起,翻转机构43下降夹持电路板11两侧,执行抬起、翻转操作,从而将电路板11待印刷的另一面翻转朝上,同时载具驱动机构25驱动第一载具31从第二工位212移动至第一工位211,驱动第二载具32从第一工位211移动至第二工位212;
S6:翻转机构43翻转完成后,翻转机构43带动翻面完成的电路板11下降并松开放置在第二载具32上,同时,如步骤S1,操作人员在第一工位211处的第一载具31上放置新的待加工的另一电路板11;
S7:白网印刷机构42启动下压,并对第二载具32上的电路板11进行二面印刷,同时,如步骤S2,塞孔印刷机构41下压并对第一载具31上新放的电路板11进行塞孔工序;
S8:印刷完成后,载具驱动机构25驱动第二载具32运载成品电路板11从第二工位212移动至第一工位211,同时,如步骤S3,第一工位211上的塞孔操作同步完成,第一载具31被载具驱动机构25带动从第一工位211移动至第二工位212;
S9:操作人员将第二载具32上的成品电路板11取下,如此循环步骤S4-S8。
对于本领域技术人员而言,显然本发明不限于上述示范性实施例的细节,而且在不背离本发明的精神或基本特征的情况下,能够以其他的具体形式实现本发明。因此,无论从哪一点来看,均应将实施例看作是示范性的,而且是非限制性的,本发明的范围由所附权利要求而不是上述说明限定,因此旨在将落在权利要求的等同要件的含义和范围内的所有变化囊括在本发明内。不应将权利要求中的任何附图标记视为限制所涉及的权利要求。
此外,应当理解,虽然本说明书按照实施方式加以描述,但并非每个实施方式仅包含一个独立的技术方案,说明书的这种叙述方式仅仅是为清楚起见,本领域技术人员应当将说明书作为一个整体,各实施例中的技术方案也可以经适当组合,形成本领域技术人员可以理解的其他实施。

Claims (10)

1.一种自动翻转印刷机,其特征在于:包括设有工作台(2)的机身(1),所述工作台(2)上设有X轴双位滑轨(21)和Z轴滑轨(22),所述X轴双位滑轨(21)上滑动设有可交错移动的用于运载电路板(11)的第一载具(31)和第二载具(32),所述X轴双位滑轨(21)的两端分别为第一工位(211)和第二工位(212),所述第一工位(211)上设有塞孔印刷机构(41),所述第二工位(212)上设有白网印刷机构(42),所述Z轴滑轨(22)固定在第二工位(212)上方并滑动连接有可沿Z轴上下移动的翻转机构(43),所述翻转机构(43)可将位于第二工位(212)上的电路板(11)夹持、抬高并翻转,使电路板(11)翻面朝上待印刷,所述翻转机构(43)抬高电路板(11)时,白网印刷机构(42)同步抬高对翻转形成避位。
2.根据权利要求1所述的一种自动翻转印刷机,其特征在于:所述第一载具(31)从第一工位(211)向第二工位(212)移动时,第二载具(32)同时从第二工位(212)向第一工位(211)移动。
3.根据权利要求2所述的一种自动翻转印刷机,其特征在于:所述第一载具(31)和第二载具(32)侧边均设置有用于对翻转机构(43)夹持电路板(11)时形成避位的避位槽(33)。
4.根据权利要求1所述的一种自动翻转印刷机,其特征在于:所述电路板(11)位于第二工位(212)上印刷时,所述翻转机构(43)位于第一载具(31)或第二载具(32)下方,所述白网印刷机构(42)位于第一载具(31)或第二载具(32)上方。
5.根据权利要求4所述的一种自动翻转印刷机,其特征在于:所述翻转机构(43)包括滑动安装在Z轴滑轨(22)上的固定长板(431)、滑动安装在固定长板(431)上的两个翻料夹臂(432)、供翻料夹臂(432)沿X轴方向移动夹臂滑轨(433)、安装在翻转夹(435)臂一端可沿X轴旋转的固定块(434)以及安装在固定块(434)上的若干翻转夹(435),所述翻转夹(435)包括可相互分离或靠近的上夹(4352)和下夹(4351)。
6.根据权利要求5所述的一种自动翻转印刷机,其特征在于:所述固定长板(431)的长度大于电路板(11)的长度,所述两翻料夹臂(432)上的翻转夹(435)之间的最大距离大于电路板(11)的长度。
7.根据权利要求6所述的一种自动翻转印刷机,其特征在于:所述翻转夹(435)的下夹(4351)固定设置在固定块(434)上,所述下夹(4351)上方设有上滑轨(4353),翻转夹(435)的上夹(4352)滑动安装在上滑轨(4353)上,且上夹(4352)可由驱动气缸(4354)带动沿Z轴上下滑动。
8.根据权利要求1所述的一种自动翻转印刷机,其特征在于:X轴双位滑轨(21)包括固定在工作台(2)上的两个第一滑轨(23)、位于两个第一滑轨(23)之间的两个第二滑轨(24),所述第一滑轨(23)上设有用于支撑第一载具(31)沿X轴水平移动的第一支撑座(231),所述第二滑轨(24)上设有用于支撑第二载具(32)沿X轴水平移动的第二支撑座(241),所述第一支撑座(231)高于第二支撑座(241),所述第一滑轨(23)和第二滑轨(24)之间设有载具驱动机构(25),所述载具驱动机构(25)包括内圈带棘齿(261)的环形皮带(26)和载具电机(27),所述第一支撑座(231)和第二支撑座(241)侧边分别设有第一连接件(232)和第二连接件(242)与环形皮带(26)的棘齿(261)啮合固定,使第一支撑座(231)和第二支撑座(241)分别固定在环形皮带(26)上环边(262)和下环边(263)上。
9.根据权利要求1所述的一种自动翻转印刷机,其特征在于:所述工作台(2)侧边还设有两个控制面板(5),所述控制面板(5)位于第一工位(211)两侧。
10.一种印刷方法,其特征在于:包括权利要求1-9中任意一项所述的自动翻转印刷机,印刷方法包括以下步骤:
S1:操作人员在第一工位(211)处的第一载具(31)上放置待加工的电路板(11);
S2:在操作面板上启动自动翻转印刷机,所述第一工位(211)上的塞孔印刷机构(41)下压并对第一载具(31)上的电路板(11)进行塞孔工序;
S3:塞孔完成后,载具驱动机构(25)驱动第一载具(31)从第一工位(211)移动至第二工位(212),同时驱动第二载具(32)从第二工位(212)移动至第一工位(211);
S4:第二工位(212)上的白网印刷机构(42)启动下压,并对第一载具(31)上的电路板(11)进行一面印刷;
S5:一面印刷完成后,白网印刷机构(42)抬起,翻转机构(43)下降夹持电路板(11)两侧,执行抬起、翻转操作,从而将电路板(11)待印刷的另一面翻转朝上,同时载具驱动机构(25)驱动第一载具(31)从第二工位(212)移动至第一工位(211),驱动第二载具(32)从第一工位(211)移动至第二工位(212);
S6:翻转机构(43)翻转完成后,翻转机构(43)带动翻面完成的电路板(11)下降并松开放置在第二载具(32)上,同时,如步骤S1,操作人员在第一工位(211)处的第一载具(31)上放置新的待加工的另一电路板(11);
S7:白网印刷机构(42)启动下压,并对第二载具(32)上的电路板(11)进行二面印刷,同时,如步骤S2,塞孔印刷机构(41)下压并对第一载具(31)上新放的电路板(11)进行塞孔工序;
S8:印刷完成后,载具驱动机构(25)驱动第二载具(32)运载成品电路板(11)从第二工位(212)移动至第一工位(211),同时,如步骤S3,第一工位(211)上的塞孔操作同步完成,第一载具(31)被载具驱动机构(25)带动从第一工位(211)移动至第二工位(212);
S9:操作人员将第二载具(32)上的成品电路板(11)取下,循环步骤S4-S8。
CN202310620982.3A 2023-05-30 2023-05-30 一种自动翻转印刷机及印刷方法 Active CN116390360B (zh)

Priority Applications (1)

Application Number Priority Date Filing Date Title
CN202310620982.3A CN116390360B (zh) 2023-05-30 2023-05-30 一种自动翻转印刷机及印刷方法

Applications Claiming Priority (1)

Application Number Priority Date Filing Date Title
CN202310620982.3A CN116390360B (zh) 2023-05-30 2023-05-30 一种自动翻转印刷机及印刷方法

Publications (2)

Publication Number Publication Date
CN116390360A true CN116390360A (zh) 2023-07-04
CN116390360B CN116390360B (zh) 2023-10-03

Family

ID=86969752

Family Applications (1)

Application Number Title Priority Date Filing Date
CN202310620982.3A Active CN116390360B (zh) 2023-05-30 2023-05-30 一种自动翻转印刷机及印刷方法

Country Status (1)

Country Link
CN (1) CN116390360B (zh)

Cited By (2)

* Cited by examiner, † Cited by third party
Publication number Priority date Publication date Assignee Title
CN120396533A (zh) * 2025-07-03 2025-08-01 浙江工正智能设备股份有限公司 打印平台及印刷机
CN120942929A (zh) * 2025-09-30 2025-11-14 苏州晟丰电子科技有限公司 一种流线式生产且节省空间的印刷机

Citations (6)

* Cited by examiner, † Cited by third party
Publication number Priority date Publication date Assignee Title
JPS5489267A (en) * 1977-12-27 1979-07-16 Matsushita Electric Industrial Co Ltd Apparatus for inverting printed board
CN101400214A (zh) * 2008-10-31 2009-04-01 广东正业科技有限公司 一种印刷电路板翻板机构
CN102285204A (zh) * 2011-07-12 2011-12-21 湖北星聚工业印刷设备有限公司 自动翻片装置
CN102862377A (zh) * 2012-10-16 2013-01-09 昆山双特科技有限公司 一种全自动双面丝印一体机
CN105500914A (zh) * 2016-01-07 2016-04-20 苏州市璟硕自动化设备有限公司 自动印刷生产系统
CN109677885A (zh) * 2019-01-24 2019-04-26 深圳市海铭德科技有限公司 一种印刷电路板自动翻面装置及印刷电路板自动翻面方法

Patent Citations (6)

* Cited by examiner, † Cited by third party
Publication number Priority date Publication date Assignee Title
JPS5489267A (en) * 1977-12-27 1979-07-16 Matsushita Electric Industrial Co Ltd Apparatus for inverting printed board
CN101400214A (zh) * 2008-10-31 2009-04-01 广东正业科技有限公司 一种印刷电路板翻板机构
CN102285204A (zh) * 2011-07-12 2011-12-21 湖北星聚工业印刷设备有限公司 自动翻片装置
CN102862377A (zh) * 2012-10-16 2013-01-09 昆山双特科技有限公司 一种全自动双面丝印一体机
CN105500914A (zh) * 2016-01-07 2016-04-20 苏州市璟硕自动化设备有限公司 自动印刷生产系统
CN109677885A (zh) * 2019-01-24 2019-04-26 深圳市海铭德科技有限公司 一种印刷电路板自动翻面装置及印刷电路板自动翻面方法

Cited By (3)

* Cited by examiner, † Cited by third party
Publication number Priority date Publication date Assignee Title
CN120396533A (zh) * 2025-07-03 2025-08-01 浙江工正智能设备股份有限公司 打印平台及印刷机
CN120942929A (zh) * 2025-09-30 2025-11-14 苏州晟丰电子科技有限公司 一种流线式生产且节省空间的印刷机
CN120942929B (zh) * 2025-09-30 2025-12-23 苏州晟丰电子科技有限公司 一种流线式生产且节省空间的印刷机

Also Published As

Publication number Publication date
CN116390360B (zh) 2023-10-03

Similar Documents

Publication Publication Date Title
CN116390360B (zh) 一种自动翻转印刷机及印刷方法
CN111348409A (zh) 一种自动移载翻面机构及喷印系统
CN109911571B (zh) 一种自动旋转翻转装置
CN104228318B (zh) 一种多机头全自动印刷设备
CN111430771A (zh) 一种锂电池自动激光焊接及贴膜一体设备
CN110510380A (zh) 一种电路板自动翻板机
CN211034302U (zh) 精密工件多工位上下料装置
CN201506066U (zh) 加工作业的送料装置
CN211989447U (zh) 一种点胶重工设备
CN212197398U (zh) 一种自动移载翻面机构及喷印系统
CN117031886A (zh) 曝光设备以及曝光设备的曝光方法
CN207558946U (zh) 化成设备
CN110842580B (zh) 一种双芯电容全自动焊接系统
CN213922985U (zh) 自动化移载翻转输送设备
CN109671809A (zh) 排版机构以及太阳能电池片焊接机
CN210709460U (zh) 一种电路板自动翻板机
CN215557153U (zh) 机械手下料装置
CN116081279B (zh) 电芯贴胶产线
CN218987977U (zh) 一种翻转式pcb摆盘机
CN206663997U (zh) 印制电子喷墨打印机及印制电子生产线
CN113346119B (zh) 液流电池板框组件自动预装线
CN109877636A (zh) 一种拉床的自动上下料装置及方法
CN212602281U (zh) 一种多层电路板用精密钻孔机
CN116871857A (zh) 一种电池拆分设备及拆分方法
CN212330192U (zh) 一种瓦楞板拼焊专机

Legal Events

Date Code Title Description
PB01 Publication
PB01 Publication
SE01 Entry into force of request for substantive examination
SE01 Entry into force of request for substantive examination
TA01 Transfer of patent application right
TA01 Transfer of patent application right

Effective date of registration: 20230810

Address after: Room 101, 238 Chashan Zhanqian Road, Chashan Town, Dongguan City, Guangdong Province, 523000

Applicant after: Dongguan Muzhun Automation Machinery Equipment Co.,Ltd.

Address before: 523000 Room 102, 231 Nanhuang Road, Zhongtang Town, Dongguan City, Guangdong Province

Applicant before: DONGGUAN ZHUNRUI AUTOMATION EQUIPMENT Co.,Ltd.

GR01 Patent grant
GR01 Patent grant
TR01 Transfer of patent right

Effective date of registration: 20250812

Address after: 276800 Shandong Province, Rizhao City, Rizhao ShanhaiTian Tourism and Vacation Area, Liangcheng Street, ShanhaiTian Intelligent Manufacturing Industrial Park, Building 4, 1st to 2nd floors entire floor

Patentee after: Shandong Yuqing Zhijia Intelligent Technology Co.,Ltd.

Country or region after: China

Address before: Room 101, 238 Chashan Zhanqian Road, Chashan Town, Dongguan City, Guangdong Province, 523000

Patentee before: Dongguan Muzhun Automation Machinery Equipment Co.,Ltd.

Country or region before: China