CN116353019A - 一种高分子复合电缆桥架一体成型系统及其产品 - Google Patents

一种高分子复合电缆桥架一体成型系统及其产品 Download PDF

Info

Publication number
CN116353019A
CN116353019A CN202310569925.7A CN202310569925A CN116353019A CN 116353019 A CN116353019 A CN 116353019A CN 202310569925 A CN202310569925 A CN 202310569925A CN 116353019 A CN116353019 A CN 116353019A
Authority
CN
China
Prior art keywords
runner
unit
polymer composite
feeding
composite cable
Prior art date
Legal status (The legal status is an assumption and is not a legal conclusion. Google has not performed a legal analysis and makes no representation as to the accuracy of the status listed.)
Pending
Application number
CN202310569925.7A
Other languages
English (en)
Inventor
吕文勇
Current Assignee (The listed assignees may be inaccurate. Google has not performed a legal analysis and makes no representation or warranty as to the accuracy of the list.)
Hebei Yanwu Explodeproof Electrical Equipment Co ltd
Original Assignee
Hebei Yanwu Explodeproof Electrical Equipment Co ltd
Priority date (The priority date is an assumption and is not a legal conclusion. Google has not performed a legal analysis and makes no representation as to the accuracy of the date listed.)
Filing date
Publication date
Application filed by Hebei Yanwu Explodeproof Electrical Equipment Co ltd filed Critical Hebei Yanwu Explodeproof Electrical Equipment Co ltd
Priority to CN202310569925.7A priority Critical patent/CN116353019A/zh
Publication of CN116353019A publication Critical patent/CN116353019A/zh
Pending legal-status Critical Current

Links

Images

Classifications

    • BPERFORMING OPERATIONS; TRANSPORTING
    • B29WORKING OF PLASTICS; WORKING OF SUBSTANCES IN A PLASTIC STATE IN GENERAL
    • B29CSHAPING OR JOINING OF PLASTICS; SHAPING OF MATERIAL IN A PLASTIC STATE, NOT OTHERWISE PROVIDED FOR; AFTER-TREATMENT OF THE SHAPED PRODUCTS, e.g. REPAIRING
    • B29C48/00Extrusion moulding, i.e. expressing the moulding material through a die or nozzle which imparts the desired form; Apparatus therefor
    • B29C48/15Extrusion moulding, i.e. expressing the moulding material through a die or nozzle which imparts the desired form; Apparatus therefor incorporating preformed parts or layers, e.g. extrusion moulding around inserts
    • BPERFORMING OPERATIONS; TRANSPORTING
    • B29WORKING OF PLASTICS; WORKING OF SUBSTANCES IN A PLASTIC STATE IN GENERAL
    • B29CSHAPING OR JOINING OF PLASTICS; SHAPING OF MATERIAL IN A PLASTIC STATE, NOT OTHERWISE PROVIDED FOR; AFTER-TREATMENT OF THE SHAPED PRODUCTS, e.g. REPAIRING
    • B29C48/00Extrusion moulding, i.e. expressing the moulding material through a die or nozzle which imparts the desired form; Apparatus therefor
    • B29C48/001Combinations of extrusion moulding with other shaping operations
    • B29C48/0022Combinations of extrusion moulding with other shaping operations combined with cutting
    • BPERFORMING OPERATIONS; TRANSPORTING
    • B29WORKING OF PLASTICS; WORKING OF SUBSTANCES IN A PLASTIC STATE IN GENERAL
    • B29CSHAPING OR JOINING OF PLASTICS; SHAPING OF MATERIAL IN A PLASTIC STATE, NOT OTHERWISE PROVIDED FOR; AFTER-TREATMENT OF THE SHAPED PRODUCTS, e.g. REPAIRING
    • B29C48/00Extrusion moulding, i.e. expressing the moulding material through a die or nozzle which imparts the desired form; Apparatus therefor
    • B29C48/25Component parts, details or accessories; Auxiliary operations
    • B29C48/27Cleaning; Purging; Avoiding contamination
    • YGENERAL TAGGING OF NEW TECHNOLOGICAL DEVELOPMENTS; GENERAL TAGGING OF CROSS-SECTIONAL TECHNOLOGIES SPANNING OVER SEVERAL SECTIONS OF THE IPC; TECHNICAL SUBJECTS COVERED BY FORMER USPC CROSS-REFERENCE ART COLLECTIONS [XRACs] AND DIGESTS
    • Y02TECHNOLOGIES OR APPLICATIONS FOR MITIGATION OR ADAPTATION AGAINST CLIMATE CHANGE
    • Y02PCLIMATE CHANGE MITIGATION TECHNOLOGIES IN THE PRODUCTION OR PROCESSING OF GOODS
    • Y02P70/00Climate change mitigation technologies in the production process for final industrial or consumer products
    • Y02P70/10Greenhouse gas [GHG] capture, material saving, heat recovery or other energy efficient measures, e.g. motor control, characterised by manufacturing processes, e.g. for rolling metal or metal working

Landscapes

  • Engineering & Computer Science (AREA)
  • Mechanical Engineering (AREA)
  • Extrusion Moulding Of Plastics Or The Like (AREA)

Abstract

本发明属于高分子复合电缆桥架技术领域,特别涉及一种高分子复合电缆桥架一体成型系统及其产品,所述成型系统包括进料单元、挤压单元和整型单元,所述挤压单元包括模具本体,所述模具本体上设有贯穿其内部的骨架通道和共挤流道,其中,所述共挤流道包括位于所述骨架通道内侧的内流道和位于所述骨架通道外侧的外流道,所述共挤流道的形状与所述骨架通道相适配。本发明能够实现高分子复合电缆桥架一次、一体成型,可大大提高产品的生产效率,减少人工使用,降低人工成本,也能在一定程度上提高产品的强度,提高产品质量。

Description

一种高分子复合电缆桥架一体成型系统及其产品
技术领域
本发明属于高分子复合电缆桥架技术领域,特别涉及一种高分子复合电缆桥架一体成型系统及其产品,产品涵盖的规格可以包括电缆桥架截面宽度50--1200mm,高度50--500mm等高分子复合电缆桥架一次成型的产品。
背景技术
目前市场电缆桥架按材质分分为以下几种:玻璃钢桥架、不锈钢桥架、铝合金桥架、热镀锌桥架、防火桥架、高分子桥架以及高分子复合电缆桥架;
其中高分子复合电缆桥架即高分子合金电缆桥架,其大致结构为内部的金属骨架以及复合在金属骨架表面的高分子材料,与传统产品相比,它具有耐热性强、热膨胀系数低、阻燃性好、绝缘性高、耐腐蚀性强、强度高、使用寿命长等优点;但其生产过程较复杂,生产效率较低,目前高分子复合电缆桥架包括横担(底板)两侧的侧边,横担与两侧的侧边均分别单独生产成型,在通过组装工装,对横担以及两侧的侧边进行组装固定以形成整体,一般通过螺栓连接固定,整个生产过程比较繁琐,工序较多,浪费大量人工,且其连接强度有待提高,整体产品的强度还有待提高。
因此如何实现一体、一次成型是我们的研发方向,是否能够实现一体、一次成型的关键在于成型模具,目前市面上还没有适用于高分子复合电缆桥架一体、一次成型的成型模具。
发明内容
本发明提供一种高分子复合电缆桥架一体成型系统及其产品,可以解决背景技术中所指出的问题。
本申请实施例的目的之一,在于提供一种高分子复合电缆桥架一体成型系统,包括进料单元、挤压单元和整型单元,所述挤压单元包括模具本体,所述模具本体上设有贯穿其内部的骨架通道和共挤流道,其中,所述共挤流道包括位于所述骨架通道内侧的内流道和位于所述骨架通道外侧的外流道,所述共挤流道的形状与所述骨架通道相适配;
所述骨架通道用于容纳第一物料,所述内流道用于容纳第二物料,所述外流道用于容纳第三物料;所述模具本体包括依次设置的头段、均匀分散段以及复合成型段,所述骨架通道一端与所述共挤流道一端相汇通,不同物料依次经过所述头段、均匀分散段,以使不同物料在所述复合成型段进行复合成型,并由模具出口出料。
作为一可选实施例,所述模具本体的一端设有导流件,所述导流件一端连接在所述骨架通道上,并通过另一端的导向将内流道以及外流道与骨架通道在模具出口处相汇通。
作为一可选实施例,所述导流设置在所述复合成型段内,其另一端为锥形部。
作为一可选实施例,所述内流道以及外流道分别与设置在模具本体上的内流道入料口以及外流道入料口连通;
所述内流道入料口以及外流道入料口与供料管连通,所述供料管内设有分隔板,通过分隔板实现对内流道以及外流道的分别供料。
作为一可选实施例,所述挤压单元上还设有加热机构,所述加热机构包括加热棒、热电偶和温度控制箱,所述加热机构分别位于所述模具本体的两侧,所述加热棒和所述热电偶依次插入到所述模具本体的内部,所述加热棒与所述热电偶通过导线与所述温度控制箱连接。
作为一可选实施例,所述进料单元包括一对对称设置的进料架以及连接两个进料架的进料连接杆,两个所述的进料架之间安装有多个水平辊轴,其中一个所述进料架的顶部开设有一排螺栓孔,所述的螺栓孔内匹配设有紧固螺栓,所述紧固螺栓与进料架之间设有一个调节片,所述的调节片上开设有一个长条形通孔,所述的紧固螺栓穿过长条形通孔将调节片固定在进料架上,所述调节片的内端顶部安装有竖向辊轴,通过所述进料单元运输所述第一物料。
作为一可选实施例,所述整型单元包括冲孔机构和残料收集机构,所述冲孔机构包括底座,所述底座上设置有支架,所述支架上设置有固定架,所述固定架上设置有液压缸,所述液压缸的下端设置有冲头。
作为一可选实施例,所述成型系统还包括冷却单元,所述冷却单元位于所述挤压单元与所述整型单元之间;
所述冷却单元包括支撑架、设置在所述的支撑架上的冷却套、与所述的冷却套相连接的冷却水管、设置在所述的冷却套下方的废弃水通道。
作为一可选实施例,所述成型系统还包括清洁单元,所述清洁单元位于所述进料单元与所述挤压单元之间;
所述清洁单元包括立架,所述立架的上侧固接有能够便于所述第一物料通过的框体,所述框体的上侧以及下侧分别固接有能够朝向板材上下两表面喷气的喷嘴,所述框体的一侧还固接有两分别与喷嘴连通的喷气管。
本申请实施例的目的之一,还在于提供一种高分子复合电缆桥架成型产品,其特征在于,该产品通过权利要求前述的高分子复合电缆桥架成型系统生产而成。
本申请实施例的有益效果:
本发明提供一种高分子复合电缆桥架一体成型系统,能够实现高分子复合电缆桥架一次、一体成型,可大大提高产品的生产效率,减少人工使用,降低人工成本,也能在一定程度上提高产品的强度,提高产品质量。
本发明优化了制作电缆桥架的步骤,既能够对金属骨架进行清洁,确保其与高分子材料的复合效果,还能够加热高分子材料,使得高分子材料流动均匀,有利于提高产品的成型质量。
附图说明
图1为本发明的结构示意图;
图2为本发明的挤压单元的结构示意图;
图3为本发明的挤压单元加热机构的结构示意图;
图4为本发明的进料单元的结构示意图;
图5为本发明的冷却单元的结构示意图;
图6为本发明的清洁单元的结构示意图;
图7为本发明的整型单元的结构示意图;
图8为本发明的挤压单元的剖面示意图;
图9为本发明图8中A处的放大示意图;
图10为本发明图8中B-B方向的剖视图;
图11为本发明复合成型段的结构示意图。
附图标记说明:
图中标号:
A、进料单元;B、清洁单元;C、挤压单元;D、冷却单元;E、整型单元;1、骨架通道;2、内流道;21、内流道入料口;3、外流道;31、外流道入料口;4、模具出口;5、头段;51、骨架进口;6、均匀分散段;7、复合成型段;71、第一成型体;72、第二成型体;73、末端第一流道;74、末段第二流道;8、导流件;81、锥形部;9、螺栓孔;10、料管;11、分隔板;12、加热棒;13、热电偶;14、温度控制箱;15、进料架;16、进料连接杆;17、水平辊轴;18、紧固螺栓;19、调节片;20、长条形通孔;21、竖向辊轴;22、支撑架;23、冷却套;24、冷却水管、25、废弃水通道;26、立架;27、框体;28、喷嘴;281、喷气管;29、底座;30、支架;31、固定架;32、液压缸;33、冲头。
具体实施方式
此处参考附图描述本申请的各种方案以及特征。
应理解的是,可以对此处申请的实施例做出各种修改。因此,上述说明书不应该视为限制,而仅是作为实施例的范例。本领域的技术人员将想到在本申请的范围和精神内的其他修改。
包含在说明书中并构成说明书的一部分的附图示出了本申请的实施例,并且与上面给出的对本申请的大致描述以及下面给出的对实施例的详细描述一起用于解释本申请的原理。
通过下面参照附图对给定为非限制性实例的实施例的优选形式的描述,本申请的这些和其它特性将会变得显而易见。
还应当理解,尽管已经参照一些具体实例对本申请进行了描述,但本领域技术人员能够确定地实现本申请的很多其它等效形式。
当结合附图时,鉴于以下详细说明,本申请的上述和其他方面、特征和优势将变得更为显而易见。
此后参照附图描述本申请的具体实施例;然而,应当理解,所申请的实施例仅仅是本申请的实例,其可采用多种方式实施。熟知和/或重复的功能和结构并未详细描述以避免不必要或多余的细节使得本申请模糊不清。因此,本文所申请的具体的结构性和功能性细节并非意在限定,而是仅仅作为权利要求的基础和代表性基础用于教导本领域技术人员以实质上任意合适的详细结构多样地使用本申请。
本说明书可使用词组“在一种实施例中”、“在另一个实施例中”、“在又一实施例中”或“在其他实施例中”,其均可指代根据本申请的相同或不同实施例中的一个或多个。
本申请实施例的目的之一,在于提供一种高分子复合电缆桥架一体成型系统,如图1所示,包括进料单元A、挤压单元C和整型单元E,所述挤压单元C包括模具本体,所述模具本体上设有贯穿其内部的骨架通道1和共挤流道,其中,所述共挤流道包括位于所述骨架通道1内侧的内流道2和位于所述骨架通道1外侧的外流道3,所述共挤流道的形状与所述骨架通道1相适配。
具体地,骨架通道1用于金属骨架通过,共挤流道用于高分子材料的流动供料。如图10-图11所示,所述骨架通道1呈“U”字形或“几”字形,内流道2以及外流道3也呈“U”字形或“几”字形与其吻合。
所述骨架通道1用于容纳第一物料,所述内流道2用于容纳第二物料,所述外流道3用于容纳第三物料;所述模具本体包括依次设置的头段5、均匀分散段6以及复合成型段7,所述骨架通道1一端与所述共挤流道一端相汇通,不同物料依次经过所述头段5、均匀分散段6,以使不同物料在所述复合成型段7进行复合成型,并由模具出口4出料。
具体地,如图7和图8所示,所述均匀分散段6位于所述模具本体的中段,所述复合成型段7模具本体的末端,所述头段5上设有骨架进口51、内流道2入料口以及外流道3入料口,内流道2以及外流道3分别与内流道2入料口以及外流道3入料口连通;高分子材料流体在均匀分散段6的内流道2以及外流道3内均匀分散,均匀分散段6应具有一定长度,能报证高分子材料能够有时间均匀填充内流道2以及外流道3,以保证产品的复合质量。
具体地,所述第一物料为金属骨架,所述第二物料与所述第三物料相同。例如,所述第二物料为粘合树脂和PVC树脂,将混合有热稳定剂的PVC树脂加热至180℃,使PVC树脂熔化,热稳定剂可避免在PVC树脂加热时PVC树脂发生降解反应。
其中,在熔化后的PVC树脂中加入改性剂,并搅拌混合,得到改性后PVC树脂,以PVC树脂100份为例,改性剂的重量份配比的组分如下:DOS增塑剂(癸二酸二辛酯):5份;双酚A、亚磷酸三苯酯和亚磷酸苯二异辛酯共:0.2份;三嗪-5:0.2~0.9份;钛白粉:2~5份;石蜡:0.2份;单甘酯:0.3份;碳酸钙:1~3份;煅烧陶土:5份;偶氮二异丁腈及无机发泡剂:0.5份;三氧化二锑:2~5份。
作为一可选实施例,如图8所示,所述模具本体的一端设有导流件8,所述导流件8一端连接在所述骨架通道1上,并通过另一端的导向将内流道2以及外流道3与骨架通道1在模具出口4处相汇通。
作为一可选实施例,所述导流设置在所述复合成型段7内,其另一端为锥形部81。即在锥形部81的末端处,内流道2以及外流道3内的高分子材料分别内外复合到金属骨架的内外表面上。
作为一可选实施例,如图9和图11所示,复合成型段7包括第一成型体71以及第二成型体72,第一成型体71内设有末段第一流道,末端第一流道73与内流道2以及外流道3连通,导流件8固定在末端第一流道73内,具体的,导流件8通过内外侧设置的若干个支撑柱支撑固定在末段第一流道,其另一端插入第二成型体72的末段第二流道74内,末段第二流道74的出口端为模具出口4。
所述头段5、均匀分散段6以及复合成型段7通过若干个螺栓连接,其对应位置设有若干个螺栓孔9,即第一成型体71以及第二成型体72之间以及与均匀分散段6之间以及与复合成型段7通过若干个螺栓连接,使其方便装配,方便维护和维修。
作为一可选实施例,所述内流道2以及外流道3分别与设置在模具本体上的内流道2入料口以及外流道3入料口连通;
所述内流道2入料口以及外流道3入料口与供料管10连通,所述供料管10内设有分隔板11,通过分隔板11实现对内流道2以及外流道3的分别供料。所述供料管10通过螺栓连接在头段5上,供料管10外侧端与原料机连接。
作为一可选实施例,如图3所示,所述挤压单元C上还设有加热机构,所述加热机构包括加热棒12、热电偶13和温度控制箱14,所述加热机构分别位于所述模具本体的两侧,所述加热棒12和所述热电偶13依次插入到所述模具本体的内部,所述加热棒12与所述热电偶13通过导线与所述温度控制箱14连接。
具体地,对模具办呢提进行加热时,每个加热棒12对应一个热电偶13,测量其温度,当加热棒12将模具的温度加热到一定温度后,通过热电偶13将温度信息传给温度控制箱14,然后调节温度,如果达到要求的温度,相应的加热棒12调至保温,如此,能够有效的对模具本体进行加热且受热均匀。
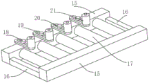
作为一可选实施例,如图4所示,所述进料单元A包括一对对称设置的进料架以及连接两个进料架的进料连接杆16,两个所述的进料架之间安装有多个水平辊轴17,其中一个所述进料架的顶部开设有一排螺栓孔9,所述的螺栓孔9内匹配设有紧固螺栓18,所述紧固螺栓18与进料架之间设有一个调节片19,所述的调节片19上开设有一个长条形通孔20,所述的紧固螺栓18穿过长条形通孔20将调节片19固定在进料架上,所述调节片19的内端顶部安装有竖向辊轴21,通过所述进料单元A运输所述第一物料。
具体地,首先将金属骨架放置在水平辊轴17上方,一端伸向清洁单元B,所述金属骨架的一侧与竖向辊轴21相抵,在金属骨架移动时,竖向辊轴21随着金属骨架转动。
作为一可选实施例,如图7所示,所述整型单元E包括冲孔机构和残料收集机构,所述冲孔机构包括底座29,所述底座29上设置有支架30,所述支架30上设置有固定架31,所述固定架31上设置有液压缸32,所述液压缸32的下端设置有冲头33。
作为一可选实施例,如图5所示,所述成型系统还包括冷却单元D,所述冷却单元D位于所述挤压单元C与所述整型单元E之间;
所述冷却单元D包括支撑架22、设置在所述的支撑架22上的冷却套23、与所述的冷却套23相连接的冷却水管24、设置在所述的冷却套23下方的废弃水通道。
具体地,所述的冷却装置包括与所述的冷却水管24相连接的复数个喷水口以及与外部相连通的复数个排水口。所述的喷水口与排水口设置在所述的冷却管的内壁上。所述的喷水口的直径小于所述的排水口的直径。所述的喷水口环绕所述的冷却机构的周向设置。
本申请采用的金属骨架在进入模具本体时,金属骨架的表面容易沾染外界的杂质灰尘等,进而将会导致金属骨架在进入模具本体中与高分子材料的结合面不牢,质量差等原因产生,进而会降低木塑复合材料的质量。
因此,作为一可选实施例,如图6所示,所述成型系统还包括清洁单元B,所述清洁单元B位于所述进料单元A与所述挤压单元C之间;
所述清洁单元B包括立架26,所述立架26的上侧固接有能够便于所述第一物料通过的框体27,所述框体27的上侧以及下侧分别固接有能够朝向板材上下两表面喷气的喷嘴28,所述框体27的一侧还固接有两分别与喷嘴28连通的喷气管281。
具体地,所述喷嘴28均趋向远离模具本体的方向倾斜。所述框体27的上侧以及下侧还均设置有若干加热灯管。通过采用的喷嘴28倾斜设置,能够使喷嘴28喷出的气体朝向远离模具本体喷射气体,从而便于清洁以及便于灰尘的汇聚。
工作时,可以采用外部的高压气泵等装置与喷气管281连通,从而使两喷嘴28喷射高压气体,从而在金属骨架通过框体27进入模具本体时,两喷嘴28能够对金属骨架的表面的喷射高压气体,从而对金属骨架的表面进行清洁,保证金属骨架在进入模具本体时的清洁,进而保证复合材料的加工质量。
本申请实施例的目的之一,还在于提供一种高分子复合电缆桥架成型产品,该产品通过任一实施例所述的高分子复合电缆桥架成型系统生产而成。
通过上述一体成型模具生产的高分子复合电缆桥架,其大致的工作原理或者使用方法:本成型模具装配至原生产线上,替换原有片体(侧边)的成型模具。
首先将构成防腐材料的原、辅料进行混配,方法是:原、辅料按配方要求准确称量,加入螺旋上料机中,经弹簧上料到高低速混料机中进行高速混合,通过控制物料温度来控制混料的时间,出料温度控制在125~135℃,物料达到温度后迅速放入冷却搅拌机,料温降至40℃以下时由排料口出料,放出的物料推至挤出机旁待用。
采用共挤工艺,将所述金属骨架通过所述清洁单元B将其表面清洗干净,通过所述进料单元A将金属骨架送至挤出单元上;混合料均匀流入模具本体上,经加热塑化后附着于金属骨架表面,随后再经冷却单元D进行定型冷却。所述金属骨架连续通过挤压单元C,在到达整型单元E后,冲头33自动进行切割,已完成对电缆桥架的打孔作业。
以上实施例仅为本申请的示例性实施例,不用于限制本申请,本申请的保护范围由权利要求书限定。本领域技术人员可以在本申请的实质和保护范围内,对本申请做出各种修改或等同替换,这种修改或等同替换也应视为落在本申请的保护范围内。

Claims (10)

1.一种高分子复合电缆桥架一体成型系统,包括进料单元(A)、挤压单元(C)和整型单元(E),其特征在于,所述挤压单元(C)包括模具本体,所述模具本体上设有贯穿其内部的骨架通道(1)和共挤流道,其中,所述共挤流道包括位于所述骨架通道(1)内侧的内流道(2)和位于所述骨架通道(1)外侧的外流道(3),所述共挤流道的形状与所述骨架通道(1)相适配;
所述骨架通道(1)用于容纳第一物料,所述内流道(2)用于容纳第二物料,所述外流道(3)用于容纳第三物料;所述模具本体包括依次设置的头段(5)、均匀分散段(6)以及复合成型段(7),所述骨架通道(1)一端与所述共挤流道一端相汇通,不同物料依次经过所述头段(5)、均匀分散段(6),以使不同物料在所述复合成型段(7)进行复合成型,并由模具出口(4)出料。
2.根据权利要求1所述的一种高分子复合电缆桥架一体成型系统,其特征在于,所述模具本体的一端设有导流件(8),所述导流件(8)一端连接在所述骨架通道(1)上,并通过另一端的导向将内流道(2)以及外流道(3)与骨架通道(1)在模具出口(4)处相汇通。
3.根据权利要求2所述的一种高分子复合电缆桥架一体成型系统,其特征在于,所述导流设置在所述复合成型段(7)内,其另一端为锥形部(81)。
4.根据权利要求1所述的一种高分子复合电缆桥架一体成型系统,其特征在于,所述内流道(2)以及外流道(3)分别与设置在模具本体上的内流道(2)入料口以及外流道(3)入料口连通;
所述内流道(2)入料口以及外流道(3)入料口与供料管(10)连通,所述供料管(10)内设有分隔板(11),通过分隔板(11)实现对内流道(2)以及外流道(3)的分别供料。
5.根据权利要求1所述的一种高分子复合电缆桥架一体成型系统,其特征在于,所述挤压单元(C)上还设有加热机构,所述加热机构包括加热棒(12)、热电偶(13)和温度控制箱(14),所述加热机构分别位于所述模具本体的两侧,所述加热棒(12)和所述热电偶(13)依次插入到所述模具本体的内部,所述加热棒(12)与所述热电偶(13)通过导线与所述温度控制箱(14)连接。
6.根据权利要求1所述的一种高分子复合电缆桥架一体成型系统,其特征在于,所述进料单元(A)包括一对对称设置的进料架(15)以及连接两个进料架(15)的进料连接杆(16),两个所述的进料架(15)之间安装有多个水平辊轴(17),其中一个所述进料架(15)的顶部开设有一排螺栓孔(9),所述的螺栓孔(9)内匹配设有紧固螺栓(18),所述紧固螺栓(18)与进料架(15)之间设有一个调节片(19),所述的调节片(19)上开设有一个长条形通孔(20),所述的紧固螺栓(18)穿过长条形通孔(20)将调节片(19)固定在进料架(15)上,所述调节片(19)的内端顶部安装有竖向辊轴(21),通过所述进料单元(A)运输所述第一物料。
7.根据权利要求1所述的一种高分子复合电缆桥架一体成型系统,其特征在于,所述整型单元(E)包括冲孔机构和残料收集机构,所述冲孔机构包括底座(29),所述底座(29)上设置有支架(30),所述支架(30)上设置有固定架(31),所述固定架(31)上设置有液压缸(32),所述液压缸(32)的下端设置有冲头(33)。
8.根据权利要求1-7任一项所述的一种高分子复合电缆桥架一体成型系统,其特征在于,所述成型系统还包括冷却单元(D),所述冷却单元(D)位于所述挤压单元(C)与所述整型单元(E)之间;
所述冷却单元(D)包括支撑架(22)、设置在所述的支撑架(22)上的冷却套(23)、与所述的冷却套(23)相连接的冷却水管(24)、设置在所述的冷却套(23)下方的废弃水通道。
9.根据权利要求1-7任一项所述的一种高分子复合电缆桥架一体成型系统,其特征在于,所述成型系统还包括清洁单元(B),所述清洁单元(B)位于所述进料单元(A)与所述挤压单元(C)之间;
所述清洁单元(B)包括立架(26),所述立架(26)的上侧固接有能够便于所述第一物料通过的框体(27),所述框体(27)的上侧以及下侧分别固接有能够朝向板材上下两表面喷气的喷嘴(28),所述框体(27)的一侧还固接有两分别与喷嘴(28)连通的喷气管(281)。
10.一种高分子复合电缆桥架成型产品,其特征在于,该产品通过权利要求1-9任一项所述的高分子复合电缆桥架成型系统生产而成。
CN202310569925.7A 2023-05-19 2023-05-19 一种高分子复合电缆桥架一体成型系统及其产品 Pending CN116353019A (zh)

Priority Applications (1)

Application Number Priority Date Filing Date Title
CN202310569925.7A CN116353019A (zh) 2023-05-19 2023-05-19 一种高分子复合电缆桥架一体成型系统及其产品

Applications Claiming Priority (1)

Application Number Priority Date Filing Date Title
CN202310569925.7A CN116353019A (zh) 2023-05-19 2023-05-19 一种高分子复合电缆桥架一体成型系统及其产品

Publications (1)

Publication Number Publication Date
CN116353019A true CN116353019A (zh) 2023-06-30

Family

ID=86922481

Family Applications (1)

Application Number Title Priority Date Filing Date
CN202310569925.7A Pending CN116353019A (zh) 2023-05-19 2023-05-19 一种高分子复合电缆桥架一体成型系统及其产品

Country Status (1)

Country Link
CN (1) CN116353019A (zh)

Citations (8)

* Cited by examiner, † Cited by third party
Publication number Priority date Publication date Assignee Title
JPH071540A (ja) * 1993-06-16 1995-01-06 Nishikawa Rubber Co Ltd 芯金入り押出品のゴム連続押出機用マンドレル
CN101974725A (zh) * 2010-11-15 2011-02-16 苏州卓识商务咨询有限公司 一种铝型材冷却装置
CN101985991A (zh) * 2010-10-29 2011-03-16 徐怀书 复合环氧树脂复合型电缆桥架生产工艺
CN206425421U (zh) * 2016-12-27 2017-08-22 沈阳市航达航空机械制造有限公司 一种型材折弯模具加热装置
CN108963895A (zh) * 2018-06-08 2018-12-07 江苏中讯电力科技有限公司 一种高透气性托盘式电缆桥架
CN109048621A (zh) * 2018-09-27 2018-12-21 浙江柏仕顿装饰科技有限公司 一种用于型材切割的进料架
CN210148677U (zh) * 2019-04-25 2020-03-17 青岛海诺瓦型材制造有限公司 一种木塑共挤成型设备
CN212707173U (zh) * 2020-06-16 2021-03-16 新乡市灵骏电器有限公司 一种塑料件冲孔装置

Patent Citations (8)

* Cited by examiner, † Cited by third party
Publication number Priority date Publication date Assignee Title
JPH071540A (ja) * 1993-06-16 1995-01-06 Nishikawa Rubber Co Ltd 芯金入り押出品のゴム連続押出機用マンドレル
CN101985991A (zh) * 2010-10-29 2011-03-16 徐怀书 复合环氧树脂复合型电缆桥架生产工艺
CN101974725A (zh) * 2010-11-15 2011-02-16 苏州卓识商务咨询有限公司 一种铝型材冷却装置
CN206425421U (zh) * 2016-12-27 2017-08-22 沈阳市航达航空机械制造有限公司 一种型材折弯模具加热装置
CN108963895A (zh) * 2018-06-08 2018-12-07 江苏中讯电力科技有限公司 一种高透气性托盘式电缆桥架
CN109048621A (zh) * 2018-09-27 2018-12-21 浙江柏仕顿装饰科技有限公司 一种用于型材切割的进料架
CN210148677U (zh) * 2019-04-25 2020-03-17 青岛海诺瓦型材制造有限公司 一种木塑共挤成型设备
CN212707173U (zh) * 2020-06-16 2021-03-16 新乡市灵骏电器有限公司 一种塑料件冲孔装置

Similar Documents

Publication Publication Date Title
CN205588616U (zh) 木塑板材定型及吹干装置
CN110790964A (zh) 一种耐摩擦排水管道的制备方法
CN115847894B (zh) 一种高强度的聚乙烯管材制作及其加工工艺
CN106976218B (zh) 一种无熔接痕的小口径管材挤出成型方法及装置
CN210820836U (zh) 一种塑料挤出机的挤出机构
CN110281497B (zh) 一种eps片材生产线
CN116353019A (zh) 一种高分子复合电缆桥架一体成型系统及其产品
CN113787689A (zh) 一种高韧性pe管挤出装置及生产工艺
CN205889912U (zh) 一种用于生产聚苯乙烯挤塑板的系统
CN210148677U (zh) 一种木塑共挤成型设备
CN212451757U (zh) 一种用于熔喷布纤维的生产装置
CN210415436U (zh) 一种eps片材生产线
CN205601028U (zh) 一种橡胶脱硫挤出生产系统
CN214111378U (zh) 一种木方生产用挤塑模
CN215661782U (zh) 一种具有冷却功能的塑料管材加工用挤出装置
CN115946325A (zh) 一种竹状塑料挤出制品加工装置及加工方法
CN208133581U (zh) 预压导向机构
CN221271980U (zh) 一种螺杆挤出机出料口的冷却系统
CN207207050U (zh) 一种无熔接痕的小口径管材挤出成型装置
CN206733563U (zh) 一种小型挤出机机筒的散热装置
CN208827093U (zh) 一种色母粒生产线用冷却机构
CN210148676U (zh) 一种木塑共挤设备
CN117681406B (zh) 一种用于塑料管件生产的挤压成型机
CN219214016U (zh) 一种高效pp板生产挤出机
CN220995064U (zh) 一种防结块的冷却成型设备

Legal Events

Date Code Title Description
PB01 Publication
PB01 Publication
SE01 Entry into force of request for substantive examination
SE01 Entry into force of request for substantive examination