CN116281578A - Building pipe handling device for construction of ground warehouse - Google Patents
Building pipe handling device for construction of ground warehouse Download PDFInfo
- Publication number
- CN116281578A CN116281578A CN202310345025.4A CN202310345025A CN116281578A CN 116281578 A CN116281578 A CN 116281578A CN 202310345025 A CN202310345025 A CN 202310345025A CN 116281578 A CN116281578 A CN 116281578A
- Authority
- CN
- China
- Prior art keywords
- longitudinal
- transverse
- horizontal
- connecting rod
- bottom plate
- Prior art date
- Legal status (The legal status is an assumption and is not a legal conclusion. Google has not performed a legal analysis and makes no representation as to the accuracy of the status listed.)
- Pending
Links
Images
Classifications
-
- B—PERFORMING OPERATIONS; TRANSPORTING
- B66—HOISTING; LIFTING; HAULING
- B66C—CRANES; LOAD-ENGAGING ELEMENTS OR DEVICES FOR CRANES, CAPSTANS, WINCHES, OR TACKLES
- B66C1/00—Load-engaging elements or devices attached to lifting or lowering gear of cranes or adapted for connection therewith for transmitting lifting forces to articles or groups of articles
- B66C1/10—Load-engaging elements or devices attached to lifting or lowering gear of cranes or adapted for connection therewith for transmitting lifting forces to articles or groups of articles by mechanical means
- B66C1/42—Gripping members engaging only the external or internal surfaces of the articles
-
- B—PERFORMING OPERATIONS; TRANSPORTING
- B66—HOISTING; LIFTING; HAULING
- B66C—CRANES; LOAD-ENGAGING ELEMENTS OR DEVICES FOR CRANES, CAPSTANS, WINCHES, OR TACKLES
- B66C11/00—Trolleys or crabs, e.g. operating above runways
- B66C11/02—Trolleys or crabs, e.g. operating above runways with operating gear or operator's cabin suspended, or laterally offset, from runway or track
-
- B—PERFORMING OPERATIONS; TRANSPORTING
- B66—HOISTING; LIFTING; HAULING
- B66C—CRANES; LOAD-ENGAGING ELEMENTS OR DEVICES FOR CRANES, CAPSTANS, WINCHES, OR TACKLES
- B66C5/00—Base supporting structures with legs
- B66C5/02—Fixed or travelling bridges or gantries, i.e. elongated structures of inverted L or of inverted U shape or tripods
Landscapes
- Engineering & Computer Science (AREA)
- Mechanical Engineering (AREA)
- Civil Engineering (AREA)
- Structural Engineering (AREA)
- Conveying And Assembling Of Building Elements In Situ (AREA)
Abstract
本发明公开了一种用于地库施工的建筑管材搬运装置,包括基座、安装于基座上的左支撑梁、右支撑梁、安装于左支撑梁和右支撑梁之间的位置调节机构以及与位置调节机构连接安装的夹持机构;所述夹持机构安装于位置调节机构上并可沿水平和竖直方向进行调节;本技术方案的搬运装置通过位置调节机构实现对需要抓取搬运的建材进行位置调节,通过夹持机构实现对建材进行抓取后搬运,整体结构简单,搬运方便可靠,解决了传统地库施工时需要建造地库塔吊的问题,同时搬运装置可在地库不同的位置使用,节约生产成本同时加快了施工周期。
The invention discloses a construction pipe material handling device for basement construction, comprising a base, a left support beam installed on the base, a right support beam, and a position adjustment mechanism installed between the left support beam and the right support beam And the clamping mechanism connected and installed with the position adjustment mechanism; the clamping mechanism is installed on the position adjustment mechanism and can be adjusted along the horizontal and vertical directions; The position of the building materials is adjusted, and the building materials are grasped and transported through the clamping mechanism. The overall structure is simple, and the handling is convenient and reliable. It solves the problem that the basement tower crane needs to be built during the traditional basement construction. The location is used, saving production costs and speeding up the construction cycle.
Description
技术领域technical field
本发明涉及建筑地库施工领域,具体涉及一种用于地库施工的建筑管材搬运装置。The invention relates to the field of building basement construction, in particular to a construction pipe material handling device for basement construction.
背景技术Background technique
目前进行建筑施工时,特别是大型地库工程,在工程施工过程中需要用到大量的建筑材料,如建筑管材(如PVC管)、成捆的钢筋等,在进行搬运时如果使用人工或者小型推车等传统方式,难以满足使用需求,为此传统的方式一般是在地库布置塔吊结构,塔吊需穿越基础底板及顶板,此种塔吊设置方式不仅对塔吊运行安全要求高,而且对地库渗漏水也会产生影响;另外一种做法是利用格构柱将塔吊基础悬空设置在地库顶板以上,但此种做法成本较高,后期塔吊基础破除难度较大,而且由于是大型地库,如需满足施工进度则需要在多个位置布置塔吊,成本高昂。At present, when carrying out building construction, especially large-scale basement projects, a large amount of building materials, such as building pipes (such as PVC pipes), bundled steel bars, etc., need to be used in the construction process. If manual or small Traditional methods such as carts are difficult to meet the needs of use. For this reason, the traditional method is generally to arrange the tower crane structure in the basement, and the tower crane needs to pass through the foundation floor and roof. Water leakage will also have an impact; another method is to use lattice columns to suspend the tower crane foundation above the roof of the basement, but this method is costly and it is difficult to remove the tower crane foundation in the later stage, and because it is a large basement , if it is necessary to meet the construction schedule, it is necessary to arrange tower cranes in multiple locations, and the cost is high.
因此,为解决以上问题,需要一种用于地库施工的建筑管材搬运装置。Therefore, in order to solve the above problems, there is a need for a building pipe handling device for basement construction.
发明内容Contents of the invention
有鉴于此,本技术方案的搬运装置通过位置调节机构实现对需要抓取搬运的建材进行位置调节,通过夹持机构实现对建材进行抓取后搬运,整体结构简单,搬运方便可靠,解决了传统地库施工时需要建造地库塔吊的问题,同时搬运装置可在地库不同的位置使用,节约生产成本同时加快了施工周期。In view of this, the handling device of this technical solution realizes the position adjustment of the building materials that need to be grasped and transported through the position adjustment mechanism, and realizes the grasping and handling of the building materials through the clamping mechanism. The overall structure is simple, and the handling is convenient and reliable, which solves the problem of traditional The basement tower crane needs to be built during the construction of the basement. At the same time, the handling device can be used in different positions of the basement, which saves production costs and speeds up the construction period.
一种用于地库施工的建筑管材搬运装置,包括基座、安装于基座上的左支撑梁、右支撑梁、安装于左支撑梁和右支撑梁之间的位置调节机构以及与位置调节机构连接安装的夹持机构;所述夹持机构安装于位置调节机构上并可沿水平和竖直方向进行调节。A building pipe handling device for basement construction, comprising a base, a left support beam installed on the base, a right support beam, a position adjustment mechanism installed between the left support beam and the right support beam, and a position adjustment mechanism The mechanism is connected with the installed clamping mechanism; the clamping mechanism is installed on the position adjustment mechanism and can be adjusted along the horizontal and vertical directions.
进一步,所述位置调节机构包括安装于左支撑梁和右支撑梁之间的横向底板、安装于横向底板上的水平调节组件、与水平调节组件连接安装的横向连接板、与横向连接板连接安装的纵向底板以及布置于纵向底板上的纵向调节组件;所述水平调节组件带动纵向调节组件沿水平方向进行位置调节,所述纵向调节组件带动夹持机构沿竖直方向进行位置调节。Further, the position adjustment mechanism includes a transverse bottom plate installed between the left support beam and the right support beam, a horizontal adjustment assembly installed on the transverse bottom plate, a transverse connection plate connected and installed with the level adjustment assembly, and a transverse connection plate connected and installed The longitudinal bottom plate and the longitudinal adjustment assembly arranged on the longitudinal bottom plate; the horizontal adjustment assembly drives the longitudinal adjustment assembly to adjust the position along the horizontal direction, and the longitudinal adjustment assembly drives the clamping mechanism to adjust the position along the vertical direction.
进一步,所述水平调节组件包括安装于横向底板上的横向丝杆、安装于横向底板并与横向丝杆配合使用的横向螺纹滑块以及安装于横向底板上为横向丝杆提供动力输入的第一驱动机构,所述横向螺纹滑块与横向连接板固定连接设置,所述第一驱动机构带动横向丝杆转动进而驱动横向螺纹滑块沿水平方向运动。Further, the horizontal adjustment assembly includes a horizontal screw rod installed on the horizontal bottom plate, a horizontal threaded slide block installed on the horizontal bottom plate and used in cooperation with the horizontal screw rod, and a first The driving mechanism is that the transverse threaded slider is fixedly connected with the transverse connecting plate, and the first driving mechanism drives the transverse threaded rod to rotate and then drives the transverse threaded slider to move in the horizontal direction.
进一步,所述横向底板上安装有横向导轨,所述横向连接板上设置有配合横向导轨使用的横向导轨滑块。Further, a transverse guide rail is installed on the transverse bottom plate, and a transverse guide rail slider used in conjunction with the transverse guide rail is arranged on the transverse connecting plate.
进一步,所述纵向调节组件包括安装于纵向底板上的纵向丝杆、安装于纵向底板并配合纵向丝杆使用的纵向螺纹滑块以及安装于纵向底板上为纵向丝杆提供输入动力的第二驱动机构,所述纵向螺纹滑块上固定连接安装有用于配合夹持机构使用的纵向连接板,所述第二驱动机构带动纵向丝杆转动进而驱动纵向螺纹滑块沿竖直方向运动。Further, the longitudinal adjustment assembly includes a longitudinal screw rod installed on the longitudinal bottom plate, a longitudinal thread slider installed on the longitudinal bottom plate and used in conjunction with the longitudinal screw rod, and a second drive installed on the longitudinal bottom plate to provide input power for the longitudinal screw rod mechanism, the longitudinal thread slider is fixedly connected with a longitudinal connecting plate for use with the clamping mechanism, and the second drive mechanism drives the longitudinal screw to rotate and then drives the longitudinal thread slider to move in the vertical direction.
进一步,所述纵向底板上连接安装有纵向导轨,所述纵向连接板上设置有配合纵向导轨使用的纵向导轨滑块。Further, longitudinal guide rails are connected and installed on the longitudinal bottom plate, and longitudinal guide rail sliders used in conjunction with the longitudinal guide rails are arranged on the longitudinal connecting plate.
进一步,所述夹持机构包括与位置调节机构连接安装的定位支架、穿设于定位支架上的夹持丝杆、与夹持丝杆配合使用的螺母套、与螺母套固定连接设置的连杆组件以及安装于连杆组件下端的夹爪组件,所述定位支架上安装有用于驱动夹持丝杆转动的夹持驱动电机。Further, the clamping mechanism includes a positioning bracket connected and installed with the position adjustment mechanism, a clamping screw threaded on the positioning bracket, a nut sleeve used in conjunction with the clamping screw rod, and a connecting rod fixedly connected to the nut sleeve assembly and the jaw assembly installed at the lower end of the connecting rod assembly, and a clamping drive motor for driving the clamping screw rod to rotate is installed on the positioning bracket.
进一步,所述连杆组件包括与螺母套固定连接设置的横向连杆、与横向连杆左端铰接安装的左连杆以及与横向连杆右端铰接安装的右连杆,所述左连杆和右连杆相对与夹持丝杆对称布置,所述横向连杆沿竖直方向运动带动左连杆和右连杆运动进而驱动夹爪组件夹持或松开。Further, the linkage assembly includes a transverse link fixedly connected to the nut sleeve, a left link hingedly installed with the left end of the transverse link, and a right link hingedly installed with the right end of the transverse link, the left link and the right The connecting rod is symmetrically arranged relative to the clamping screw rod, and the movement of the transverse connecting rod along the vertical direction drives the movement of the left connecting rod and the right connecting rod, thereby driving the clamping jaw assembly to clamp or loosen.
进一步,所述夹爪组件包括铰接于左连杆下端的左夹爪以及铰接于右连杆下端的右夹爪,所述左夹爪和右夹爪结构相同且左夹爪和右夹爪中部均铰接安装于定位支架上。Further, the jaw assembly includes a left jaw hinged at the lower end of the left connecting rod and a right jaw hinged at the lower end of the right connecting rod, the left jaw and the right jaw have the same structure and the middle parts of the left jaw and the right jaw are All are hingedly installed on the positioning bracket.
进一步,还包括第二左夹爪,所述第二左夹爪与左夹爪结构相同,所述右夹爪布置与左夹爪与第二左夹爪之间。Further, it also includes a second left jaw, the second left jaw has the same structure as the left jaw, and the right jaw is arranged between the left jaw and the second left jaw.
本发明的有益效果是:本技术方案的搬运装置通过位置调节机构实现对需要抓取搬运的建材进行位置调节,通过夹持机构实现对建材进行抓取后搬运,整体结构简单,搬运方便可靠,解决了传统地库施工时需要建造地库塔吊的问题,同时搬运装置可在地库不同的位置使用,节约生产成本同时加快了施工周期。The beneficial effects of the present invention are: the conveying device of the technical solution realizes the position adjustment of the building materials that need to be grasped and conveyed through the position adjustment mechanism, and realizes the grasping and conveying of the building materials through the clamping mechanism. The overall structure is simple, and the conveyance is convenient and reliable. It solves the problem that basement tower cranes need to be built during traditional basement construction. At the same time, the handling device can be used in different positions of the basement, saving production costs and speeding up the construction period.
附图说明Description of drawings
下面结合附图和实施例对本发明作进一步描述:The present invention will be further described below in conjunction with accompanying drawing and embodiment:
图1为本发明整体结构示意图;Fig. 1 is a schematic diagram of the overall structure of the present invention;
图2为本发明位置调节机构结构示意图;Fig. 2 is a structural schematic diagram of the position adjustment mechanism of the present invention;
图3为A-A处位置调节机构示意图;Fig. 3 is a schematic diagram of the position adjustment mechanism at A-A;
图4为夹持机构结构示意图;Fig. 4 is a structural schematic diagram of a clamping mechanism;
图5为定位支架结构示意图。Fig. 5 is a schematic diagram of the structure of the positioning bracket.
具体实施方式Detailed ways
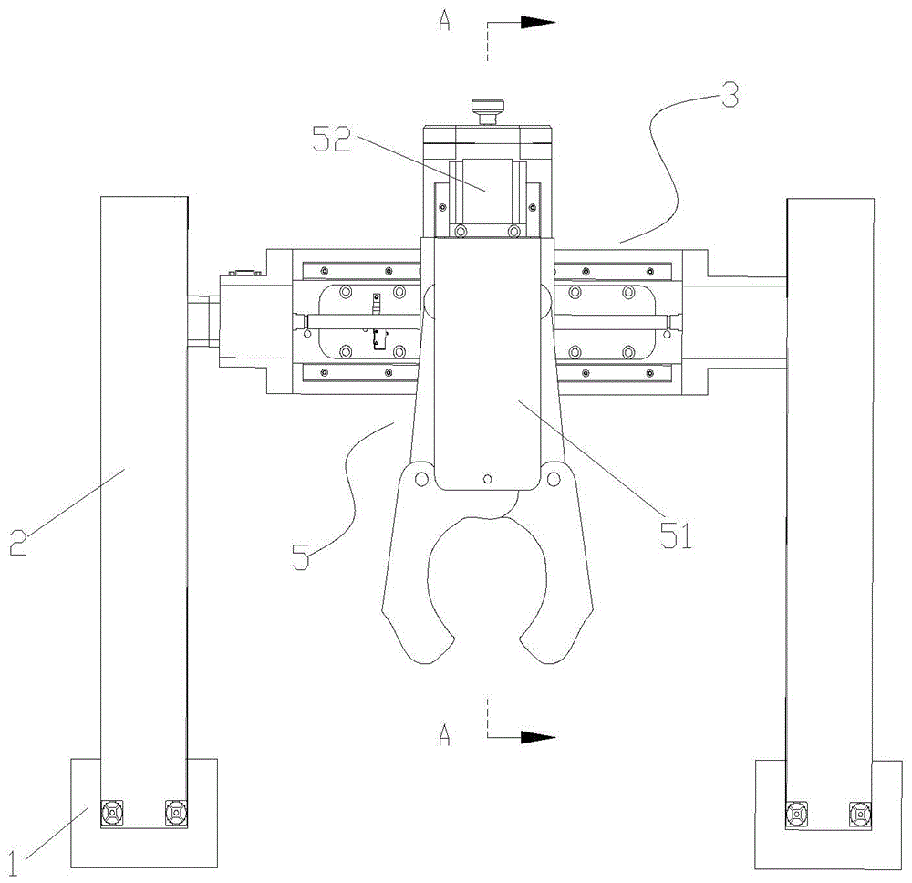
图1为本发明整体结构示意图;图2为本发明位置调节机构结构示意图;图3为A-A处位置调节机构示意图;图4为夹持机构结构示意图;图5为定位支架结构示意图;如图所示,一种用于地库施工的建筑管材搬运装置,包括基座1、安装于基座1上的左支撑梁2、右支撑梁、安装于左支撑梁2和右支撑梁之间的位置调节机构3以及与位置调节机构3连接安装的夹持机构5;所述夹持机构安装于位置调节机构3上并可沿水平和竖直方向进行调节;基座1底部安装有带刹车结构的滑轮(图中未画出),方便于进行搬运使用,本技术方案的搬运装置通过位置调节机构实现对需要抓取搬运的建材进行位置调节,通过夹持机构实现对建材进行抓取后搬运,整体结构简单,搬运方便可靠,解决了传统地库施工时需要建造地库塔吊的问题,同时搬运装置可在地库不同的位置使用,节约生产成本同时加快了施工周期。Fig. 1 is a schematic diagram of the overall structure of the present invention; Fig. 2 is a schematic structural diagram of a position adjustment mechanism of the present invention; Fig. 3 is a schematic diagram of a position adjustment mechanism at A-A; Fig. 4 is a schematic structural diagram of a clamping mechanism; Fig. 5 is a schematic structural diagram of a positioning bracket; Shown, a construction pipe handling device for basement construction, including a base 1, a left support beam 2 installed on the base 1, a right support beam, and a position between the left support beam 2 and the right support beam The adjustment mechanism 3 and the clamping mechanism 5 connected and installed with the position adjustment mechanism 3; the clamping mechanism is installed on the position adjustment mechanism 3 and can be adjusted along the horizontal and vertical directions; the bottom of the base 1 is installed with a brake structure The pulley (not shown in the figure) is convenient for handling. The handling device of this technical solution realizes the position adjustment of the building materials that need to be grasped and transported through the position adjustment mechanism, and realizes the grasping and handling of the building materials through the clamping mechanism. The overall structure is simple, and the transportation is convenient and reliable, which solves the problem of building a basement tower crane during the construction of the traditional basement. At the same time, the handling device can be used in different positions of the basement, saving production costs and speeding up the construction period.
本实施例中,所述位置调节机构3包括安装于左支撑梁2和右支撑梁之间的横向底板31、安装于横向底板31上的水平调节组件、与水平调节组件连接安装的横向连接板34、与横向连接板34连接安装的纵向底板37以及布置于纵向底板37上的纵向调节组件;所述水平调节组件带动纵向调节组件沿水平方向进行位置调节(水平也即横向,为图1中左右方向,竖直也即为纵向,为图1中上下方向),所述纵向调节组件带动夹持机构5沿竖直方向进行位置调节。位置调节机构3包括横向调节和纵向调节两部分,横向底板31和纵向底板37整体均为U型结构,用于安装各个部件,横向底板31的两端分别配合左、右支撑梁进行定位安装,横向连接板34可沿水平方向运动,同时也作为纵向底板37的安装基础。In this embodiment, the position adjustment mechanism 3 includes a
本实施例中,所述水平调节组件包括安装于横向底板31上的横向丝杆32、安装于横向底板31并与横向丝杆32配合使用的横向螺纹滑块33以及安装于横向底板31上为横向丝杆32提供动力输入的第一驱动机构40,所述横向螺纹滑块33与横向连接板34固定连接设置,所述第一驱动机构40带动横向丝杆32转动进而驱动横向螺纹滑块33沿水平方向运动。横向丝杆32可转动安装于横向底板31上,第一驱动机构40为电机或者其他动力输入机构均可,第一驱动机构40与横向丝杆32配合使用,横向丝杆32与横向螺纹滑块33形成丝杆螺纹副,横向螺纹滑块33与横向连接板34固定连接,横向丝杆32转动带动横向螺纹滑块33和横向连接板34同时沿水平方向运动,实现机构的水平调节。In this embodiment, the horizontal adjustment assembly includes a
本实施例中,所述横向底板31上安装有横向导轨36,所述横向连接板34上设置有配合横向导轨36使用的横向导轨滑块35。横向连接板34上固定连接设置有横向导轨滑块35,横向底板31上相应的安装有横向导轨36(与横向丝杆32相互平行布置),横向导轨滑块35配合横向导轨36使用,使得横向连接板34水平滑动时更加稳定,优选的,横向导轨36设置有两组,相对于横向丝杆32对称分布在横向底板31上。In this embodiment, a
本实施例中,所述纵向调节组件包括安装于纵向底板37上的纵向丝杆39、安装于纵向底板37并配合纵向丝杆39使用的纵向螺纹滑块44以及安装于纵向底板37上为纵向丝杆39提供输入动力的第二驱动机构41,所述纵向螺纹滑块44上固定连接安装有用于配合夹持机构使用的纵向连接板43,所述第二驱动机构41带动纵向丝杆39转动进而驱动纵向螺纹滑块44沿竖直方向运动。纵向底板37配合横向连接板34固定连接安装,为其余部件提供安装支点,第二驱动机构41采用驱动电机,第二驱动机构41与纵向丝杆39配合使用,纵向丝杆39穿过纵向螺纹滑块44二者形成丝杆螺母副结构,纵向螺纹滑块44与纵向连接板43固定连接安装,第二驱动机构41转动带动纵向丝杆39转动进而使纵向螺纹滑块44沿竖直方向运动,夹持机构安装于纵向连接板43上相应的进行竖直方向运动。In this embodiment, the longitudinal adjustment assembly includes a
本实施例中,所述纵向底板37上连接安装有纵向导轨38,所述纵向连接37板上设置有配合纵向导轨使用的纵向导轨滑块42。纵向导轨38以及纵向导轨滑块42采用与横向底板31上相同的安装方式,此处不在过多赘述。In this embodiment, the
本实施例中,所述夹持机构5包括与位置调节机构3连接安装的定位支架51、穿设于定位支架51上的夹持丝杆53、与夹持丝杆53配合使用的螺母套54、与螺母套54固定连接设置的连杆组件以及安装于连杆组件下端的夹爪组件,所述定位支架51上安装有用于驱动夹持丝杆转动的夹持驱动电机52。定位支架51固定安装于纵向连接板43上,定位支架51整体呈U型结构,夹持驱动电机52安装于定位支架51上端部,为夹持机构的运行提供驱动动力。In this embodiment, the clamping mechanism 5 includes a
本实施例中,所述连杆组件包括与螺母套54固定连接设置的横向连杆55、与横向连杆55左端铰接安装的左连杆57以及与横向连杆55右端铰接安装的右连杆,所述左连杆和右连杆相对与夹持丝杆53对称布置,所述横向连杆55沿竖直方向运动带动左连杆和右连杆运动进而驱动夹爪组件夹持或松开。夹持丝杆53下端连接有限位座56,限位座56固定安装于定位支架51上,确保夹持丝杆53稳定运行,夹持丝杆53与螺母套54形成丝杆螺母副结构,横向连杆55与螺母套54固定连接,丝杆螺母副运行时,横向连杆55则相应的进行竖直方向运动,横向连杆55运动则带动左、右连杆以及左、右夹爪运动,实现对建材的抓取或释放。In this embodiment, the connecting rod assembly includes a transverse connecting
本实施例中,所述夹爪组件包括铰接于左连杆57下端的左夹爪58以及铰接于右连杆下端的右夹爪60,所述左夹爪58和右夹爪60结构相同且左夹爪和右夹爪中部均铰接安装于定位支架上51。结构相同的左、右夹爪分别对应铰接于左、右连杆下端部,同时左夹爪的中部以及右夹爪60的中部均与定位支架上51铰接于同一点,使得二者可以同步实现夹紧或者释放。In this embodiment, the jaw assembly includes a
本实施例中,还包括第二左夹爪59,所述第二左夹爪59与左夹爪58结构相同,所述右夹爪60布置与左夹爪与第二左夹爪之间(此处指中部的铰接安装点位置,如图4所示)。第二左夹爪59采用与左夹爪58相同的结构,且二者铰接在同一位置,右夹爪60布置在两个夹爪之间,使得对建材进行抓取时,抓取更加可靠。In this embodiment, a second
最后说明的是,以上实施例仅用以说明本发明的技术方案而非限制,尽管参照较佳实施例对本发明进行了详细说明,本领域的普通技术人员应当理解,可以对本发明的技术方案进行修改或者等同替换,而不脱离本发明技术方案的宗旨和范围,其均应涵盖在本发明的权利要求范围当中。Finally, it is noted that the above embodiments are only used to illustrate the technical solutions of the present invention without limitation. Although the present invention has been described in detail with reference to the preferred embodiments, those of ordinary skill in the art should understand that the technical solutions of the present invention can be carried out Modifications or equivalent replacements without departing from the spirit and scope of the technical solution of the present invention shall be covered by the claims of the present invention.
Claims (9)
Priority Applications (1)
| Application Number | Priority Date | Filing Date | Title |
|---|---|---|---|
| CN202310345025.4A CN116281578A (en) | 2023-03-31 | 2023-03-31 | Building pipe handling device for construction of ground warehouse |
Applications Claiming Priority (1)
| Application Number | Priority Date | Filing Date | Title |
|---|---|---|---|
| CN202310345025.4A CN116281578A (en) | 2023-03-31 | 2023-03-31 | Building pipe handling device for construction of ground warehouse |
Publications (1)
| Publication Number | Publication Date |
|---|---|
| CN116281578A true CN116281578A (en) | 2023-06-23 |
Family
ID=86801370
Family Applications (1)
| Application Number | Title | Priority Date | Filing Date |
|---|---|---|---|
| CN202310345025.4A Pending CN116281578A (en) | 2023-03-31 | 2023-03-31 | Building pipe handling device for construction of ground warehouse |
Country Status (1)
| Country | Link |
|---|---|
| CN (1) | CN116281578A (en) |
Cited By (2)
| Publication number | Priority date | Publication date | Assignee | Title |
|---|---|---|---|---|
| CN116395551A (en) * | 2023-03-31 | 2023-07-07 | 中冶建工集团(天津)建设工程有限公司 | A transporting device for basement construction |
| CN118274170A (en) * | 2024-03-29 | 2024-07-02 | 双恒阀门集团有限公司 | An electric linkage valve operating device |
Citations (5)
| Publication number | Priority date | Publication date | Assignee | Title |
|---|---|---|---|---|
| CN209740171U (en) * | 2019-04-12 | 2019-12-06 | 郑州鼎能实业有限公司 | simple mechanical arm |
| CN214981145U (en) * | 2021-07-12 | 2021-12-03 | 太仓市恒奇机械设备有限公司 | Robot clamping jaw with screw rod structure |
| CN217200746U (en) * | 2022-05-05 | 2022-08-16 | 安阳昊睿机器人有限公司 | An automatic conveying device for casting sand cores |
| CN218114233U (en) * | 2022-09-01 | 2022-12-23 | 广州海狮软件科技有限公司 | Manipulator clamping device |
| CN116395551A (en) * | 2023-03-31 | 2023-07-07 | 中冶建工集团(天津)建设工程有限公司 | A transporting device for basement construction |
-
2023
- 2023-03-31 CN CN202310345025.4A patent/CN116281578A/en active Pending
Patent Citations (5)
| Publication number | Priority date | Publication date | Assignee | Title |
|---|---|---|---|---|
| CN209740171U (en) * | 2019-04-12 | 2019-12-06 | 郑州鼎能实业有限公司 | simple mechanical arm |
| CN214981145U (en) * | 2021-07-12 | 2021-12-03 | 太仓市恒奇机械设备有限公司 | Robot clamping jaw with screw rod structure |
| CN217200746U (en) * | 2022-05-05 | 2022-08-16 | 安阳昊睿机器人有限公司 | An automatic conveying device for casting sand cores |
| CN218114233U (en) * | 2022-09-01 | 2022-12-23 | 广州海狮软件科技有限公司 | Manipulator clamping device |
| CN116395551A (en) * | 2023-03-31 | 2023-07-07 | 中冶建工集团(天津)建设工程有限公司 | A transporting device for basement construction |
Cited By (2)
| Publication number | Priority date | Publication date | Assignee | Title |
|---|---|---|---|---|
| CN116395551A (en) * | 2023-03-31 | 2023-07-07 | 中冶建工集团(天津)建设工程有限公司 | A transporting device for basement construction |
| CN118274170A (en) * | 2024-03-29 | 2024-07-02 | 双恒阀门集团有限公司 | An electric linkage valve operating device |
Similar Documents
| Publication | Publication Date | Title |
|---|---|---|
| CN116281578A (en) | Building pipe handling device for construction of ground warehouse | |
| CN202336766U (en) | Double mechanical hand structure on assembly line for producing aluminum tubes and aluminum bars | |
| CN203031218U (en) | Injection mould automatic detaching device | |
| CN112079091B (en) | Working method of pipe fitting overturning and conveying mechanism | |
| CN200977654Y (en) | Height-adjustable mobile brick transporting device | |
| CN110817285A (en) | A pipe material loading and unloading device suitable for pipes with different diameters and its working method | |
| CN201363109Y (en) | Travelling drill pipe racking device | |
| CN116395551A (en) | A transporting device for basement construction | |
| CN205012939U (en) | Full -automatic pole system that trades | |
| CN103144926B (en) | Reinforcement rotating conveying mechanism of mesh welding machine | |
| CN207658718U (en) | A kind of open-close type framework of steel reinforcement collection device | |
| CN112378649B (en) | Speed reducer fixing device for speed reducer comprehensive experiment table | |
| CN202201504U (en) | Single chuck unpiler | |
| CN108975199A (en) | The automatic rising-sinking platform and elevator of a kind of quick operation and high accuracy positioning | |
| CN211945201U (en) | Sleeper mould turning device | |
| CN119858851A (en) | Material overhead hoist is used in bridge engineering construction | |
| CN210066450U (en) | Side-standing fixing plate erecting device in road construction | |
| CN211313420U (en) | Steel pipe carrying frame for construction site | |
| CN115402938B (en) | Automatic clamping method for lifting base plate in additive manufacturing | |
| CN114289645B (en) | A kind of prefabricated laminated floor steel mesh frame production equipment and production process | |
| CN217343020U (en) | Steel bar welding net bending forming machine | |
| CN113305983B (en) | Automatic fastening system for producing aerated plates | |
| CN219525501U (en) | Mechanical arm for carrying construction of ground warehouse | |
| CN209416016U (en) | A kind of dry kiln car automatic loader and unloader structure | |
| CN211169550U (en) | Hoisting device for maintaining and replacing speed reducer |
Legal Events
| Date | Code | Title | Description |
|---|---|---|---|
| PB01 | Publication | ||
| PB01 | Publication | ||
| SE01 | Entry into force of request for substantive examination | ||
| SE01 | Entry into force of request for substantive examination |
