CN116236835A - Mineral water supply equipment - Google Patents

Mineral water supply equipment Download PDF

Info

Publication number
CN116236835A
CN116236835A CN202310261993.7A CN202310261993A CN116236835A CN 116236835 A CN116236835 A CN 116236835A CN 202310261993 A CN202310261993 A CN 202310261993A CN 116236835 A CN116236835 A CN 116236835A
Authority
CN
China
Prior art keywords
wall
cylinder
filter
plate
filter screen
Prior art date
Legal status (The legal status is an assumption and is not a legal conclusion. Google has not performed a legal analysis and makes no representation as to the accuracy of the status listed.)
Pending
Application number
CN202310261993.7A
Other languages
Chinese (zh)
Inventor
冯宪玉
杨勇
何裕奎
朱西勇
Current Assignee (The listed assignees may be inaccurate. Google has not performed a legal analysis and makes no representation or warranty as to the accuracy of the list.)
Shandong Sitai Biotechnology Co ltd
Original Assignee
Shandong Sitai Biotechnology Co ltd
Priority date (The priority date is an assumption and is not a legal conclusion. Google has not performed a legal analysis and makes no representation as to the accuracy of the date listed.)
Filing date
Publication date
Application filed by Shandong Sitai Biotechnology Co ltd filed Critical Shandong Sitai Biotechnology Co ltd
Priority to CN202310261993.7A priority Critical patent/CN116236835A/en
Publication of CN116236835A publication Critical patent/CN116236835A/en
Pending legal-status Critical Current

Links

Images

Classifications

    • BPERFORMING OPERATIONS; TRANSPORTING
    • B01PHYSICAL OR CHEMICAL PROCESSES OR APPARATUS IN GENERAL
    • B01DSEPARATION
    • B01D29/00Filters with filtering elements stationary during filtration, e.g. pressure or suction filters, not covered by groups B01D24/00 - B01D27/00; Filtering elements therefor
    • B01D29/11Filters with filtering elements stationary during filtration, e.g. pressure or suction filters, not covered by groups B01D24/00 - B01D27/00; Filtering elements therefor with bag, cage, hose, tube, sleeve or like filtering elements
    • B01D29/31Self-supporting filtering elements
    • B01D29/33Self-supporting filtering elements arranged for inward flow filtration
    • BPERFORMING OPERATIONS; TRANSPORTING
    • B01PHYSICAL OR CHEMICAL PROCESSES OR APPARATUS IN GENERAL
    • B01DSEPARATION
    • B01D29/00Filters with filtering elements stationary during filtration, e.g. pressure or suction filters, not covered by groups B01D24/00 - B01D27/00; Filtering elements therefor
    • B01D29/50Filters with filtering elements stationary during filtration, e.g. pressure or suction filters, not covered by groups B01D24/00 - B01D27/00; Filtering elements therefor with multiple filtering elements, characterised by their mutual disposition
    • B01D29/56Filters with filtering elements stationary during filtration, e.g. pressure or suction filters, not covered by groups B01D24/00 - B01D27/00; Filtering elements therefor with multiple filtering elements, characterised by their mutual disposition in series connection
    • BPERFORMING OPERATIONS; TRANSPORTING
    • B01PHYSICAL OR CHEMICAL PROCESSES OR APPARATUS IN GENERAL
    • B01DSEPARATION
    • B01D29/00Filters with filtering elements stationary during filtration, e.g. pressure or suction filters, not covered by groups B01D24/00 - B01D27/00; Filtering elements therefor
    • B01D29/88Filters with filtering elements stationary during filtration, e.g. pressure or suction filters, not covered by groups B01D24/00 - B01D27/00; Filtering elements therefor having feed or discharge devices
    • B01D29/90Filters with filtering elements stationary during filtration, e.g. pressure or suction filters, not covered by groups B01D24/00 - B01D27/00; Filtering elements therefor having feed or discharge devices for feeding

Landscapes

  • Chemical & Material Sciences (AREA)
  • Chemical Kinetics & Catalysis (AREA)
  • Filtration Of Liquid (AREA)

Abstract

The invention belongs to the technical field of mineral water supply, in particular to mineral water supply equipment, which adopts the following scheme that the mineral water supply equipment comprises a tank body and a water filtering mechanism, wherein the top of the tank body is connected with a water inlet pipe, the bottom of the tank body is connected with a water outlet pipe, and the water filtering mechanism is provided with a filter screen bucket and a filter screen cylinder; the filter screen hopper is rotatably arranged at the top position in the tank body, a driving motor is connected with the bottom end of the outer side of the filter screen hopper in a transmission way, a vertical through hole is formed in the middle position of the top end of the filter screen hopper, and the outer diameter and the inner diameter of the filter screen hopper are gradually increased from top to bottom; and a mounting frame is connected between the top of the filter screen cylinder and the bottom of the filter screen hopper, and the water outlet pipe is arranged at the axial center position of the filter screen cylinder. The invention realizes the dispersed filtration to avoid the congestion and the ponding, and utilizes the vertically extending filter screen cylinder to ensure that the vertical space has larger reserved space, thereby avoiding the untimely filtration of the outer wall of the filter screen cylinder, and further improving the filtration efficiency of raw water in the actual continuous water supply operation.

Description

一种矿物质水供水设备Mineral water supply equipment

技术领域technical field

本发明涉及矿物质水供水技术领域,尤其涉及一种矿物质水供水设备。The invention relates to the technical field of mineral water supply, in particular to mineral water supply equipment.

背景技术Background technique

水是体液的主要组成部分,是构成细胞、组织液、血浆等的重要物质,矿物质水一般以城市自来水为原水,再经过纯浄化加工,添加矿物质,杀菌处理后灌装而成。Water is the main component of body fluid, and is an important substance that constitutes cells, tissue fluid, plasma, etc. Mineral water is generally made of city tap water as raw water, which is purified, added minerals, and sterilized before being filled.

矿物质水进行供水作业时,一般将原水经过过滤通过增压泵送至进行紫外杀菌而制作成纯净水,然后在矿化罐内循环流动以制作出矿化成品水箱进行装罐使用,现有技术在对原水进行过滤时,一般会采用过滤网的形式进行连续进水过滤,但是在长时间连续作业时,往往由于进水连续而易在滤网表面形成水膜而产生积水,而往往会限制进水量或进水速度来保证连续过滤处理,但是其同样影响了整体供水系统的效率。When mineral water is used for water supply operations, the raw water is generally filtered and sent to ultraviolet sterilization through a booster pump to make pure water, and then circulates in the mineralization tank to produce a mineralized product water tank for canning. Existing Technology When filtering raw water, the form of filter screen is generally used for continuous water inflow filtration. However, during long-term continuous operation, it is often easy to form a water film on the surface of the filter screen due to continuous water inflow, resulting in accumulated water, and often The amount or velocity of water inflow is limited to ensure continuous filtration, but it also affects the efficiency of the overall water supply system.

发明内容Contents of the invention

基于背景技术的技术问题,本发明提出了一种矿物质水供水设备。Based on the technical problems of the background technology, the present invention proposes a mineral water supply equipment.

本发明提出的一种矿物质水供水设备,包括罐体和滤水机构,所述罐体的顶部连接有进水管,所述罐体的底部连接有出水管,所述滤水机构设置有滤网斗和滤网筒;所述滤网斗转动设置于罐体内的顶部位置,所述滤网斗外侧底端传动连接有驱动电机,所述滤网斗的顶端中间位置设置有竖直通口,所述滤网斗的外径和内径均自上而下逐渐增大;所述滤网筒顶部与滤网斗底部之间连接有安装架,所述出水管设置于滤网筒的轴心位置。A mineral water supply equipment proposed by the present invention includes a tank body and a water filter mechanism, the top of the tank body is connected with a water inlet pipe, the bottom of the tank body is connected with a water outlet pipe, and the water filter mechanism is provided with a filter Mesh bucket and filter cylinder; the filter bucket is rotatably set at the top position in the tank, the outer bottom of the filter bucket is connected with a drive motor, and the middle position of the top of the filter bucket is provided with a vertical opening , the outer and inner diameters of the filter bucket gradually increase from top to bottom; a mounting frame is connected between the top of the filter cylinder and the bottom of the filter bucket, and the outlet pipe is arranged at the axis of the filter cylinder Location.

优选的,所述罐体顶端的中间位置固定有向下延伸的连接筒,所述连接筒外壁位于滤网斗的上方开设有环形阵列分布的穿槽一;所述连接筒外壁位于滤网斗下方固定有挡板,所述挡板的顶部开设有环形阵列分布的引流槽,所述连接筒外壁位于挡板上方开设有环形阵列分布的穿槽二;所述连接筒的顶端可拆卸连接有安装盖,所述安装盖底端固定有向下延伸的连接杆,所述连接杆外壁位于穿槽的底部安装有固定挡块。Preferably, the middle position of the top of the tank body is fixed with a downwardly extending connecting cylinder, and the outer wall of the connecting cylinder is located above the filter bucket to provide a circular array of through grooves; the outer wall of the connecting cylinder is positioned above the filter bucket. A baffle plate is fixed below, and the top of the baffle plate is provided with drainage grooves distributed in an annular array, and the outer wall of the connecting cylinder is located above the baffle plate and is provided with a second groove distributed in an annular array; the top of the connecting cylinder is detachably connected with A cover is installed, a connecting rod extending downward is fixed at the bottom end of the installing cover, and a fixed block is installed on the outer wall of the connecting rod at the bottom of the through groove.

优选的,所述连接筒外壁位于滤网筒内的位置自上而下依次固定有网板一、网板二和网板三;所述连接筒底端延伸至网板三下方,所述连接筒外壁位于网板一和网板二顶部外壁的上方均开设有环形阵列分布的穿槽四,所述连接筒外壁位于网板一和网板二底部外壁的下方均开设有环形阵列分布的穿槽五,所述连接筒外壁位于滤网筒顶端外壁的上方开设有环形阵列分布的穿槽三;所述连接杆外壁与网板一和网板二对应的位置滑动连接有移动挡块,所述移动挡块连接有弹簧。Preferably, the outer wall of the connecting cylinder is located in the filter cylinder, and the first mesh plate, the second mesh plate and the third mesh plate are sequentially fixed from top to bottom; the bottom end of the connecting barrel extends to the bottom of the third mesh plate, and the connection The outer wall of the cylinder is located above the top outer wall of the first net plate and the second net plate, and is provided with a circular array of through grooves four, and the outer wall of the connecting cylinder is located below the bottom outer wall of the first net plate and the second net plate. Groove five, the outer wall of the connecting cylinder is located above the outer wall of the top of the filter cylinder, and there are three through grooves distributed in an annular array; the outer wall of the connecting rod is slidably connected with the positions corresponding to the first and second mesh plates, and there are moving stops. The moving stopper is connected with a spring.

优选的,所述固定挡块底部与移动挡块之间连接有弹簧一,所述连接杆的底端固定有固定板,所述固定板位于连接筒底端的下方位置,所述固定板顶部与移动挡块之间连接有弹簧二。Preferably, a spring one is connected between the bottom of the fixed block and the movable block, the bottom end of the connecting rod is fixed with a fixed plate, the fixed plate is located below the bottom end of the connecting cylinder, and the top of the fixed plate is connected to A spring two is connected between the movable stoppers.

优选的,所述固定挡块的圆周外壁开设有环形阵列分布的间隙槽,所述间隙槽在竖直方向上穿透设置,所述间隙槽的宽度向着远离固定挡块的中心位置逐渐增加。Preferably, the circumferential outer wall of the fixed stop is provided with gap grooves distributed in an annular array, the gap grooves are vertically penetrated, and the width of the gap grooves gradually increases toward the center position away from the fixed stop.

优选的,所述罐体内壁和滤网筒外壁之间滑动设置有升降件,所述升降件的底部连接有电动升降杆,所述升降件在网板三和滤网筒顶端外壁之间竖直往复移动。Preferably, a lifting member is slidably arranged between the inner wall of the tank and the outer wall of the filter cylinder, and an electric lifting rod is connected to the bottom of the lifting member, and the lifting member is vertically positioned between the third mesh plate and the outer wall of the top of the filter cylinder. Move back and forth straight.

优选的,所述升降件的顶部开设有环状结构的辅助槽,所述辅助槽朝向滤网筒的内部穿透设置,所述弹片向着靠近滤网筒的一侧倾斜向下。Preferably, a ring-shaped auxiliary groove is opened on the top of the lifter, the auxiliary groove penetrates toward the inside of the filter cylinder, and the elastic piece is inclined downward toward the side close to the filter cylinder.

优选的,所述滤网斗的外壁设置有环形阵列分布的起伏组件,所述起伏组件设置有转动块和接触板,所述滤网斗外壁与转动块对应的位置开设有穿透槽,所述转动块通过扭簧与穿透槽内壁转动连接,所述接触板固定于转动块外壁上方,所述接触板向着远离连接筒一侧倾斜向上,所述接触板与进水管的位置对应,所述接触板的顶部开设有多个椭圆形结构的分散槽,多个所述分散槽同圆心设置。Preferably, the outer wall of the screen bucket is provided with undulating assemblies distributed in a circular array, the undulating assembly is provided with a rotating block and a contact plate, and the outer wall of the screen bucket is provided with a penetration groove at a position corresponding to the rotating block, so that The rotating block is rotatably connected to the inner wall of the penetration groove through a torsion spring, the contact plate is fixed above the outer wall of the rotating block, the contact plate is inclined upward toward the side away from the connecting cylinder, and the position of the contact plate corresponds to the water inlet pipe. The top of the contact plate is provided with a plurality of dispersing grooves with an elliptical structure, and the plurality of dispersing grooves are concentrically arranged.

优选的,所述转动块外壁的底部固定有延伸板,所述延伸板向着远离连接筒的一侧倾斜向下,所述延伸板的底端延伸至滤网筒顶部外壁的下方位置,所述延伸板的侧壁开设有等距离分布的流动槽,所述流动槽穿透设置。Preferably, an extension plate is fixed on the bottom of the outer wall of the rotating block, and the extension plate is inclined downward toward the side away from the connecting cylinder, and the bottom end of the extension plate extends to a position below the outer wall of the top of the filter cylinder, the The side wall of the extension plate is provided with equidistantly distributed flow grooves, and the flow grooves are penetrated.

本发明中的有益效果为:Beneficial effects among the present invention are:

1、本发明实施例中,通过设置的滤网斗和滤网筒,当进水量过大或进水速度过快时,积水向上直至到达竖直通口,而直接向下涌入,而通过滤网筒进行过滤处理,部分水直接从滤网筒顶端过滤,部分水撞击分散至外围从滤网筒外围进行过滤,以分散过滤而避免拥堵积水;并利用竖直延伸设置的滤网筒使竖直空间具有较大的留存空间,而避免滤网筒外壁过滤不及时;从而提高实际连续供水作业时对原水地过滤效率。1. In the embodiment of the present invention, through the set filter bucket and filter cylinder, when the water intake is too large or the water intake speed is too fast, the accumulated water will go up until it reaches the vertical opening, and then directly pour in downwards, while Filter through the filter cylinder, part of the water is filtered directly from the top of the filter cylinder, and part of the water hits and disperses to the periphery to filter from the periphery of the filter cylinder to disperse and filter to avoid congestion and stagnant water; and use the vertically extending filter The cylinder makes the vertical space have a larger storage space, and avoids the filter cylinder outer wall from being untimely filtered; thereby improving the filtration efficiency of raw water during actual continuous water supply operations.

2、本发明实施例中,通过设置的网板一、网板二和网板三,以及穿槽三、穿槽四和穿槽五,当水从滤网筒外部涌入至内部而在筒腔一或筒腔二拥堵积水时,积水从穿槽四进入至连接筒而挤压移动挡块以疏通分散水流进行过滤处理作业;当水在筒腔三位置拥堵积水时,使积水水面上升而从网板二下方的穿槽五进入连接筒而排出,并向上挤压移动挡块,从而通过整体设置在保证对原水进行有效过滤的同时,有效避免发生积水堵塞而影响处理的连续性,且通过整体对水流的分散相较于现有技术可大大提高实际的注水流通速率,而提高整体供水系统的工作效率。2. In the embodiment of the present invention, through the first screen plate, the second screen plate and the third screen plate, as well as the third slot, the fourth slot and the fifth slot, when the water flows from the outside of the filter cylinder to the inside, the When cavity 1 or cylinder cavity 2 is congested with accumulated water, the accumulated water enters the connecting cylinder through groove 4 and squeezes the moving block to dredge and disperse the water flow for filtration; The water surface rises and enters the connecting cylinder from the slot 5 below the mesh plate 2 to be discharged, and squeezes the moving stopper upwards, so that the overall setting can effectively filter the raw water while effectively avoiding the clogging of accumulated water and affecting the treatment The continuity of the water flow can be greatly improved by the overall dispersion of the water flow compared with the existing technology, and the working efficiency of the overall water supply system can be improved.

3、本发明实施例中,通过升降件的封堵设置且升降件最低端与网板三对应,而使滤网筒外围进入内部的水,流入至筒腔一或筒腔二或筒腔三中,以保证过滤效果;并且通过使升降件在滤网筒外围主动进行升降往复作业,而使从从滤网筒外围不同位置进入内部,而使筒腔一、筒腔二和筒腔三内间隔少量积水,以分散水流进行过滤,提高过滤效果的同时,避免长时间固定流向过滤而造成积水拥堵,从而进一步提高实际供水过滤处理的作业效率。3. In the embodiment of the present invention, through the blocking setting of the lifting member and the lowest end of the lifting member corresponds to the third mesh plate, the water that enters the interior of the filter cylinder from the periphery flows into the first cylinder cavity or the second cylinder cavity or the third cylinder cavity In order to ensure the filtering effect; and by making the lifting parts actively carry out lifting and reciprocating operations on the periphery of the filter cylinder, so that different positions from the periphery of the filter cylinder can enter the interior, so that the cylinder cavity 1, cylinder cavity 2 and cylinder cavity 3 A small amount of stagnant water at intervals is used to filter with dispersed water flow to improve the filtering effect while avoiding stagnant water congestion caused by long-term fixed flow direction filtration, thereby further improving the operational efficiency of the actual water supply filtration treatment.

4、本发明实施例中,通过设置的起伏组件,当接触板受到进水碰撞而往复偏转时,带着下方的延伸板往复偏转,以撞击分散从滤网斗落下的水流;并且当升降件升至滤网筒顶端时,升降件上的积水使延伸板的底端向上浮起偏转,而使上方的接触板向上偏转,而使此状态下滤网斗顶部的水大量从滤网斗上方区域流下,以进一步分散水流进行过滤从而提高实际的处理作业效率以及提高连续过滤效果。4. In the embodiment of the present invention, through the undulating assembly provided, when the contact plate is reciprocally deflected by the impact of the incoming water, it will deflect reciprocally with the extension plate below to impact and disperse the water flow falling from the filter bucket; and when the lifting member When it rises to the top of the filter cylinder, the accumulated water on the lifting parts will cause the bottom of the extension plate to float up and deflect, and the contact plate above will deflect upward, so that a large amount of water on the top of the filter bucket will flow from the filter bucket in this state. The upper area flows down to further disperse the water flow for filtration so as to improve the actual treatment efficiency and improve the continuous filtration effect.

附图说明Description of drawings

图1为本发明提出的一种矿物质水供水设备的整体外部结构示意图;Fig. 1 is a schematic diagram of the overall external structure of a kind of mineral water water supply equipment proposed by the present invention;

图2为本发明提出的一种矿物质水供水设备的整体爆炸结构示意图;Fig. 2 is a schematic diagram of the overall explosion structure of a mineral water supply equipment proposed by the present invention;

图3为本发明提出的一种矿物质水供水设备的罐体内部结构示意图;Fig. 3 is a schematic diagram of the internal structure of a tank body of a mineral water supply equipment proposed by the present invention;

图4为本发明提出的一种矿物质水供水设备的滤网斗结构示意图;Fig. 4 is a structural schematic diagram of a filter bucket of a mineral water supply equipment proposed by the present invention;

图5为本发明提出的一种矿物质水供水设备的滤网斗和挡板结构示意图;Fig. 5 is a structural schematic diagram of a filter bucket and a baffle plate of a mineral water supply equipment proposed by the present invention;

图6为本发明提出的一种矿物质水供水设备的起伏组件结构示意图;Fig. 6 is a structural schematic diagram of the undulating component of a mineral water supply equipment proposed by the present invention;

图7为本发明提出的一种矿物质水供水设备的滤网筒结构示意图;Fig. 7 is a structural schematic diagram of a filter cylinder of a mineral water supply equipment proposed by the present invention;

图8为本发明提出的一种矿物质水供水设备的滤网筒内部结构示意图;Fig. 8 is a schematic diagram of the internal structure of a filter cylinder of a mineral water supply equipment proposed by the present invention;

图9为本发明提出的一种矿物质水供水设备的连接筒结构示意图;Fig. 9 is a structural schematic diagram of a connecting cylinder of a mineral water supply equipment proposed by the present invention;

图10为本发明提出的一种矿物质水供水设备的连接筒剖视结构示意图;Fig. 10 is a schematic cross-sectional structure diagram of a connecting cylinder of a mineral water supply equipment proposed by the present invention;

图11为本发明提出的一种矿物质水供水设备的固定挡块和穿槽二结构示意图;Fig. 11 is a schematic diagram of the structure of a fixed block and a slot for a mineral water supply equipment proposed by the present invention;

图12为本发明提出的一种矿物质水供水设备的移动挡块位置结构示意图;Fig. 12 is a schematic diagram of the position and structure of the moving block of a mineral water supply equipment proposed by the present invention;

图13为本发明提出的一种矿物质水供水设备的升降件结构示意图。Fig. 13 is a structural schematic diagram of a lifting member of a mineral water supply equipment proposed by the present invention.

图中:1罐体、101罐底、102罐筒、103罐顶、104罐脚、2进水管、3出水管、4滤网斗、5驱动电机、6滤网筒、601筒腔一、602筒腔二、603筒腔三、604筒腔四、7安装架、8连接筒、9穿槽一、10挡板、11引流槽、12穿槽二、13安装盖、14连接杆、15固定挡块、151间隙槽、16网板一、17网板二、18网板三、19移动挡块、20穿槽四、21穿槽五、22固定板、23弹簧一、24弹簧二、25升降件、26电动升降杆、27辅助槽、28弹片、29起伏组件、30转动块、31接触板、311分散槽、32延伸板、321流动槽、33穿槽三。In the figure: 1 tank body, 101 tank bottom, 102 tank barrel, 103 tank top, 104 tank foot, 2 water inlet pipe, 3 water outlet pipe, 4 filter mesh bucket, 5 driving motor, 6 filter mesh cylinder, 601 cylinder cavity 1, 602 Cylinder Cavity Two, 603 Cylinder Cavity Three, 604 Cylinder Cavity Four, 7 Mounting Frame, 8 Connecting Cylinder, 9 Groove 1, 10 Baffle, 11 Drainage Groove, 12 Groove 2, 13 Mounting Cover, 14 Connecting Rod, 15 Fixed block, 151 gap slot, 16 mesh plate one, 17 mesh plate two, 18 mesh plate three, 19 moving block, 20 slot four, 21 slot five, 22 fixed plate, 23 spring one, 24 spring two, 25 lifting parts, 26 electric lifting rods, 27 auxiliary tanks, 28 shrapnel, 29 undulating components, 30 rotating blocks, 31 contact plates, 311 dispersion tanks, 32 extension plates, 321 flow tanks, 33 through tanks.

具体实施方式Detailed ways

实施例1Example 1

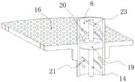
参照图1-图3,一种矿物质水供水设备,包括罐体1和滤水机构,罐体1的顶部连接有进水管2,罐体1的底部连接有出水管3,罐体1设置有可拆卸的罐底101、罐筒102和罐顶103,罐底101的底部固定有多个罐脚104,参照图3,滤水机构设置有滤网斗4和滤网筒6;滤网斗4转动设置于罐体1内的顶部位置,滤网斗4外侧底端传动连接有驱动电机5,进水管2设置于滤网斗4的一侧位置,滤网斗4的顶端中间位置设置有竖直通口,滤网斗4的外径和内径均自上而下逐渐增大;滤网筒6顶部与滤网斗4底部之间连接有安装架7,滤网筒6的底端开口设置,滤网筒6的底端外壁与罐体1内壁滑动接触,滤网筒6的外壁和顶部均设置有网孔,出水管3设置于滤网筒6的轴心位置,从而在实际使用时,从进水管2注入待过滤的原水,正常状态下,利用驱动电机5转动滤网斗4和滤网筒6,而使进入的原水先自上而下穿过滤网斗4落下,然后自外向内穿过滤网筒6,以过滤完成;当进水量过大或进水速度过快时,在直接与进水管2接触位置的滤网斗4表面产生水膜,而使滤网斗4上方水不能快速滤出而积水,积水向上直至到达竖直通口,而直接向下涌入,而通过滤网筒6进行过滤处理,部分水直接从滤网筒6顶端过滤,部分水撞击分散至外围从滤网筒6外围进行过滤,以分散过滤而避免拥堵积水;并利用竖直延伸设置的滤网筒6使竖直空间具有较大的留存空间,而避免滤网筒6外壁过滤不及时;从而提高实际连续供水作业时对原水地过滤效率。Referring to Figures 1-3, a mineral water supply device includes a tank body 1 and a water filter mechanism, the top of the tank body 1 is connected to a water inlet pipe 2, the bottom of the tank body 1 is connected to a water outlet pipe 3, and the tank body 1 is provided with There are detachable tank bottom 101, tank barrel 102 and tank top 103, and the bottom of tank bottom 101 is fixed with a plurality of tank feet 104, with reference to Fig. 3, water filtering mechanism is provided with filter screen bucket 4 and filter screen cylinder 6; The bucket 4 is rotated and set at the top position inside the tank body 1, the outer bottom end of the filter bucket 4 is connected to the drive motor 5, the water inlet pipe 2 is set on one side of the filter bucket 4, and the top middle of the filter bucket 4 is set There is a vertical opening, and the outer and inner diameters of the filter bucket 4 gradually increase from top to bottom; a mounting frame 7 is connected between the top of the filter cylinder 6 and the bottom of the filter bucket 4, and the bottom of the filter cylinder 6 The opening is set, the outer wall of the bottom end of the filter cylinder 6 is in sliding contact with the inner wall of the tank body 1, the outer wall and the top of the filter cylinder 6 are provided with mesh holes, and the outlet pipe 3 is arranged at the axial center of the filter cylinder 6, so that in practice During use, the raw water to be filtered is injected from the water inlet pipe 2. Under normal conditions, the drive motor 5 is used to rotate the filter screen bucket 4 and the filter screen cylinder 6, so that the incoming raw water first passes through the filter screen bucket 4 from top to bottom and falls, and then Pass through the filter screen cylinder 6 from the outside to the inside to complete the filtration; when the water intake is too large or the water intake speed is too fast, a water film will be formed on the surface of the filter screen bucket 4 directly in contact with the water inlet pipe 2, and the filter screen bucket 4 The water above cannot be filtered out quickly and accumulates water. The accumulated water rises up until it reaches the vertical port, and directly pours in downwards, and is filtered through the filter cylinder 6. Part of the water is directly filtered from the top of the filter cylinder 6, and part of the water The impact is scattered to the periphery and filtered from the periphery of the filter cylinder 6 to disperse and filter to avoid congestion and stagnant water; The outer wall is not filtered in time; thereby improving the filtration efficiency of raw water during actual continuous water supply operations.

本发明中,参照图3-图4,罐体1顶端的中间位置固定有向下延伸的连接筒8,连接筒8的外壁与竖直通口的内壁滑动接触,连接筒8外壁位于滤网斗4的上方开设有环形阵列分布的穿槽一9,穿槽一9的底端位于滤网斗4顶端外壁的下方;参照图5,连接筒8外壁位于滤网斗4下方固定有挡板10,挡板10的顶部开设有环形阵列分布的引流槽11,引流槽11的深度向着远离连接筒8的一侧逐渐增加,挡板10设置于滤网斗4内部区域的位置,连接筒8外壁位于挡板10上方开设有环形阵列分布的穿槽二12,穿槽二12的底端位于挡板10顶部外壁的上方;参照图3、图7、图10和图11,连接筒8的顶端可拆卸连接有安装盖13,安装盖13底端固定有向下延伸的连接杆14,连接杆14外壁位于穿槽12的底部安装有固定挡块15,实际在正常使用时,进水管2进水撞击在滤网斗4的中间区域,少量水从滤网斗4顶部区域穿过而撞击在挡板10上,大量水从滤网斗4底部区域穿过而直接落在滤网筒6的外围,以保证连续过滤的速率和有效性;当滤网斗4顶部积水时,大量水从滤网斗4顶部区域落下至挡板10上,或大量水从顶端的穿槽一9进入至连接筒8中落下,然后通过固定挡块15的限位而从穿槽二12流至挡板10顶部,以使水分散流出,利用连接筒8的连通可避免堵塞积水,而通过挡板10的设置使下落的水分散,而避免直接涌下后集中而影响过滤效率。In the present invention, referring to Fig. 3-Fig. 4, a connecting cylinder 8 extending downward is fixed at the middle position of the top of the tank body 1, and the outer wall of the connecting cylinder 8 is in sliding contact with the inner wall of the vertical port, and the outer wall of the connecting cylinder 8 is located on the filter screen. The top of the bucket 4 is provided with a circular array of slots-9, and the bottom of the slots-9 is located below the top outer wall of the filter bucket 4; referring to Figure 5, the outer wall of the connecting cylinder 8 is located below the filter bucket 4 and is fixed with a baffle plate 10. The top of the baffle plate 10 is provided with drainage grooves 11 distributed in an annular array. The depth of the drainage grooves 11 gradually increases toward the side away from the connecting cylinder 8. The baffle plate 10 is arranged in the inner area of the filter bucket 4. The connecting cylinder 8 The outer wall is located above the baffle plate 10 and is provided with two grooves 12 distributed in an annular array, and the bottom end of the two grooves 12 is located above the top outer wall of the baffle plate 10; with reference to Fig. 3, Fig. 7, Fig. 10 and Fig. The top is detachably connected with an installation cover 13, and the bottom end of the installation cover 13 is fixed with a connecting rod 14 extending downward. The incoming water hits the middle area of the filter bucket 4, a small amount of water passes through the top area of the filter bucket 4 and hits the baffle plate 10, and a large amount of water passes through the bottom area of the filter bucket 4 and falls directly on the filter cylinder 6 to ensure the rate and effectiveness of continuous filtration; when water accumulates on the top of the screen bucket 4, a large amount of water falls from the top area of the screen bucket 4 to the baffle plate 10, or a large amount of water enters from the top through the groove 9 Fall into the connecting cylinder 8, and then flow from the second groove 12 to the top of the baffle plate 10 through the limit of the fixed stopper 15, so that the water can disperse and flow out. The communication of the connecting cylinder 8 can avoid blocking the accumulated water, and pass The arrangement of the plate 10 disperses the falling water, and avoids concentration after directly rushing down to affect the filtration efficiency.

本发明中,参照图8-图10,连接筒8外壁位于滤网筒6内的位置自上而下依次固定有网板一16、网板二17和网板三18,滤网筒6内通过网板一16、网板二17和网板三18构成有自上而下依次设置的筒腔一601、筒腔二602、筒腔三603和筒腔四604,出水管3顶端与筒腔四604连通,筒腔一601、筒腔二602和筒腔三603的高度自上而下逐渐减小;参照图10,连接筒8底端延伸至网板三18下方,连接筒8外壁位于网板一16和网板二17顶部外壁的上方均开设有环形阵列分布的穿槽四20,连接筒8外壁位于网板一16和网板二17底部外壁的下方均开设有环形阵列分布的穿槽五21,连接筒8外壁位于滤网筒6顶端外壁的上方开设有环形阵列分布的穿槽三33;参照图10和图12连接杆14外壁与网板一16和网板二17对应的位置滑动连接有移动挡块19,移动挡块19连接有弹簧;实际在正常使用时,从上方落下的水部分从滤网筒6顶端穿过落下,而依次经过网板一16、网板二17和网板三18,部分的水从滤网筒6外壁穿透进入内部;In the present invention, with reference to Fig. 8-Fig. 10, the outer wall of the connecting cylinder 8 is located in the position of the filter cylinder 6, and the first mesh plate 16, the second mesh plate 17 and the third mesh plate 18 are sequentially fixed from top to bottom. The first stencil 16, the second stencil 17 and the third stencil 18 form a cylinder cavity 1 601, a cylinder cavity 2 602, a cylinder cavity 3 603 and a cylinder cavity 4 604 arranged in sequence from top to bottom. Cavity 4 604 is connected, and the heights of cylinder chamber 1 601, cylinder chamber 2 602 and cylinder chamber 3 603 gradually decrease from top to bottom; referring to Figure 10, the bottom end of connecting cylinder 8 extends below mesh plate 3 18, and the outer wall of connecting cylinder 8 Above the top outer walls of the first net plate 16 and the second net plate 17, there are four grooves 20 distributed in an annular array, and the outer wall of the connecting cylinder 8 is provided with an annular array distribution under the outer walls of the bottom outer walls of the first net plate 16 and the second net plate 17. Groove five 21, the outer wall of the connecting cylinder 8 is located above the outer wall of the filter cylinder 6 top and is provided with groove three 33 distributed in an annular array; with reference to Figure 10 and Figure 12, the outer wall of the connecting rod 14 and the first 16 and second 17 of the net plate The corresponding position is slidably connected with a moving stop 19, and the moving stop 19 is connected with a spring; in fact, in normal use, the water part falling from above passes through the top of the filter screen cylinder 6 and falls, and passes through the net plate 16, the net Plate 2 17 and screen plate 3 18, part of the water penetrates from the outer wall of the filter cylinder 6 into the interior;

在滤网筒6外部积水时可从顶部位置的穿槽三33进入至连接筒8中,然后从网板一16对应的移动挡块19上的穿槽四20流出至筒腔601中;当进水过快或水量过大时,可向下冲击网板一16对应的移动挡块19,而使部分水从网板一16下方的穿槽五21流出至筒腔二602中,同理在进水过大时也可向下冲击网板二17对应的移动挡块19,从而在积水时将积水分散通入进行过滤处理,而保证对原水进行有效的过滤处理作业且保证连续供水处理过程中的通畅性,以提高整体供水系统的工作效率;When water accumulates outside the filter screen cylinder 6, it can enter the connecting cylinder 8 from the third through groove 33 at the top position, and then flow out from the through groove four 20 on the movable block 19 corresponding to the screen plate one 16 into the cylinder chamber 601; When the water inflow is too fast or the amount of water is too large, it can hit the moving block 19 corresponding to the net plate one 16 downwards, so that part of the water flows out from the slot five 21 below the net plate one 16 into the cylinder cavity two 602, and at the same time When the water inflow is too large, it can also impact the mobile stopper 19 corresponding to the screen plate 2 17 downwards, so that when the water accumulates, the accumulated water is dispersed and passed in for filtration, so as to ensure that the raw water is effectively filtered and treated. The patency in the process of continuous water supply treatment to improve the working efficiency of the overall water supply system;

当水从滤网筒6外部涌入至内部而在筒腔一601或筒腔二602拥堵积水时,积水从穿槽四20进入至连接筒8而挤压移动挡块19以疏通分散水流进行过滤处理作业;当水在筒腔三603位置拥堵积水时,使积水水面上升而从网板二17下方的穿槽五21进入连接筒8而排出,并向上挤压移动挡块19,从而通过整体设置在保证对原水进行有效过滤的同时,有效避免发生积水堵塞而影响处理的连续性,且通过整体对水流的分散相较于现有技术可大大提高实际的注水流通速率,而提高整体供水系统的工作效率。When the water pours from the outside of the filter cylinder 6 to the inside and accumulates water in the cylinder cavity 1 601 or cylinder cavity 2 602, the accumulated water enters the connecting cylinder 8 through the groove 4 20 and squeezes the moving stopper 19 to dredge and disperse. The water flow is filtered and processed; when the water is congested at the position of cylinder cavity 3 603, the surface of the accumulated water rises and enters the connecting cylinder 8 from the slot 5 21 below the mesh plate 2 17 to be discharged, and the moving stop is squeezed upward 19. Through the overall setting, while ensuring effective filtration of raw water, it can effectively avoid clogging of accumulated water and affect the continuity of treatment, and the actual flow rate of water injection can be greatly improved by the overall dispersion of water flow compared with the existing technology , and improve the efficiency of the overall water supply system.

本发明中,参照图10,固定挡块15底部与移动挡块19之间连接有弹簧一23,弹簧一23底端与网板一16对应的移动挡块19之间连接,连接杆14的底端固定有固定板22,固定板22位于连接筒8底端的下方位置,固定板22顶部与移动挡块19之间连接有弹簧二24,弹簧二24顶端与网板二17对应的移动挡块19之间连接,实际使用时,可通过安装盖13与连接筒8顶端的拆卸安装,而将固定挡块15、移动挡块19和固定板22设置于连接筒8内的各个位置,且通过弹簧一23和弹簧二24可保证移动挡块19在竖直方向的移动,且将两个移动挡块19分别连接而使两个移动挡块19相互直接不直接同时移动,以在水流运动过程中分散水流,而提高对水流的分散过滤效果。In the present invention, with reference to Fig. 10, a spring one 23 is connected between the bottom of the fixed stopper 15 and the movable stopper 19, the bottom end of the spring one 23 is connected with the movable stopper 19 corresponding to the net plate one 16, and the connecting rod 14 The bottom end is fixed with a fixed plate 22, the fixed plate 22 is located at the lower position of the bottom of the connecting cylinder 8, a spring two 24 is connected between the top of the fixed plate 22 and the movable block 19, and the movable block corresponding to the top of the spring two 24 and the mesh plate two 17 The blocks 19 are connected. In actual use, the fixed block 15, the movable block 19 and the fixed plate 22 can be arranged at various positions in the connecting tube 8 by disassembling and installing the mounting cover 13 and the top of the connecting tube 8, and The movement of the movable block 19 in the vertical direction can be guaranteed by the spring one 23 and the spring two 24, and the two movable blocks 19 are connected respectively so that the two movable blocks 19 are directly or not directly moved simultaneously to move in the water flow Disperse the water flow during the process, and improve the dispersion and filtration effect of the water flow.

本发明中,参照图11,固定挡块15的圆周外壁开设有环形阵列分布的间隙槽151,间隙槽151在竖直方向上穿透设置,间隙槽151的宽度向着远离固定挡块15的中心位置逐渐增加,从而在实际使用时,当滤网斗4上产生积水时,水从穿槽一9进入至滤网筒6中并从穿槽二12流出,少部分水沿着外围分布的间隙槽151而贴着连接筒8内壁流下进入至滤网筒6内,并从筒腔一601的穿槽四20中流出,以在滤网筒6内分层过滤,从而进一步将进水管2进入的水分散过滤,在保证过滤有效性的同时提高工作效率。In the present invention, referring to FIG. 11 , the circumferential outer wall of the fixed block 15 is provided with clearance grooves 151 distributed in an annular array, and the clearance grooves 151 are vertically penetrated. The position gradually increases, so that in actual use, when water accumulates on the filter bucket 4, the water enters the filter cylinder 6 from the first slot 9 and flows out from the second slot 12, and a small part of the water is distributed along the periphery The gap groove 151 is attached to the inner wall of the connecting cylinder 8 and flows down into the filter cylinder 6, and flows out from the through groove 4 20 of the cylinder cavity 1 601 to filter in layers in the filter cylinder 6, thereby further separating the water inlet pipe 2 The incoming water is dispersed and filtered to improve work efficiency while ensuring the effectiveness of filtration.

实施例2Example 2

在实施例1的基础上,参照图3和图13,一种矿物质水供水设备,罐体1内壁和滤网筒6外壁之间滑动设置有升降件25,升降件25的底部连接有电动升降杆26,升降件25在网板三18和滤网筒6顶端外壁之间竖直往复移动,从而在实际使用时,通过升降件25的封堵设置且升降件25最低端与网板三18对应,而使滤网筒6外围进入内部的水,流入至筒腔一601或筒腔二602或筒腔三603中,以保证过滤效果;并且通过使升降件25在滤网筒6外围主动进行升降往复作业,而使从从滤网筒6外围不同位置进入内部,而使筒腔一601、筒腔二602和筒腔三603内间隔少量积水,以分散水流进行过滤,提高过滤效果的同时,避免长时间固定流向过滤而造成积水拥堵,从而进一步提高实际供水过滤处理的作业效率。On the basis of Embodiment 1, referring to Fig. 3 and Fig. 13, a mineral water supply equipment, a lifting member 25 is slidingly arranged between the inner wall of the tank body 1 and the outer wall of the filter cylinder 6, and the bottom of the lifting member 25 is connected to an electric motor. The lifting rod 26 and the lifting member 25 vertically reciprocate between the third screen plate 18 and the top outer wall of the filter cylinder 6, so that in actual use, the lifting member 25 is blocked and set and the lowest end of the lifting member 25 is in contact with the third screen plate. 18 corresponds, and the water that makes the periphery of the filter cylinder 6 enters the interior flows into the cylinder chamber one 601 or cylinder chamber two 602 or cylinder chamber three 603 to ensure the filtering effect; Actively carry out lifting and reciprocating operations, so that people enter the interior from different positions on the periphery of the filter screen cylinder 6, and a small amount of water accumulates in the cylinder cavity 1 601, cylinder cavity 2 602 and cylinder cavity 3 603, so as to disperse the water flow for filtration and improve the filtration efficiency. At the same time, it avoids water congestion caused by long-term fixed flow direction filtration, thereby further improving the operational efficiency of actual water supply filtration treatment.

本发明中,参照图13,升降件25的顶部开设有环状结构的辅助槽27,辅助槽27朝向滤网筒6的内部穿透设置,辅助槽27的内壁固定有环形阵列分布的弹片28,弹片28向着靠近滤网筒6的一侧倾斜向下,从而在升降件25竖直往复运动的同时,弹片28会在竖直方向上反复弯折,以分散滤网筒6外围的水流,而有效避免在滤网筒6外壁发生积水,而进一步提高实际分散过滤的作业效果,且增强整体供水系统的工作效率。In the present invention, referring to FIG. 13 , the top of the lifting member 25 is provided with an auxiliary groove 27 of annular structure, and the auxiliary groove 27 is penetratingly arranged toward the inside of the filter cylinder 6 , and the inner wall of the auxiliary groove 27 is fixed with shrapnel 28 distributed in an annular array. , the shrapnel 28 is inclined downward toward the side close to the filter cylinder 6, so that when the lifting member 25 reciprocates vertically, the shrapnel 28 will bend repeatedly in the vertical direction to disperse the water flow around the filter cylinder 6, And effectively avoid water accumulation on the outer wall of the filter screen cylinder 6, further improve the operation effect of the actual dispersive filtration, and enhance the working efficiency of the overall water supply system.

实施例3Example 3

在实施例2的基础上,参照图4-图6,一种矿物质水供水设备,滤网斗4的外壁设置有环形阵列分布的起伏组件29,起伏组件29设置有转动块30和接触板31,滤网斗4外壁与转动块30对应的位置开设有穿透槽,转动块30通过扭簧与穿透槽内壁转动连接,接触板31固定于转动块30外壁上方,接触板31向着远离连接筒8一侧倾斜向上,接触板31与进水管2的位置对应,接触板31的顶部开设有多个椭圆形结构的分散槽311,多个分散槽311同圆心设置,从而在使用时,进水管2底端注入的水撞击在随着滤网斗4转动的接触板31上,并在接触板31远离进水管2时向上弹起而将水分散,配合多个分散槽311对进水的引流而提高对滤网斗4顶部待过滤水的分散效果。On the basis of Embodiment 2, referring to Fig. 4-Fig. 6, a kind of mineral water water supply equipment, the outer wall of the screen bucket 4 is provided with the undulating assembly 29 distributed in a circular array, and the undulating assembly 29 is provided with a rotating block 30 and a contact plate 31, the position corresponding to the outer wall of the filter bucket 4 and the rotating block 30 is provided with a penetration groove, the rotating block 30 is connected to the inner wall of the penetration groove through a torsion spring, and the contact plate 31 is fixed above the outer wall of the rotating block 30, and the contact plate 31 faces away from the One side of the connecting cylinder 8 is inclined upwards, and the contact plate 31 corresponds to the position of the water inlet pipe 2. The top of the contact plate 31 is provided with a plurality of dispersing grooves 311 in an oval structure, and the plurality of dispersing grooves 311 are arranged on the same circle center, so that when in use, The water injected from the bottom of the water inlet pipe 2 hits the contact plate 31 that rotates with the filter bucket 4, and bounces up when the contact plate 31 is away from the water inlet pipe 2 to disperse the water. Improve the dispersion effect of the water to be filtered at the top of the filter screen bucket 4 by drainage.

本发明中,参照图6,转动块30外壁的底部固定有延伸板32,延伸板32向着远离连接筒8的一侧倾斜向下,延伸板32的底端延伸至滤网筒6顶部外壁的下方位置,延伸板32的侧壁开设有等距离分布的流动槽321,流动槽321穿透设置,实际在使用时,当接触板31受到进水碰撞而往复偏转时,带着下方的延伸板32往复偏转,以撞击分散从滤网斗4落下的水流;并且下方利用升降件25在竖直方向上往复运动,而带着滤网筒6外围水往复升降时,当升降件25升至滤网筒6顶端时,升降件25上的积水使延伸板32的底端向上浮起偏转,而使上方的接触板31向上偏转,而使此状态下滤网斗4顶部的水大量从滤网斗4上方区域流下,以进一步分散水流进行过滤从而提高实际的处理作业效率以及提高连续过滤效果。In the present invention, referring to Fig. 6, an extension plate 32 is fixed on the bottom of the outer wall of the rotating block 30, and the extension plate 32 is inclined downward toward the side away from the connecting cylinder 8, and the bottom end of the extension plate 32 extends to the top outer wall of the screen cylinder 6. At the lower position, the side wall of the extension plate 32 is provided with flow grooves 321 equidistantly distributed, and the flow grooves 321 are penetrated. In actual use, when the contact plate 31 is hit by water and deflects back and forth, the extension plate below will 32 reciprocating deflection, to impact and disperse the water flow falling from the filter bucket 4; At the top of the net cylinder 6, the accumulated water on the lifter 25 makes the bottom of the extension plate 32 float up and deflect, and the contact plate 31 above is deflected upward, so that a large amount of water at the top of the filter bucket 4 is released from the filter in this state. The area above the net bucket 4 flows down to further disperse the water flow for filtration so as to improve the actual processing efficiency and improve the continuous filtration effect.

以上所述,仅为本发明较佳的具体实施方式,但本发明的保护范围并不局限于此,任何熟悉本技术领域的技术人员在本发明揭露的技术范围内,根据本发明的技术方案及其发明构思加以等同替换或改变,都应涵盖在本发明的保护范围之内。The above is only a preferred embodiment of the present invention, but the scope of protection of the present invention is not limited thereto, any person familiar with the technical field within the technical scope disclosed in the present invention, according to the technical solution of the present invention Any equivalent replacement or change of the inventive concepts thereof shall fall within the protection scope of the present invention.

Claims (9)

1.一种矿物质水供水设备,包括罐体(1)和滤水机构,所述罐体(1)的顶部连接有进水管(2),所述罐体(1)的底部连接有出水管(3),其特征在于,所述滤水机构设置有滤网斗(4)和滤网筒(6);1. A mineral water supply equipment, comprising a tank body (1) and a water filter mechanism, the top of the tank body (1) is connected with a water inlet pipe (2), and the bottom of the tank body (1) is connected with an outlet pipe The water pipe (3), characterized in that the water filter mechanism is provided with a filter bucket (4) and a filter cylinder (6); 所述滤网斗(4)转动设置于罐体(1)内的顶部位置,所述滤网斗(4)外侧底端传动连接有驱动电机(5),所述滤网斗(4)的顶端中间位置设置有竖直通口,所述滤网斗(4)的外径和内径均自上而下逐渐增大;The filter bucket (4) is rotatably arranged at the top position in the tank body (1), and the bottom end of the outside of the filter bucket (4) is connected with a drive motor (5), and the filter bucket (4) The middle position of the top is provided with a vertical opening, and the outer and inner diameters of the screen bucket (4) gradually increase from top to bottom; 所述滤网筒(6)顶部与滤网斗(4)底部之间连接有安装架(7),所述出水管(3)设置于滤网筒(6)的轴心位置。An installation frame (7) is connected between the top of the filter screen cylinder (6) and the bottom of the filter screen bucket (4), and the outlet pipe (3) is arranged at the axis of the filter screen cylinder (6). 2.根据权利要求1所述的一种矿物质水供水设备,其特征在于,所述罐体(1)顶端的中间位置固定有向下延伸的连接筒(8),所述连接筒(8)外壁位于滤网斗(4)的上方开设有环形阵列分布的穿槽一(9);2. A mineral water supply device according to claim 1, characterized in that a connecting cylinder (8) extending downward is fixed at the middle of the top of the tank body (1), and the connecting cylinder (8) ) the outer wall is positioned at the top of the filter screen bucket (4) and is provided with a circular array of slots one (9); 所述连接筒(8)外壁位于滤网斗(4)下方固定有挡板(10),所述挡板(10)的顶部开设有环形阵列分布的引流槽(11),所述连接筒(8)外壁位于挡板(10)上方开设有环形阵列分布的穿槽二(12);The outer wall of the connecting cylinder (8) is located below the screen bucket (4) and is fixed with a baffle (10), and the top of the baffle (10) is provided with drainage grooves (11) distributed in an annular array, and the connecting cylinder ( 8) The outer wall is located above the baffle plate (10) and is provided with two slots (12) distributed in an annular array; 所述连接筒(8)的顶端可拆卸连接有安装盖(13),所述安装盖(13)底端固定有向下延伸的连接杆(14),所述连接杆(14)外壁位于穿槽(12)的底部安装有固定挡块(15)。The top end of the connecting cylinder (8) is detachably connected with an installation cover (13), and the bottom end of the installation cover (13) is fixed with a connecting rod (14) extending downward, and the outer wall of the connecting rod (14) is located at the The bottom of the groove (12) is equipped with a fixed stopper (15). 3.根据权利要求2所述的一种矿物质水供水设备,其特征在于,所述连接筒(8)外壁位于滤网筒(6)内的位置自上而下依次固定有网板一(16)、网板二(17)和网板三(18);3. A mineral water supply device according to claim 2, characterized in that, the outer wall of the connecting cylinder (8) is located in the filter cylinder (6) and is sequentially fixed with a mesh plate ( 16), net plate two (17) and net plate three (18); 所述连接筒(8)底端延伸至网板三(18)下方,所述连接筒(8)外壁位于网板一(16)和网板二(17)顶部外壁的上方均开设有环形阵列分布的穿槽四(20),所述连接筒(8)外壁位于网板一(16)和网板二(17)底部外壁的下方均开设有环形阵列分布的穿槽五(21),所述连接筒(8)外壁位于滤网筒(6)顶端外壁的上方开设有环形阵列分布的穿槽三(33);The bottom end of the connecting cylinder (8) extends below the third net plate (18), and the outer wall of the connecting cylinder (8) is located above the top outer walls of the net plate one (16) and the second net plate (17). Distributed groove four (20), the outer wall of the connecting cylinder (8) is located below the bottom outer wall of the net plate one (16) and the net plate two (17) and is provided with five (21) of the annular array distribution. The outer wall of the connecting cylinder (8) is located above the top outer wall of the filter cylinder (6) and is provided with three grooves (33) distributed in an annular array; 所述连接杆(14)外壁与网板一(16)和网板二(17)对应的位置滑动连接有移动挡块(19),所述移动挡块(19)连接有弹簧。A moving block (19) is slidably connected to the outer wall of the connecting rod (14) and the corresponding positions of the net plate one (16) and the net plate two (17), and the moving block (19) is connected with a spring. 4.根据权利要求3所述的一种矿物质水供水设备,其特征在于,所述固定挡块(15)底部与移动挡块(19)之间连接有弹簧一(23),所述连接杆(14)的底端固定有固定板(22),所述固定板(22)位于连接筒(8)底端的下方位置,所述固定板(22)顶部与移动挡块(19)之间连接有弹簧二(24)。4. The mineral water supply equipment according to claim 3, characterized in that, a spring one (23) is connected between the bottom of the fixed block (15) and the movable block (19), and the connection The bottom end of the rod (14) is fixed with a fixed plate (22), and the fixed plate (22) is located below the bottom end of the connecting cylinder (8). Connect with spring two (24). 5.根据权利要求3所述的一种矿物质水供水设备,其特征在于,所述固定挡块(15)的圆周外壁开设有环形阵列分布的间隙槽(151),所述间隙槽(151)在竖直方向上穿透设置,所述间隙槽(151)的宽度向着远离固定挡块(15)的中心位置逐渐增加。5. The mineral water supply equipment according to claim 3, characterized in that, the circumferential outer wall of the fixed block (15) is provided with gap grooves (151) distributed in an annular array, and the gap grooves (151 ) is vertically penetrated, and the width of the gap groove (151) gradually increases toward the center position away from the fixed block (15). 6.根据权利要求3至5中任意一项所述的一种矿物质水供水设备,其特征在于,所述罐体(1)内壁和滤网筒(6)外壁之间滑动设置有升降件(25),所述升降件(25)的底部连接有电动升降杆(26),所述升降件(25)在网板三(18)和滤网筒(6)顶端外壁之间竖直往复移动。6. A mineral water supply device according to any one of claims 3 to 5, characterized in that a lifting member is slidingly arranged between the inner wall of the tank body (1) and the outer wall of the filter cylinder (6) (25), the bottom of the lifting member (25) is connected with an electric lifting rod (26), and the lifting member (25) reciprocates vertically between the screen plate three (18) and the top outer wall of the filter cylinder (6) move. 7.根据权利要求6所述的一种矿物质水供水设备,其特征在于,所述升降件(25)的顶部开设有环状结构的辅助槽(27),所述辅助槽(27)朝向滤网筒(6)的内部穿透设置,所述弹片(28)向着靠近滤网筒(6)的一侧倾斜向下。7. The mineral water supply equipment according to claim 6, characterized in that, the top of the lifting member (25) is provided with an auxiliary groove (27) of annular structure, and the auxiliary groove (27) faces The inside of the filter cylinder (6) is penetrated, and the elastic piece (28) is inclined downward toward the side close to the filter cylinder (6). 8.根据权利要求6所述的一种矿物质水供水设备,其特征在于,所述滤网斗(4)的外壁设置有环形阵列分布的起伏组件(29),所述起伏组件(29)设置有转动块(30)和接触板(31),所述滤网斗(4)外壁与转动块(30)对应的位置开设有穿透槽,所述转动块(30)通过扭簧与穿透槽内壁转动连接,所述接触板(31)固定于转动块(30)外壁上方,所述接触板(31)向着远离连接筒(8)一侧倾斜向上,所述接触板(31)与进水管(2)的位置对应,所述接触板(31)的顶部开设有多个椭圆形结构的分散槽(311),多个所述分散槽(311)同圆心设置。8. The mineral water supply equipment according to claim 6, characterized in that, the outer wall of the filter screen bucket (4) is provided with undulating assemblies (29) distributed in an annular array, and the undulating assemblies (29) A rotating block (30) and a contact plate (31) are provided, and a penetrating groove is opened on the outer wall of the filter bucket (4) corresponding to the rotating block (30). The inner wall of the through groove is rotationally connected, and the contact plate (31) is fixed above the outer wall of the rotating block (30). The contact plate (31) is inclined upward toward the side away from the connecting cylinder (8). The positions of the water inlet pipes (2) correspond to each other. The top of the contact plate (31) is provided with a plurality of dispersing grooves (311) in an elliptical structure, and the plurality of dispersing grooves (311) are concentrically arranged. 9.根据权利要求8所述的一种矿物质水供水设备,其特征在于,所述转动块(30)外壁的底部固定有延伸板(32),所述延伸板(32)向着远离连接筒(8)的一侧倾斜向下,所述延伸板(32)的底端延伸至滤网筒(6)顶部外壁的下方位置,所述延伸板(32)的侧壁开设有等距离分布的流动槽(321),所述流动槽(321)穿透设置。9. A mineral water supply device according to claim 8, characterized in that, an extension plate (32) is fixed on the bottom of the outer wall of the rotating block (30), and the extension plate (32) faces away from the connecting cylinder One side of (8) is inclined downward, and the bottom end of the extension plate (32) extends to the position below the top outer wall of the filter screen cylinder (6), and the side wall of the extension plate (32) is provided with equidistantly distributed The flow cell (321) is arranged through the flow cell (321).
CN202310261993.7A 2023-03-17 2023-03-17 Mineral water supply equipment Pending CN116236835A (en)

Priority Applications (1)

Application Number Priority Date Filing Date Title
CN202310261993.7A CN116236835A (en) 2023-03-17 2023-03-17 Mineral water supply equipment

Applications Claiming Priority (1)

Application Number Priority Date Filing Date Title
CN202310261993.7A CN116236835A (en) 2023-03-17 2023-03-17 Mineral water supply equipment

Publications (1)

Publication Number Publication Date
CN116236835A true CN116236835A (en) 2023-06-09

Family

ID=86635829

Family Applications (1)

Application Number Title Priority Date Filing Date
CN202310261993.7A Pending CN116236835A (en) 2023-03-17 2023-03-17 Mineral water supply equipment

Country Status (1)

Country Link
CN (1) CN116236835A (en)

Cited By (1)

* Cited by examiner, † Cited by third party
Publication number Priority date Publication date Assignee Title
CN117039072A (en) * 2023-08-31 2023-11-10 广东佛燃科技有限公司 Desulfurizing device for solid oxide fuel cell system

Citations (5)

* Cited by examiner, † Cited by third party
Publication number Priority date Publication date Assignee Title
CN107673500A (en) * 2017-11-08 2018-02-09 余彬楠 A kind of Multi-stage water filting device
US20210016045A1 (en) * 2017-12-21 2021-01-21 Oridion Medical 1987 Ltd. Bypass filter
CN216935023U (en) * 2021-11-02 2022-07-12 中铁十九局集团第五工程有限公司 High-water-permeability filtering drainage pipeline
CN218188433U (en) * 2022-10-28 2023-01-03 济南能源环保科技有限公司 Sewage treatment device with multi-stage filtering function
CN115646026A (en) * 2022-11-10 2023-01-31 中法合营王朝葡萄酿酒有限公司 Grape juice multi-stage filtering device for wine making

Patent Citations (5)

* Cited by examiner, † Cited by third party
Publication number Priority date Publication date Assignee Title
CN107673500A (en) * 2017-11-08 2018-02-09 余彬楠 A kind of Multi-stage water filting device
US20210016045A1 (en) * 2017-12-21 2021-01-21 Oridion Medical 1987 Ltd. Bypass filter
CN216935023U (en) * 2021-11-02 2022-07-12 中铁十九局集团第五工程有限公司 High-water-permeability filtering drainage pipeline
CN218188433U (en) * 2022-10-28 2023-01-03 济南能源环保科技有限公司 Sewage treatment device with multi-stage filtering function
CN115646026A (en) * 2022-11-10 2023-01-31 中法合营王朝葡萄酿酒有限公司 Grape juice multi-stage filtering device for wine making

Cited By (2)

* Cited by examiner, † Cited by third party
Publication number Priority date Publication date Assignee Title
CN117039072A (en) * 2023-08-31 2023-11-10 广东佛燃科技有限公司 Desulfurizing device for solid oxide fuel cell system
CN117039072B (en) * 2023-08-31 2024-03-26 广东佛燃科技有限公司 Desulfurizing device for solid oxide fuel cell system

Similar Documents

Publication Publication Date Title
CN116236835A (en) Mineral water supply equipment
CN210409769U (en) High-efficiency solid-liquid separation device for flowing water aquaculture tank
CN108439659A (en) A kind of sewage disposal device of replaceable strainer
CN113018948B (en) Cosmetic for spot food processing waste liquid recovery processing device
CN208486852U (en) A kind of negative pressure sand removing process tubing string
CN106988289B (en) Water body blue-green algae disposing device
CN221412345U (en) Filtering device
CN208611903U (en) A kind of impurities in liquid filtering separation device
CN219128574U (en) A filter sedimentation type water purification device
CN205357797U (en) Filtering separation all -in -one
CN214551412U (en) Sludge separating device for sewage treatment
CN209679613U (en) A kind of back flush type water filter
CN210358318U (en) Novel pinellia ternate cleaning machine
CN210103617U (en) Advanced treatment device with peculiar smell isolation structure for industrial wastewater
CN114832469A (en) Water purification micro-filtration equipment
CN209221605U (en) A pre-pump filter
CN209397004U (en) Small domestic water treatment device
CN207101991U (en) A kind of intelligent machine filter
CN208561826U (en) An internal circulation return device
CN219983999U (en) Quartz sand filter
CN216191484U (en) Sewage adjusting tank
CN208202043U (en) A kind of novel overflow mouth device
CN206965241U (en) A kind of rivers and lakes decontamination apparatus
CN223248900U (en) Internal inflow type fine grid filtering device for water works
CN205965262U (en) Semi -automatic integrative filter of vertical grit net formula

Legal Events

Date Code Title Description
PB01 Publication
PB01 Publication
SE01 Entry into force of request for substantive examination
SE01 Entry into force of request for substantive examination