CN116154685A - Complex electric robot - Google Patents
Complex electric robot Download PDFInfo
- Publication number
- CN116154685A CN116154685A CN202211684596.2A CN202211684596A CN116154685A CN 116154685 A CN116154685 A CN 116154685A CN 202211684596 A CN202211684596 A CN 202211684596A CN 116154685 A CN116154685 A CN 116154685A
- Authority
- CN
- China
- Prior art keywords
- peeling
- frame
- wire
- lifting
- clamping
- Prior art date
- Legal status (The legal status is an assumption and is not a legal conclusion. Google has not performed a legal analysis and makes no representation as to the accuracy of the status listed.)
- Pending
Links
- 230000007306 turnover Effects 0.000 claims abstract description 13
- 230000007246 mechanism Effects 0.000 claims description 123
- 238000001514 detection method Methods 0.000 claims description 42
- 230000005540 biological transmission Effects 0.000 claims description 32
- 238000003825 pressing Methods 0.000 claims description 32
- 150000001875 compounds Chemical class 0.000 claims description 17
- 239000004020 conductor Substances 0.000 claims description 8
- 210000002421 cell wall Anatomy 0.000 claims description 2
- 238000010248 power generation Methods 0.000 abstract description 11
- 230000002427 irreversible effect Effects 0.000 abstract description 4
- 238000004804 winding Methods 0.000 description 50
- 238000010586 diagram Methods 0.000 description 18
- 230000009471 action Effects 0.000 description 16
- 238000013016 damping Methods 0.000 description 9
- 238000013459 approach Methods 0.000 description 8
- 238000005452 bending Methods 0.000 description 8
- 238000005520 cutting process Methods 0.000 description 6
- 238000000034 method Methods 0.000 description 6
- 230000008569 process Effects 0.000 description 6
- 230000000694 effects Effects 0.000 description 4
- 230000001276 controlling effect Effects 0.000 description 3
- 230000003028 elevating effect Effects 0.000 description 2
- 230000006698 induction Effects 0.000 description 2
- 238000012986 modification Methods 0.000 description 2
- 230000004048 modification Effects 0.000 description 2
- 230000001105 regulatory effect Effects 0.000 description 2
- 230000001960 triggered effect Effects 0.000 description 2
- 230000001174 ascending effect Effects 0.000 description 1
- 230000009286 beneficial effect Effects 0.000 description 1
- 230000000739 chaotic effect Effects 0.000 description 1
- 230000009194 climbing Effects 0.000 description 1
- 238000006073 displacement reaction Methods 0.000 description 1
- 238000009434 installation Methods 0.000 description 1
- 230000009191 jumping Effects 0.000 description 1
- 238000012423 maintenance Methods 0.000 description 1
- 239000002184 metal Substances 0.000 description 1
- 230000002441 reversible effect Effects 0.000 description 1
- 230000000630 rising effect Effects 0.000 description 1
- 238000006467 substitution reaction Methods 0.000 description 1
- 238000012876 topography Methods 0.000 description 1
Images
Classifications
-
- H—ELECTRICITY
- H02—GENERATION; CONVERSION OR DISTRIBUTION OF ELECTRIC POWER
- H02G—INSTALLATION OF ELECTRIC CABLES OR LINES, OR OF COMBINED OPTICAL AND ELECTRIC CABLES OR LINES
- H02G1/00—Methods or apparatus specially adapted for installing, maintaining, repairing or dismantling electric cables or lines
- H02G1/14—Methods or apparatus specially adapted for installing, maintaining, repairing or dismantling electric cables or lines for joining or terminating cables
-
- H—ELECTRICITY
- H02—GENERATION; CONVERSION OR DISTRIBUTION OF ELECTRIC POWER
- H02G—INSTALLATION OF ELECTRIC CABLES OR LINES, OR OF COMBINED OPTICAL AND ELECTRIC CABLES OR LINES
- H02G1/00—Methods or apparatus specially adapted for installing, maintaining, repairing or dismantling electric cables or lines
- H02G1/12—Methods or apparatus specially adapted for installing, maintaining, repairing or dismantling electric cables or lines for removing insulation or armouring from cables, e.g. from the end thereof
- H02G1/1202—Methods or apparatus specially adapted for installing, maintaining, repairing or dismantling electric cables or lines for removing insulation or armouring from cables, e.g. from the end thereof by cutting and withdrawing insulation
- H02G1/1248—Machines
- H02G1/1265—Machines the cutting element rotating about the wire or cable
-
- Y—GENERAL TAGGING OF NEW TECHNOLOGICAL DEVELOPMENTS; GENERAL TAGGING OF CROSS-SECTIONAL TECHNOLOGIES SPANNING OVER SEVERAL SECTIONS OF THE IPC; TECHNICAL SUBJECTS COVERED BY FORMER USPC CROSS-REFERENCE ART COLLECTIONS [XRACs] AND DIGESTS
- Y02—TECHNOLOGIES OR APPLICATIONS FOR MITIGATION OR ADAPTATION AGAINST CLIMATE CHANGE
- Y02W—CLIMATE CHANGE MITIGATION TECHNOLOGIES RELATED TO WASTEWATER TREATMENT OR WASTE MANAGEMENT
- Y02W30/00—Technologies for solid waste management
- Y02W30/50—Reuse, recycling or recovery technologies
- Y02W30/82—Recycling of waste of electrical or electronic equipment [WEEE]
Landscapes
- Manipulator (AREA)
Abstract
The invention discloses a double-electric robot, which comprises a hoisting device, wherein two sides of the hoisting device are respectively provided with a front wiring arm and a rear wiring arm which can be oppositely wrapped, one side, close to the front wiring arm, of the hoisting device is provided with a lifting assembly, the lifting assembly is provided with a turnover assembly, the lifting assembly is used for controlling the turnover assembly to lift up and down, the turnover assembly is provided with a peeling device for peeling a skin, the turnover assembly is used for adjusting the turnover angle of the peeling device, the rear wiring arm is provided with a wiring device for clamping a bare wire, the wiring device is provided with a connecting cable for being connected with external power supply equipment, and the connecting cable is electrically connected with the wiring device; the winch device is matched with the front wiring arm and the rear wiring arm to realize automatic up-down hanging, and the peeling device and the wiring device are matched to realize automatic peeling and automatic wiring; the problem that the emergency power generation vehicle cannot timely duplicate the distribution network line of the transformer substation under the condition that the emergency power generation vehicle cannot enter the transformer substation due to irreversible resistance is solved.
Description
Technical Field
The invention relates to the field of power maintenance equipment, in particular to a compound electric robot.
Background
When the distribution network line is suddenly powered off, emergency re-power treatment is needed to be carried out on the distribution network line so as to avoid the problem of large-area power failure. The existing emergency power restoration is usually carried out by the emergency power generation car reaching the power-off transformer substation, but if special conditions are met, such as extreme weather like heavy rain waterlogging, earthquake and the like, when the road is damaged, the emergency power generation car cannot timely reach the transformer substation to carry out power restoration, and the affected lower-level 10KV distribution network can not be met to carry out rapid power restoration.
It can be seen that there is a need for improvements and improvements in the art.
Disclosure of Invention
In view of the shortcomings of the prior art, the invention aims to provide a double-electricity robot which can timely double-electricity a substation distribution network line under the condition that an emergency power generation vehicle cannot enter a substation, and the problem of topography is not needed to be considered during double-electricity operation.
In order to achieve the above purpose, the invention adopts the following technical scheme:
the utility model provides a compound electric robot, includes winch device, winch device's both sides are provided with respectively and relatively hugs preceding line arm and after walk line arm, winch device is close to one side of preceding line arm is provided with the lifting unit, be provided with the upset subassembly on the lifting unit, the lifting unit is used for control the upset subassembly oscilaltion, be provided with the peeling device that is used for peeling off the crust on the upset subassembly, the upset subassembly is used for adjusting peeling device's flip angle, after walk and be provided with the termination that is used for the centre gripping bare conductor on the line arm, be provided with the connecting cable that is used for being connected with external power supply equipment on the termination, just connecting cable with termination electric connection.
In the complex electric robot, the lifting assembly comprises a lifting track and a first driving unit, a track screw rod is arranged on the lifting track, and the first driving unit is in transmission connection with the track screw rod; the turnover assembly comprises a sliding frame, at least one telescopic unit and a rod frame, wherein two sides of the bottom of the sliding frame are respectively connected with the lifting rail in a sliding mode through sliding rail blocks, the sliding frame is connected with the rail screw rod in a transmission mode, the bottom of the telescopic unit is hinged to the sliding frame, one end bottom of the peeling device is hinged to the top of the sliding frame, and the telescopic end of the telescopic unit is hinged to the bottom of the other end of the peeling device through the rod frame.
In the double-electric robot, the peeling device comprises a turntable mechanism, a second driving unit, a control box, a clamping mechanism and a sliding rail frame, wherein the second driving unit is arranged on the turntable mechanism and is in transmission connection with the turntable mechanism, and the control box and the clamping mechanism are respectively arranged on two sides of the turntable mechanism and are respectively in rotary connection with the turntable mechanism; the clamping mechanism is provided with a first clamping plate and a second clamping plate which can slide relatively, one side of the first clamping plate is provided with a thickness detection unit for detecting the thickness of the outer skin, one side of the second clamping plate is provided with a peeling mechanism, and the peeling mechanism and the thickness detection unit are arranged relatively, so that the peeling mechanism can move forwards and backwards towards the thickness detection unit; the bottom of the turntable mechanism is in sliding connection with the sliding rail frame; the control box is respectively and electrically connected with the second driving unit, the clamping mechanism, the thickness detection unit and the peeling mechanism; the control box is used for controlling the working states of the second driving unit, the clamping mechanism, the thickness detection unit and the peeling mechanism.
In the double-electric robot, the stripping mechanism is obliquely arranged towards the direction of the second clamping plate; the utility model discloses a peeling machine, including first splint, second splint, rotary table mechanism, slide rail frame, first splint with the relative one side of second splint all is provided with the recess, be provided with a plurality of bellying on the both sides cell wall of recess of second splint respectively, so that the broach mechanism can drive when rotatory peeling the crust carousel mechanism is followed slide rail frame is linear sliding motion.
In the multiple-power robot, a plurality of in-place detection units are arranged on the sliding rail frame along the length direction of the sliding rail frame, and the in-place detection units are electrically connected with the control box; the in-place detection unit is used for detecting the position condition of the turntable mechanism.
In the compound electric robot, the wiring device comprises an upper clamp and a lower clamp, wherein the lower clamp is respectively provided with a lifting frame and a third driving unit, the upper clamp is in transmission connection with the third driving unit through the lifting frame, a clamping groove for clamping a bare wire is formed between the upper clamp and the lower clamp, and the connecting cable is arranged at the bottom of the lower clamp and is electrically connected with the lower clamp; the third driving unit is used for driving the upper clamp to lift along the length direction of the lifting frame.
In the multiple-power robot, the lower clamp is provided with a locking clamp, so that the upper clamp and the lower clamp can be interlocked and fixed when being close to the lower clamp.
In the double-electric robot, the locking clamp comprises a limiting plate and rocker arms arranged on two sides of the limiting plate, the rocker arms are rotationally connected with the locking clamp, a locking groove is formed between the two rocker arms, and the locking groove is positioned below the upper clamp; one side of the limiting plate is provided with a clamping seat which is connected with the bottom of the upper clamp in a matched mode.
In the compound electric robot, a first wire wheel is arranged at the top of the front wire arm, a lifting wire pressing mechanism is arranged below the first wire wheel on the front wire arm, a second wire wheel is arranged at the top of the rear wire arm, and a lifting brake mechanism is arranged below the second wire wheel on the rear wire arm.
In the double-power robot, the upper clamp comprises an upper clamping seat and an upper clamping block, a pressure detection unit is arranged on the upper clamping block, the pressure detection unit is positioned between the upper clamping block and the upper clamping seat, and the pressure detection unit is electrically connected with the third driving unit; the pressure detection unit is used for detecting pressure generated when the upper clamping block moves towards the upper clamping seat; the upper clamping seat is in transmission connection with the lifting frame.
The beneficial effects are that:
the invention provides a compound electric robot, which is hung to a distribution network line by a winch device matched with a front wiring arm and a rear wiring arm, wherein a wiring device is arranged on the wiring device, then the wiring arm synchronously approaches to the distribution network line when the distribution network line is held, so as to reach a preset clamping position, a peeling device is in a folding state at the beginning, so that the problem that the peeling device interferes with the distribution network line when the peeling device is hung up and down is avoided, the windage area of the compound electric robot is reduced, when the front wiring arm and the rear wiring arm drive the peeling device to move to a preset peeling position, a lifting component drives the peeling device to lift below the distribution network line, then a turnover component drives the peeling device to turn towards the distribution network line, the peeling device gradually approaches to the distribution network line until the distribution network line enters a peeling interval, and peeling operation is completed, the flexibility of the peeling device in use is improved through the lifting assembly and the overturning assembly, the peeling angle of the peeling device can be adjusted according to the bending angle, the inclination angle, the line diameter and other factors of the distribution network line, so that the peeling precision is improved, when the peeling device finishes peeling operation on the distribution network line to form a section of bare wire, the wiring device is driven to move to the position of the bare wire through the front wiring arm and the rear wiring arm, then the bare wire is clamped through the wiring device, the bare wire is communicated with the connecting cable, the external power supply equipment can supply power to the distribution network line through the connecting cable, and the distribution network line can be quickly electrified.
Drawings
Fig. 1 is a schematic diagram of the overall structure of a complex electric robot according to the present invention;
fig. 2 is a schematic diagram of the overall structure of the complex electric robot according to the present invention;
fig. 3 is a schematic diagram of an assembly structure of the winding device, the front routing arm and the rear routing arm in the complex electric robot according to the present invention;
fig. 4 is a schematic diagram of an assembly structure of the winding device, the front routing arm and the rear routing arm in the complex electric robot according to the present invention;
fig. 5 is a schematic structural view of the front routing arm in the complex electric robot provided by the invention;
fig. 6 is a schematic structural diagram of the back routing arm in the complex electric robot provided by the invention;
fig. 7 is a schematic structural view of the winding device in the complex electric robot provided by the invention;
fig. 8 is a schematic structural view of the winding unit in the complex electric robot provided by the invention;
fig. 9 is a schematic diagram of a dismantling of the hoisting unit in the complex electric robot;
fig. 10 is a second schematic diagram of disassembly of the hoisting unit in the complex electric robot according to the present invention;
fig. 11 is a schematic diagram of dismantling the winch disc in the complex electric robot provided by the invention;
fig. 12 is a schematic diagram illustrating disassembly of the hoisting limit switch in the complex electric robot provided by the invention;
Fig. 13 is a schematic diagram of the overall structure of the peeling device in the complex electric robot according to the present invention;
fig. 14 is a schematic diagram of the overall structure of the peeling device in the complex electric robot according to the present invention;
fig. 15 is a schematic diagram of the overall structure of the peeling device in the complex electric robot according to the present invention;
fig. 16 is a schematic view showing an installation state of the clamping mechanism and the peeling mechanism in the complex electric robot provided by the invention;
fig. 17 is a schematic view of a disassembled state of the clamping mechanism and the peeling mechanism in the complex electric robot provided by the invention;
fig. 18 is a schematic diagram of a disassembly structure of the clamping mechanism in the complex electric robot according to the present invention;
fig. 19 is a schematic diagram of a disassembly structure of the clamping mechanism in the complex electric robot according to the second embodiment of the present invention;
fig. 20 is a schematic diagram of a disassembled structure of the peeling mechanism in the complex electric robot provided by the invention;
fig. 21 is a schematic diagram II of a disassembled structure of the peeling mechanism in the complex electric robot provided by the invention;
fig. 22 is a schematic diagram of the overall structure of the wiring device in the complex electric robot provided by the invention;
fig. 23 is a schematic diagram of a disassembled structure of the lower fixture in the complex electric robot provided by the invention;
Fig. 24 is a schematic structural view of the upper fixture in the multiple electric robot according to the present invention.
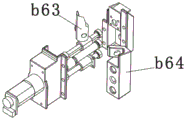
Description of main reference numerals: 100-winding device, a 1-frame, a 2-winding unit, a 21-winding frame, a 22-winding wheel, a 23-winding motor, a 24-guide roller, a 25-conduction band rod group, a 26-first wire clamping seat, a 27-driven wheel, a 28-driving wheel, a 221-wheel disc, a 222-second wire clamping seat, a 241-rotating groove, a 3-hanging wire frame, a 31-triggering part, a 4-front wire walking arm, a 41-first wire walking wheel, a 42-first swing arm cylinder, a 43-first wire walking frame, a 44-first travelling motor, a 5-rear wire walking arm, a 51-second wire walking wheel, a 52-second swing arm cylinder, a 53-second wire walking frame, a 54-second travelling motor, a 6-wire pressing mechanism, a 61-first swing frame, a 62-first slider a 63-first lifting unit, a 64-pinch roller, a 611-swinging block, a 631-first lifting motor, a 632-first pressing screw rod, a 633-first guide rod, a 7-braking mechanism, a 71-second swinging frame, a 72-second sliding block, a 73-second lifting unit, a 74-braking block, a 711-through hole, a 731-second lifting motor, a 732-second pressing screw rod, a 733-second guide rod, a 8-hoisting limit switch, a 81-switch seat, a 82-lifting trigger rod, a 83-sensing cross rod, a 84-guide rod, a 85-linear bearing, a 86-travel switch, a 87-trigger convex part, 200-peeling device, b 1-turntable mechanism, b 2-second driving unit, b 3-control box, b 4-clamping mechanism, b 41-first clamping plate, b 42-second clamping plate, b 43-groove, b 44-protruding part, b 45-frame, b 46-first motor, b 47-transmission component, b 421-mounting frame, b 422-embedded groove, b 5-thickness detection unit, b 6-stripping mechanism, b 61-sliding box, b 62-second motor, b 63-cutter head, b 64-sliding part, 611-sliding groove, 7-sliding rail frame, 71-in-place detection unit, 300-wiring device, c 1-upper clamp, c 2-lower clamp the device comprises a c 3-connecting cable, a c 4-lifting frame, a c 5-third driving unit, a c 6-locking clamp, a c 7-mounting seat, a c 11-upper clamping seat, a c 12-upper clamping block, a c 15-pressure detecting unit, a 21-lower clamping seat, a 22-lower clamping block, a 61-limiting plate, a 62-rocker arm, a 611-clamping seat, a 400-lifting component, a d 1-lifting rail, a d 2-first driving unit, a d 3-rail screw rod, a 500-overturning component, an e 1-sliding frame, an e 2-telescopic unit, an e 3-rod frame and a 600-distribution network line.
Detailed Description
The present invention provides a multiple electric robot, and in order to make the objects, technical solutions and effects of the present invention more clear and clear, the present invention will be further described in detail below with reference to the accompanying drawings and examples. It should be understood that the specific embodiments described herein are for purposes of illustration only and are not intended to limit the scope of the invention.
In the description of the present invention, it should be understood that the azimuth or positional relationship indicated by the terms "middle", "inside", "outside", etc. are the azimuth or positional relationship of the present invention based on the drawings, and are merely for convenience of description of the present invention and simplification of the description. In addition, the terms "first," "second," "third," are used for descriptive purposes only and are not to be construed as indicating or implying relative importance or implicitly indicating the number of technical features indicated.
Referring to fig. 1 to 24, an embodiment of a multiple electric robot according to an embodiment of the present invention includes:
the wire stripper comprises a hoisting device 100, wherein a front wire-feeding arm a4 and a rear wire-feeding arm a5 which can be oppositely held are respectively arranged on two sides of the hoisting device 100, a lifting assembly 400 is arranged on one side, close to the front wire-feeding arm a4, of the hoisting device 100, a turnover assembly 500 is arranged on the lifting assembly 400, the lifting assembly 400 is used for controlling the turnover assembly 500 to lift up and down, a peeling device 200 for peeling a skin is arranged on the turnover assembly 500, the turnover assembly 500 is used for adjusting the turnover angle of the peeling device 200, a wiring device 300 for clamping a bare wire is arranged on the rear wire-feeding arm a5, a connecting cable c3 used for being connected with external power supply equipment is arranged on the wiring device 300, and the connecting cable c3 is electrically connected with the wiring device 300.
In the embodiment of the invention, the winding device 100 is matched with the front routing arm a4 and the rear routing arm a5 to be hung on the distribution network 600, the wiring device 300 is then synchronously close to the distribution network 600 when the routing arm a5 is used for holding the distribution network 600, the peeling device 200 is in a folding state initially so as to avoid the interference problem between the peeling device 200 and the distribution network 600 when the peeling device is hung up and down, the windage area of the invention is reduced when the peeling device is hung up, when the front routing arm a4 and the rear routing arm a5 drive the peeling device 200 to move to a preset peeling position, the lifting assembly 400 drives the peeling device 200 to be lifted to the lower part of the distribution network 600, then the turning assembly 500 drives the peeling device 200 to turn towards the distribution network 600, the peeling device 200 is gradually close to the distribution network 600 until the distribution network 600 enters a peeling interval and peeling operation is completed, the lifting assembly 400 and the peeling assembly 500 improves the flexibility when the peeling device is used, the bending angle, the inclination angle, the wire diameter and other factors of the peeling device are reduced when the distribution network 600 is hung up, the bare wire is connected with the bare wire 300, the bare wire is connected to the wiring device 300 when the bare wire is connected to the wiring device 300, the bare wire 300 is connected to the wiring device 3 when the bare wire is connected to the wiring device 3, the bare wire is connected to the wiring device 300, the bare wire is required to be connected to the wiring device 300, the bare wire is connected to the wiring device 600 and the bare wire 3, the problem that the emergency power generation vehicle cannot timely re-power the substation distribution network line 600 under the condition that the emergency power generation vehicle cannot enter the substation due to irreversible resistance is solved.
The external power supply device may be a power device having a power generation function, such as an emergency power generation vehicle or an emergency power generator.
In this embodiment, a first wire wheel a41 is disposed at the top of the front wire arm a4, a liftable wire pressing mechanism a6 is disposed below the first wire wheel a41 on the front wire arm a4, a second wire wheel a51 is disposed at the top of the rear wire arm a5, and a liftable brake mechanism a7 is disposed below the second wire wheel a51 on the rear wire arm a 5.
When the compound electric robot needs to travel, the wire pressing mechanism a6 is pressed against the first wire walking wheel a41 until the wire pressing mechanism a6 is abutted against the lower part of the distribution network line 600, so that the distribution network line 600 is clamped between the first wire walking wheel a41 and the wire pressing mechanism a6, the stability of the compound electric robot during traveling is improved, and the problems of jumping, slipping and the like during traveling are avoided; when the compound electric robot performs peeling operation, the brake mechanism a7 is pressed against the second wire wheel a51 until the brake mechanism a7 is abutted against the lower part of the distribution network circuit 600, so that the distribution network circuit 600 is clamped between the second wire wheel a51 and the brake mechanism a7, the compound electric robot can be relatively fixed on the distribution network circuit 600 by matching the wire pressing mechanism a6 with the brake mechanism a7 and the first wire wheel a41 with the second wire wheel a51, damping thrust generated by the peeling device 200 during peeling operation can be counteracted, and the stability of the compound electric robot during operation is improved.
In this embodiment, the winding device 100 includes a frame a1, two sides of the frame a1 are respectively provided with a winding unit a2, a traction belt is disposed in the winding unit a2, a hanging frame a3 is disposed above the frame a1, one end of the traction belt is connected with the winding unit a2, and the other end of the traction belt bypasses the hanging frame a3 and is connected with the frame a 1; the front routing arm a4 and the rear routing arm a5 are respectively arranged at two sides of the frame a 1.
When the wire hanging frame a3 is transported to the distribution network line 600 through the unmanned aerial vehicle during use, then the double-electric robot climbs to the lower side of the distribution network line 600 through the simultaneous winding and traction belt of the two winding units a2, the upper hanging of the double-electric robot is more stable through the simultaneous winding and unwinding of the two winding units a2, the front wire walking arm a4 and the rear wire walking arm a5 need to be kept in a state of being opened to two sides in the upper hanging process so as to ensure that interference with the distribution network line 600 does not occur in the upper hanging process, and after the first wire walking wheel a41 and the second wire walking wheel a51 cross the distribution network line 600, the front wire walking arm a4 and the rear wire walking arm a5 do relative cohesion so as to enable the first wire walking wheel a41 and the second wire walking wheel a51 to press against the distribution network line 600.
In this embodiment, the front routing arm a4 further includes a first swing arm cylinder a42, a first routing rack a43, and a first travelling motor a44, where the first routing wheel a41 and the first travelling motor a44 are respectively disposed at the top of the first routing rack a43, and the first travelling motor a44 is in transmission connection with the first routing wheel a41, the bottoms of the first routing rack a43 and the first swing arm cylinder a42 are respectively hinged with the frame a1, and the telescopic end of the first swing arm cylinder a42 is hinged with the outer side of the first routing rack a 43; the wire pressing mechanism a6 comprises a first swing frame a61, a first sliding block a62 and a first lifting unit a63, wherein the first lifting unit a63 is arranged on the first wire walking frame a43, the first sliding block a62 is in transmission connection with the first lifting unit a63, the first swing frame a61 is in rotary connection with the first sliding block a62, two sides of the first swing frame a61 are respectively provided with a pressing wheel a64, and the two pressing wheels a64 are positioned below two sides of the first wire walking wheel a 41.
When in use, the swing amplitude of the first wiring frame a43 is regulated by the first swing arm cylinder a42 so as to realize the action that the first wiring wheel a41 approaches to or departs from the distribution network line 600, and the first wiring wheel a41 is driven by the first travelling motor a44 so as to realize the travelling action on the distribution network line 600; when the compound robot needs to walk, the first lifting unit a63 drives the first slider a62 to lift below the first wire-walking wheel a41 until the two pressing wheels a64 are pressed against the bottom of the distribution network line 600 at the same time, and when the distribution network line 600 is deformed or has a slope, the first swing frame a61 adjusts the angle between the first swing frame a62 according to the bending angle of the distribution network line 600, so that the pressing wheels a64 can be always attached to the distribution network line 600.
In this embodiment, the rear wire walking arm a5 further includes a second swing arm cylinder a52, a second wire walking rack a53, and a second travelling motor a54, where the second wire walking wheel a51 and the second travelling motor a54 are respectively disposed at the top of the second wire walking rack a53, the second travelling motor a54 is in transmission connection with the second wire walking wheel a51, bottoms of the second wire walking rack a53 and the second swing arm cylinder a52 are respectively hinged with the frame a1, and a telescopic end of the second swing arm cylinder a52 is hinged with the outer side of the second wire walking rack a 53; the wire pressing mechanism a6 comprises a second swing frame a71, a second sliding block a72 and a second lifting unit a73, wherein the second lifting unit a73 is arranged on the second wire walking frame a53, the second sliding block a72 is in transmission connection with the second lifting unit a73, the second swing frame a71 is in rotary connection with the second sliding block a72, a detachable brake block a74 is arranged on the second swing frame a71, and the brake block a74 is located below the second wire walking wheel a 51.
When in use, the swing amplitude of the second wiring frame a53 is regulated by the second swing arm cylinder a52 so as to realize the action that the second wiring wheel a51 approaches to or departs from the distribution network line 600, and the second wiring wheel a51 is driven by the second travelling motor a54 so as to realize the travelling action on the distribution network line 600; when the compound electric robot performs peeling operation, the second lifting unit a73 drives the second slider a72 to lift below the second wire-moving wheel a51 until the brake block a74 is pressed against the bottom of the distribution network line 600, so that larger damping is formed between the brake block a74 and the distribution network line 600, displacement between the rear wire-moving arm a5 and the distribution network line 600 in the operation process of the compound electric robot is avoided, and when the distribution network line 600 deforms or has a slope, the second swing frame a71 adjusts an angle between the second swing frame a72 according to the bending angle of the distribution network line 600, so that the brake block a74 can be attached to the distribution network line 600 all the time.
In this embodiment, a swing groove is formed on one side of each of the first slider a62 and the second slider a72, and swing blocks a611 rotatably connected to the swing groove are formed on the bottoms of the first swing frame a61 and the second swing frame a 71; the first swing frame a61 and the second swing frame a71 are both swung left and right on the first sliding block a62 and the second sliding block a72 through the swing block a611 and the swing grooves, so that the inclination angle or the bending angle of the distribution network circuit 600 is self-adaptive, and the pinch roller a64 and the brake block a74 can be always attached to the distribution network circuit 600; it should be noted that, the swinging block a611 is rotationally connected with the swinging groove through a damping rotating shaft, and the damping rotating shaft enables the swinging block a611 to carry a certain viscous effect during rotation, so as to avoid the influence of the excessive swinging frequency of the first swinging frame a61 or the second swinging frame a71 on the pressing effect of the distribution network line 600.
In this embodiment, the first lifting unit a63 includes a first lifting motor a631, a first pressing screw a632, and first guide rods a633 respectively disposed at two ends of the first pressing screw a632, where the first lifting motor a631, the first pressing screw a632, and the first guide rods a633 are respectively disposed on the first chute a43, the first lifting motor a631 is in transmission connection with the first pressing screw a632, the first slider a62 is in transmission connection with the first pressing screw a632 through a first screw nut, and the first slider a62 is in sliding connection with the two first guide rods a 633; the second lifting unit a73 comprises a second lifting motor a731, a second pressing screw a732 and second guide rods a733 respectively arranged at two ends of the second pressing screw a732, the second lifting motor a731, the second pressing screw a732 and the second guide rods a733 are respectively arranged on the second chute a53, the second lifting motor a731 is in transmission connection with the second pressing screw a732, the second slider a72 is in transmission connection with the second pressing screw a732 through a second screw nut, and the second slider a72 is in sliding connection with the two second guide rods a 733.
When in use, the first pressing screw rod a632 is driven to rotate by the first lifting motor a631, so that the first sliding block a62 moves up and down along the length direction of the first pressing screw rod a632, and the lifting action of the pressing wheel a64 is realized; the second pressing screw a732 is rotated by the second elevating motor a731, so that the second slider a72 is moved up and down along the length direction of the second pressing screw a732, thereby elevating the brake block a 74.
In this embodiment, the winding unit a2 includes a winding frame a21, a rotatable winding wheel a22 is disposed in the winding frame a21, a winding motor a23 is disposed at one side of the winding frame a21, the winding motor a23 is in transmission connection with the winding wheel a22, guide rollers a24 are disposed at four corners of the winding frame a21, the guide rollers a24 are cooperatively connected with outer edges of the winding wheel a22, and first wire clamping seats a26 and a conduction band rod group a25 are disposed at two sides of the top of the winding frame a 21; one end of the traction belt is connected with the winding wheel a22, and the other end of the traction belt sequentially passes through the conduction band rod group a25 and the hanging wire frame a3 and then is connected with the first wire clamping seat a 26.
Through set up the guide roller a24 in the four corners of hoist wheel a22, make hoist wheel a22 more steady when rotating, the traction area is guided through conduction band pole group a25 when being qualified for the next round of competitions simultaneously, makes the traction area keep tensioning state between hoist wheel a22 and hanging wire frame a3, avoids the traction area to take place the chaotic problem of winding, in addition, through the free end of first double-layered line seat a26 centre gripping traction area, makes the traction area be triangle-shaped between hoist wheel a22 and hanging wire frame a3 to guarantee that this running gear can keep steady when rising or descending.
In this embodiment, the winding wheel a22 includes two wheel discs a221, the two wheel discs a221 are connected through a second wire clamping seat a222, two ends of the second wire clamping seat a222 are respectively rotatably connected with the winding frame a21, one end of the second wire clamping seat a222 is provided with a driven wheel a27, an output end of the winding motor a23 is provided with a driving wheel a28, and the driving wheel a28 is in transmission connection with the driven wheel a 27; both sides of the guide roller a24 are respectively provided with a rotating groove a241 which is in fit connection with the wheel disc a 221; the winding motor a23 drives the driven wheel a27 to rotate through the driving wheel a28, so that the second wire clamping seat a222 drives the two wheel discs a221 to rotate, and winding and unwinding actions of the traction belt are realized; in addition, the rotation of the wheel a221 is smoother by providing the rotation groove a241; when in use, one end of the traction belt is clamped and fixed through the second wire clamping seat a222, and then the traction belt is wound between the two wheel discs a221 by rotating the second wire clamping seat a 222.
In this embodiment, a winch limit switch a8 capable of moving up and down is disposed at one side of the winch unit a2, the winch unit a2 is electrically connected with the winch limit switch a8, and the winch limit switch a8 is located right below the wire hanging frame a3, so that the winch limit switch a8 can be contacted with the wire hanging frame a3 when ascending; the climbing height of the complex electric robot is detected through the winch limit switch a8, so that the accuracy of hanging is improved; when the winding machine is used, an operator needs to pull the winding limit switch a8 to a certain height, when the winding limit switch a8 touches the hanging frame a3 and moves down to a certain position, a stop signal is triggered, the winding unit a2 is controlled by feedback to stop winding, and the problem that the winding unit a2 excessively ascends and interferes with the distribution network circuit 600 is avoided.
In this embodiment, the hoisting limit switch a8 includes a switch seat a81 and a lifting trigger rod a82, a trigger slot slidably connected with the lifting trigger rod a82 is provided in the switch seat a81, a travel switch a86 is provided on one side of the trigger slot, a trigger protrusion a87 capable of triggering the travel switch a86 is provided on the lifting trigger rod a82, an induction cross rod a83 is provided on the top of the lifting trigger rod a82, guide rods a84 are respectively provided at two ends of the induction cross rod a83, and the guide rods a84 are slidably connected with the switch seat a81 through a linear bearing a 85; a trigger part a31 is arranged on the hanging frame a3 at a position corresponding to the sensing cross rod a 83; the travel switch a86 is electrically connected with the winding unit a 2.
When the device is used, an operator lifts the sensing cross rod a83 to a certain height in advance so that the trigger convex part a87 is upwards far away from the travel switch a86, when the sensing cross rod a83 senses the trigger part a31, a slowing signal is sent to the winding unit a2 to slow down the winding speed of the winding unit a2, when the lifting trigger rod a82 descends to a certain height, the trigger convex part a87 passes through the travel switch a86 and triggers the travel switch a86, and at the moment, the travel switch a86 sends a stop signal to the winding unit a2 to stop winding the winding unit a2 so as to carry out subsequent hanging tasks; through the arrangement, the hanging precision of the double-electric robot is improved, the accident rate during hanging is reduced, and the hanging difficulty is effectively reduced.
The trigger portion a31 may be a magnet, and the trigger portion a31 may be a magnetic trigger portion a 31.
The machine frame a1 is internally provided with a controller, and the complex electric robot is controlled by the controller; the controller can be a PLC controller and other existing controller structures.
Referring to fig. 1 to 24, a second embodiment of the complex robot according to an embodiment of the present invention includes:
the lifting assembly 400 comprises a lifting track d1 and a first driving unit d2, wherein a track screw rod d3 is arranged on the lifting track d1, and the first driving unit d2 is in transmission connection with the track screw rod d 3; the overturning assembly 500 comprises a sliding frame e1, at least one telescopic unit e2 and a rod frame e3, wherein two sides of the bottom of the sliding frame e1 are respectively connected with the lifting rail d1 in a sliding manner through sliding rail blocks, the sliding frame e1 is in transmission connection with the rail screw rod d3, the bottom of the telescopic unit e2 is hinged with the sliding frame e1, one end bottom of the peeling device 200 is hinged with the top of the sliding frame e1, and the telescopic end of the telescopic unit e2 is hinged with the other end bottom of the peeling device 200 through the rod frame e 3; when the peeling device is used, the first driving unit d2 drives the rail screw rod d3 to rotate, so that the sliding frame e1 is driven to slide along the lifting rail d1, and the lifting height of the peeling device 200 is adjusted; pushing and pulling the bottom of one end of the peeling device 200 through the telescopic unit e2 and the rod frame e3, so that the peeling device 200 can adjust the turning angle on the sliding frame e 1; through the arrangement, the flexibility of the peeling device 200 in use is improved, so that the peeling angle of the peeling device 200 can be adjusted according to the bending angle, the inclination angle, the line diameter and other factors of the distribution network line 600, and the peeling precision is improved.
In this embodiment, the telescopic units e2 include two telescopic units e2, and the two telescopic units e2 are arranged side by side; the push-pull action of the overturning assembly 500 is more stable through the arrangement; it should be noted that, the telescopic unit e2 may be an existing device with a telescopic function, such as an electric telescopic rod, an air cylinder, and the like; the first driving unit d2 may be an existing motor structure such as a servo motor and a gear motor, which will not be described herein.
Referring to fig. 1 to 24, a third embodiment of the multiple electric robot according to the present invention includes
The peeling device 200 comprises a turntable mechanism b1, a second driving unit b2, a control box b3, a clamping mechanism b4 and a sliding rail frame 7, wherein the second driving unit b2 is arranged on the turntable mechanism b1 and is in transmission connection with the turntable mechanism b1, and the control box b3 and the clamping mechanism b4 are respectively arranged on two sides of the turntable mechanism b1 and are respectively in rotation connection with the turntable mechanism b 1; a first clamping plate b41 and a second clamping plate b42 which can slide relatively are arranged on the clamping mechanism b4, a thickness detection unit b5 for detecting the thickness of the outer skin is arranged on one side of the first clamping plate b41, a peeling mechanism b6 is arranged on one side of the second clamping plate b42, and the peeling mechanism b6 and the thickness detection unit b5 are arranged oppositely, so that the peeling mechanism b6 can move forwards and backwards towards the thickness detection unit b 5; the bottom of the turntable mechanism b1 is in sliding connection with the sliding rail frame 7; the control box b3 is electrically connected with the second driving unit b2, the clamping mechanism b4, the thickness detection unit b5 and the peeling mechanism b6 respectively; the control box b3 is used for controlling the working states of the second driving unit b2, the clamping mechanism b4, the thickness detection unit b5 and the peeling mechanism b 6.
In practical use, when the peeling device 200 approaches the distribution network 600, the control box b3 controls the clamping mechanism b4 to clamp the distribution network 600, so that the peeling device 200 can be stably arranged on the distribution network 600, when the first clamping plate b41 and the second clamping plate b42 approach the distribution network 600, the thickness detection unit b5 and the peeling mechanism b6 are driven to approach the distribution network 600 until the first clamping plate b41 and the second clamping plate b42 are abutted against two sides of the distribution network 600, at this time, the thickness detection unit b5 detects the thickness of the outer skin of the distribution network 600 and sends the thickness data of the outer skin to the control box b3, the control box b3 adjusts the amount of the peeling mechanism b6 according to the thickness data of the outer skin, namely, the peeling mechanism b6 extends towards the distribution network 600, after the amount of the peeling mechanism b6 is adjusted, the control box b3 controls the second driving unit b2 to drive the rotary table mechanism b1 to rotate, and the peeling mechanism b6 is driven to rotate around the distribution network 600, so that the electric conduction layer of the distribution network 600 is cut off, and the electric conduction layer of the distribution network 600 is conveniently peeled off.
The thickness detecting unit b5 is a photoelectric sensor, and detects the thickness of the outer skin of the distribution network line 600 by emitting a light source having penetrability such as infrared light or laser to the distribution network line 600.
It should be noted that, the control box b3 is provided with a controller and a power supply battery; the controller may be an existing PLC controller, and the second driving unit b2, the clamping mechanism b4, the thickness detecting unit b5, and the peeling mechanism b6 are controlled by the controller; the second driving unit b2 may be an existing motor structure such as a servo motor and a gear motor, which will not be described herein.
In the present embodiment, the peeling mechanism b6 is disposed obliquely toward the second clamping plate b 42; the opposite surfaces of the first clamping plate b41 and the second clamping plate b42 are respectively provided with a groove b43, and two side groove walls of the groove b43 of the second clamping plate b42 are respectively provided with a plurality of protruding parts b44, so that the cutter stripping mechanism b6 can drive the turntable mechanism b1 to do linear sliding motion along the sliding rail frame 7 when rotating to strip the outer skin.
When the peeling mechanism b6 is in operation, the peeling mechanism b6 inclines towards the direction of the second clamping plate b42, even if a certain angle is formed between the peeling mechanism b6 and the distribution network circuit 600, after the peeling mechanism b6 is in contact with the outer skin of the distribution network circuit 600, the peeling mechanism b6 can be subjected to the damping action of the outer skin in the cutting process, the damping action forms reverse thrust on the peeling mechanism b6, and the plurality of protruding parts b44 are arranged on the second clamping plate b42 to form damping difference between the second clamping plate b42 and the first clamping plate b41, namely the damping vibration frequencies between the two are different, so that the turntable mechanism b1 slides towards the direction away from the initial cutting position of the distribution network circuit 600 under the damping action of the peeling mechanism b6, namely slides on the sliding rail frame 7, so that the peeling mechanism b6 is driven to perform surrounding cutting along the length direction of the distribution network circuit 600, the peeling range of the outer skin is enlarged, the whole process can finish large-area peeling of the outer skin without manually adjusting the position of the peeling mechanism b6 by workers, and the subsequent power connection operation of workers is convenient; in addition, by providing the grooves b43 on the opposite sides of the first clamping plate b41 and the second clamping plate b42, respectively, the contact area between the grooves b43 and the distribution network line 600 is increased, and the clamping effect of the clamping mechanism b4 on the distribution network line 600 is effectively improved.
In this embodiment, a plurality of in-place detection units 71 are disposed on the sliding rail frame 7 along the length direction thereof, and the in-place detection units 71 are electrically connected with the control box b 3; the in-place detecting unit 71 is configured to detect a position of the dial mechanism b 1.
In use, the in-place detection units 71 are arranged on the slide rail frame 7 to detect the in-place condition of the rotary table mechanism b1, namely, the cutting length of the outer skin is obtained, so that the working state of the peeling mechanism b6 is controlled through the control box b 3.
In one embodiment, the in-place detecting units 71 include two in-place detecting units, and are respectively located at two ends of the sliding rail frame 7, the distance between the two in-place detecting units 71 is set according to a preset cutting length, when in use, the turntable mechanism b1 is slid to one end of the sliding rail frame 7 in advance, when the in-place detecting unit 71 at the other end of the sliding rail frame 7 detects the turntable mechanism b1, a stop signal is sent to the control box b3, so that the control box b3 controls the peeling mechanism b6 to stop peeling, that is, the distribution network circuit 600 has completed the preset peeling length; the in-place detecting unit 71 may be a photo gate, an infrared sensor, or the like.
In one embodiment, the clamping mechanism b4 further includes a frame b45 and a first motor b46, the first motor b46 is disposed at the bottom of the frame b45, the first clamping plate b41 and the second clamping plate b42 are both disposed at the top of the frame b45 through a transmission assembly b47, and the first motor b46 is in transmission connection with the transmission assembly b47, so that the first clamping plate b41 and the second clamping plate b42 perform relative opening and closing actions on the frame b 45; when in operation, the first motor b46 controls the relative opening and closing actions between the first clamping plate b41 and the second clamping plate b42 through the transmission component b47 so as to realize the clamping action on the distribution network circuit 600; in particular, the transmission assembly b47 may be a screw transmission assembly.
In this embodiment, a mounting bracket b421 is disposed on one side of the second clamping plate b42, the mounting bracket b421 is disposed obliquely toward the direction of the second clamping plate b42, and an embedded groove b422 is disposed on the mounting bracket b 421; the peeling mechanism b6 is arranged in the embedded groove b422; the mounting frame b421 is obliquely arranged, so that a certain inclination angle is formed between the stripping mechanism b6 and the insulated wire, and the sliding action of the rotary table mechanism b1 is ensured; the cutter mechanism b6 is fitted to the second clamp b42 through the fitting groove b422, so that the cutter mechanism b6 can be moved closer to the distribution network 600 along with the second clamp b 42.
In this embodiment, the peeling mechanism b6 includes a sliding box b61, a second motor b62, and a cutter head b63, where a sliding groove 611 is disposed in the sliding box b61, the cutter head b63 is slidably connected with the sliding groove 611 through a sliding portion b64, the second motor b62 is disposed on one side of the sliding box b61, and the second motor b62 is in transmission connection with the sliding portion b 64; the second motor b62 is electrically connected with the control box b 3; when in use, the second motor b62 drives the sliding part b64 to slide in the chute 611, so as to adjust the interval between the cutter head b63 and the distribution network circuit 600, namely, adjust the cutting depth of the cutter head b63 to the distribution network circuit 600; the length of the chute 611 can be set according to the actual degree of freedom, and the longer the length of the chute 611, the larger the adjustable range of the position of the cutter head b 63.
Referring to fig. 1 to 24, a fourth embodiment of the complex robot according to an embodiment of the present invention includes:
the wiring device 300 comprises an upper clamp c1 and a lower clamp c2, wherein a lifting frame c4 and a third driving unit c5 are respectively arranged on the lower clamp c2, the upper clamp c1 is in transmission connection with the third driving unit c5 through the lifting frame c4, a clamping groove for clamping a bare wire is formed between the upper clamp c1 and the lower clamp c2, and the connecting cable c3 is arranged at the bottom of the lower clamp c2 and is electrically connected with the lower clamp c 2; the third driving unit c5 is used for driving the upper clamp c1 to lift along the length direction of the lifting frame c 4.
In use, when the wiring device 300 approaches to the bare conductor, the third driving unit c5 drives the upper clamp c1 to press against the lower clamp c2, so that the bare conductor is clamped between the upper clamp c1 and the lower clamp c2, the bare conductor is conducted with the connecting cable c3 through the lower clamp c2, one end of the connecting cable c3 is connected with an external power supply device, and the bare conductor is communicated with the external power supply device through the connecting cable c3 as a conductive medium, so that quick re-electric action of the bare conductor is realized.
It should be noted that, the third driving unit c5 may be an existing motor structure such as a servo motor and a gear motor, which is not described herein again
In this embodiment, the lower clamp c2 is provided with a locking clamp c6, so that the upper clamp c1 can be interlocked and fixed with the lower clamp c2 when approaching the lower clamp c 2. When the clamp is used, when the upper clamp c1 is pressed against the lower clamp c2, the upper clamp c1 and the lower clamp c2 are locked through the locking clamp c6, so that the problem that a bare wire is in poor contact with the upper clamp c1 and the lower clamp c2 in the power connection process is avoided, and the clamping stability between the upper clamp c1 and the lower clamp c2 is improved.
In this embodiment, the locking clamp c6 includes a limiting plate 61 and rocker arms 62 disposed on two sides of the limiting plate 61, the rocker arms 62 are rotatably connected with the locking clamp c6, a locking groove is formed between the two rocker arms 62, and the locking groove is located below the upper clamp c 1; one side of the limiting plate 61 is provided with a clamping seat 611 which is connected with the bottom of the upper clamp c1 in a matching way.
When the upper clamp c1 is used, the two rocker arms 62 are set to be in a horizontal state in advance, when the two rocker arms 62 are propped against the bottoms of the two sides of the upper clamp c1, the two rocker arms 62 are overturned upwards under the influence of pressure, so that the two rocker arms 62 clamp the two side walls of the upper clamp c1, and when the upper clamp c1 is continuously pressed, the two rocker arms are sequentially clamped into the locking groove and the clamping seat 611, so that the locking action between the upper clamp c1 and the lower clamp c2 is realized, and the problem of loose between the upper clamp c1 and the lower clamp c2 in the power connection process is avoided.
In this embodiment, the upper clamp c1 includes an upper clamping seat c11 and an upper clamping block c12, a pressure detection unit c15 is disposed on the upper clamping block c12, the pressure detection unit c15 is located between the upper clamping block c12 and the upper clamping seat c11, and the pressure detection unit c15 is electrically connected with the third driving unit c 5; the pressure detecting unit c15 is used for detecting the pressure generated when the upper clamping block c12 moves towards the upper clamping seat c 11; the upper clamping seat c11 is in transmission connection with the lifting frame c 4.
And the pressure detection unit c15 detects whether the upper clamping block c12 is in place, and if the pressure detection unit c15 detects that the upper clamping block c12 is pressed against the sensing end of the upper clamping block, the pressure detection unit c15 is triggered to send a stop signal to the third driving unit c5, so that the upper clamping block c12 stops abutting against the lower clamp c2, and irreversible damage to a bare wire is avoided.
The pressure detecting unit c15 may be a pressure sensor of model NS-TH18, a pressure sensor of model NS-P-l, or the like.
In this embodiment, the lower clamp c2 includes a lower clamp holder 21 and a lower clamp block 22, the lifting frame c4 is disposed at the top of the lower clamp holder 21, the third driving unit c5 is disposed at the bottom of the lower clamp holder 21, and the lower clamp block 22 is disposed at one side of the lower clamp holder 21.
It should be noted that, the upper clamping block c12 and the lower clamping block 22 are made of conductive materials, such as, but not limited to: metal clips, conductive rubber clips, and the like.
In summary, the winding device 100 is matched with the front routing arm a4 and the rear routing arm a5 to hang the wire stripping device 200 to the preset stripping position, the wire stripping device 300 then moves the wire stripping device 200 to flip the wire stripping device 200 to the wire stripping circuit 600 by the flip assembly 500, so that the wire stripping device 200 is gradually close to the wire stripping circuit 600 until the wire stripping circuit 600 enters the stripping section and the stripping operation is completed, the lift assembly 400 and the flip assembly 500 improve the flexibility of the stripping device 200 in use, reduce the windage area of the stripping device according to the bending angle, the inclination angle, the wire stripping angle and other factors of the wire stripping circuit 600, adjust the wire stripping device 200 to the wire stripping device to the wire stripping section according to the bending angle, the inclination angle, the wire stripping angle and the wire stripping device, and the wire stripping device 300 c can be connected to the wire stripping device 3 when the wire stripping device is connected to the wire stripping device 3, the wire stripping device is connected to the wire stripping device 300 c through the wire stripping device 3, the wire stripping device is required to be connected to the wire stripping device 3, the wire stripping device is connected to the wire stripping device 300 through the wire stripping device is not required to be connected to the wire stripping device 3, and the wire stripping device is connected to the wire stripping device 3 through the wire stripping device 3, the problem that the emergency power generation vehicle cannot timely re-power the substation distribution network line 600 under the condition that the emergency power generation vehicle cannot enter the substation due to irreversible resistance is solved.
It will be understood that equivalents and modifications will occur to those skilled in the art in light of the present invention and their spirit, and all such modifications and substitutions are intended to be included within the scope of the present invention as defined in the following claims.
Claims (10)
1. The utility model provides a compound electric robot, its characterized in that, includes winch device, winch device's both sides are provided with respectively and relatively hugs preceding line arm and back line arm, winch device is close to one side of preceding line arm is provided with the lifting unit, be provided with the upset subassembly on the lifting unit, the lifting unit is used for control the lift of upset subassembly, be provided with the peeling device that is used for peeling off the crust on the upset subassembly, the upset subassembly is used for adjusting peeling device's flip angle, be provided with the termination that is used for the centre gripping bare conductor on the back line arm, be provided with the connecting cable who is used for being connected with external power supply equipment on the termination, just connecting cable with termination electric connection.
2. The complex electric robot of claim 1, wherein the lifting assembly comprises a lifting rail and a first driving unit, a rail screw is arranged on the lifting rail, and the first driving unit is in transmission connection with the rail screw; the turnover assembly comprises a sliding frame, at least one telescopic unit and a rod frame, wherein two sides of the bottom of the sliding frame are respectively connected with the lifting rail in a sliding mode through sliding rail blocks, the sliding frame is connected with the rail screw rod in a transmission mode, the bottom of the telescopic unit is hinged to the sliding frame, one end bottom of the peeling device is hinged to the top of the sliding frame, and the telescopic end of the telescopic unit is hinged to the bottom of the other end of the peeling device through the rod frame.
3. The compound robot according to claim 2, wherein the peeling device comprises a turntable mechanism, a second driving unit, a control box, a clamping mechanism and a sliding rail frame, wherein the second driving unit is arranged on the turntable mechanism and is in transmission connection with the turntable mechanism, and the control box and the clamping mechanism are respectively arranged on two sides of the turntable mechanism and are respectively in rotation connection with the turntable mechanism; the clamping mechanism is provided with a first clamping plate and a second clamping plate which can slide relatively, one side of the first clamping plate is provided with a thickness detection unit for detecting the thickness of the outer skin, one side of the second clamping plate is provided with a peeling mechanism, and the peeling mechanism and the thickness detection unit are arranged relatively, so that the peeling mechanism can move forwards and backwards towards the thickness detection unit; the bottom of the turntable mechanism is in sliding connection with the sliding rail frame; the control box is respectively and electrically connected with the second driving unit, the clamping mechanism, the thickness detection unit and the peeling mechanism; the control box is used for controlling the working states of the second driving unit, the clamping mechanism, the thickness detection unit and the peeling mechanism.
4. A multiple-powered robot as defined in claim 3, wherein said stripping mechanism is disposed obliquely toward said second clamping plate; the utility model discloses a peeling machine, including first splint, second splint, rotary table mechanism, slide rail frame, first splint with the relative one side of second splint all is provided with the recess, be provided with a plurality of bellying on the both sides cell wall of recess of second splint respectively, so that the broach mechanism can drive when rotatory peeling the crust carousel mechanism is followed slide rail frame is linear sliding motion.
5. The multiple-power robot according to claim 3, wherein a plurality of in-place detection units are arranged on the sliding rail frame along the length direction of the sliding rail frame, and the in-place detection units are electrically connected with the control box; the in-place detection unit is used for detecting the position condition of the turntable mechanism.
6. The compound electric robot according to claim 1, wherein the wiring device comprises an upper clamp and a lower clamp, the lower clamp is respectively provided with a lifting frame and a third driving unit, the upper clamp is in transmission connection with the third driving unit through the lifting frame, a clamping groove for clamping a bare wire is formed between the upper clamp and the lower clamp, and the connecting cable is arranged at the bottom of the lower clamp and is electrically connected with the lower clamp; the third driving unit is used for driving the upper clamp to lift along the length direction of the lifting frame.
7. The multiple power robot of claim 6, wherein the lower clamp is provided with a locking clamp to interlock and fix the upper clamp with the lower clamp when the upper clamp is adjacent to the lower clamp.
8. The multiple power robot of claim 7, wherein the locking clamp comprises a limiting plate and rocker arms arranged on two sides of the limiting plate, the rocker arms are rotatably connected with the locking clamp, a locking groove is formed between the two rocker arms, and the locking groove is positioned below the upper clamp; one side of the limiting plate is provided with a clamping seat which is connected with the bottom of the upper clamp in a matched mode.
9. The multiple power robot of claim 1, wherein a first wire wheel is arranged at the top of the front wire arm, a liftable wire pressing mechanism is arranged on the front wire arm below the first wire wheel, a second wire wheel is arranged at the top of the rear wire arm, and a liftable brake mechanism is arranged on the rear wire arm below the second wire wheel.
10. The multiple power robot of claim 6, wherein the upper clamp comprises an upper clamping seat and an upper clamping block, a pressure detection unit is arranged on the upper clamping block, the pressure detection unit is positioned between the upper clamping block and the upper clamping seat, and the pressure detection unit is electrically connected with the third driving unit; the pressure detection unit is used for detecting pressure generated when the upper clamping block moves towards the upper clamping seat; the upper clamping seat is in transmission connection with the lifting frame.
Priority Applications (1)
| Application Number | Priority Date | Filing Date | Title |
|---|---|---|---|
| CN202211684596.2A CN116154685A (en) | 2022-12-27 | 2022-12-27 | Complex electric robot |
Applications Claiming Priority (1)
| Application Number | Priority Date | Filing Date | Title |
|---|---|---|---|
| CN202211684596.2A CN116154685A (en) | 2022-12-27 | 2022-12-27 | Complex electric robot |
Publications (1)
| Publication Number | Publication Date |
|---|---|
| CN116154685A true CN116154685A (en) | 2023-05-23 |
Family
ID=86353574
Family Applications (1)
| Application Number | Title | Priority Date | Filing Date |
|---|---|---|---|
| CN202211684596.2A Pending CN116154685A (en) | 2022-12-27 | 2022-12-27 | Complex electric robot |
Country Status (1)
| Country | Link |
|---|---|
| CN (1) | CN116154685A (en) |
Cited By (2)
| Publication number | Priority date | Publication date | Assignee | Title |
|---|---|---|---|---|
| CN116344115A (en) * | 2023-05-30 | 2023-06-27 | 四川明达电线电缆科技有限公司 | Cold-resistant corrosion-resistant cable for wind power generation and processing equipment thereof |
| CN118315875A (en) * | 2024-06-07 | 2024-07-09 | 国网山东省电力公司济南供电公司 | An electromagnetically connected bypass cable intelligent access device and method for unmanned aerial vehicles |
-
2022
- 2022-12-27 CN CN202211684596.2A patent/CN116154685A/en active Pending
Cited By (3)
| Publication number | Priority date | Publication date | Assignee | Title |
|---|---|---|---|---|
| CN116344115A (en) * | 2023-05-30 | 2023-06-27 | 四川明达电线电缆科技有限公司 | Cold-resistant corrosion-resistant cable for wind power generation and processing equipment thereof |
| CN116344115B (en) * | 2023-05-30 | 2023-09-15 | 四川明达电线电缆科技有限公司 | Cold-resistant corrosion-resistant cable for wind power generation and processing equipment thereof |
| CN118315875A (en) * | 2024-06-07 | 2024-07-09 | 国网山东省电力公司济南供电公司 | An electromagnetically connected bypass cable intelligent access device and method for unmanned aerial vehicles |
Similar Documents
| Publication | Publication Date | Title |
|---|---|---|
| CN116154685A (en) | Complex electric robot | |
| CN106121311B (en) | Lifting and horizontal moving stereo garage | |
| CN103481277B (en) | Robot for emergency rescue and disaster relief | |
| CN111764613A (en) | High-altitude equipment installation device in rail traveling area of rail transit engineering and construction method | |
| CN114914844B (en) | A kind of live working robot for transmission lines and its application method | |
| CN203471767U (en) | Robot for carrying out rescue and relief work | |
| CN205829024U (en) | High-voltage transmission line inspection robot | |
| CN115159015A (en) | Fast and slow chain turnout pushing system | |
| CN210480697U (en) | Material lifting machine for building engineering construction | |
| CN201927944U (en) | Robot for inspecting high-voltage transmission lines | |
| CN110492383A (en) | A kind of liftable obstacle detouring electric aerodyne | |
| CN208200188U (en) | A kind of unmanned overhead traveling crane applied to concrete prefabricated element stockyard | |
| CN213173373U (en) | A sliding hanging basket for the construction of bridge anti-collision guardrail | |
| CN210430711U (en) | Liftable obstacle-surmounting electric coaster | |
| CN211172952U (en) | Automatic painting device | |
| CN208683660U (en) | A kind of intelligent shuttle rack for floor | |
| CN201169899Y (en) | Cambered surface wall plastering machine | |
| CN202922579U (en) | Automatic assembling and disassembling robot of aeronautical marking ball | |
| CN209601972U (en) | A kind of engineering machinery hoisting apparatus of hydraulic-driven | |
| CN220033838U (en) | Telescopic lifting device of lifter | |
| CN208010004U (en) | A kind of multi-functional and section rotatable stereo garage of space-efficient suspension type | |
| CN110577153A (en) | An upper module gantry component unit for an escalator | |
| CN210585536U (en) | Automobile mould surface spraying equipment | |
| CN205132929U (en) | Wire rope core conveyer belt production line wire rope spindle lifting device | |
| CN205973026U (en) | Novel big bridge type setting machine |
Legal Events
| Date | Code | Title | Description |
|---|---|---|---|
| PB01 | Publication | ||
| PB01 | Publication | ||
| SE01 | Entry into force of request for substantive examination | ||
| SE01 | Entry into force of request for substantive examination |