CN116099936B - Metal sheet punching and hole expanding integrated device - Google Patents

Metal sheet punching and hole expanding integrated device Download PDF

Info

Publication number
CN116099936B
CN116099936B CN202310408141.6A CN202310408141A CN116099936B CN 116099936 B CN116099936 B CN 116099936B CN 202310408141 A CN202310408141 A CN 202310408141A CN 116099936 B CN116099936 B CN 116099936B
Authority
CN
China
Prior art keywords
fixedly connected
plate
punching
reaming
electric telescopic
Prior art date
Legal status (The legal status is an assumption and is not a legal conclusion. Google has not performed a legal analysis and makes no representation as to the accuracy of the status listed.)
Active
Application number
CN202310408141.6A
Other languages
Chinese (zh)
Other versions
CN116099936A (en
Inventor
孙国军
孙国祯
Current Assignee (The listed assignees may be inaccurate. Google has not performed a legal analysis and makes no representation or warranty as to the accuracy of the list.)
Cangzhou North Radiator Co ltd
Original Assignee
Cangzhou North Radiator Co ltd
Priority date (The priority date is an assumption and is not a legal conclusion. Google has not performed a legal analysis and makes no representation as to the accuracy of the date listed.)
Filing date
Publication date
Application filed by Cangzhou North Radiator Co ltd filed Critical Cangzhou North Radiator Co ltd
Priority to CN202310408141.6A priority Critical patent/CN116099936B/en
Publication of CN116099936A publication Critical patent/CN116099936A/en
Application granted granted Critical
Publication of CN116099936B publication Critical patent/CN116099936B/en
Active legal-status Critical Current
Anticipated expiration legal-status Critical

Links

Images

Classifications

    • BPERFORMING OPERATIONS; TRANSPORTING
    • B21MECHANICAL METAL-WORKING WITHOUT ESSENTIALLY REMOVING MATERIAL; PUNCHING METAL
    • B21DWORKING OR PROCESSING OF SHEET METAL OR METAL TUBES, RODS OR PROFILES WITHOUT ESSENTIALLY REMOVING MATERIAL; PUNCHING METAL
    • B21D35/00Combined processes according to or processes combined with methods covered by groups B21D1/00 - B21D31/00
    • B21D35/002Processes combined with methods covered by groups B21D1/00 - B21D31/00
    • BPERFORMING OPERATIONS; TRANSPORTING
    • B08CLEANING
    • B08BCLEANING IN GENERAL; PREVENTION OF FOULING IN GENERAL
    • B08B5/00Cleaning by methods involving the use of air flow or gas flow
    • B08B5/02Cleaning by the force of jets, e.g. blowing-out cavities
    • BPERFORMING OPERATIONS; TRANSPORTING
    • B21MECHANICAL METAL-WORKING WITHOUT ESSENTIALLY REMOVING MATERIAL; PUNCHING METAL
    • B21DWORKING OR PROCESSING OF SHEET METAL OR METAL TUBES, RODS OR PROFILES WITHOUT ESSENTIALLY REMOVING MATERIAL; PUNCHING METAL
    • B21D37/00Tools as parts of machines covered by this subclass
    • B21D37/18Lubricating, e.g. lubricating tool and workpiece simultaneously
    • BPERFORMING OPERATIONS; TRANSPORTING
    • B21MECHANICAL METAL-WORKING WITHOUT ESSENTIALLY REMOVING MATERIAL; PUNCHING METAL
    • B21DWORKING OR PROCESSING OF SHEET METAL OR METAL TUBES, RODS OR PROFILES WITHOUT ESSENTIALLY REMOVING MATERIAL; PUNCHING METAL
    • B21D43/00Feeding, positioning or storing devices combined with, or arranged in, or specially adapted for use in connection with, apparatus for working or processing sheet metal, metal tubes or metal profiles; Associations therewith of cutting devices
    • B21D43/003Positioning devices
    • YGENERAL TAGGING OF NEW TECHNOLOGICAL DEVELOPMENTS; GENERAL TAGGING OF CROSS-SECTIONAL TECHNOLOGIES SPANNING OVER SEVERAL SECTIONS OF THE IPC; TECHNICAL SUBJECTS COVERED BY FORMER USPC CROSS-REFERENCE ART COLLECTIONS [XRACs] AND DIGESTS
    • Y02TECHNOLOGIES OR APPLICATIONS FOR MITIGATION OR ADAPTATION AGAINST CLIMATE CHANGE
    • Y02PCLIMATE CHANGE MITIGATION TECHNOLOGIES IN THE PRODUCTION OR PROCESSING OF GOODS
    • Y02P70/00Climate change mitigation technologies in the production process for final industrial or consumer products
    • Y02P70/10Greenhouse gas [GHG] capture, material saving, heat recovery or other energy efficient measures, e.g. motor control, characterised by manufacturing processes, e.g. for rolling metal or metal working

Landscapes

  • Engineering & Computer Science (AREA)
  • Mechanical Engineering (AREA)
  • Perforating, Stamping-Out Or Severing By Means Other Than Cutting (AREA)

Abstract

The invention discloses a metal sheet punching and hole expanding integrated device, which specifically comprises: the base is provided with a stable bottom plate and a fixed seat arranged at the bottom of the base, the top of the base is fixedly connected with a vertical plate, a protection plate is fixedly connected above the vertical plate, the outside of the protection plate is fixedly connected with a fixing box, the upper surface of the base is fixedly connected with a backup plate, and the outside of the backup plate is fixedly connected with a top plate; the positioning mechanism is used for fixing the metal sheet and adjusting the position of the metal sheet, and comprises an electric telescopic column, wherein a sliding plate is fixedly connected to the outer part of the electric telescopic column, an adjusting rod is fixedly connected to the outer part of the sliding plate, a clamping angle plate is fixedly connected to the outer part of the adjusting rod, and the electric telescopic column is fixedly connected to the inner part of the fixing box; the invention relates to the technical field of punching and expanding holes. The metal sheet punching and hole expanding integrated device achieves the purpose of improving the service efficiency of equipment.

Description

一种金属薄板冲扩孔一体化装置An integrated device for punching and expanding holes in sheet metal

技术领域technical field

本发明涉及冲扩孔技术领域,具体为一种金属薄板冲扩孔一体化装置。The invention relates to the technical field of punching and expanding holes, in particular to an integrated device for punching and expanding holes in a thin metal plate.

背景技术Background technique

冲孔,是指以适应不同的需求,具体有:八字孔,六方孔,冲孔板,长孔,四方孔, 圆孔,冲孔板网,三角孔等等。扩孔,将钻孔底部或某些类型的基础墩的底部加以扩大,以便增加其承受荷载的区域;减小空心毛坯壁厚而增加其内外径的锻造工序。冲头扩孔是指利用冲头锥面引起的径向分力而进行扩孔的一种扩孔方法。Punching refers to meet different needs, specifically: eight-character hole, hexagonal hole, punching plate, long hole, square hole, round hole, punching plate mesh, triangular hole and so on. Reaming, enlarging the bottom of a drilled hole or the bottom of some types of foundation piers in order to increase its load-bearing area; the forging process of reducing the wall thickness of a hollow blank to increase its inner and outer diameters. Punch reaming refers to a method of reaming the hole by using the radial component force caused by the cone surface of the punch.

目前的金属薄板冲扩孔一体化装置,在冲扩孔过程中,由于两侧夹持较紧,冲孔速度快,力度大,易导致金属薄板破裂,且在冲孔设备上升过程中,易带动碎料向外飞溅。The current metal sheet punching and expanding integrated device, in the punching and expanding process, due to the tight clamping on both sides, the punching speed is fast and the force is strong, it is easy to cause the metal sheet to break, and it is easy to drive the broken when the punching equipment is rising. Material splashes outward.

发明内容Contents of the invention

为解决上述技术问题,本发明提供一种金属薄板冲扩孔一体化装置,具体包括:In order to solve the above-mentioned technical problems, the present invention provides an integrated device for punching and expanding holes in sheet metal, which specifically includes:

底座,该底座具有平稳底板,以及设置在底座底部的固定座,所述底座的顶部固定连接有竖板,所述竖板的上方固定连接有保护板,所述保护板的外部固定连接有固定箱,所述底座的上表面固定连接有靠板,所述靠板的外部固定连接有顶板;Base, the base has a stable bottom plate, and a fixed seat arranged at the bottom of the base, the top of the base is fixedly connected with a riser, the top of the riser is fixedly connected with a protection plate, and the outside of the protection plate is fixedly connected with a fixed box, the upper surface of the base is fixedly connected with a backing plate, and the outside of the backing plate is fixedly connected with a top plate;

定位机构,用于固定金属薄板并调节金属薄板所处的位置,所述定位机构包括电动伸缩柱,所述电动伸缩柱的外部固定连接有滑动板,所述滑动板的外部固定连接有调节杆,所述调节杆的外部固定连接有卡位角板,所述电动伸缩柱固定连接在固定箱的内部;The positioning mechanism is used to fix the metal sheet and adjust the position of the metal sheet. The positioning mechanism includes an electric telescopic column, the outside of the electric telescopic column is fixedly connected with a sliding plate, and the outside of the sliding plate is fixedly connected with an adjustment rod , the outside of the adjustment rod is fixedly connected with a snap angle plate, and the electric telescopic column is fixedly connected inside the fixed box;

冲扩孔机构,用于进行冲孔以及扩孔工作,且工作结束后可去除金属薄板内的杂质,所述冲扩孔机构包括固定槽,所述固定槽的内部固定连接有环形箱,所述环形箱的内部固定连接有风机,所述固定槽开设在顶板的内部。The punching and reaming mechanism is used for punching and reaming, and can remove impurities in the metal sheet after the work is completed. The punching and reaming mechanism includes a fixed groove, and the inside of the fixed groove is fixedly connected with a ring box. The ring A fan is fixedly connected to the inside of the box, and the fixing groove is provided inside the top plate.

优选的,所述固定座固定连接在底座的底部,所述固定箱固定连接在靠板的外部,所述底座的内部开设有存储槽,所述底座的顶部固定连接有承接机构,所述底座的上表面开设有排污口。Preferably, the fixed seat is fixedly connected to the bottom of the base, the fixed box is fixedly connected to the outside of the backing plate, the inside of the base is provided with a storage tank, the top of the base is fixedly connected to a receiving mechanism, and the base There is a sewage outlet on the upper surface.

优选的,所述滑动板滑动连接在固定箱的内部,所述卡位角板的内部固定连接有橡胶条,所述卡位角板的内部开设有流通槽,所述滑动板的外部固定连接有第二电动伸缩柱,所述第二电动伸缩柱的外部固定连接有斜板。Preferably, the sliding plate is slidably connected inside the fixed box, the inside of the clamping angle plate is fixedly connected with a rubber strip, the inside of the clamping angle plate is provided with a circulation groove, and the outside of the sliding plate is fixedly connected to There is a second electric telescopic column, and a swash plate is fixedly connected to the outside of the second electric telescopic column.

优选的,所述斜板的上方固定连接有弹性杆,所述弹性杆的顶部固定连接有吸盘,所述卡位角板的外部固定连接有存储盒,用来放置润滑油,在冲孔过程中加入润滑油,辅助冲孔工作的进行,所述存储盒的内部固定连接有弯管。Preferably, an elastic rod is fixedly connected to the top of the inclined plate, a suction cup is fixedly connected to the top of the elastic rod, and a storage box is fixedly connected to the outside of the clamping angle plate for storing lubricating oil. Lubricating oil is added to assist the punching work, and the inside of the storage box is fixedly connected with an elbow.

优选的,所述环形箱的下方固定连接有送风管,所述固定槽的内部固定连接有第三电动伸缩柱,所述第三电动伸缩柱的外部套设有固定壳,所述第三电动伸缩柱的底部固定连接有动力组件。Preferably, an air supply pipe is fixedly connected to the bottom of the annular box, a third electric telescopic column is fixedly connected to the inside of the fixed groove, and a fixed shell is set on the outside of the third electric telescopic column. The bottom of the electric telescopic column is fixedly connected with a power component.

优选的,所述动力组件包括第二调节杆,所述第二调节杆的底部固定连接有转向接头,所述转向接头的底部转动连接有电动转盘,由电动转盘控制固定筒以及第二固定筒所处位置,便于更换冲孔以及扩孔设备的位置,所述第二调节杆固定连接在第三电动伸缩柱的底部。Preferably, the power assembly includes a second adjustment rod, the bottom of the second adjustment rod is fixedly connected with a steering joint, and the bottom of the steering joint is rotatably connected with an electric turntable, and the electric turntable controls the fixed cylinder and the second fixed cylinder The position is convenient for changing the position of the punching and reaming equipment, and the second adjusting rod is fixedly connected to the bottom of the third electric telescopic column.

优选的,所述电动转盘的下方固定连接有固定筒,所述固定筒的内部固定连接有扩孔头,所述扩孔头的底部固定连接有冲孔头,在扩孔头的底部设置冲孔头,可由冲孔头将孔内的碎料向下运输,防止影响扩孔工作。Preferably, a fixed cylinder is fixedly connected to the bottom of the electric turntable, a reaming head is fixedly connected to the inside of the fixed cylinder, a punching head is fixedly connected to the bottom of the reaming head, and a punching head is arranged at the bottom of the reaming head. Hole head, the debris in the hole can be transported downward by the punching head to prevent affecting the reaming work.

优选的,所述电动转盘的底部固定连接有第二固定筒,所述第二固定筒的内部固定连接有第二冲孔头,所述第二固定筒的下方固定连接有电动推杆,所述电动推杆的底部固定连接有推盘,在电动推杆的底部设置推盘,可在冲孔结合后,开启电动推杆,电动推杆带动推盘堵在孔的顶部,防止碎料飞溅,所述推盘套设在第二冲孔头的外部。Preferably, the bottom of the electric turntable is fixedly connected with a second fixed cylinder, the inside of the second fixed cylinder is fixedly connected with a second punching head, and the bottom of the second fixed cylinder is fixedly connected with an electric push rod, so The bottom of the electric push rod is fixedly connected with a push plate, and a push plate is set at the bottom of the electric push rod. After the punching is combined, the electric push rod is opened, and the electric push rod drives the push plate to block the top of the hole to prevent the debris from splashing. , the push plate is sheathed on the outside of the second punching head.

优选的,所述承接机构包括第二斜板,所述第二斜板的外部固定连接有横板,所述第二斜板和横板的内部均开设有流通孔,通过开设流通孔,可将处于横板以及第二斜板上的润滑油以及杂质向下运输,将其与金属碎料分开,所述横板的上表面固定连接有围板,所述第二斜板固定连接在靠板的外部。Preferably, the receiving mechanism includes a second slant plate, the outside of the second slant plate is fixedly connected with a horizontal plate, the inside of the second slant plate and the horizontal plate are both provided with flow holes, and through opening the flow holes, the The lubricating oil and impurities on the horizontal plate and the second inclined plate are transported downward to separate them from the metal scraps. The upper surface of the horizontal plate is fixedly connected with a coaming plate, and the second inclined plate is fixedly connected to outside of the board.

本发明提供了一种金属薄板冲扩孔一体化装置。具备以下有益效果:The invention provides an integrated device for punching and expanding holes in a thin metal plate. Has the following beneficial effects:

该金属薄板冲扩孔一体化装置,通过设置承接机构,在底部承接上方落下的金属碎料以及润滑油,并将金属碎料进行过滤收集,防止造成对原料的浪费,且对于产生的杂质以及润滑油可向下运输并单独排放,防止影响设备内环境。达到了便于分类收集金属碎料和润滑油的目的。The metal thin plate punching and expanding integrated device, by setting a receiving mechanism, accepts the metal scraps and lubricating oil falling from above at the bottom, and filters and collects the metal scraps to prevent waste of raw materials, and for the generated impurities and lubricating oil The oil can be transported downwards and drained separately to prevent affecting the environment inside the equipment. The purpose of facilitating the classification and collection of metal scrap and lubricating oil is achieved.

该金属薄板冲扩孔一体化装置,通过设置定位机构,常规设备在冲扩孔之前,使用夹具将金属薄板位置固定,在冲扩孔过程中,由于两侧夹持较紧,冲孔速度快,力度大,易导致金属薄板破裂,且在冲孔设备上升过程中,易带动碎料向外飞溅。故在设备中,通过将金属薄板的两端以及底部均匀固定,对金属薄板进行保护。达到了便于固定金属薄板所处位置,并根据金属薄板尺寸对设备进行调节的目的。The metal sheet punching and expanding integrated device, by setting the positioning mechanism, the conventional equipment uses the clamp to fix the position of the metal sheet before punching and expanding the hole. During the punching and expanding process, due to the tight clamping on both sides, the punching speed is fast and the force is strong , It is easy to cause the metal sheet to break, and it is easy to drive the debris to splash outward during the rising process of the punching equipment. Therefore, in the equipment, the metal sheet is protected by evenly fixing both ends and the bottom of the metal sheet. The purpose of conveniently fixing the position of the metal sheet and adjusting the equipment according to the size of the metal sheet is achieved.

该金属薄板冲扩孔一体化装置,通过设置冲扩孔机构,可根据金属薄板的冲扩孔要求对动力组件的高度进行调节,且在冲扩孔工作之前,对金属薄板的表面进行去灰处理,放置影响冲孔工作。达到了便于对金属薄板进行冲孔以及扩孔工作的目的。The metal sheet punching and expanding integrated device, by setting the punching and expanding mechanism, can adjust the height of the power component according to the punching and expanding requirements of the metal sheet, and before the punching and expanding work, the surface of the metal sheet is deashed, and the impact of placement Punching work. The purpose of being convenient for punching and reaming the metal sheet is achieved.

该金属薄板冲扩孔一体化装置,通过设置动力组件,可单独完成冲孔工作,并放置碎料向上飞溅。由于金属薄板的厚度较小,故在扩孔头的底部设置冲孔头,在扩孔之前,由冲孔头先进入空中,将碎料向下推动,并带动扩孔头进行扩孔工作。达到了便于更换冲孔头以及扩孔头的位置的目的。The metal thin plate punching and expanding integrated device can complete the punching work alone by setting the power component, and place the scraps to splash upwards. Due to the small thickness of the metal sheet, a punching head is installed at the bottom of the reaming head. Before reaming, the punching head enters the air first, pushes the scrap downwards, and drives the reaming head to perform hole reaming. The purpose of facilitating the replacement of the positions of the punching head and the reaming head is achieved.

附图说明Description of drawings

图1为本发明金属薄板冲扩孔一体化装置的结构示意图;Fig. 1 is the schematic structural view of the metal thin plate punching and expanding integrated device of the present invention;

图2为本发明金属薄板冲扩孔一体化装置的底部结构示意图;Fig. 2 is a schematic view of the bottom structure of the metal sheet punching and expanding integrated device of the present invention;

图3为本发明承接机构结构示意图;Fig. 3 is a structural schematic diagram of the receiving mechanism of the present invention;

图4为本发明图3中A处局部放大示意图;Fig. 4 is a partially enlarged schematic diagram of place A in Fig. 3 of the present invention;

图5为本发明定位机构结构示意图;Fig. 5 is a structural schematic diagram of the positioning mechanism of the present invention;

图6为本发明图5中B处局部放大示意图;Fig. 6 is a partially enlarged schematic diagram of place B in Fig. 5 of the present invention;

图7为本发明冲扩孔机构结构示意图;Fig. 7 is a structural schematic diagram of the punching and reaming mechanism of the present invention;

图8为本发明动力组件结构示意图。Fig. 8 is a schematic structural diagram of the power assembly of the present invention.

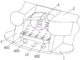
图中:1、底座;2、靠板;3、竖板;4、固定箱;5、保护板;6、承接机构;601、第二斜板;602、横板;603、电动伸缩杆;604、固定杆;605、中心板;606、弹簧;607、承接斜板;7、定位机构;701、电动伸缩柱;702、滑动板;703、调节杆;704、卡位角板;705、弯管;706、第二电动伸缩柱;707、斜板;708、吸盘;709、橡胶条;8、顶板;9、冲扩孔机构;901、固定槽;902、环形箱;903、送风管;904、第三电动伸缩柱;905、动力组件;9051、第二调节杆;9052、电动转盘;9053、固定筒;9054、扩孔头;9055、冲孔头;9056、第二固定筒;9057、第二冲孔头;9058、推盘;10、存储槽;11、固定座;12、排污口。In the figure: 1, base; 2, backing plate; 3, vertical plate; 4, fixed box; 5, protective plate; 6, undertaking mechanism; 601, second inclined plate; 604, fixed rod; 605, center plate; 606, spring; 607, accept inclined plate; 7, positioning mechanism; 701, electric telescopic column; 702, sliding plate; 703, adjusting rod; Bend pipe; 706, the second electric telescopic column; 707, inclined plate; 708, suction cup; 709, rubber strip; 8, top plate; 9, punching and expanding mechanism; 901, fixing groove; ; 904, the third electric telescopic column; 905, the power assembly; 9051, the second adjustment rod; 9052, the electric turntable; 9053, the fixed cylinder; 9054, the reaming head; 9055, the punching head; 9057, the second punching head; 9058, the push plate; 10, the storage tank; 11, the fixing seat; 12, the sewage outlet.

具体实施方式Detailed ways

下面结合附图和具体实施方式对本发明作进一步详细的说明。本发明的实施例是为了示例和描述起见而给出的,而并不是无遗漏的或者将本发明限于所公开的形式。很多修改和变化对于本领域的普通技术人员而言是显而易见的。选择和描述实施例是为了更好说明本发明的原理和实际应用,并且使本领域的普通技术人员能够理解本发明从而设计适于特定用途的带有各种修改的各种实施例。The present invention will be further described in detail below in conjunction with the accompanying drawings and specific embodiments. The embodiments of the present invention have been presented for purposes of illustration and description, but are not intended to be exhaustive or to limit the invention to the form disclosed. Many modifications and changes will be apparent to those of ordinary skill in the art. The embodiment was chosen and described in order to better explain the principles of the invention and the practical application, and to enable others of ordinary skill in the art to understand the invention and design various embodiments with various modifications as are suited to the particular use.

如图1-图8所示,本发明提供一种技术方案:具体包括:As shown in Figures 1-8, the present invention provides a technical solution: specifically including:

底座1,该底座1具有平稳底板,以及设置在底座1底部的固定座11,底座1的顶部固定连接有竖板3,竖板3的上方固定连接有保护板5,保护板5的外部固定连接有固定箱4,底座1的上表面固定连接有靠板2,靠板2的外部固定连接有顶板8;Base 1, the base 1 has a stable bottom plate, and a fixed seat 11 arranged at the bottom of the base 1, the top of the base 1 is fixedly connected with a riser 3, the top of the riser 3 is fixedly connected with a protection plate 5, and the outside of the protection plate 5 is fixed A fixed box 4 is connected, the upper surface of the base 1 is fixedly connected with a backing plate 2, and the outside of the backing plate 2 is fixedly connected with a top plate 8;

定位机构7,用于固定金属薄板并调节金属薄板所处的位置,定位机构7包括电动伸缩柱701,电动伸缩柱701的外部固定连接有滑动板702,滑动板702的外部固定连接有调节杆703,调节杆703的外部固定连接有卡位角板704,电动伸缩柱701固定连接在固定箱4的内部;The positioning mechanism 7 is used to fix the metal sheet and adjust the position of the metal sheet. The positioning mechanism 7 includes an electric telescopic column 701, the outside of the electric telescopic column 701 is fixedly connected with a sliding plate 702, and the outside of the sliding plate 702 is fixedly connected with an adjustment rod 703, the outside of the adjustment rod 703 is fixedly connected with a locking angle plate 704, and the electric telescopic column 701 is fixedly connected to the inside of the fixed box 4;

冲扩孔机构9,用于进行冲孔以及扩孔工作,且工作结束后可去除金属薄板内的杂质,冲扩孔机构9包括固定槽901,固定槽901的内部固定连接有环形箱902,环形箱902的内部固定连接有风机,固定槽901开设在顶板8的内部。The punching and reaming mechanism 9 is used for punching and reaming work, and can remove impurities in the metal sheet after the work is completed. The punching and reaming mechanism 9 includes a fixed groove 901, and the inside of the fixed groove 901 is fixedly connected with an annular box 902. The annular box The inside of 902 is fixedly connected with a fan, and the fixing groove 901 is opened inside the top plate 8 .

固定座11固定连接在底座1的底部,固定箱4固定连接在靠板2的外部,底座1的内部开设有存储槽10,底座1的顶部固定连接有承接机构6,底座1的上表面开设有排污口12。具有便于安置金属薄板并对金属碎料进行回收的优点。使用设备之前,手动调节定位机构7,并将金属薄板放置在定位机构7的内部,开启冲扩孔机构9,开始进行冲扩孔工作,工作结束后,产生的金属碎料被冲扩孔机构9向下推入承接机构6的内部,润滑油通过底座1内部的排污口12向下运动到存储槽10的内部,可单独排放。The fixed seat 11 is fixedly connected to the bottom of the base 1, the fixed box 4 is fixedly connected to the outside of the backing plate 2, the inside of the base 1 is provided with a storage tank 10, the top of the base 1 is fixedly connected with a receiving mechanism 6, and the upper surface of the base 1 is provided with Sewage outlet 12 is arranged. It has the advantages of convenient placement of metal sheets and recycling of metal scraps. Before using the equipment, manually adjust the positioning mechanism 7, place the metal sheet inside the positioning mechanism 7, open the punching and reaming mechanism 9, and start punching and reaming. Pushed into the inside of the receiving mechanism 6, the lubricating oil moves down to the inside of the storage tank 10 through the sewage outlet 12 inside the base 1, and can be discharged separately.

滑动板702滑动连接在固定箱4的内部,卡位角板704的内部固定连接有橡胶条709,卡位角板704的内部开设有流通槽,滑动板702的外部固定连接有第二电动伸缩柱706,第二电动伸缩柱706的外部固定连接有斜板707。The sliding plate 702 is slidably connected inside the fixed box 4, the inside of the locking angle plate 704 is fixedly connected with a rubber strip 709, the inside of the locking angle plate 704 is provided with a circulation groove, and the outside of the sliding plate 702 is fixedly connected with a second electric telescopic The outside of the column 706 and the second electric telescopic column 706 is fixedly connected with a swash plate 707 .

斜板707的上方固定连接有弹性杆,弹性杆的顶部固定连接有吸盘708,卡位角板704的外部固定连接有存储盒,存储盒的内部固定连接有弯管705。具有便于固定金属薄板所处位置,并根据金属薄板尺寸对设备进行调节的优点。开启第二电动伸缩柱706。第二电动伸缩柱706带动斜板707向外运动,防止金属碎料运动至固定箱4的内部。手动将金属薄板放置在卡位角板704的内部,开启电动伸缩柱701,电动伸缩柱701带动滑动板702在固定箱4的内部向外滑动,随后根据金属薄板的长度,手动调整调节杆703的长度,使卡位角板704内部的橡胶条709固定在金属薄板的左右两侧,进而将金属薄板的位置固定,轻轻向下按压金属薄板,直到金属薄板与底部的吸盘708吸合固定。在进行冲扩孔工作时,开启弯管705,弯管705将存储盒内的润滑油向外运输,辅助冲扩孔工作。An elastic rod is fixedly connected to the top of the slant plate 707, a suction cup 708 is fixedly connected to the top of the elastic rod, a storage box is fixedly connected to the outside of the locking angle plate 704, and an elbow 705 is fixedly connected to the inside of the storage box. It has the advantages of being convenient to fix the position of the metal sheet and adjusting the equipment according to the size of the metal sheet. The second electric telescopic column 706 is turned on. The second electric telescopic column 706 drives the swash plate 707 to move outwards, preventing metal scraps from moving to the inside of the fixed box 4 . Manually place the metal sheet inside the clamping angle plate 704, open the electric telescopic column 701, the electric telescopic column 701 drives the sliding plate 702 to slide outwards inside the fixed box 4, and then manually adjust the adjusting rod 703 according to the length of the metal sheet length, so that the rubber strips 709 inside the clamping angle plate 704 are fixed on the left and right sides of the metal sheet, and then the position of the metal sheet is fixed, and the metal sheet is gently pressed down until the metal sheet is attracted and fixed with the suction cup 708 at the bottom . When performing punching and reaming work, the elbow 705 is opened, and the elbow 705 transports the lubricating oil in the storage box outwards to assist the punching and reaming work.

环形箱902的下方固定连接有送风管903,固定槽901的内部固定连接有第三电动伸缩柱904,第三电动伸缩柱904的外部套设有固定壳,第三电动伸缩柱904的底部固定连接有动力组件905。The bottom of the annular box 902 is fixedly connected with an air supply pipe 903, the inside of the fixed groove 901 is fixedly connected with a third electric telescopic column 904, the outside of the third electric telescopic column 904 is provided with a fixed shell, and the bottom of the third electric telescopic column 904 A power assembly 905 is fixedly connected.

动力组件905包括第二调节杆9051,第二调节杆9051的底部固定连接有转向接头,转向接头的底部转动连接有电动转盘9052,第二调节杆9051固定连接在第三电动伸缩柱904的底部。The power assembly 905 includes a second adjustment rod 9051, the bottom of the second adjustment rod 9051 is fixedly connected with a steering joint, and the bottom of the steering joint is rotatably connected with an electric turntable 9052, and the second adjustment rod 9051 is fixedly connected with the bottom of the third electric telescopic column 904 .

电动转盘9052的下方固定连接有固定筒9053,固定筒9053的内部固定连接有扩孔头9054,扩孔头9054的底部固定连接有冲孔头9055。The bottom of the electric turntable 9052 is fixedly connected with a fixed tube 9053, the inside of the fixed tube 9053 is fixedly connected with a reaming head 9054, and the bottom of the reaming head 9054 is fixedly connected with a punching head 9055.

电动转盘9052的底部固定连接有第二固定筒9056,第二固定筒9056的内部固定连接有第二冲孔头9057,第二固定筒9056的下方固定连接有电动推杆,电动推杆的底部固定连接有推盘9058,推盘9058套设在第二冲孔头9057的外部。具有便于对金属薄板进行冲孔以及扩孔工作的优点。使用设备之前,开启环形箱902内的风机,风机中的风通过送风管903向下运动,清理处于金属薄板顶部的灰尘杂质。开启第三电动伸缩柱904,第三电动伸缩柱904带动底部的动力组件905向下运动,开启动力组件905,进行冲扩孔工作。The bottom of the electric turntable 9052 is fixedly connected with a second fixed cylinder 9056, the inside of the second fixed cylinder 9056 is fixedly connected with a second punching head 9057, and the bottom of the second fixed cylinder 9056 is fixedly connected with an electric push rod, and the bottom of the electric push rod A push plate 9058 is fixedly connected, and the push plate 9058 is sleeved on the outside of the second punching head 9057 . It has the advantage of being convenient for punching and reaming the metal sheet. Before using the equipment, open the fan in the annular box 902, and the wind in the fan moves downward through the air supply pipe 903 to clean up the dust impurities on the top of the metal sheet. The third electric telescopic column 904 is turned on, and the third electric telescopic column 904 drives the power assembly 905 at the bottom to move downward, and the power assembly 905 is turned on to carry out punching and reaming work.

若只需进行冲孔工作,开启电动转盘9052,使第二固定筒9056处于冲孔位置的正上方,此时固定筒9053处于金属薄板的外部。开启第三电动伸缩柱904,第三电动伸缩柱904带动底部的电动转盘9052向下运动,进而带动第二固定筒9056向下运动,此时第二固定筒9056带动内部的第二冲孔头9057向下运动,直到冲孔结束。开启电动推杆,电动推杆带动推盘9058向下运动,此时关闭第三电动伸缩柱904,第二冲孔头9057逐渐离开金属薄板的内部,推盘9058在第二冲孔头9057之后离开金属薄板的表面,防止碎料飞溅。If only punching work is needed, turn on the electric turntable 9052 so that the second fixed cylinder 9056 is directly above the punching position, and now the fixed cylinder 9053 is outside the sheet metal. Open the third electric telescopic column 904, the third electric telescopic column 904 drives the electric turntable 9052 at the bottom to move downward, and then drives the second fixed cylinder 9056 to move downward, at this time the second fixed cylinder 9056 drives the second punching head inside The 9057 moves downward until the punching is complete. Turn on the electric push rod, and the electric push rod drives the push plate 9058 to move downward. At this time, the third electric telescopic column 904 is closed, and the second punching head 9057 gradually leaves the inside of the metal sheet, and the push plate 9058 is behind the second punching head 9057 Keep away from the surface of the sheet metal to prevent splashing of debris.

若需要进行扩孔工作,开启电动转盘9052,使固定筒9053处于冲扩孔位置的正上方,此时第二固定筒9056处于金属薄板的外部。由于冲孔工作已经完成,可直接开启第三电动伸缩柱904,第三电动伸缩柱904带动底部的扩孔头9054以及冲孔头9055向下运动,冲孔头9055先进入已经冲孔结束的孔中,扩孔头9054后进入孔中,进行扩孔工作,在冲孔头9055的辅助下,先将处于孔中的碎料向下推动,防止影响扩孔工作的进行。If hole reaming is required, turn on the electric turntable 9052 to make the fixed cylinder 9053 directly above the punching and reaming position. At this time, the second fixed cylinder 9056 is outside the sheet metal. Since the punching work has been completed, the third electric telescopic column 904 can be opened directly, and the third electric telescopic column 904 drives the reaming head 9054 and the punching head 9055 at the bottom to move downward, and the punching head 9055 first enters the hole that has been punched. In the hole, the reaming head 9054 enters the hole to carry out the reaming work. With the assistance of the punching head 9055, the debris in the hole is pushed down earlier to prevent the impact of the reaming work.

承接机构6包括第二斜板601,第二斜板601的外部固定连接有横板602,第二斜板601和横板602的内部均开设有流通孔。横板602的上表面固定连接有围板,第二斜板601固定连接在靠板2的外部。The receiving mechanism 6 includes a second slant plate 601 , the outside of the second slant plate 601 is fixedly connected with a horizontal plate 602 , and the inside of the second slant plate 601 and the horizontal plate 602 are both provided with flow holes. The upper surface of the horizontal plate 602 is fixedly connected with a shroud, and the second inclined plate 601 is fixedly connected to the outside of the backing plate 2 .

底座1的上表面固定连接有电动伸缩杆603,第二斜板601的上方固定连接有固定杆604,固定杆604的顶部固定连接有中心板605,中心板605的外部固定连接有合页,合页的外部转动连接有承接斜板607,承接斜板607的底部固定连接有弹簧606,弹簧606固定连接在第二斜板601的上方。具有便于分类收集金属碎料和润滑油的优点。在上方冲扩孔工作结束后,产生的碎料以及润滑油向下运动,碎料通过中心板605向左右两侧的承接斜板607运动,在挤压承接斜板607后,承接斜板607向下挤压弹簧606,直到碎料向外运动至第二斜板601的上方,部分碎料开始下滑至横板602。反复开启电动伸缩杆603,电动伸缩杆603开始不断撞击顶部的横板602,使杂质和润滑油通过流通孔向下运动,进而通过排污口12进入存储槽10的内部。在围板的保护下,金属碎料留在横板602的上方。The upper surface of the base 1 is fixedly connected with an electric telescopic rod 603, the top of the second inclined plate 601 is fixedly connected with a fixed rod 604, the top of the fixed rod 604 is fixedly connected with a center plate 605, and the outside of the center plate 605 is fixedly connected with a hinge. The outside of the hinge is rotatably connected with a receiving slant plate 607 , and the bottom of the receiving slant plate 607 is fixedly connected with a spring 606 , and the spring 606 is fixedly connected above the second slant plate 601 . It has the advantage of being convenient for sorting and collecting metal scraps and lubricating oil. After the upper punching and reaming work is completed, the scraps and lubricating oil produced move downward, and the scraps move through the center plate 605 to the receiving inclined plates 607 on the left and right sides. After squeezing the receiving inclined plates 607, the receiving inclined plates 607 move toward Squeeze the spring 606 downward until the crushed material moves outward to the top of the second inclined plate 601 , and part of the crushed material begins to slide down to the horizontal plate 602 . The electric telescopic rod 603 is opened repeatedly, and the electric telescopic rod 603 begins to continuously hit the top horizontal plate 602, so that impurities and lubricating oil move downward through the circulation hole, and then enter the inside of the storage tank 10 through the sewage outlet 12. Under the protection of the shroud, the metal fragments remain above the horizontal plate 602 .

工作原理:使用设备之前,手动调节定位机构7,并将金属薄板放置在定位机构7的内部,开启第二电动伸缩柱706。第二电动伸缩柱706带动斜板707向外运动,防止金属碎料运动至固定箱4的内部。手动将金属薄板放置在卡位角板704的内部,开启电动伸缩柱701,电动伸缩柱701带动滑动板702在固定箱4的内部向外滑动,随后根据金属薄板的长度,手动调整调节杆703的长度,使卡位角板704内部的橡胶条709固定在金属薄板的左右两侧,进而将金属薄板的位置固定,轻轻向下按压金属薄板,直到金属薄板与底部的吸盘708吸合固定。在进行冲扩孔工作时,开启弯管705,弯管705将存储盒内的润滑油向外运输,辅助冲扩孔工作。Working principle: Before using the equipment, manually adjust the positioning mechanism 7, place the metal sheet inside the positioning mechanism 7, and open the second electric telescopic column 706. The second electric telescopic column 706 drives the swash plate 707 to move outwards, preventing metal scraps from moving to the inside of the fixed box 4 . Manually place the metal sheet inside the clamping angle plate 704, open the electric telescopic column 701, the electric telescopic column 701 drives the sliding plate 702 to slide outwards inside the fixed box 4, and then manually adjust the adjusting rod 703 according to the length of the metal sheet length, so that the rubber strips 709 inside the clamping angle plate 704 are fixed on the left and right sides of the metal sheet, and then the position of the metal sheet is fixed, and the metal sheet is gently pressed down until the metal sheet is attracted and fixed with the suction cup 708 at the bottom . When performing punching and reaming work, the elbow 705 is opened, and the elbow 705 transports the lubricating oil in the storage box outwards to assist the punching and reaming work.

开启冲扩孔机构9,使用设备之前,开启环形箱902内的风机,风机中的风通过送风管903向下运动,清理处于金属薄板顶部的灰尘杂质。开启第三电动伸缩柱904,第三电动伸缩柱904带动底部的动力组件905向下运动,开启动力组件905,进行冲扩孔工作。Open the punching and reaming mechanism 9, before using the equipment, open the blower fan in the annular box 902, the wind in the blower blower moves downwards through the air supply pipe 903, and cleans up the dust impurities at the top of the metal sheet. The third electric telescopic column 904 is turned on, and the third electric telescopic column 904 drives the power assembly 905 at the bottom to move downward, and the power assembly 905 is turned on to carry out punching and reaming work.

若只需进行冲孔工作,开启电动转盘9052,使第二固定筒9056处于冲孔位置的正上方,此时固定筒9053处于金属薄板的外部。开启第三电动伸缩柱904,第三电动伸缩柱904带动底部的电动转盘9052向下运动,进而带动第二固定筒9056向下运动,此时第二固定筒9056带动内部的第二冲孔头9057向下运动,直到冲孔结束。开启电动推杆,电动推杆带动推盘9058向下运动,此时关闭第三电动伸缩柱904,第二冲孔头9057逐渐离开金属薄板的内部,推盘9058在第二冲孔头9057之后离开金属薄板的表面,防止碎料飞溅。If only punching work is needed, turn on the electric turntable 9052 so that the second fixed cylinder 9056 is directly above the punching position, and now the fixed cylinder 9053 is outside the sheet metal. Open the third electric telescopic column 904, the third electric telescopic column 904 drives the electric turntable 9052 at the bottom to move downward, and then drives the second fixed cylinder 9056 to move downward, at this time the second fixed cylinder 9056 drives the second punching head inside The 9057 moves downward until the punching is complete. Turn on the electric push rod, and the electric push rod drives the push plate 9058 to move downward. At this time, the third electric telescopic column 904 is closed, and the second punching head 9057 gradually leaves the inside of the metal sheet, and the push plate 9058 is behind the second punching head 9057 Keep away from the surface of the sheet metal to prevent splashing of debris.

若需要进行扩孔工作,开启电动转盘9052,使固定筒9053处于冲扩孔位置的正上方,此时第二固定筒9056处于金属薄板的外部。由于冲孔工作已经完成,可直接开启第三电动伸缩柱904,第三电动伸缩柱904带动底部的扩孔头9054以及冲孔头9055向下运动,冲孔头9055先进入已经冲孔结束的孔中,扩孔头9054后进入孔中,进行扩孔工作,在冲孔头9055的辅助下,先将处于孔中的碎料向下推动,防止影响扩孔工作的进行。If hole reaming is required, turn on the electric turntable 9052 to make the fixed cylinder 9053 directly above the punching and reaming position. At this time, the second fixed cylinder 9056 is outside the sheet metal. Since the punching work has been completed, the third electric telescopic column 904 can be opened directly, and the third electric telescopic column 904 drives the reaming head 9054 and the punching head 9055 at the bottom to move downward, and the punching head 9055 first enters the hole that has been punched. In the hole, the reaming head 9054 enters the hole to carry out the reaming work. With the assistance of the punching head 9055, the debris in the hole is pushed down earlier to prevent the impact of the reaming work.

工作结束后,产生的金属碎料被冲扩孔机构9向下推入承接机构6的内部,在上方冲扩孔工作结束后,产生的碎料以及润滑油向下运动,碎料通过中心板605向左右两侧的承接斜板607运动,在挤压承接斜板607后,承接斜板607向下挤压弹簧606,直到碎料向外运动至第二斜板601的上方,部分碎料开始下滑至横板602。反复开启电动伸缩杆603,电动伸缩杆603开始不断撞击顶部的横板602,使杂质和润滑油通过流通孔向下运动,进而通过排污口12进入存储槽10的内部。在围板的保护下,金属碎料留在横板602的上方。After the work is finished, the metal fragments produced are pushed down into the interior of the receiving mechanism 6 by the punching and reaming mechanism 9. After the upper punching and reaming work is completed, the generated fragments and lubricating oil move downward, and the fragments pass through the center plate 605 to The receiving inclined plates 607 on the left and right sides move. After squeezing the receiving inclined plates 607, the receiving inclined plates 607 press the spring 606 downward until the crushed materials move outward to the top of the second inclined plate 601, and some of the crushed materials start to slide down. to the horizontal plate 602. The electric telescopic rod 603 is opened repeatedly, and the electric telescopic rod 603 begins to continuously hit the top horizontal plate 602, so that impurities and lubricating oil move downward through the circulation hole, and then enter the inside of the storage tank 10 through the sewage outlet 12. Under the protection of the shroud, the metal fragments remain above the horizontal plate 602 .

显然,所描述的实施例仅仅是本发明的一部分实施例,而不是全部的实施例。基于本发明中的实施例,本领域及相关领域的普通技术人员在没有作出创造性劳动的前提下所获得的所有其他实施例,都应属于本发明保护的范围。本发明中未具体描述和解释说明的结构、装置以及操作方法,如无特别说明和限定,均按照本领域的常规手段进行实施。Apparently, the described embodiments are only some of the embodiments of the present invention, not all of them. Based on the embodiments of the present invention, all other embodiments obtained by those skilled in the art and related fields without creative efforts shall fall within the protection scope of the present invention. The structures, devices and operation methods not specifically described and explained in the present invention, unless otherwise specified and limited, shall be implemented according to conventional means in the art.

Claims (7)

1.一种金属薄板冲扩孔一体化装置,具体包括:1. An integrated device for punching and expanding holes in sheet metal, specifically comprising: 底座(1),其特征在于:该底座(1)具有平稳底板,以及设置在底座(1)底部的固定座(11),所述底座(1)的顶部固定连接有竖板(3),所述竖板(3)的上方固定连接有保护板(5),所述保护板(5)的外部固定连接有固定箱(4),所述底座(1)的上表面固定连接有靠板(2),所述靠板(2)的外部固定连接有顶板(8);The base (1) is characterized in that: the base (1) has a stable bottom plate, and a fixing seat (11) arranged at the bottom of the base (1), the top of the base (1) is fixedly connected with a riser (3), A protection board (5) is fixedly connected above the vertical board (3), a fixed box (4) is fixedly connected to the outside of the protection board (5), and a backing board is fixedly connected to the upper surface of the base (1) (2), the top plate (8) is fixedly connected to the outside of the backing plate (2); 定位机构(7),用于固定金属薄板并调节金属薄板所处的位置,所述定位机构(7)包括电动伸缩柱(701),所述电动伸缩柱(701)的外部固定连接有滑动板(702),所述滑动板(702)的外部固定连接有调节杆(703),所述调节杆(703)的外部固定连接有卡位角板(704),所述电动伸缩柱(701)固定连接在固定箱(4)的内部;The positioning mechanism (7) is used to fix the metal sheet and adjust the position of the metal sheet. The positioning mechanism (7) includes an electric telescopic column (701), and the exterior of the electric telescopic column (701) is fixedly connected with a sliding plate (702), the outside of the sliding plate (702) is fixedly connected with an adjustment rod (703), the outside of the adjustment rod (703) is fixedly connected with a locking angle plate (704), and the electric telescopic column (701) fixedly connected inside the fixed box (4); 所述滑动板(702)滑动连接在固定箱(4)的内部,所述卡位角板(704)的内部固定连接有橡胶条(709),所述卡位角板(704)的内部开设有流通槽,所述滑动板(702)的外部固定连接有第二电动伸缩柱(706),所述第二电动伸缩柱(706)的外部固定连接有斜板(707);The sliding plate (702) is slidably connected inside the fixed box (4), the inside of the clamping angle plate (704) is fixedly connected with a rubber strip (709), and the inside of the clamping angle plate (704) is opened There is a circulation groove, the outside of the sliding plate (702) is fixedly connected with a second electric telescopic column (706), and the outside of the second electric telescopic column (706) is fixedly connected with a swash plate (707); 所述斜板(707)的上方固定连接有弹性杆,所述弹性杆的顶部固定连接有吸盘(708),所述卡位角板(704)的外部固定连接有存储盒,所述存储盒的内部固定连接有弯管(705);An elastic rod is fixedly connected above the inclined plate (707), a suction cup (708) is fixedly connected to the top of the elastic rod, and a storage box is fixedly connected to the outside of the locking angle plate (704), and the storage box The internal fixed connection has an elbow (705); 冲扩孔机构(9),用于进行冲孔以及扩孔工作,且工作结束后可去除金属薄板内的杂质,所述冲扩孔机构(9)包括固定槽(901),所述固定槽(901)的内部固定连接有环形箱(902),所述环形箱(902)的内部固定连接有风机,所述固定槽(901)开设在顶板(8)的内部。The punching and reaming mechanism (9) is used for punching and reaming, and can remove impurities in the metal sheet after the work is completed. The punching and reaming mechanism (9) includes a fixed groove (901), and the fixed groove (901 ) is fixedly connected with an annular box (902), the inside of the annular box (902) is fixedly connected with a fan, and the fixing groove (901) is set inside the top plate (8). 2.根据权利要求1所述的一种金属薄板冲扩孔一体化装置,其特征在于:所述固定座(11)固定连接在底座(1)的底部,所述固定箱(4)固定连接在靠板(2)的外部,所述底座(1)的内部开设有存储槽(10),所述底座(1)的顶部固定连接有承接机构(6),所述底座(1)的上表面开设有排污口(12)。2. An integrated device for punching and reaming metal sheets according to claim 1, characterized in that: the fixed base (11) is fixedly connected to the bottom of the base (1), and the fixed box (4) is fixedly connected to On the outside of the leaning plate (2), a storage tank (10) is opened inside the base (1), the top of the base (1) is fixedly connected with a receiving mechanism (6), and the upper surface of the base (1) A sewage outlet (12) is provided. 3.根据权利要求1所述的一种金属薄板冲扩孔一体化装置,其特征在于:所述环形箱(902)的下方固定连接有送风管(903),所述固定槽(901)的内部固定连接有第三电动伸缩柱(904),所述第三电动伸缩柱(904)的外部套设有固定壳,所述第三电动伸缩柱(904)的底部固定连接有动力组件(905)。3. An integrated device for punching and reaming thin metal plates according to claim 1, characterized in that: an air supply pipe (903) is fixedly connected to the bottom of the annular box (902), and the fixed slot (901) The inside is fixedly connected with a third electric telescopic column (904), the outside of the third electric telescopic column (904) is covered with a fixed shell, and the bottom of the third electric telescopic column (904) is fixedly connected with a power assembly (905 ). 4.根据权利要求3所述的一种金属薄板冲扩孔一体化装置,其特征在于:所述动力组件(905)包括第二调节杆(9051),所述第二调节杆(9051)的底部固定连接有转向接头,所述转向接头的底部转动连接有电动转盘(9052),所述第二调节杆(9051)固定连接在第三电动伸缩柱(904)的底部。4. The integrated punching and reaming device for sheet metal according to claim 3, characterized in that: the power assembly (905) includes a second adjustment rod (9051), and the bottom of the second adjustment rod (9051) A steering joint is fixedly connected, an electric turntable (9052) is rotatably connected to the bottom of the steering joint, and the second adjusting rod (9051) is fixedly connected to the bottom of the third electric telescopic column (904). 5.根据权利要求4所述的一种金属薄板冲扩孔一体化装置,其特征在于:所述电动转盘(9052)的下方固定连接有固定筒(9053),所述固定筒(9053)的内部固定连接有扩孔头(9054),所述扩孔头(9054)的底部固定连接有冲孔头(9055)。5. An integrated device for punching and reaming thin metal sheets according to claim 4, characterized in that: a fixed cylinder (9053) is fixedly connected to the bottom of the electric turntable (9052), and the inside of the fixed cylinder (9053) A reaming head (9054) is fixedly connected, and a punching head (9055) is fixedly connected to the bottom of the reaming head (9054). 6.根据权利要求5所述的一种金属薄板冲扩孔一体化装置,其特征在于:所述电动转盘(9052)的底部固定连接有第二固定筒(9056),所述第二固定筒(9056)的内部固定连接有第二冲孔头(9057),所述第二固定筒(9056)的下方固定连接有电动推杆,所述电动推杆的底部固定连接有推盘(9058),所述推盘(9058)套设在第二冲孔头(9057)的外部。6. An integrated device for punching and reaming metal sheets according to claim 5, characterized in that: the bottom of the electric turntable (9052) is fixedly connected with a second fixed cylinder (9056), and the second fixed cylinder ( 9056) is fixedly connected with a second punching head (9057), the bottom of the second fixed cylinder (9056) is fixedly connected with an electric push rod, and the bottom of the electric push rod is fixedly connected with a push plate (9058), The push plate (9058) is sheathed on the outside of the second punching head (9057). 7.根据权利要求2所述的一种金属薄板冲扩孔一体化装置,其特征在于:所述承接机构(6)包括第二斜板(601),所述第二斜板(601)的外部固定连接有横板(602),所述第二斜板(601)和横板(602)的内部均开设有流通孔,所述横板(602)的上表面固定连接有围板,所述第二斜板(601)固定连接在靠板(2)的外部。7. An integrated device for punching and reaming metal sheets according to claim 2, characterized in that: the receiving mechanism (6) includes a second slant plate (601), and the outer part of the second slant plate (601) A horizontal plate (602) is fixedly connected, the inside of the second inclined plate (601) and the horizontal plate (602) are provided with flow holes, the upper surface of the horizontal plate (602) is fixedly connected with a coaming plate, the The second inclined plate (601) is fixedly connected to the outside of the leaning plate (2).
CN202310408141.6A 2023-04-17 2023-04-17 Metal sheet punching and hole expanding integrated device Active CN116099936B (en)

Priority Applications (1)

Application Number Priority Date Filing Date Title
CN202310408141.6A CN116099936B (en) 2023-04-17 2023-04-17 Metal sheet punching and hole expanding integrated device

Applications Claiming Priority (1)

Application Number Priority Date Filing Date Title
CN202310408141.6A CN116099936B (en) 2023-04-17 2023-04-17 Metal sheet punching and hole expanding integrated device

Publications (2)

Publication Number Publication Date
CN116099936A CN116099936A (en) 2023-05-12
CN116099936B true CN116099936B (en) 2023-06-16

Family

ID=86258368

Family Applications (1)

Application Number Title Priority Date Filing Date
CN202310408141.6A Active CN116099936B (en) 2023-04-17 2023-04-17 Metal sheet punching and hole expanding integrated device

Country Status (1)

Country Link
CN (1) CN116099936B (en)

Family Cites Families (10)

* Cited by examiner, † Cited by third party
Publication number Priority date Publication date Assignee Title
FR2683168B1 (en) * 1991-11-04 1994-03-04 Isoform DEVICE FOR STAMPING SHEET MATERIALS, PARTICULARLY SHEET SHEET.
CN100595389C (en) * 2007-09-25 2010-03-24 铁道第三勘察设计院集团有限公司 Special drill bit for geotechnical engineering in-situ rotary penetrating exploration
CN101314944B (en) * 2008-06-26 2010-06-16 上海市城市建设设计研究院 Reaming device for geological exploration
CN101670399A (en) * 2008-09-10 2010-03-17 邓阳 Full-automatic punching machine integrating punching and reaming
CN211757937U (en) * 2019-12-31 2020-10-27 广东省建筑工程监理有限公司 Punching device for reducing reaming amount of sludge layer
CN213530400U (en) * 2020-09-30 2021-06-25 西安昌辉模板有限公司 Aluminum template punching machine
CN115365393B (en) * 2021-12-24 2025-04-25 东莞市威士曼新能源科技有限公司 A push rod guided three-slide cup punching machine
CN115156587A (en) * 2022-07-27 2022-10-11 王成俊 Automatic drilling device
CN115532966A (en) * 2022-10-09 2022-12-30 苏州高擎三炬精密科技有限公司 Continuous stamping device for metal processing and stamping method thereof
CN115781057B (en) * 2023-01-12 2023-05-12 山东大正新材料科技股份有限公司 Automatic cutting device for pipe machining

Also Published As

Publication number Publication date
CN116099936A (en) 2023-05-12

Similar Documents

Publication Publication Date Title
CN115312898A (en) Waste lithium battery disassembling and recycling mechanism
CN115647924B (en) Steel structure frame milling device
CN116099936B (en) Metal sheet punching and hole expanding integrated device
CN110270702B (en) Automatic dotting device for air conditioner copper pipe fitting machining
CN118926586B (en) Air-blowing workpiece waste chip cleaning device
CN113346684A (en) Multi-bubble adsorption type impurity-removing motor maintenance workbench based on Pascal law
CN114713574B (en) Environment-friendly deslagging equipment for titanium alloy production based on clean production concept
CN115673378B (en) Side plate drilling equipment of plate heat exchanger
CN218168883U (en) Processing equipment of non-ferrous metal
CN116408473A (en) Battery aluminum shell perforating device
CN210251397U (en) Medium-sized oil-water treatment system for illegal cooking oil
CN213561388U (en) Drilling machine
CN115069631A (en) Suction module knife device
CN221833893U (en) A recovery device for processing numerical control mechanical equipment
CN223277032U (en) Machine tool punching equipment for easy discharge
CN217796075U (en) Calcium hydrate production retort convenient to it is clean
CN220238704U (en) Building rubbish recovery processing device
CN220740656U (en) Aluminum profile surface polishing equipment
CN221714442U (en) A garbage slag vibration recovery mechanism
CN212396116U (en) Processing liquid filtering device of electric spark processing machine
CN119319106B (en) A fully automatic cleaning device for a workpiece cavity
CN215357511U (en) An anti-splash recovery device for lathe waste
CN222245427U (en) A hole expander for construction engineering
CN219130490U (en) Punching device of combined punching and shearing machine
CN220245624U (en) Sewage treatment and reuse device

Legal Events

Date Code Title Description
PB01 Publication
PB01 Publication
SE01 Entry into force of request for substantive examination
SE01 Entry into force of request for substantive examination
GR01 Patent grant
GR01 Patent grant
PE01 Entry into force of the registration of the contract for pledge of patent right

Denomination of invention: An integrated device for punching and expanding holes in metal thin plates

Granted publication date: 20230616

Pledgee: Bank of China Limited by Share Ltd. Cangzhou branch

Pledgor: CANGZHOU NORTH RADIATOR Co.,Ltd.

Registration number: Y2025980010596

PE01 Entry into force of the registration of the contract for pledge of patent right