CN116084733A - 一种建设工程加固结构及施工方法 - Google Patents
一种建设工程加固结构及施工方法 Download PDFInfo
- Publication number
- CN116084733A CN116084733A CN202310166473.8A CN202310166473A CN116084733A CN 116084733 A CN116084733 A CN 116084733A CN 202310166473 A CN202310166473 A CN 202310166473A CN 116084733 A CN116084733 A CN 116084733A
- Authority
- CN
- China
- Prior art keywords
- plate
- fixedly connected
- sliding
- lifting
- threaded
- Prior art date
- Legal status (The legal status is an assumption and is not a legal conclusion. Google has not performed a legal analysis and makes no representation as to the accuracy of the status listed.)
- Withdrawn
Links
- 238000010276 construction Methods 0.000 title claims abstract description 36
- 230000003014 reinforcing effect Effects 0.000 title claims abstract description 17
- 230000008093 supporting effect Effects 0.000 claims abstract description 52
- 230000007246 mechanism Effects 0.000 claims abstract description 32
- 238000001125 extrusion Methods 0.000 claims description 43
- 238000009434 installation Methods 0.000 claims description 4
- 238000000034 method Methods 0.000 claims description 4
- 230000006978 adaptation Effects 0.000 claims description 2
- 238000005728 strengthening Methods 0.000 claims 3
- 230000006872 improvement Effects 0.000 description 2
- 230000006835 compression Effects 0.000 description 1
- 238000007906 compression Methods 0.000 description 1
- 230000003028 elevating effect Effects 0.000 description 1
- 238000005516 engineering process Methods 0.000 description 1
- 238000012986 modification Methods 0.000 description 1
- 230000004048 modification Effects 0.000 description 1
- 230000008569 process Effects 0.000 description 1
- 230000001105 regulatory effect Effects 0.000 description 1
Images
Classifications
-
- E—FIXED CONSTRUCTIONS
- E04—BUILDING
- E04G—SCAFFOLDING; FORMS; SHUTTERING; BUILDING IMPLEMENTS OR AIDS, OR THEIR USE; HANDLING BUILDING MATERIALS ON THE SITE; REPAIRING, BREAKING-UP OR OTHER WORK ON EXISTING BUILDINGS
- E04G23/00—Working measures on existing buildings
- E04G23/02—Repairing, e.g. filling cracks; Restoring; Altering; Enlarging
- E04G23/0218—Increasing or restoring the load-bearing capacity of building construction elements
-
- E—FIXED CONSTRUCTIONS
- E04—BUILDING
- E04G—SCAFFOLDING; FORMS; SHUTTERING; BUILDING IMPLEMENTS OR AIDS, OR THEIR USE; HANDLING BUILDING MATERIALS ON THE SITE; REPAIRING, BREAKING-UP OR OTHER WORK ON EXISTING BUILDINGS
- E04G21/00—Preparing, conveying, or working-up building materials or building elements in situ; Other devices or measures for constructional work
-
- E—FIXED CONSTRUCTIONS
- E04—BUILDING
- E04G—SCAFFOLDING; FORMS; SHUTTERING; BUILDING IMPLEMENTS OR AIDS, OR THEIR USE; HANDLING BUILDING MATERIALS ON THE SITE; REPAIRING, BREAKING-UP OR OTHER WORK ON EXISTING BUILDINGS
- E04G25/00—Shores or struts; Chocks
-
- E—FIXED CONSTRUCTIONS
- E04—BUILDING
- E04G—SCAFFOLDING; FORMS; SHUTTERING; BUILDING IMPLEMENTS OR AIDS, OR THEIR USE; HANDLING BUILDING MATERIALS ON THE SITE; REPAIRING, BREAKING-UP OR OTHER WORK ON EXISTING BUILDINGS
- E04G25/00—Shores or struts; Chocks
- E04G25/04—Shores or struts; Chocks telescopic
- E04G25/06—Shores or struts; Chocks telescopic with parts held together by positive means
-
- Y—GENERAL TAGGING OF NEW TECHNOLOGICAL DEVELOPMENTS; GENERAL TAGGING OF CROSS-SECTIONAL TECHNOLOGIES SPANNING OVER SEVERAL SECTIONS OF THE IPC; TECHNICAL SUBJECTS COVERED BY FORMER USPC CROSS-REFERENCE ART COLLECTIONS [XRACs] AND DIGESTS
- Y02—TECHNOLOGIES OR APPLICATIONS FOR MITIGATION OR ADAPTATION AGAINST CLIMATE CHANGE
- Y02E—REDUCTION OF GREENHOUSE GAS [GHG] EMISSIONS, RELATED TO ENERGY GENERATION, TRANSMISSION OR DISTRIBUTION
- Y02E10/00—Energy generation through renewable energy sources
- Y02E10/50—Photovoltaic [PV] energy
Landscapes
- Engineering & Computer Science (AREA)
- Architecture (AREA)
- Mechanical Engineering (AREA)
- Civil Engineering (AREA)
- Structural Engineering (AREA)
- Chemical & Material Sciences (AREA)
- Chemical Kinetics & Catalysis (AREA)
- Electrochemistry (AREA)
- Conveying And Assembling Of Building Elements In Situ (AREA)
Abstract
本发明涉及加固结构技术领域,具体是一种建设工程加固结构及施工方法,包括底板,所述底板的顶部设有升降板,所述升降板的顶部固定连接有U形座,所述U形座的两侧内壁均开设有转动孔;本发明能够通过自动调节机构的设置,启动伺服电机能够带动支撑杆进行转动,伺服电机通过螺纹轴带动连接板和两个滑动齿条进行移动,两个滑动齿条移动带动两个转动齿轮、固定轴和支撑杆转动,能够对支撑杆进行倾斜度调节,通过手动调节机构的设置,接着转动摇把带动蜗杆转动,蜗杆转动带动蜗轮和转动轴和顶板转动,能够对顶板进行角度调节,实现了通过对支撑杆和顶板进行调节,能够对建筑物的顶面、斜面和垂直面进行支撑,提高了装置的实用性。
Description
技术领域
本发明涉及加固结构技术领域,具体是一种建设工程加固结构及施工方法。
背景技术
随着经济的快速发展,全国乃至全世界的建筑行业得到了快速发展,每年都要修建大量的高层建筑,如大坝、桥梁、高楼等建筑物的修建,工程建筑中经常需要支撑机构辅助施工。
经检索公开号为CN114250985A的发明专利,公开了及一种建筑工程的加固支撑结构,包括底板,所述底板的顶部中心位置处设有电机,且电机的输出端设有螺纹杆,所述螺纹杆的外圈套设有螺母套,所述螺母套顶部设有连接块,所述连接块的顶部设有外框;所述外框的内腔四个拐角处均平行设有第一缓冲部,所述第一缓冲部包含有第一横板,所述第一横板的顶部开设有第一滑槽。
基于以上检索结合现有技术发现:
该专利的建设工程加固结构能够对建筑的斜面进行支撑,但是仅仅通过对顶板进行角度调节的方式对建筑物的斜面进行支撑,而装置的支撑柱处于竖直状态,会导致装置的重心不够稳定,降低了对斜面的支撑效果,并且该专利无法对建筑物的垂直面进行支撑,实用性差。
发明内容
本发明的目的在于提供一种建设工程加固结构及施工方法,以解决上述背景技术中提出的问题。
本发明的技术方案是:一种建设工程加固结构,包括底板,所述底板的顶部设有升降板,所述升降板的顶部固定连接有U形座,所述U形座的两侧内壁均开设有转动孔,两个所述转动孔内共同转动连接有固定轴,还包括;
支撑杆,所述支撑杆固定套接于固定轴上,所述支撑杆的顶部两侧内壁均开设有活动孔,两个所述活动内共同转动连接有转动轴,所述转动轴上固定套接有顶板;
自动调节机构,所述自动调节机构位于所述升降板上;所述自动调节机构用于调节所述支撑杆的倾斜度;
手动调节机构,所述手动调节机构位于所述支撑杆上,所述手动调节用于调节所述顶板的角度;
升降支撑机构,所述升降支撑机构位于所述底板上,所述升降支撑机构用于所述升降板进行升降;
所述自动调节机构包括两个固定连接于所述升降板顶部的固定轨道,两个所述固定轨道上均滑动连接有滑动齿条,所述固定轴的两端均键连接有转动齿轮,两个所述转动齿轮分别与两个所述滑动齿条相啮合,两个所述滑动齿条的一端共同固定连接有连接板,所述升降板的顶部固定连接有伺服电机,所述伺服电机的输出端固定连接有螺纹轴,所述连接板螺接于所述螺纹轴上。
优选的,所述手动调节机构包括两个固定连接于所述支撑杆一侧的固定块,两个所述固定块的顶部均开设有调节孔,两个所述调节孔内共同转动连接有蜗杆,所述转动轴的一端键连接有蜗轮,所述蜗轮与所述蜗杆相啮合。
优选的,所述升降支撑机构包括升降单元、滑动单元和挤压单元,所述升降单元包括固定连接于所述底板顶部的伸缩液压缸,所述伸缩液压缸的输出端固定连接于所述升降板的底部,所述升降板的底部固定连接有两个拉杆,两个所述拉杆的底端共同固定连接有滑动环,所述滑动环滑动套接于所述伸缩液压缸上,所述滑动环上固定连接有两个L形齿条。
优选的,所述滑动单元包括两个开设于所述底板顶部的条形孔,两个所述条形孔的两侧内壁均转动连接有螺纹杆,两个所述螺纹杆上均键连接有从动齿轮,两个所述L形齿条的底端分别贯穿两个所述条形孔并与两个所述从动齿轮相啮合,两个所述螺纹杆上均螺接有螺纹块,两个所述螺纹块的两侧均固定连接有滑块,两个所述条形孔的两侧内壁均固定连接有滑轨,四个所述滑块分别滑动连接于四个所述滑轨上,两个所述滑块的底部均开设有安装槽,两个所述安装槽的两侧内壁共同固定连接有固定柱,所述固定柱上滑动套接有挤压块。
优选的,所述挤压单元包括四个固定连接于所述底板底部的安装块,四个所述安装块的一侧均开设有旋转孔,每两个所述旋转孔内转动连接有转动杆,两个所述转动杆上均固定套接有支撑脚,两个所述转动杆上固定套接有连接块,两个所述连接块分别套接于两个所述挤压块上。
优选的,两个所述固定柱上均套接挤压弹簧,所述挤压弹簧的两端分别与所述挤压块以及所述螺纹块固定连接。
优选的,所述底板的顶部固定连接有四个固定杆,四个所述固定杆的顶部均开设有凹槽,四个所述凹槽内均滑动连接有活动杆,四个所述活动杆的顶端均固定连接于所述升降板的底部。
优选的,四个所述固定杆分别位于所述底板和所述升降板的四角位置。
优选的,所述升降板的顶部固定连接有放置板,所述放置板与支撑杆相适配。
本发明还公开了一种建设工程加固结构的施工方法,包括以下步骤:
步骤一:启动伺服电机带动螺纹轴转动,螺纹轴转动带动连接板进行移动,连接板移动带动两个滑动齿条进行移动,两个滑动齿条移动带动两个转动齿轮进行转动,两个转动齿轮转动带动固定轴、支撑杆和顶板进行转动;
步骤二:转动摇把带动蜗杆转动,蜗杆转动带动蜗轮和转动轴和顶板转动;
步骤三:伸缩液压缸带动升降板向上移动,升降板移动带动U形座、固定轴、支撑杆向上移动,支撑杆移动带动转动轴和顶板向上移动;
步骤四:升降板移动带动拉杆、滑动环和L形齿条向上移动,L形齿条移动带动从动齿轮和螺纹杆转动,螺纹杆转动带动滑块向外移动,滑块移动带动固定柱和挤压块移动,挤压块移动带动连接块、转动杆和支撑脚进行转动。
本发明通过改进在此提供一种建设工程加固结构及施工方法,与现有技术相比,具有如下改进及优点:
其一:本发明通过自动调节机构的设置,启动伺服电机能够带动支撑杆进行转动,伺服电机通过螺纹轴带动连接板和两个滑动齿条进行移动,两个滑动齿条移动带动两个转动齿轮、固定轴和支撑杆转动,能够对支撑杆进行倾斜度调节,通过手动调节机构的设置,接着转动摇把带动蜗杆转动,蜗杆转动带动蜗轮和转动轴和顶板转动,能够对顶板进行角度调节,实现了通过对支撑杆和顶板进行调节,能够对建筑物的顶面、斜面和垂直面进行支撑,提高了装置的实用性;
其二:本发明通过升降单元的设置,伸缩液压缸带动升降板向上移动,升降板移动带动支撑杆和顶板向上移动与建筑物接触,升降板移动带动拉杆、滑动环和L形齿条向上移动,L形齿条移动带动从动齿轮和螺纹杆进行转动,螺纹杆转动带动滑块向外移动,滑块移动带动固定柱和挤压块移动,挤压块移动带动连接块、转动杆和支撑脚进行转动与地面接触时,实现了展开的支撑脚能够对装置进行支撑,进而提高了装置的稳定性。
附图说明
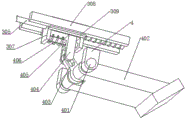
下面结合附图和实施例对本发明作进一步解释:
图1是本发明的整体立体结构示意图;
图2是本发明的另一视角整体整体结构示意图;
图3是本发明的自动调节机构立体结构示意图;
图4是本发明的手动调节机构立体结构示意图;
图5是本发明的升降支撑机构立体结构示意图;
图6是本发明的滑动单元立体结构示意图;
图7是本发明的挤压单元立体结构示意图。
附图标记说明:
1、底板;101、升降板;102、U形座;103、固定轴;104、支撑杆;105、伺服电机;106、螺纹轴;107、连接板;108、滑动齿条;109、固定轨道;110、转动齿轮;111、固定杆;112、活动杆;113、放置板;2、固定块;201、蜗杆;202、蜗轮;203、转动轴;204、顶板;3、伸缩液压缸;301、拉杆;302、滑动环;303、L形齿条;304、条形孔;305、螺纹杆;306、从动齿轮;307、螺纹块;308、滑块;309、滑轨;4、安装块;401、转动杆;402、支撑脚;403、连接块;404、挤压块;405、固定柱;406、挤压弹簧。
实施方式
下面对本发明进行详细说明,对本发明实施例中的技术方案进行清楚、完整地描述,显然,所描述的实施例仅仅是本发明一部分实施例,而不是全部的实施例。基于本发明中的实施例,本领域普通技术人员在没有做出创造性劳动前提下所获得的所有其他实施例,都属于本发明保护的范围。
具体实施例
本发明通过改进在此提供一种建设工程加固结构及施工方法,本发明的技术方案是:
如图1-图7所示,一种建设工程加固结构,包括底板1,底板1的顶部设有升降板101,升降板101的顶部固定连接有U形座102,U形座102的两侧内壁均开设有转动孔,两个转动孔内共同转动连接有固定轴103,还包括;
支撑杆104,支撑杆104固定套接于固定轴103上,支撑杆104的顶部两侧内壁均开设有活动孔,两个活动内共同转动连接有转动轴203,转动轴203上固定套接有顶板204;
自动调节机构,自动调节机构位于升降板101上;自动调节机构用于调节支撑杆104的倾斜度;
手动调节机构,手动调节机构位于支撑杆104上,手动调节用于调节顶板204的角度;
升降支撑机构,升降支撑机构位于底板1上,升降支撑机构用于升降板101进行升降;
自动调节机构包括两个固定连接于升降板101顶部的固定轨道109,两个固定轨道109上均滑动连接有滑动齿条108,固定轴103的两端均键连接有转动齿轮110,两个转动齿轮110分别与两个滑动齿条108相啮合,两个滑动齿条108的一端共同固定连接有连接板107,升降板101的顶部固定连接有伺服电机105,伺服电机105的输出端固定连接有螺纹轴106,连接板107螺接于螺纹轴106上;通过自动调节机构的设置,启动伺服电机105能够带动支撑杆104进行转动,实现了对支撑杆104进行倾斜度调节,配合手动调节机构对顶板204进行角度调节,进而能够对建筑物的顶面,斜面和垂直面进行支撑。
进一步的,手动调节机构包括两个固定连接于支撑杆104一侧的固定块2,两个固定块2的顶部均开设有调节孔,两个调节孔内共同转动连接有蜗杆201,转动轴203的一端键连接有蜗轮202,蜗轮202与蜗杆201相啮合;通过手动调节机构的设置,蜗杆201的底端安装有摇把,转动摇把带动蜗杆201转动,蜗杆201转动通过蜗轮202和转动轴203带动顶板204进行转动,实现了对顶板204进行角度调节。
进一步的,升降支撑机构包括升降单元、滑动单元和挤压单元,升降单元包括固定连接于底板1顶部的伸缩液压缸3,伸缩液压缸3的输出端固定连接于升降板101的底部,升降板101的底部固定连接有两个拉杆301,两个拉杆301的底端共同固定连接有滑动环302,滑动环302滑动套接于伸缩液压缸3上,滑动环302上固定连接有两个L形齿条303;通过升降单元的设置,伸缩液压缸3带动升降板101向上移动,升降板101移动带动U形座102、支撑杆104和顶板204向上移动,实现了能够对施工现场的建筑物进行支撑。
进一步的,滑动单元包括两个开设于底板1顶部的条形孔304,两个条形孔304的两侧内壁均转动连接有螺纹杆305,两个螺纹杆305上均键连接有从动齿轮306,两个L形齿条303的底端分别贯穿两个条形孔304并与两个从动齿轮306相啮合,两个螺纹杆305上均螺接有螺纹块307,两个螺纹块307的两侧均固定连接有滑块308,两个条形孔304的两侧内壁均固定连接有滑轨309,四个滑块308分别滑动连接于四个滑轨309上,两个滑块308的底部均开设有安装槽,两个安装槽的两侧内壁共同固定连接有固定柱405,固定柱405上滑动套接有挤压块404,挤压单元包括四个固定连接于底板1底部的安装块4,四个安装块4的一侧均开设有旋转孔,每两个旋转孔内转动连接有转动杆401,两个转动杆401上均固定套接有支撑脚402,两个转动杆401上固定套接有连接块403,两个连接块403分别套接于两个挤压块404上;通过滑动单元的设置,与挤压单元相互配合,升降板101上升通过拉杆301带动滑动环302和L形齿条303移动,L形齿条303移动通过从动齿轮306带动螺纹杆305转动,螺纹杆305转动带动螺纹块307和挤压块404移动,挤压块404移动通过连接块403带动转动杆401和支撑脚402转动,实现了展开的支撑脚402能够对装置进行支撑,进而提高了装置的稳定性。
进一步的,两个固定柱405上均套接挤压弹簧406,挤压弹簧406的两端分别与挤压块404以及螺纹块307固定连接;通过挤压弹簧406的设置,当支撑脚402与地面接触时,螺纹杆305会持续转动带动螺纹块307移动,螺纹块307移动带动挤压弹簧406压缩,实现了压缩的挤压弹簧406能够对挤压块404产生挤压力,提高了支撑脚402的支撑效果。
进一步的,底板1的顶部固定连接有四个固定杆111,四个固定杆111的顶部均开设有凹槽,四个凹槽内均滑动连接有活动杆112,四个活动杆112的顶端均固定连接于升降板101的底部,四个固定杆111分别位于底板1和升降板101的四角位置;通过固定杆111的设置,固定杆111与活动杆112能够组合成伸缩杆,并将伸缩杆安装在底板1和升降板101的四角位置,扩大了对升降板101的支撑面积,提高了升降板101的稳定性。
进一步的,升降板101的顶部固定连接有放置板113,放置板113与支撑杆104相适配;通过放置板113的设置,实现了对放倒的支撑杆104进行支撑。
实施例
本实施例公开了一种建设工程加固结构的施工方法,包括以下步骤:
步骤一:启动伺服电机105带动螺纹轴106转动,螺纹轴106转动带动连接板107进行移动,连接板107移动带动两个滑动齿条108进行移动,两个滑动齿条108移动带动两个转动齿轮110进行转动,两个转动齿轮110转动带动固定轴103、支撑杆104和顶板204进行转动;
步骤二:转动摇把带动蜗杆201转动,蜗杆201转动带动蜗轮202和转动轴203和顶板204转动;
步骤三:伸缩液压缸3带动升降板101向上移动,升降板101移动带动U形座102、固定轴103、支撑杆104向上移动,支撑杆104移动带动转动轴203和顶板204向上移动;
步骤四:升降板101移动带动拉杆301、滑动环302和L形齿条303向上移动,L形齿条303移动带动从动齿轮306和螺纹杆305转动,螺纹杆305转动带动滑块308向外移动,滑块308移动带动固定柱405和挤压块404移动,挤压块404移动带动连接块403、转动杆401和支撑脚402进行转动。
工作原理:将装置推至施工现场,需要对顶面进行支撑时,伸缩液压缸3带动升降板101向上移动,升降板101移动带动U形座102、固定轴103、支撑杆104向上移动,支撑杆104移动带动转动轴203和顶板204向上移动与顶面接触即可,需要对斜面进行支撑时,启动伺服电机105带动螺纹轴106转动,螺纹轴106转动带动连接板107进行移动,连接板107移动带动两个滑动齿条108进行移动,两个滑动齿条108移动带动两个转动齿轮110进行转动,两个转动齿轮110转动带动固定轴103、支撑杆104和顶板204进行转动,使得支撑杆104呈倾斜状态,接着转动摇把带动蜗杆201转动,蜗杆201转动带动蜗轮202和转动轴203和顶板204转动,直至将顶板204转动至与斜面呈平行状态,启动伸缩液压缸3带动升降板101和顶板204与斜面接触即可,通过对调节支撑杆104的倾斜度和顶板204的角度,也能够对垂直面进行支撑,实现了通过对支撑杆104和顶板204进行调节,能够对建筑物的顶面、斜面和垂直面进行支撑,提高了装置的实用性。
伸缩液压缸3带动升降板101向上移动的过程中,升降板101移动带动拉杆301、滑动环302和L形齿条303向上移动,L形齿条303移动带动从动齿轮306和螺纹杆305进行转动,螺纹杆305转动带动滑块308向外移动,滑块308移动带动固定柱405和挤压块404移动,挤压块404移动带动连接块403、转动杆401和支撑脚402进行转动,当支撑脚402与地面接触时,螺纹杆305会持续转动,并带动滑块308和固定柱405进行移动,滑块308移动带动挤压弹簧406压缩并发生弹性形变,使得挤压弹簧406对挤压块404产生挤压力,随后L形齿条303会脱离从动齿轮306,实现了展开的支撑脚402能够对装置进行支撑,进而提高了装置的稳定性。
上述说明,使本领域专业技术人员能够实现或使用本发明。对这些实施例的多种修改对本领域的专业技术人员来说将是显而易见的,本文中所定义的一般原理可以在不脱离本发明的精神或范围的情况下,在其它实施例中实现。因此,本发明将不会被限制于本文所示的这些实施例,而是要符合与本文所公开的原理和新颖特点相一致的最宽的范围。
Claims (10)
1.一种建设工程加固结构,包括底板(1),其特征在于:所述底板(1)的顶部设有升降板(101),所述升降板(101)的顶部固定连接有U形座(102),所述U形座(102)的两侧内壁均开设有转动孔,两个所述转动孔内共同转动连接有固定轴(103),还包括;
支撑杆(104),所述支撑杆(104)固定套接于固定轴(103)上,所述支撑杆(104)的顶部两侧内壁均开设有活动孔,两个所述活动内共同转动连接有转动轴(203),所述转动轴(203)上固定套接有顶板(204);
自动调节机构,所述自动调节机构位于所述升降板(101)上;所述自动调节机构用于调节所述支撑杆(104)的倾斜度;
手动调节机构,所述手动调节机构位于所述支撑杆(104)上,所述手动调节用于调节所述顶板(204)的角度;
升降支撑机构,所述升降支撑机构位于所述底板(1)上,所述升降支撑机构用于所述升降板(101)进行升降;
所述自动调节机构包括两个固定连接于所述升降板(101)顶部的固定轨道(109),两个所述固定轨道(109)上均滑动连接有滑动齿条(108),所述固定轴(103)的两端均键连接有转动齿轮(110),两个所述转动齿轮(110)分别与两个所述滑动齿条(108)相啮合,两个所述滑动齿条(108)的一端共同固定连接有连接板(107),所述升降板(101)的顶部固定连接有伺服电机(105),所述伺服电机(105)的输出端固定连接有螺纹轴(106),所述连接板(107)螺接于所述螺纹轴(106)上。
2.根据权利要求1所述的一种建设工程加固结构,其特征在于:所述手动调节机构包括两个固定连接于所述支撑杆(104)一侧的固定块(2),两个所述固定块(2)的顶部均开设有调节孔,两个所述调节孔内共同转动连接有蜗杆(201),所述转动轴(203)的一端键连接有蜗轮(202),所述蜗轮(202)与所述蜗杆(201)相啮合。
3.根据权利要求2所述的一种建设工程加固结构,其特征在于:所述升降支撑机构包括升降单元、滑动单元和挤压单元,所述升降单元包括固定连接于所述底板(1)顶部的伸缩液压缸(3),所述伸缩液压缸(3)的输出端固定连接于所述升降板(101)的底部,所述升降板(101)的底部固定连接有两个拉杆(301),两个所述拉杆(301)的底端共同固定连接有滑动环(302),所述滑动环(302)滑动套接于所述伸缩液压缸(3)上,所述滑动环(302)上固定连接有两个L形齿条(303)。
4.根据权利要求3所述的一种建设工程加固结构,其特征在于:所述滑动单元包括两个开设于所述底板(1)顶部的条形孔(304),两个所述条形孔(304)的两侧内壁均转动连接有螺纹杆(305),两个所述螺纹杆(305)上均键连接有从动齿轮(306),两个所述L形齿条(303)的底端分别贯穿两个所述条形孔(304)并与两个所述从动齿轮(306)相啮合,两个所述螺纹杆(305)上均螺接有螺纹块(307),两个所述螺纹块(307)的两侧均固定连接有滑块(308),两个所述条形孔(304)的两侧内壁均固定连接有滑轨(309),四个所述滑块(308)分别滑动连接于四个所述滑轨(309)上,两个所述滑块(308)的底部均开设有安装槽,两个所述安装槽的两侧内壁共同固定连接有固定柱(405),所述固定柱(405)上滑动套接有挤压块(404)。
5.根据权利要求4所述的一种建设工程加固结构,其特征在于:所述挤压单元包括四个固定连接于所述底板(1)底部的安装块(4),四个所述安装块(4)的一侧均开设有旋转孔,每两个所述旋转孔内转动连接有转动杆(401),两个所述转动杆(401)上均固定套接有支撑脚(402),两个所述转动杆(401)上固定套接有连接块(403),两个所述连接块(403)分别套接于两个所述挤压块(404)上。
6.根据权利要求5所述的一种建设工程加固结构,其特征在于:两个所述固定柱(405)上均套接挤压弹簧(406),所述挤压弹簧(406)的两端分别与所述挤压块(404)以及所述螺纹块(307)固定连接。
7.根据权利要求5所述的一种建设工程加固结构,其特征在于:所述底板(1)的顶部固定连接有四个固定杆(111),四个所述固定杆(111)的顶部均开设有凹槽,四个所述凹槽内均滑动连接有活动杆(112),四个所述活动杆(112)的顶端均固定连接于所述升降板(101)的底部。
8.根据权利要求7所述的一种建设工程加固结构,其特征在于:四个所述固定杆(111)分别位于所述底板(1)和所述升降板(101)的四角位置。
9.根据权利要求7所述的一种建设工程加固结构,其特征在于:所述升降板(101)的顶部固定连接有放置板(113),所述放置板(113)与支撑杆(104)相适配。
10.根据权利要求1-9任意一项所述的一种建设工程加固结构的施工方法,其特征在于:包括以下步骤:
步骤一:启动伺服电机(105)带动螺纹轴(106)转动,螺纹轴(106)转动带动连接板(107)进行移动,连接板(107)移动带动两个滑动齿条(108)进行移动,两个滑动齿条(108)移动带动两个转动齿轮(110)进行转动,两个转动齿轮(110)转动带动固定轴(103)、支撑杆(104)和顶板(204)进行转动;
步骤二:转动摇把带动蜗杆(201)转动,蜗杆(201)转动带动蜗轮(202)和转动轴(203)和顶板(204)转动;
步骤三:伸缩液压缸(3)带动升降板(101)向上移动,升降板(101)移动带动U形座(102)、固定轴(103)、支撑杆(104)向上移动,支撑杆(104)移动带动转动轴(203)和顶板(204)向上移动;
步骤四:升降板(101)移动带动拉杆(301)、滑动环(302)和L形齿条(303)向上移动,L形齿条(303)移动带动从动齿轮(306)和螺纹杆(305)转动,螺纹杆(305)转动带动滑块(308)向外移动,滑块(308)移动带动固定柱(405)和挤压块(404)移动,挤压块(404)移动带动连接块(403)、转动杆(401)和支撑脚(402)进行转动。
Priority Applications (1)
| Application Number | Priority Date | Filing Date | Title |
|---|---|---|---|
| CN202310166473.8A CN116084733A (zh) | 2023-02-27 | 2023-02-27 | 一种建设工程加固结构及施工方法 |
Applications Claiming Priority (1)
| Application Number | Priority Date | Filing Date | Title |
|---|---|---|---|
| CN202310166473.8A CN116084733A (zh) | 2023-02-27 | 2023-02-27 | 一种建设工程加固结构及施工方法 |
Publications (1)
| Publication Number | Publication Date |
|---|---|
| CN116084733A true CN116084733A (zh) | 2023-05-09 |
Family
ID=86214105
Family Applications (1)
| Application Number | Title | Priority Date | Filing Date |
|---|---|---|---|
| CN202310166473.8A Withdrawn CN116084733A (zh) | 2023-02-27 | 2023-02-27 | 一种建设工程加固结构及施工方法 |
Country Status (1)
| Country | Link |
|---|---|
| CN (1) | CN116084733A (zh) |
Cited By (1)
| Publication number | Priority date | Publication date | Assignee | Title |
|---|---|---|---|---|
| CN117526165A (zh) * | 2023-11-21 | 2024-02-06 | 国网黑龙江省送变电工程有限公司 | 一种输电线路跨越施工装置及其施工工艺 |
-
2023
- 2023-02-27 CN CN202310166473.8A patent/CN116084733A/zh not_active Withdrawn
Cited By (1)
| Publication number | Priority date | Publication date | Assignee | Title |
|---|---|---|---|---|
| CN117526165A (zh) * | 2023-11-21 | 2024-02-06 | 国网黑龙江省送变电工程有限公司 | 一种输电线路跨越施工装置及其施工工艺 |
Similar Documents
| Publication | Publication Date | Title |
|---|---|---|
| CN116084733A (zh) | 一种建设工程加固结构及施工方法 | |
| CN116938086B (zh) | 一种光伏发电用角度可调的光伏支架 | |
| CN212836602U (zh) | 便于移动的建筑施工平台 | |
| CN216689434U (zh) | 变电站建设施工用基坑内支撑装置 | |
| CN200946377Y (zh) | 联动式阶梯升降台 | |
| CN218175601U (zh) | 用于架桥机前辅助支腿过孔的旋转机构 | |
| CN219114372U (zh) | 一种混凝土预制构件内部钢筋辅助定型装置 | |
| CN218836646U (zh) | 一种建筑机电设备的辅助安装设备 | |
| CN215479557U (zh) | 一种建筑工程升降平台 | |
| CN214771878U (zh) | 一种汽轮机水泵检修平台 | |
| CN213952905U (zh) | 一种建筑工程施工用可提升支架 | |
| CN223548936U (zh) | 一种土木工程用建筑模板连接架 | |
| CN220522757U (zh) | 一种空气压缩机余热回收装置 | |
| CN222118819U (zh) | 一种高度可调式的建筑用升降架 | |
| CN212072455U (zh) | 一种桥梁预制板施工用钻孔装置 | |
| CN223374788U (zh) | 一种液压油缸支撑机构 | |
| CN113370350B (zh) | 一种制砖机 | |
| CN119491608A (zh) | 一种古建筑修缮用紧固装置 | |
| CN222541316U (zh) | 一种桥梁底部的支撑加固结构 | |
| CN218206553U (zh) | 一种便于调节高度的维修梯 | |
| CN111411569B (zh) | 一种桥梁修建方法与桥梁修建设备 | |
| CN221461923U (zh) | 一种建筑工程模板支撑装置 | |
| CN221364620U (zh) | 一种保温管连接机构 | |
| CN220254056U (zh) | 一种电力施工用线缆支撑装置 | |
| CN222529122U (zh) | 一种预制楼梯性能检验设备 |
Legal Events
| Date | Code | Title | Description |
|---|---|---|---|
| PB01 | Publication | ||
| PB01 | Publication | ||
| SE01 | Entry into force of request for substantive examination | ||
| SE01 | Entry into force of request for substantive examination | ||
| WW01 | Invention patent application withdrawn after publication | ||
| WW01 | Invention patent application withdrawn after publication |
Application publication date: 20230509 |