CN115995315A - Bundle strander for copper conductor processing - Google Patents
Bundle strander for copper conductor processing Download PDFInfo
- Publication number
- CN115995315A CN115995315A CN202310253403.6A CN202310253403A CN115995315A CN 115995315 A CN115995315 A CN 115995315A CN 202310253403 A CN202310253403 A CN 202310253403A CN 115995315 A CN115995315 A CN 115995315A
- Authority
- CN
- China
- Prior art keywords
- fixedly connected
- plate
- transmission gear
- copper conductor
- stranding machine
- Prior art date
- Legal status (The legal status is an assumption and is not a legal conclusion. Google has not performed a legal analysis and makes no representation as to the accuracy of the status listed.)
- Pending
Links
- RYGMFSIKBFXOCR-UHFFFAOYSA-N Copper Chemical compound [Cu] RYGMFSIKBFXOCR-UHFFFAOYSA-N 0.000 title claims abstract description 19
- 239000004020 conductor Substances 0.000 title claims abstract description 17
- 229910052802 copper Inorganic materials 0.000 title claims abstract description 17
- 239000010949 copper Substances 0.000 title claims abstract description 17
- 230000005540 biological transmission Effects 0.000 claims abstract description 39
- 208000032370 Secondary transmission Diseases 0.000 abstract description 3
- 238000010586 diagram Methods 0.000 description 2
- 238000000034 method Methods 0.000 description 2
- 229910000881 Cu alloy Inorganic materials 0.000 description 1
- 230000009286 beneficial effect Effects 0.000 description 1
- 230000007812 deficiency Effects 0.000 description 1
- 230000014509 gene expression Effects 0.000 description 1
- 238000009434 installation Methods 0.000 description 1
- 239000002184 metal Substances 0.000 description 1
- 229910052751 metal Inorganic materials 0.000 description 1
- 238000004804 winding Methods 0.000 description 1
Images
Landscapes
- Unwinding Of Filamentary Materials (AREA)
Abstract
本发明涉及铜导体加工技术领域,具体为一种铜导体加工用束绞机,包括底板,底板的顶部左侧设有固定板,固定板的顶部设有支撑板,支撑板的顶部设有安装板,安装板的左侧表面安装有伺服电机,伺服电机的输出轴上同轴连接有转动杆,转动杆的表面设有主传动齿轮,主传动齿轮的右侧表面设有支撑管,支撑管的上下两侧表面均设有支撑架。本发明通过底板顶部左侧设有的安装板结构,通过预先将铜丝线束放置于线束盘的表面,通过启动伺服电机带动支撑管的支撑架进行匀速转动,使得主传动齿轮带动副传动齿轮上的传动轴进行转动,使得支撑架在进行匀速旋转时组装盘可进行匀速旋转,使得线束进行均匀的绞线后并通过放线盘进行出线过程。
The invention relates to the technical field of copper conductor processing, in particular to a stranding machine for copper conductor processing, comprising a bottom plate, a fixed plate is provided on the left side of the top of the bottom plate, a support plate is provided on the top of the fixed plate, and a mounting plate is provided on the top of the support plate. A servo motor is installed on the left surface of the mounting plate, and a rotating rod is coaxially connected to the output shaft of the servo motor. The surface of the rotating rod is provided with a main transmission gear, and the right surface of the main transmission gear is provided with a support tube. There are supporting frames on the upper and lower sides of the surface. In the present invention, through the mounting plate structure provided on the left side of the top of the bottom plate, the copper wire harness is placed on the surface of the harness disk in advance, and the support frame of the support tube is driven to rotate at a uniform speed by starting the servo motor, so that the main transmission gear drives the secondary transmission gear The drive shaft rotates, so that the assembly plate can rotate at a constant speed when the support frame rotates at a constant speed, so that the wire harness can be evenly twisted and then go out through the pay-off reel.
Description
技术领域technical field
本发明涉及铜导体加工技术领域,具体为一种铜导体加工用束绞机。The invention relates to the technical field of copper conductor processing, in particular to a stranding machine for copper conductor processing.
背景技术Background technique
束绞机是应用于线束行业的一种绞合设备,它是将两股或者多股线径相同的线缆通过恒定的拉力,旋转交合成双绞线或多绞线。其中线束绞合前需将线束拉紧再进行绞合;The twisting machine is a kind of twisting equipment used in the wire harness industry. It rotates two or more cables with the same diameter through a constant tension and twists them into twisted or multi-paired wires. Before the wire harness is twisted, the wire harness needs to be tightened before twisting;
根据专利公开号CN209843385U的一种铜合金线束绞机,涉及金属线加工设备领域,包括线束收放装置、线束导向装置以及线束绞合装置;所述线束收放装置包括电机、转盘以及线束盘;所述电机的输出轴末端连接有齿轮;所述转盘的外表面环绕有外齿轮;所述线束盘通过转轴与所述转盘相连;所述线束导向装置包括导向管;所述导向管上端内壁中部固定设置有压力传感器;所述压力传感器的末端与控制器的输入端电性相连,所述控制器的输出端与所述电机电性相连。通过设置线束导向管,并在线束导向管内部中央设置压力传感器;通过线束拉紧时的压力值与标准值的比较,再通过控制器控制电机输出轴的转动方向,实现线束的自动收线或放线,保证线束绞合所需的张紧力,而在进行束线的过程中,其现有的机构通过多个线束盘对其进行导向,缺少一体化结构使得线束快速绞线,且对线束的张紧状态难以进行实时调节,鉴于此,我们提出一种铜导体加工用束绞机。According to the patent publication number CN209843385U, a copper alloy wire harness stranding machine relates to the field of metal wire processing equipment, including a wire harness retracting device, a wire harness guiding device, and a wire harness twisting device; the wire harness retracting device includes a motor, a turntable and a wire harness disk; The end of the output shaft of the motor is connected with a gear; the outer surface of the turntable is surrounded by an external gear; the harness disk is connected to the turntable through a rotating shaft; the harness guiding device includes a guide tube; the middle part of the inner wall at the upper end of the guide tube A pressure sensor is fixedly arranged; the end of the pressure sensor is electrically connected to the input end of the controller, and the output end of the controller is electrically connected to the motor. By setting the wire harness guide tube, and setting the pressure sensor in the center of the wire harness guide tube; by comparing the pressure value when the wire harness is tightened with the standard value, and then controlling the rotation direction of the motor output shaft through the controller, the automatic winding of the wire harness or Paying out the wires ensures the tension required for the twisting of the wire harnesses. In the process of wire harnessing, its existing mechanism guides them through multiple wire harness reels. The lack of an integrated structure allows the wire harnesses to be twisted quickly, and the It is difficult to adjust the tension state of the wire harness in real time. In view of this, we propose a bundle stranding machine for copper conductor processing.
发明内容Contents of the invention
为了弥补以上不足,本发明提供了一种铜导体加工用束绞机。In order to make up for the above deficiencies, the present invention provides a stranding machine for processing copper conductors.
本发明的技术方案是:Technical scheme of the present invention is:
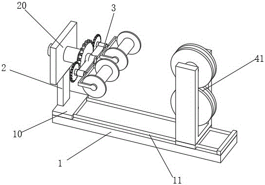
一种铜导体加工用束绞机,包括底板,所述底板的顶部左侧固定连接有固定板,所述固定板的顶部固定连接有支撑板,所述支撑板的顶部固定连接有安装板,所述安装板的左侧表面安装有伺服电机,所述伺服电机的输出轴上同轴连接有转动杆,所述转动杆的表面固定连接有主传动齿轮,所述主传动齿轮的右侧表面固定连接有支撑管,所述支撑管的上下两侧表面均固定连接有支撑架,所述支撑架的端部均固定连接有连接管。A stranding machine for processing copper conductors, comprising a bottom plate, the top left side of the bottom plate is fixedly connected with a fixed plate, the top of the fixed plate is fixedly connected with a support plate, and the top of the support plate is fixedly connected with a mounting plate, A servo motor is installed on the left side surface of the mounting plate, a rotating rod is coaxially connected to the output shaft of the servo motor, the surface of the rotating rod is fixedly connected with a main transmission gear, and the right side surface of the main transmission gear A support tube is fixedly connected, the upper and lower surfaces of the support tube are fixedly connected with a support frame, and the ends of the support frame are fixedly connected with a connecting tube.
作为优选的技术方案,所述连接管的内部均转动连接有传动轴,所述传动轴的左侧表面均固定连接有副传动齿轮,所述副传动齿轮均与所述主传动齿轮相互啮合。As a preferred technical solution, the inside of the connecting pipe is rotatably connected with a transmission shaft, and the left side surface of the transmission shaft is fixedly connected with auxiliary transmission gears, and the auxiliary transmission gears mesh with the main transmission gear.
作为优选的技术方案,所述传动轴的右侧表面固定连接有连接架,所述连接架的表面均固定连接有组装盘。As a preferred technical solution, a connecting frame is fixedly connected to the right side surface of the transmission shaft, and assembly disks are fixedly connected to the surface of the connecting frame.
作为优选的技术方案,两组所述组装盘之间固定连接有一组线束盘。As a preferred technical solution, a group of wire harness trays is fixedly connected between the two groups of assembly trays.
作为优选的技术方案,所述固定板的前后两侧表面均固定连接有导向杆。As a preferred technical solution, guide rods are fixedly connected to the front and rear surfaces of the fixed plate.
作为优选的技术方案,所述导向杆的右侧固定连接有挡位板,所述挡位板固定连接于所述底板的顶部右侧表面。As a preferred technical solution, a stop plate is fixedly connected to the right side of the guide rod, and the stop plate is fixedly connected to the top right side surface of the bottom plate.
作为优选的技术方案,所述导向杆的表面滑动套接有一组组装架,所述组装架的上下两侧表面均转动连接有两组转动轴,所述转动轴的表面均固定连接有放线盘。As a preferred technical solution, a group of assembly frames is slidably sleeved on the surface of the guide rod, and two sets of rotating shafts are rotatably connected to the upper and lower sides of the assembly frame, and the surfaces of the rotating shafts are fixedly connected to the wire-releasing shafts. plate.
与现有技术相比,本发明的有益效果是:Compared with prior art, the beneficial effect of the present invention is:
本发明通过底板顶部左侧设有的安装板结构,通过预先将铜丝线束放置于线束盘的表面,通过启动伺服电机带动支撑管的支撑架进行匀速转动,使得主传动齿轮带动副传动齿轮上的传动轴进行转动,使得支撑架在进行匀速旋转时组装盘可进行匀速旋转,使得线束进行均匀的绞线后并通过放线盘进行出线过程,使得该设备使用起来效果更好且生产出来的线束更加均匀。In the present invention, through the mounting plate structure provided on the left side of the top of the bottom plate, the copper wire harness is placed on the surface of the harness disk in advance, and the support frame of the support tube is driven to rotate at a uniform speed by starting the servo motor, so that the main transmission gear drives the secondary transmission gear The drive shaft rotates, so that the assembly plate can rotate at a constant speed when the support frame rotates at a constant speed, so that the wire harness is evenly twisted and then goes out through the pay-off reel, making the equipment more effective and produced. The strands are more uniform.
附图说明Description of drawings
图1为本发明的结构示意图;Fig. 1 is a structural representation of the present invention;
图2为本发明中传动组件的结构示意图;Fig. 2 is the structural representation of transmission assembly among the present invention;
图3为本发明中线束盘组件的结构示意图;Fig. 3 is a structural schematic diagram of the harness tray assembly in the present invention;
图4为本发明中放线盘组件的结构示意图。Fig. 4 is a structural schematic diagram of the pay-off reel assembly in the present invention.
图中:1、底板;10、固定板;11、导向杆;12、挡位板;2、支撑板;20、安装板;21、伺服电机;22、转动杆;23、主传动齿轮;24、副传动齿轮;3、支撑管;30、支撑架;31、连接管;32、传动轴;33、连接架;34、组装盘;340、线束盘;4、组装架;40、转动轴;41、放线盘。Among the figure: 1, bottom plate; 10, fixed plate; 11, guide rod; 12, stop plate; 2, support plate; 20, installation plate; 21, servo motor; 22, rotating rod; 23, main transmission gear; 24 , secondary transmission gear; 3, support pipe; 30, support frame; 31, connecting pipe; 32, transmission shaft; 33, connecting frame; 34, assembly plate; 340, harness plate; 4, assembly frame; 40, rotating shaft; 41, pay-off reel.
实施方式Implementation
下面将结合本发明实施例中的附图,对本发明实施例中的技术方案进行清楚、完整地描述,显然,所描述的实施例仅仅是本发明一部分实施例,而不是全部的实施例。基于本发明中的实施例,本领域普通技术人员在没有做出创造性劳动前提下所获得的所有其他实施例,都属于本发明保护的范围。The following will clearly and completely describe the technical solutions in the embodiments of the present invention with reference to the accompanying drawings in the embodiments of the present invention. Obviously, the described embodiments are only some, not all, embodiments of the present invention. Based on the embodiments of the present invention, all other embodiments obtained by persons of ordinary skill in the art without making creative efforts belong to the protection scope of the present invention.
为了便于理解本发明,下面将参照相关附图对本发明进行更全面的描述。附图中给出了本发明的若干实施例。但是,本发明可以以许多不同的形式来实现,并不限于本文所描述的实施例。相反地,提供这些实施例的目的是使对本发明的公开内容更加透彻全面。In order to facilitate the understanding of the present invention, the present invention will be described more fully below with reference to the associated drawings. Several embodiments of the invention are shown in the drawings. However, the present invention can be embodied in many different forms and is not limited to the embodiments described herein. Rather, these embodiments are provided so that the disclosure of the present invention will be thorough and complete.
需要说明的是,当元件被称为“固设于”另一个元件,它可以直接在另一个元件上或者也可以存在居中的元件。当一个元件被认为是“连接”另一个元件,它可以是直接连接到另一个元件或者可能同时存在居中元件。本文所使用的术语“垂直的”、“水平的”、“左”、“右”以及类似的表述只是为了说明的目的。It should be noted that when an element is referred to as being “fixed on” another element, it may be directly on the other element or there may be an intervening element. When an element is referred to as being "connected to" another element, it can be directly connected to the other element or intervening elements may also be present. The terms "vertical," "horizontal," "left," "right," and similar expressions are used herein for purposes of illustration only.
除非另有定义,本文所使用的所有的技术和科学术语与属于本发明的技术领域的技术人员通常理解的含义相同。本文中在本发明的说明书中所使用的术语只是为了描述具体的实施例的目的,不是旨在于限制本发明。本文所使用的术语“及/或”包括一个或多个相关的所列项目的任意的和所有的组合。Unless otherwise defined, all technical and scientific terms used herein have the same meaning as commonly understood by one of ordinary skill in the technical field of the invention. The terms used herein in the description of the present invention are for the purpose of describing specific embodiments only, and are not intended to limit the present invention. As used herein, the term "and/or" includes any and all combinations of one or more of the associated listed items.
请参阅图1-4,本发明提供一种技术方案:Please refer to Fig. 1-4, the present invention provides a kind of technical scheme:
一种铜导体加工用束绞机,包括底板1,底板1的顶部左侧固定连接有固定板10,固定板10的顶部固定连接有支撑板2,支撑板2的顶部固定连接有安装板20,安装板20的左侧表面安装有伺服电机21,伺服电机21的输出轴上同轴连接有转动杆22,转动杆22的表面固定连接有主传动齿轮23,主传动齿轮23的右侧表面固定连接有支撑管3,支撑管3的上下两侧表面均固定连接有支撑架30,支撑架30的端部均固定连接有连接管31, 操作人员首先将电缆线束放置于线束盘340的表面进行固定,此时操作人员启动伺服电机21,使得伺服电机21带动主传动齿轮23进行转动,此时主传动齿轮23带动支撑管3上的支撑架30进行旋转,使其带动连接管31进行转动,连接管31的内部均转动连接有传动轴32,传动轴32的左侧表面均固定连接有副传动齿轮24,副传动齿轮24均与主传动齿轮23相互啮合,随着主传动齿轮23的转动,此时副传动齿轮24进行转动,并使得其带动传动轴32上的连接架33进行整体转动,此时线束进行绞线,并通过放线盘41进行排出。A stranding machine for copper conductor processing, comprising a
作为本实施例的优选,传动轴32的右侧表面固定连接有连接架33,连接架33的表面均固定连接有组装盘34,两组组装盘34之间固定连接有一组线束盘340。As a preference of this embodiment, the right side surface of the
作为本实施例的优选,固定板10的前后两侧表面均固定连接有导向杆11,导向杆11的右侧固定连接有挡位板12,挡位板12固定连接于底板1的顶部右侧表面,人员需要对线束的张紧度进行调节时,此时通过滑动组装架4在导向杆11的表面滑动,使得放线盘41与线束盘340的间距做出调整,使得线束的张紧度产生变化。As a preference of this embodiment, the front and rear sides of the
作为本实施例的优选,导向杆11的表面滑动套接有一组组装架4,组装架4的上下两侧表面均转动连接有两组转动轴40,转动轴40的表面均固定连接有放线盘41。As a preference of this embodiment, the surface of the
本发明的一种铜导体加工用束绞机在使用时,操作人员首先将电缆线束放置于线束盘340的表面进行固定,此时操作人员启动伺服电机21,使得伺服电机21带动主传动齿轮23进行转动,此时主传动齿轮23带动支撑管3上的支撑架30进行旋转,使其带动连接管31进行转动,随着主传动齿轮23的转动,此时副传动齿轮24进行转动,并使得其带动传动轴32上的连接架33进行整体转动,此时线束进行绞线,并通过放线盘41进行排出,人员需要对线束的张紧度进行调节时,此时通过滑动组装架4在导向杆11的表面滑动,使得放线盘41与线束盘340的间距做出调整,使得线束的张紧度产生变化。When using the stranding machine for processing copper conductors of the present invention, the operator first places the cable harness on the surface of the
以上显示和描述了本发明的基本原理、主要特征和本发明的优点。本行业的技术人员应该了解,本发明不受上述实施例的限制,上述实施例和说明书中描述的仅为本发明的优选例,并不用来限制本发明,在不脱离本发明精神和范围的前提下,本发明还会有各种变化和改进,这些变化和改进都落入要求保护的本发明范围内。本发明要求保护范围由所附的权利要求书及其等效物界定。The basic principles, main features and advantages of the present invention have been shown and described above. Those skilled in the art should understand that the present invention is not limited by the above-mentioned embodiments, and those described in the above-mentioned embodiments and description are only preferred examples of the present invention, and are not intended to limit the present invention, without departing from the spirit and scope of the present invention. Under the premise, the present invention will have various changes and improvements, and these changes and improvements all fall within the scope of the claimed invention. The protection scope of the present invention is defined by the appended claims and their equivalents.
Claims (7)
Priority Applications (1)
| Application Number | Priority Date | Filing Date | Title |
|---|---|---|---|
| CN202310253403.6A CN115995315A (en) | 2023-03-16 | 2023-03-16 | Bundle strander for copper conductor processing |
Applications Claiming Priority (1)
| Application Number | Priority Date | Filing Date | Title |
|---|---|---|---|
| CN202310253403.6A CN115995315A (en) | 2023-03-16 | 2023-03-16 | Bundle strander for copper conductor processing |
Publications (1)
| Publication Number | Publication Date |
|---|---|
| CN115995315A true CN115995315A (en) | 2023-04-21 |
Family
ID=85995232
Family Applications (1)
| Application Number | Title | Priority Date | Filing Date |
|---|---|---|---|
| CN202310253403.6A Pending CN115995315A (en) | 2023-03-16 | 2023-03-16 | Bundle strander for copper conductor processing |
Country Status (1)
| Country | Link |
|---|---|
| CN (1) | CN115995315A (en) |
Cited By (1)
| Publication number | Priority date | Publication date | Assignee | Title |
|---|---|---|---|---|
| CN117116560A (en) * | 2023-09-14 | 2023-11-24 | 安徽鑫海高导新材料有限公司 | A stranding machine for copper conductor processing |
Citations (4)
| Publication number | Priority date | Publication date | Assignee | Title |
|---|---|---|---|---|
| JPH09134627A (en) * | 1995-11-07 | 1997-05-20 | Nichifu Co Ltd | Electric wire stranding machine |
| CN112349457A (en) * | 2020-11-13 | 2021-02-09 | 沈榆 | Assembling mechanism and assembling method of cable |
| CN216376971U (en) * | 2021-08-03 | 2022-04-26 | 老河口市启悦电子有限公司 | Wire harness processing is with rolling up device with tighten up function |
| CN217280236U (en) * | 2022-03-16 | 2022-08-23 | 合肥环宇电线电缆有限责任公司 | Disc type armored stranding machine for cable production |
-
2023
- 2023-03-16 CN CN202310253403.6A patent/CN115995315A/en active Pending
Patent Citations (4)
| Publication number | Priority date | Publication date | Assignee | Title |
|---|---|---|---|---|
| JPH09134627A (en) * | 1995-11-07 | 1997-05-20 | Nichifu Co Ltd | Electric wire stranding machine |
| CN112349457A (en) * | 2020-11-13 | 2021-02-09 | 沈榆 | Assembling mechanism and assembling method of cable |
| CN216376971U (en) * | 2021-08-03 | 2022-04-26 | 老河口市启悦电子有限公司 | Wire harness processing is with rolling up device with tighten up function |
| CN217280236U (en) * | 2022-03-16 | 2022-08-23 | 合肥环宇电线电缆有限责任公司 | Disc type armored stranding machine for cable production |
Cited By (1)
| Publication number | Priority date | Publication date | Assignee | Title |
|---|---|---|---|---|
| CN117116560A (en) * | 2023-09-14 | 2023-11-24 | 安徽鑫海高导新材料有限公司 | A stranding machine for copper conductor processing |
Similar Documents
| Publication | Publication Date | Title |
|---|---|---|
| CN102136324B (en) | Horizontal winding machine | |
| CN215496189U (en) | Cage winch for cable and wire production | |
| CN2837999Y (en) | Data cable strander | |
| CN115602383A (en) | Horizontal high-speed stranding machine | |
| CN115995315A (en) | Bundle strander for copper conductor processing | |
| CN218886899U (en) | Bidirectional stranded wire production line | |
| CN203118682U (en) | A high-speed stranding machine with automatic lay length change | |
| CN205428602U (en) | Twisting device for producing electric wires and cables | |
| CN209015781U (en) | A kind of thin copper-alloy stranded conductor stranding machine | |
| CN107633923B (en) | Metal wire assembling machine | |
| CN214505137U (en) | Novel multifunctional wire twisting machine | |
| CN104008822A (en) | A fully automatic numerical control stranding machine | |
| CN205240916U (en) | Cable -placing device | |
| CN112885534B (en) | A multifunctional wire twisting machine | |
| CN219476394U (en) | Wire and cable buffering, leading and twisting equipment | |
| CN218754237U (en) | Pay-off tension control device for Category 7 super cables | |
| CN108717886B (en) | A kind of communications maintenance cable wire dispenser | |
| CN117936193A (en) | Be used for corrosion-resistant wire and cable processing to use pipe winch | |
| CN111816368A (en) | An adjustable cable untwisting device | |
| CN117000909A (en) | Wire forming device and method based on cage strander and induction heating | |
| CN216712555U (en) | Steel strand stranding machine | |
| CN115162038A (en) | Automatic change strander | |
| CN212647956U (en) | Double-twist cabling device | |
| CN214476671U (en) | Tubular stranding machine for cable processing | |
| CN221304347U (en) | Cable stranding machine with pre-stranding mechanism |
Legal Events
| Date | Code | Title | Description |
|---|---|---|---|
| PB01 | Publication | ||
| PB01 | Publication | ||
| SE01 | Entry into force of request for substantive examination | ||
| SE01 | Entry into force of request for substantive examination |
