CN115980938A - High-air-tightness and high-heat-conductivity photoelectric module shell and manufacturing method - Google Patents
High-air-tightness and high-heat-conductivity photoelectric module shell and manufacturing method Download PDFInfo
- Publication number
- CN115980938A CN115980938A CN202211667344.9A CN202211667344A CN115980938A CN 115980938 A CN115980938 A CN 115980938A CN 202211667344 A CN202211667344 A CN 202211667344A CN 115980938 A CN115980938 A CN 115980938A
- Authority
- CN
- China
- Prior art keywords
- airtight
- thermal conductivity
- high thermal
- photoelectric module
- housing
- Prior art date
- Legal status (The legal status is an assumption and is not a legal conclusion. Google has not performed a legal analysis and makes no representation as to the accuracy of the status listed.)
- Pending
Links
- 238000004519 manufacturing process Methods 0.000 title claims abstract description 13
- 238000004806 packaging method and process Methods 0.000 claims abstract description 26
- 238000007789 sealing Methods 0.000 claims abstract description 20
- 239000013307 optical fiber Substances 0.000 claims abstract description 16
- 238000003466 welding Methods 0.000 claims abstract description 15
- 229910000838 Al alloy Inorganic materials 0.000 claims abstract description 10
- 239000000463 material Substances 0.000 claims abstract description 10
- CSDREXVUYHZDNP-UHFFFAOYSA-N alumanylidynesilicon Chemical compound [Al].[Si] CSDREXVUYHZDNP-UHFFFAOYSA-N 0.000 claims abstract description 5
- 239000012212 insulator Substances 0.000 claims abstract description 5
- 238000000034 method Methods 0.000 claims description 23
- 238000013461 design Methods 0.000 claims description 20
- 238000012360 testing method Methods 0.000 claims description 19
- 239000000919 ceramic Substances 0.000 claims description 10
- 239000011248 coating agent Substances 0.000 claims description 8
- 238000000576 coating method Methods 0.000 claims description 8
- 238000009413 insulation Methods 0.000 claims description 7
- WABPQHHGFIMREM-UHFFFAOYSA-N lead(0) Chemical compound [Pb] WABPQHHGFIMREM-UHFFFAOYSA-N 0.000 claims description 7
- 230000005693 optoelectronics Effects 0.000 claims description 7
- 150000003839 salts Chemical class 0.000 claims description 6
- 238000005245 sintering Methods 0.000 claims description 6
- 239000007921 spray Substances 0.000 claims description 6
- 238000007689 inspection Methods 0.000 claims description 5
- 230000035939 shock Effects 0.000 claims description 5
- 238000011179 visual inspection Methods 0.000 claims description 5
- 238000003801 milling Methods 0.000 claims description 4
- XLYOFNOQVPJJNP-UHFFFAOYSA-N water Chemical compound O XLYOFNOQVPJJNP-UHFFFAOYSA-N 0.000 claims description 4
- 238000005452 bending Methods 0.000 claims description 3
- 230000007613 environmental effect Effects 0.000 claims description 3
- 229910052751 metal Inorganic materials 0.000 claims description 3
- 239000002184 metal Substances 0.000 claims description 3
- 238000005516 engineering process Methods 0.000 abstract description 5
- 230000007774 longterm Effects 0.000 abstract description 2
- 238000010998 test method Methods 0.000 description 16
- 230000003287 optical effect Effects 0.000 description 14
- 239000000758 substrate Substances 0.000 description 12
- 238000004377 microelectronic Methods 0.000 description 9
- 239000000835 fiber Substances 0.000 description 5
- 229910052782 aluminium Inorganic materials 0.000 description 4
- XAGFODPZIPBFFR-UHFFFAOYSA-N aluminium Chemical compound [Al] XAGFODPZIPBFFR-UHFFFAOYSA-N 0.000 description 4
- 238000004891 communication Methods 0.000 description 4
- 230000008878 coupling Effects 0.000 description 4
- 238000010168 coupling process Methods 0.000 description 4
- 238000005859 coupling reaction Methods 0.000 description 4
- 238000001514 detection method Methods 0.000 description 4
- 229910052734 helium Inorganic materials 0.000 description 3
- 239000001307 helium Substances 0.000 description 3
- SWQJXJOGLNCZEY-UHFFFAOYSA-N helium atom Chemical compound [He] SWQJXJOGLNCZEY-UHFFFAOYSA-N 0.000 description 3
- 238000004949 mass spectrometry Methods 0.000 description 3
- PXHVJJICTQNCMI-UHFFFAOYSA-N Nickel Chemical compound [Ni] PXHVJJICTQNCMI-UHFFFAOYSA-N 0.000 description 2
- 238000006243 chemical reaction Methods 0.000 description 2
- 238000010586 diagram Methods 0.000 description 2
- 230000000694 effects Effects 0.000 description 2
- 238000004146 energy storage Methods 0.000 description 2
- 239000010408 film Substances 0.000 description 2
- 230000004927 fusion Effects 0.000 description 2
- JVPLOXQKFGYFMN-UHFFFAOYSA-N gold tin Chemical compound [Sn].[Au] JVPLOXQKFGYFMN-UHFFFAOYSA-N 0.000 description 2
- 230000010354 integration Effects 0.000 description 2
- 238000012858 packaging process Methods 0.000 description 2
- 238000012536 packaging technology Methods 0.000 description 2
- 238000007747 plating Methods 0.000 description 2
- 229910052710 silicon Inorganic materials 0.000 description 2
- 239000010703 silicon Substances 0.000 description 2
- HBMJWWWQQXIZIP-UHFFFAOYSA-N silicon carbide Chemical compound [Si+]#[C-] HBMJWWWQQXIZIP-UHFFFAOYSA-N 0.000 description 2
- 229910010271 silicon carbide Inorganic materials 0.000 description 2
- 238000005476 soldering Methods 0.000 description 2
- 239000010409 thin film Substances 0.000 description 2
- 229910000676 Si alloy Inorganic materials 0.000 description 1
- 230000002159 abnormal effect Effects 0.000 description 1
- 230000001133 acceleration Effects 0.000 description 1
- 230000002238 attenuated effect Effects 0.000 description 1
- 230000009286 beneficial effect Effects 0.000 description 1
- 239000003990 capacitor Substances 0.000 description 1
- 238000004140 cleaning Methods 0.000 description 1
- 230000001351 cycling effect Effects 0.000 description 1
- 230000001066 destructive effect Effects 0.000 description 1
- 238000011161 development Methods 0.000 description 1
- 230000009977 dual effect Effects 0.000 description 1
- 238000010292 electrical insulation Methods 0.000 description 1
- 238000009713 electroplating Methods 0.000 description 1
- 229920006335 epoxy glue Polymers 0.000 description 1
- 239000002360 explosive Substances 0.000 description 1
- 239000003292 glue Substances 0.000 description 1
- PCHJSUWPFVWCPO-UHFFFAOYSA-N gold Chemical compound [Au] PCHJSUWPFVWCPO-UHFFFAOYSA-N 0.000 description 1
- 239000010931 gold Substances 0.000 description 1
- 229910052737 gold Inorganic materials 0.000 description 1
- 229910000833 kovar Inorganic materials 0.000 description 1
- 229910052759 nickel Inorganic materials 0.000 description 1
- 238000001303 quality assessment method Methods 0.000 description 1
- 230000008054 signal transmission Effects 0.000 description 1
- 229910000679 solder Inorganic materials 0.000 description 1
- 239000010935 stainless steel Substances 0.000 description 1
- 229910001220 stainless steel Inorganic materials 0.000 description 1
- 239000000126 substance Substances 0.000 description 1
- 238000009864 tensile test Methods 0.000 description 1
Images
Landscapes
- Light Receiving Elements (AREA)
Abstract
本发明提供一种气密性高导热光电模块外壳和制造方法,包括外壳本体;所述外壳本体采用硅铝合金制成;所述外壳本体内部设置有导热凸台,所述导热凸台用于放置功率器件和芯片;所述外壳本体的两侧设置有若干条引线,引线与外壳本体的连接部位设置有绝缘子;所述外壳本体的侧壁上设置有光纤封接尾管。通过激光封焊工艺实现气密性封装,可广泛应用于高质量等级光电模块等产品的气密性封装。通过使用高硅铝合金作为外壳基材,具有质量轻、热导率高、强度高、长期可靠性高等显著优点。该外壳可广泛用于气密性高可靠光电模块等功能模块及器件的封装。
The invention provides an airtight high thermal conductivity photoelectric module housing and a manufacturing method, comprising a housing body; the housing body is made of silicon-aluminum alloy; a heat-conducting boss is arranged inside the housing body, and the heat-conducting boss is used for Power devices and chips are placed; several lead wires are provided on both sides of the housing body, and insulators are provided at the connecting parts of the lead wires and the housing body; an optical fiber sealing tailpipe is provided on the side wall of the housing body. Hermetic packaging is achieved through laser sealing and welding technology, which can be widely used in the hermetic packaging of high-quality photoelectric modules and other products. By using high-silicon aluminum alloy as the shell base material, it has significant advantages such as light weight, high thermal conductivity, high strength, and high long-term reliability. The casing can be widely used in the packaging of functional modules and devices such as airtight and highly reliable photoelectric modules.
Description
技术领域technical field
本发明属于微电子封装领域,具体属于一种气密性高导热光电模块外壳和制造方法。The invention belongs to the field of microelectronic packaging, in particular to an airtight high thermal conductivity photoelectric module shell and a manufacturing method.
背景技术Background technique
随着数据量爆炸性增长,大数据时代对互连密度和更高带宽的需求日益增长,同时,鉴于先进的高带宽通信交换设备对成本的严格约束,常规的电气互连面临着几大挑战,并渐渐成为高速信号传输的瓶颈。为了克服上述问题,自J.W.Goodman等人于1984年首次提出集成电路光互连(OptoElectronic-Very Large Scale Integration,OE-VLSI)的概念以来,光互连技术作为一个具有巨大潜力的有效方案备受关注。With the explosive growth of data volume, the demand for interconnection density and higher bandwidth in the era of big data is increasing. At the same time, in view of the strict cost constraints of advanced high-bandwidth communication switching equipment, conventional electrical interconnection faces several major challenges. And gradually become the bottleneck of high-speed signal transmission. In order to overcome the above problems, since the concept of OptoElectronic-Very Large Scale Integration (OE-VLSI) was first proposed by J.W.Goodman et al. in 1984, optical interconnection technology has been widely regarded as an effective solution with great potential. focus on.
用光作为信息载体传输高速信息,具有极高的时空带宽积、高的互连密度、高度并行性和无干扰性、大规模多芯片集成等特点,使得凭借于光波,通信系统中大容量、高速率数据交换得以实现。Using light as an information carrier to transmit high-speed information has the characteristics of extremely high space-time bandwidth product, high interconnection density, high parallelism and non-interference, and large-scale multi-chip integration. High-speed data exchange is realized.
光收发模块作为光通信的核心器件之一,主要实现信号的光电转换功能。在发送端,并行光模块通过驱动单元驱动激光器,将电信号转换成光信号;信号经由光纤传输,在接收端被光探测器接收,使得光信号转换为电信号。As one of the core devices of optical communication, the optical transceiver module mainly realizes the photoelectric conversion function of the signal. At the sending end, the parallel optical module drives the laser through the drive unit to convert the electrical signal into an optical signal; the signal is transmitted through the optical fiber and received by the optical detector at the receiving end, so that the optical signal is converted into an electrical signal.
随着光通信的持续快速发展,光电转换模块因其体积小、重量轻、功耗低、稳定性高和抗干扰能力强等优点,在高速高带宽通信等领域的需求逐年递增。近年来,光模块产品迭代加速,高速需求提升,对气密性高可靠光电模块的需求愈发迫切。With the continuous and rapid development of optical communication, the demand for photoelectric conversion modules in the fields of high-speed and high-bandwidth communication is increasing year by year due to their advantages such as small size, light weight, low power consumption, high stability and strong anti-interference ability. In recent years, the iteration of optical module products has accelerated, the demand for high speed has increased, and the demand for airtight and highly reliable optoelectronic modules has become increasingly urgent.
然而,目前研制出的光电收发模块产品均采用胶封工艺进行封装,尚未研发出真正意义上的气密性产品,在可靠性等方面存在短板。此外,光电模块中光芯片在复杂的高温环境中衰减严重,对封装的热设计有较高要求。因此,气密性高导热光电模块外壳亟待研发。However, the currently developed photoelectric transceiver module products are all packaged by glue sealing technology, and no truly airtight products have been developed, and there are shortcomings in reliability and other aspects. In addition, the optical chip in the optoelectronic module is severely attenuated in a complex high-temperature environment, which has high requirements for the thermal design of the package. Therefore, an airtight and high thermal conductivity photoelectric module housing needs to be developed urgently.
发明内容Contents of the invention
为了解决现有技术中存在的问题,本发明提供一种气密性高导热光电模块外壳和制造方法,通过激光封焊工艺实现气密性封装,可广泛应用于高质量等级光电模块等产品的气密性封装。In order to solve the problems existing in the prior art, the present invention provides an airtight high thermal conductivity photoelectric module housing and a manufacturing method, which realizes airtight packaging through a laser sealing and welding process, and can be widely used in high-quality photoelectric modules and other products. Hermetic packaging.
为实现上述目的,本发明提供如下技术方案:To achieve the above object, the present invention provides the following technical solutions:
一种气密性高导热光电模块外壳,包括外壳本体;An airtight and highly thermally conductive photoelectric module housing, including a housing body;
所述外壳本体采用硅铝合金制成;所述外壳本体内部设置有导热凸台,所述导热凸台用于放置功率器件和芯片;所述外壳本体的两侧设置有若干条引线,引线与外壳本体的连接部位设置有绝缘子;所述外壳本体的侧壁上设置有光纤封接尾管。The housing body is made of silicon-aluminum alloy; the housing body is provided with a heat-conducting boss, and the heat-conducting boss is used to place power devices and chips; several lead wires are arranged on both sides of the housing body, and the lead wires and An insulator is arranged at the connecting part of the casing body; an optical fiber sealing tailpipe is arranged on the side wall of the casing body.
优选的,所述气密性高导热光电模块外壳的封装漏率≤5×10-9Pa·m3/s。Preferably, the package leakage rate of the airtight high thermal conductivity photoelectric module housing is ≤5×10 -9 Pa·m 3 /s.
优选的,所述气密性高导热光电模块外壳的内部水汽含量≤5000ppm。Preferably, the water vapor content inside the airtight high thermal conductivity photoelectric module housing is ≤5000ppm.
优选的,所述外壳本体与导热凸台呈一体结构。Preferably, the housing body and the heat conduction boss are in an integral structure.
进一步的,所述外壳本体与导热凸台采用铣削加工。Further, the shell body and the heat conduction boss are processed by milling.
一种气密性高导热光电模块外壳的制造方法,包括以下过程,A method for manufacturing an airtight high thermal conductivity photoelectric module housing, comprising the following processes,
根据需求对外壳结构进行设计,然后根据使用需求、质量可靠性要求、环境要求确定外壳基材;对工件进行铣削加工,完成外壳本体与导热凸台;Design the shell structure according to the requirements, and then determine the base material of the shell according to the use requirements, quality reliability requirements, and environmental requirements; mill the workpiece to complete the shell body and heat conduction boss;
在外壳本体上加工光纤封接尾管和引脚烧结预留孔;Process the optical fiber sealing tailpipe and pin sintering reserved holes on the shell body;
根据设计要求对外壳引脚进行加工成形,通过烧结工艺实现引脚与外壳的封装,同时根据设计要求对盖板进行加工,完成气密性高导热光电模块外壳;According to the design requirements, the shell pins are processed and shaped, and the pins and the shell are packaged through the sintering process. At the same time, the cover plate is processed according to the design requirements to complete the airtight and high thermal conductivity photoelectric module shell;
对气密性高导热光电模块外壳进行可靠性检验,检验合格后进行使用。Carry out a reliability test on the airtight and high thermal conductivity photoelectric module casing, and use it after passing the test.
优选的,可靠性检验过程包括:Preferably, the reliability inspection process includes:
对气密性高导热光电模块外壳进行不少于100次的温度循环考核,温度范围-65℃~150℃;Carry out no less than 100 temperature cycle assessments on the airtight and high thermal conductivity photoelectric module housing, with a temperature range of -65°C to 150°C;
对气密性高导热光电模块外壳进行不少于15次的热冲击考核,温度范围-65℃~150℃;Conduct no less than 15 thermal shock assessments on the airtight and high thermal conductivity photoelectric module housing, with a temperature range of -65°C to 150°C;
对气密性高导热光电模块外壳进行引线牢固性考核,包括弯曲应力、引线疲劳;Conduct lead wire firmness assessment on the airtight and high thermal conductivity photoelectric module housing, including bending stress and lead fatigue;
对气密性高导热光电模块外壳进行可焊性考核,焊接温度245℃±5℃;Conduct weldability assessment on the airtight and high thermal conductivity photoelectric module housing, the welding temperature is 245°C±5°C;
对气密性高导热光电模块外壳进行绝缘电阻测试,在相对湿度为20%~50%的条件下,在陶瓷外壳的引线与引线之间、或金属外壳的引线与壳体之间施加500V的直流电压,漏电流应不大于50nA;To test the insulation resistance of the airtight and high thermal conductivity photoelectric module housing, apply 500V between the lead wires of the ceramic housing or between the lead wires of the metal housing and the housing under the condition of a relative humidity of 20% to 50%. DC voltage, leakage current should not be greater than 50nA;
对气密性高导热光电模块外壳进行耐湿考核,循环次数至少10次;Carry out a moisture resistance test on the airtight and high thermal conductivity photoelectric module housing, and the number of cycles shall be at least 10;
对气密性高导热光电模块外壳进行盐雾考核,时间至少24小时。Conduct salt spray assessment on the airtight and high thermal conductivity photoelectric module housing for at least 24 hours.
优选的,封装质量可靠性检验过程包括:对外壳本体的外观是否存在划伤、裂纹损伤进行目检;对外壳本体的外形尺寸进行测量,评估偏差是否满足要求;对外壳本体的镀层厚度、镀层致密性、均匀性镀层质量进行分析评估;对外壳本体的绝缘电阻、引线电阻的电特性进行测量评估;对外壳本体进行封装,并进行气密性检测,评估封装质量可靠性。Preferably, the packaging quality reliability inspection process includes: visually inspecting the appearance of the shell body for scratches and crack damage; measuring the external dimensions of the shell body to evaluate whether the deviation meets the requirements; checking the coating thickness and coating thickness of the shell body The compactness and uniformity of the coating quality are analyzed and evaluated; the insulation resistance of the shell body and the electrical characteristics of the lead resistance are measured and evaluated; the shell body is packaged, and the airtightness test is performed to evaluate the reliability of the packaging quality.
与现有技术相比,本发明具有以下有益的技术效果:Compared with the prior art, the present invention has the following beneficial technical effects:
本发明提供一种气密性高导热光电模块外壳,通过使用高硅铝合金作为外壳基材,具有质量轻、热导率高、强度高、长期可靠性高等显著优点。该外壳可广泛用于气密性高可靠光电模块等功能模块及器件的封装。外壳仅通过激光封焊工艺实现光纤与外壳的气密性封装,以及外壳与盖板的气密性封装,封装漏率≤5×10-9Pa·m3/s,内部水汽含量≤5000ppm,且封装热影响区小。外壳经过特殊的结构设计和热设计,内部设计加工了凸台,功率器件和芯片可直接焊接或粘接在凸台表面,热导率高。外壳尾管可针对不同规格、形式的光纤进行定制化结构设计。外壳可根据需要对封装结构及引脚进行定义和设计。外壳可根据需要配合PCB板、LTCC陶瓷基板、厚膜陶瓷基板、薄膜陶瓷基板等各类基板进行封装。外壳可承受温度循环、热冲击、引线牢固性、可焊性、耐湿、盐雾等严苛的质量考核,可用于高可靠光电模块的气密性封装,衍生出的气密性高可靠光电模块等产品在高速光互联等诸多方面具有非常广阔的应用前景。The invention provides an airtight and high thermal conductivity photoelectric module casing, which has the significant advantages of light weight, high thermal conductivity, high strength, and high long-term reliability by using high-silicon aluminum alloy as the casing base material. The casing can be widely used in the packaging of functional modules and devices such as airtight and highly reliable photoelectric modules. The outer casing only realizes the airtight sealing of the optical fiber and the outer casing, as well as the airtight sealing of the outer casing and the cover plate through the laser sealing and welding process. And the heat-affected zone of the package is small. The shell has undergone special structural design and thermal design, and the internal design has processed bosses. Power devices and chips can be directly welded or bonded on the surface of the bosses, with high thermal conductivity. The housing tailpipe can be customized for different specifications and forms of optical fibers. The shell can define and design the package structure and pins according to the needs. The shell can be packaged with various substrates such as PCB boards, LTCC ceramic substrates, thick-film ceramic substrates, and thin-film ceramic substrates as required. The shell can withstand stringent quality assessments such as temperature cycle, thermal shock, lead firmness, solderability, moisture resistance, and salt spray. It can be used for airtight packaging of high-reliability optoelectronic modules, and the derived airtight and highly reliable optoelectronic modules And other products have very broad application prospects in many aspects such as high-speed optical interconnection.
附图说明Description of drawings
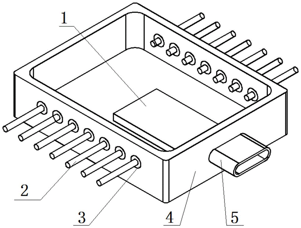
图1是蝶形封装气密性高导热光电模块外壳结构图;Figure 1 is a structural diagram of the butterfly package airtight high thermal conductivity photoelectric module housing;
图2是蝶形封装气密性高导热光电模块外壳制造流程图;Fig. 2 is a manufacturing flow chart of the housing of the butterfly package airtight high thermal conductivity photoelectric module;
图3是气密性高导热光电模块外壳质量可靠性考核流程图;Figure 3 is a flowchart of the quality and reliability assessment of the airtight and high thermal conductivity photoelectric module housing;
图4是气密性高可靠光模块外壳封装方案流程图。Figure 4 is a flow chart of the airtight and highly reliable optical module housing packaging solution.
附图中:1为导热凸台;2为引线;3为绝缘子;4为外壳本体;5为光纤封接尾管。In the drawings: 1 is the heat conduction boss; 2 is the lead wire; 3 is the insulator; 4 is the shell body; 5 is the optical fiber sealing tail pipe.
具体实施方式Detailed ways
下面结合具体的实施例对本发明做进一步的详细说明,所述是对本发明的解释而不是限定。The present invention will be further described in detail below in conjunction with specific embodiments, which are explanations of the present invention rather than limitations.
本发明的气密性高导热光电模块外壳制造流程,以蝶形封装气密性高导热光电模块外壳为例,其外形结构如图1所示。The manufacturing process of the airtight and high thermal conductivity photoelectric module casing of the present invention is an example of a butterfly packaged airtight and high thermal conductivity photoelectric module casing, and its outline structure is shown in FIG. 1 .
本发明的一种气密性高导热光电模块外壳,包括外壳本体4;An airtight and highly thermally conductive photoelectric module housing of the present invention includes a
所述外壳本体4采用硅铝合金制成;所述外壳本体4内部设置有导热凸台1,所述导热凸台1用于放置功率器件和芯片;所述外壳本体4的两侧设置有若干条引线2,引线2与外壳本体4的连接部位设置有绝缘子3;所述外壳本体4的侧壁上设置有光纤封接尾管5。The
外壳本体4的基材为高硅铝合金,外壳侧壁设计有光纤接口,可根据纤缆结构定制。外壳底座设计有导热凸台,材料与基材一致,均为高硅铝合金,通过铣削加工的方式一体成形。蝶形封装气密性高导热光电模块外壳制造流程如图2所示。The base material of the
本发明一种气密性高导热光电模块外壳的制造方法,首先根据需求对外壳结构进行设计,然后根据使用需求、质量可靠性要求、环境要求等确定外壳基材(如铝硅合金),之后对外壳进行铣削加工,铣削加工时根据设计尺寸制成导热凸台,进而对用于纤蓝封装的尾管进行加工,同时加工出引脚烧结预留孔,至此外壳主体机加完成。根据设计要求对外壳引脚进行加工成形,通过烧结等工艺实现引脚与外壳的封装,同时根据设计要求对盖板进行加工,至此外壳机加完成。根据设计要求选择是否需要镀层,通过电镀或化学镀等方式可在外壳表面沉积金层、镍层等。至此气密性高导热光电模块外壳制造流程结束。A method for manufacturing an airtight and highly thermally conductive photoelectric module housing of the present invention, firstly design the housing structure according to the requirements, then determine the housing base material (such as aluminum-silicon alloy) according to the use requirements, quality reliability requirements, environmental requirements, etc., and then The shell is milled, and the heat conduction boss is made according to the design size during the milling process, and then the tailpipe for the fiber blue package is processed, and the reserved holes for pin sintering are processed at the same time, and the main body of the shell is machined. According to the design requirements, the shell pins are processed and shaped, and the pins and the shell are packaged through sintering and other processes. At the same time, the cover plate is processed according to the design requirements, and the shell is machined. According to the design requirements, it is necessary to choose whether the plating is required, and the gold layer, nickel layer, etc. can be deposited on the surface of the shell by means of electroplating or chemical plating. So far, the manufacturing process of the airtight and high thermal conductivity photoelectric module casing is completed.
本发明涉及的气密性高导热光电模块外壳,使用高硅铝合金(包括但不局限于铝/硅、铝/碳化硅)作为外壳基材,可通过激光封焊工艺实现气密性封装,封装漏率≤5×10- 9Pa·m3/s,内部水汽含量≤5000ppm,可广泛应用于高质量等级光电模块等产品的气密性封装。The airtight and high thermal conductivity photoelectric module shell of the present invention uses high-silicon aluminum alloy (including but not limited to aluminum/silicon, aluminum/silicon carbide) as the base material of the shell, and can realize airtight packaging through laser sealing welding process, The packaging leakage rate is ≤5×10 - 9 Pa·m 3 /s, and the internal water vapor content is ≤5000ppm, which can be widely used in the airtight packaging of high-quality photoelectric modules and other products.
气密性高导热光电模块外壳,基材使用高硅铝合金(包括但不局限于铝/硅、铝/碳化硅),质量轻、热导率高、强度高,不涉及可伐、不锈钢、陶瓷等其他常规材料。Airtight and high thermal conductivity photoelectric module casing, the substrate is made of high-silicon aluminum alloy (including but not limited to aluminum/silicon, aluminum/silicon carbide), light weight, high thermal conductivity, high strength, does not involve Kovar, stainless steel, Ceramics and other conventional materials.
气密性高导热光电模块外壳,主要应用于高质量等级光模块、功率器件等的气密性高可靠封装。封装工艺仅涉及激光封焊技术,不涉及平行缝焊、储能焊、金锡熔封等其他常用封装技术。The airtight and high thermal conductivity photoelectric module housing is mainly used in the airtight and highly reliable packaging of high-quality optical modules and power devices. The packaging process only involves laser sealing and welding technology, and does not involve other common packaging technologies such as parallel seam welding, energy storage welding, and gold-tin fusion sealing.
气密性高导热光电模块外壳,外壳在封装前进行氦质谱检漏考核,漏率≤1×10- 9Pa·m3/s,封装后按GJB548B-2005《微电子器件试验方法和程序》进行氦质谱检漏考核,漏率≤5×10-9Pa·m3/s,封装后按GJB548B-2005《微电子器件试验方法和程序》进行内部气氛检测,内部水汽含量≤5000ppm。Airtight and high thermal conductivity photoelectric module casing, the casing shall be tested for leak detection by helium mass spectrometry before packaging, the leak rate is ≤1×10 - 9 Pa·m 3 /s, after packaging according to GJB548B-2005 "Test Methods and Procedures for Microelectronic Devices" Helium mass spectrometry leak detection assessment is carried out, the leak rate is ≤5×10 -9 Pa·m 3 /s, and the internal atmosphere is tested according to GJB548B-2005 "Microelectronic Device Test Methods and Procedures" after packaging, and the internal water vapor content is ≤5000ppm.
气密性高导热光电模块外壳,外壳经过特殊的结构设计和热设计,内部设计有导热凸台,且可针对不同产品定制凸台结构,功率器件和芯片可直接焊接或粘接在导热凸台表面,封装热管理效果好。Air-tight and high thermal conductivity photoelectric module shell, the shell has undergone special structural design and thermal design, and the internal design has a heat conduction boss, and the boss structure can be customized for different products. Power devices and chips can be directly welded or bonded on the heat conduction boss On the surface, the thermal management effect of the package is good.
气密性高导热光电模块外壳,外壳包含与纤缆配合的外管接口,可根据不同规格的光纤及其他线缆定制结构。Airtight and high thermal conductivity photoelectric module housing, the housing includes an outer tube interface that matches with the fiber cable, and the structure can be customized according to different specifications of optical fiber and other cables.
气密性高导热光电模块外壳,可根据需要对封装结构及引脚进行定义和设计,包括但不限于双列直插等封装形式。Airtight and high thermal conductivity optoelectronic module housing, the packaging structure and pins can be defined and designed according to the needs, including but not limited to dual in-line packaging and other packaging forms.
气密性高导热光电模块外壳,可根据需要选择各类基板进行封装,包括但不限于PCB板、LTCC陶瓷基板、厚膜陶瓷基板、薄膜陶瓷基板等各类基板。Airtight and high thermal conductivity optoelectronic module housings can be packaged with various substrates according to needs, including but not limited to PCB boards, LTCC ceramic substrates, thick film ceramic substrates, thin film ceramic substrates and other substrates.
气密性高导热光电模块外壳质量可靠性考核流程Airtight and high thermal conductivity photoelectric module housing quality and reliability assessment process
气密性高导热光电模块外壳质量可靠性考核按4个分组进行,如图3和图4所示。The quality and reliability assessment of the airtight and high thermal conductivity photoelectric module casing is carried out in four groups, as shown in Figure 3 and Figure 4.
分组一:Group one:
对外壳外观是否存在划伤、裂纹等损伤进行目检;对外壳外形尺寸进行测量,评估偏差是否满足要求;对外壳镀层厚度、镀层致密性、均匀性等镀层质量进行分析评估;对外壳绝缘电阻、引线电阻等电特性进行测量评估;对外壳进行封装,并进行气密性检测,评估其封装质量可靠性。Visually inspect the appearance of the shell for scratches, cracks and other damage; measure the outer dimensions of the shell to evaluate whether the deviation meets the requirements; analyze and evaluate the coating quality such as the thickness, density, and uniformity of the shell coating; check the insulation resistance of the shell , lead resistance and other electrical characteristics are measured and evaluated; the outer shell is packaged, and the air tightness test is performed to evaluate the quality and reliability of the package.
分组二:Group two:
对外壳按使用要求进行温度循环、热冲击、稳定性烘焙、引线牢固性考核,模拟严苛的温度、异常应力等严酷条件,最后进行封装,并进行气密性检测,评估外壳的质量可靠性。Carry out temperature cycling, thermal shock, stability baking, and lead wire firmness assessment on the shell according to the requirements of use, simulate harsh conditions such as severe temperature and abnormal stress, and finally package and conduct air-tightness testing to evaluate the quality and reliability of the shell .
分组三:Group three:
在外壳上进行键合、焊接工艺试验,评估外壳的引线键合强度以及可焊性;之后进行封装,并进行恒定加速度试验,最后进行气密性检测,评估外壳在高过载情况下的质量可靠性。Carry out bonding and welding process tests on the shell to evaluate the wire bonding strength and weldability of the shell; then package and conduct a constant acceleration test, and finally conduct an airtight test to evaluate the reliable quality of the shell under high overload conditions sex.
分组四:Group four:
外壳封装后进行耐湿试验,之后进行绝缘电阻测试,评估其电绝缘性能;之后进行盐雾试验,并进行检漏,评估外壳在潮湿、盐雾环境下的质量可靠性。After the casing is packaged, the humidity resistance test is carried out, and then the insulation resistance test is carried out to evaluate its electrical insulation performance; after that, the salt spray test is carried out, and leak detection is carried out to evaluate the quality reliability of the casing in a humid and salt spray environment.
通过以上考核,确保外壳能够满足高质量等级光电模块产品在各类环境下正常运行使用。Through the above assessment, it is ensured that the shell can meet the normal operation and use of high-quality photoelectric module products in various environments.
气密性高导热光电模块外壳,需按GJB548B-2005《微电子器件试验方法和程序》进行不少于100次的温度循环考核(温度范围-65℃~150℃)。The airtight and high thermal conductivity photoelectric module housing shall be subject to no less than 100 temperature cycle assessments (temperature range -65°C to 150°C) according to GJB548B-2005 "Test Methods and Procedures for Microelectronic Devices".
气密性高导热光电模块外壳,需按GJB548B-2005《微电子器件试验方法和程序》进行不少于15次的热冲击考核(温度范围-65℃~150℃)。The airtight and high thermal conductivity photoelectric module housing shall be subject to no less than 15 thermal shock assessments (temperature range -65°C to 150°C) according to GJB548B-2005 "Test Methods and Procedures for Microelectronic Devices".
气密性高导热光电模块外壳,需按GJB548B-2005《微电子器件试验方法和程序》进行引线牢固性考核,包括弯曲应力、引线疲劳。For the airtight and high thermal conductivity photoelectric module casing, the firmness of the leads must be assessed according to GJB548B-2005 "Test Methods and Procedures for Microelectronic Devices", including bending stress and lead fatigue.
气密性高导热光电模块外壳,需按GJB548B-2005《微电子器件试验方法和程序》进行可焊性考核,焊接温度245℃±5℃。The housing of the photoelectric module with air-tightness and high thermal conductivity shall undergo solderability assessment according to GJB548B-2005 "Test Methods and Procedures for Microelectronic Devices", and the soldering temperature shall be 245°C±5°C.
气密性高导热光电模块外壳,需进行绝缘电阻测试,在相对湿度为20%~50%的条件下,在陶瓷外壳的引线与引线之间、或金属外壳的引线与壳体之间施加500V的直流电压,漏电流应不大于50nA。Air-tight and high thermal conductivity photoelectric module housings need to be tested for insulation resistance. Under the condition of relative humidity of 20% to 50%, 500V is applied between the lead wires of the ceramic housing or between the lead wires of the metal housing and the housing. DC voltage, the leakage current should not be greater than 50nA.
气密性高导热光电模块外壳,需按GJB548B-2005《微电子器件试验方法和程序》进行耐湿考核,循环次数至少10次。The housing of the photoelectric module with airtightness and high thermal conductivity shall be tested for moisture resistance according to GJB548B-2005 "Test Methods and Procedures for Microelectronic Devices", and the number of cycles shall be at least 10 times.
气密性高导热光电模块外壳,需按GJB548B-2005《微电子器件试验方法和程序》进行盐雾考核,时间至少24小时。The casing of the photoelectric module with airtightness and high thermal conductivity shall be subjected to salt spray assessment according to GJB548B-2005 "Test Methods and Procedures for Microelectronic Devices", and the time shall be at least 24 hours.
气密性高导热光电模块外壳,可根据使用要求进行其他项目考核。Airtight and high thermal conductivity photoelectric module housing, other items can be assessed according to the requirements of use.
气密性高可靠4路光接收模块外壳封装方案Airtight and highly reliable 4-way light receiving module shell packaging solution
气密性高可靠4路光接收模块外壳封装时,先将电阻、电容通过回流焊工艺焊接在基板(如PCB板等)上,并进行焊接后清洗及目检。然后根据设计要求将芯片粘接到基板上,并进行固化。之后将1×4阵列PD探测器(如PIN探测器等)、放大器(如TIA等)粘接在导热凸台上,固化后进行目检。继而进行键合互联,键合后进行非破坏性键合拉力试验考核并进行目检。键合后进行光纤耦合,可通过有源耦合或无源耦合的方式完成,耦合后对光纤进行二次加固,并进行目检。之后对误码率、眼图等参数进行测试,测试后对光纤与外壳进行封装,使用高精度小热影响区激光封焊工艺,确保光纤与外壳封装的气密性。光纤与外壳封装后进行内部目检,清理模块内部多余物,然后对外壳进行封装,封装前进行真空烘烤,同样使用高精度小热影响区激光封焊工艺。外壳封装后需进行氦质谱检漏,确保模块漏率≤5×10-9Pa·m3/s,最后进行外观检验。外壳与光纤及盖板的封装工艺仅涉及激光封焊技术,不涉及平行缝焊、储能焊、金锡熔封、环氧胶封等其他常用封装技术。Highly airtight and reliable 4-way optical receiving module shell packaging, first solder the resistors and capacitors on the substrate (such as PCB board, etc.) through the reflow process, and perform cleaning and visual inspection after soldering. Then the chip is bonded to the substrate according to the design requirements and cured. After that, a 1×4 array of PD detectors (such as PIN detectors, etc.) and amplifiers (such as TIA, etc.) are bonded on the heat conduction boss, and visual inspection is performed after curing. Then carry out bonding and interconnection, and perform non-destructive bonding tensile test assessment and visual inspection after bonding. Fiber coupling after bonding can be done by active coupling or passive coupling. After coupling, the fiber is reinforced twice and visually inspected. After that, the bit error rate, eye diagram and other parameters are tested. After the test, the optical fiber and the housing are packaged, and a high-precision small heat-affected zone laser sealing welding process is used to ensure the airtightness of the optical fiber and housing packaging. After the optical fiber and the housing are packaged, the internal visual inspection is carried out to clean up the excess inside the module, and then the housing is packaged, and vacuum baking is performed before packaging. The high-precision small heat-affected zone laser sealing welding process is also used. After the shell is sealed, helium mass spectrometry leak detection is required to ensure that the module leak rate is ≤5×10 -9 Pa·m 3 /s, and finally the appearance inspection is carried out. The packaging process of the shell, optical fiber and cover plate only involves laser sealing and welding technology, and does not involve other common packaging technologies such as parallel seam welding, energy storage welding, gold-tin fusion sealing, and epoxy glue sealing.
Claims (8)
Priority Applications (1)
| Application Number | Priority Date | Filing Date | Title |
|---|---|---|---|
| CN202211667344.9A CN115980938A (en) | 2022-12-23 | 2022-12-23 | High-air-tightness and high-heat-conductivity photoelectric module shell and manufacturing method |
Applications Claiming Priority (1)
| Application Number | Priority Date | Filing Date | Title |
|---|---|---|---|
| CN202211667344.9A CN115980938A (en) | 2022-12-23 | 2022-12-23 | High-air-tightness and high-heat-conductivity photoelectric module shell and manufacturing method |
Publications (1)
| Publication Number | Publication Date |
|---|---|
| CN115980938A true CN115980938A (en) | 2023-04-18 |
Family
ID=85975408
Family Applications (1)
| Application Number | Title | Priority Date | Filing Date |
|---|---|---|---|
| CN202211667344.9A Pending CN115980938A (en) | 2022-12-23 | 2022-12-23 | High-air-tightness and high-heat-conductivity photoelectric module shell and manufacturing method |
Country Status (1)
| Country | Link |
|---|---|
| CN (1) | CN115980938A (en) |
Citations (13)
| Publication number | Priority date | Publication date | Assignee | Title |
|---|---|---|---|---|
| US6491446B1 (en) * | 2000-03-28 | 2002-12-10 | Lockheed Martin Corporation | Passive self-alignment technique for array laser transmitters and receivers for fiber optic applications |
| KR20080085302A (en) * | 2007-03-19 | 2008-09-24 | 한기우 | How to make an optical module large package case |
| CN103456699A (en) * | 2013-09-29 | 2013-12-18 | 中国兵器工业集团第二一四研究所苏州研发中心 | Integrated circuit packaging structure and packaging method thereof |
| CN103779285A (en) * | 2014-01-21 | 2014-05-07 | 中国兵器工业集团第二一四研究所苏州研发中心 | Heat dissipation packaging structure for hybrid integrated power module |
| RU2579155C1 (en) * | 2014-09-17 | 2016-04-10 | Общество с ограниченной ответственностью "Исток-проходка" | Method for sealed entry of electric conductors through protective sleeve |
| CN108873191A (en) * | 2018-06-25 | 2018-11-23 | 重庆霓扬科技有限责任公司 | A kind of integrated microwave photon device package casing |
| CN109494196A (en) * | 2018-12-21 | 2019-03-19 | 西安赛尔电子材料科技有限公司 | A kind of silumin package casing and preparation method thereof |
| CN110333583A (en) * | 2019-07-26 | 2019-10-15 | 西安微电子技术研究所 | A kind of optical-electric module tail optical fiber air-tight packaging structure and packaging method |
| CN110412700A (en) * | 2019-07-26 | 2019-11-05 | 西安微电子技术研究所 | A kind of integrated electronics high-speed optical interconnection module integrated morphology and integrated approach |
| CN110943048A (en) * | 2019-12-27 | 2020-03-31 | 西安雷航电子信息技术有限公司 | Compound silicon-aluminum alloy packaging shell |
| CN213903874U (en) * | 2020-12-19 | 2021-08-06 | 青岛海信宽带多媒体技术有限公司 | Optical module |
| CN114040641A (en) * | 2021-10-21 | 2022-02-11 | 桂林长海发展有限责任公司 | Heat dissipation shell, machining method thereof and conduction heat dissipation module |
| CN115101601A (en) * | 2022-07-26 | 2022-09-23 | 中国电子科技集团公司第四十三研究所 | Single photon detector packaging structure |
-
2022
- 2022-12-23 CN CN202211667344.9A patent/CN115980938A/en active Pending
Patent Citations (13)
| Publication number | Priority date | Publication date | Assignee | Title |
|---|---|---|---|---|
| US6491446B1 (en) * | 2000-03-28 | 2002-12-10 | Lockheed Martin Corporation | Passive self-alignment technique for array laser transmitters and receivers for fiber optic applications |
| KR20080085302A (en) * | 2007-03-19 | 2008-09-24 | 한기우 | How to make an optical module large package case |
| CN103456699A (en) * | 2013-09-29 | 2013-12-18 | 中国兵器工业集团第二一四研究所苏州研发中心 | Integrated circuit packaging structure and packaging method thereof |
| CN103779285A (en) * | 2014-01-21 | 2014-05-07 | 中国兵器工业集团第二一四研究所苏州研发中心 | Heat dissipation packaging structure for hybrid integrated power module |
| RU2579155C1 (en) * | 2014-09-17 | 2016-04-10 | Общество с ограниченной ответственностью "Исток-проходка" | Method for sealed entry of electric conductors through protective sleeve |
| CN108873191A (en) * | 2018-06-25 | 2018-11-23 | 重庆霓扬科技有限责任公司 | A kind of integrated microwave photon device package casing |
| CN109494196A (en) * | 2018-12-21 | 2019-03-19 | 西安赛尔电子材料科技有限公司 | A kind of silumin package casing and preparation method thereof |
| CN110333583A (en) * | 2019-07-26 | 2019-10-15 | 西安微电子技术研究所 | A kind of optical-electric module tail optical fiber air-tight packaging structure and packaging method |
| CN110412700A (en) * | 2019-07-26 | 2019-11-05 | 西安微电子技术研究所 | A kind of integrated electronics high-speed optical interconnection module integrated morphology and integrated approach |
| CN110943048A (en) * | 2019-12-27 | 2020-03-31 | 西安雷航电子信息技术有限公司 | Compound silicon-aluminum alloy packaging shell |
| CN213903874U (en) * | 2020-12-19 | 2021-08-06 | 青岛海信宽带多媒体技术有限公司 | Optical module |
| CN114040641A (en) * | 2021-10-21 | 2022-02-11 | 桂林长海发展有限责任公司 | Heat dissipation shell, machining method thereof and conduction heat dissipation module |
| CN115101601A (en) * | 2022-07-26 | 2022-09-23 | 中国电子科技集团公司第四十三研究所 | Single photon detector packaging structure |
Similar Documents
| Publication | Publication Date | Title |
|---|---|---|
| CN113697762B (en) | Differential pressure resonant pressure sensitive chip probe with isolation package structure and package method | |
| CN109459827B (en) | Photoelectric module air tightness assembling method | |
| CN109494196A (en) | A kind of silumin package casing and preparation method thereof | |
| CN113447175B (en) | Non-invasive crimping type power semiconductor device contact pressure monitoring method and system | |
| CN113351951B (en) | A packaging structure and implementation method of an integrated ceramic cold platform | |
| CN221707571U (en) | Wafer burn-in test probe card | |
| CN115980938A (en) | High-air-tightness and high-heat-conductivity photoelectric module shell and manufacturing method | |
| CN100334425C (en) | Method for measuring deformation at lous temp of focal plane probe and special Dewar | |
| CN105910918A (en) | In-situ test system for testing thermal-electric-force coupling performance of green electronic packaging material | |
| CN103308217B (en) | Encapsulation structure of high-temperature pressure sensor | |
| CN115101601A (en) | Single photon detector packaging structure | |
| CN221303645U (en) | Optical communication device | |
| CN119573785A (en) | A fiber optic temperature and pressure sensor based on a ball lens and a preparation method thereof | |
| Huang et al. | Highly thermal dissipation for large hpc package using liquid metal materials | |
| CN113816330B (en) | Resonance temperature sensitive chip probe of vacuum packaging structure and packaging method thereof | |
| WO2024077695A1 (en) | Reliability test apparatus and reliability test method | |
| CN110133469A (en) | Semiconductor testing apparatus and its working method | |
| CN113697765B (en) | Vacuum packaging structure differential pressure resonance pressure sensitive chip probe and packaging method | |
| CN116117311A (en) | An airtight and highly reliable packaging method for an optical fiber and a housing | |
| CN214411758U (en) | Packaging base and optical semiconductor device thereof | |
| CN216484743U (en) | Take dew condensation system and dew point hygrometer of encapsulation platform | |
| CN117457532A (en) | Eutectic integration of airborne microelectronic devices and its multi-gradient phase diagram analysis and calculation method | |
| CN1834662A (en) | Test jig for measuring To packed base high frequency of photoelectronic device | |
| CN111239925B (en) | A low temperature welding method for TOSA focusing lens | |
| CN120121207A (en) | A pressure sensor and a method for manufacturing the same |
Legal Events
| Date | Code | Title | Description |
|---|---|---|---|
| PB01 | Publication | ||
| PB01 | Publication | ||
| SE01 | Entry into force of request for substantive examination | ||
| SE01 | Entry into force of request for substantive examination |
