CN115944964A - Oil phase solution filter equipment is used in production of popped ammonium nitrate explosive - Google Patents
Oil phase solution filter equipment is used in production of popped ammonium nitrate explosive Download PDFInfo
- Publication number
- CN115944964A CN115944964A CN202310050212.XA CN202310050212A CN115944964A CN 115944964 A CN115944964 A CN 115944964A CN 202310050212 A CN202310050212 A CN 202310050212A CN 115944964 A CN115944964 A CN 115944964A
- Authority
- CN
- China
- Prior art keywords
- fixedly connected
- plate
- oil phase
- phase solution
- drum
- Prior art date
- Legal status (The legal status is an assumption and is not a legal conclusion. Google has not performed a legal analysis and makes no representation as to the accuracy of the status listed.)
- Pending
Links
Images
Classifications
-
- Y—GENERAL TAGGING OF NEW TECHNOLOGICAL DEVELOPMENTS; GENERAL TAGGING OF CROSS-SECTIONAL TECHNOLOGIES SPANNING OVER SEVERAL SECTIONS OF THE IPC; TECHNICAL SUBJECTS COVERED BY FORMER USPC CROSS-REFERENCE ART COLLECTIONS [XRACs] AND DIGESTS
- Y02—TECHNOLOGIES OR APPLICATIONS FOR MITIGATION OR ADAPTATION AGAINST CLIMATE CHANGE
- Y02P—CLIMATE CHANGE MITIGATION TECHNOLOGIES IN THE PRODUCTION OR PROCESSING OF GOODS
- Y02P20/00—Technologies relating to chemical industry
- Y02P20/10—Process efficiency
Landscapes
- Filtration Of Liquid (AREA)
Abstract
本发明公开了一种膨化硝铵炸药生产用油相溶液过滤装置,包括圆筒,所述圆筒底部开设有若干个通孔,所述圆筒底端固定连接有过滤筒,所述圆筒顶端设有顶板,所述顶板顶部设有电机,所述电机动力输出轴固定连接有传动杆,所述传动杆底端贯穿顶板顶部,并延伸至圆筒内腔,所述传动杆外侧边缘固定连接有若干个搅拌杆,通过电机、中空圆框、扇形板、搅拌杆等结构之间的相互配合,可实现电机控制搅拌杆进行转动,搅拌杆对油相溶液进行搅拌,在对油相溶液搅拌完成后,移动固定杆,固定杆通过螺纹杆和连接柱带动扇形板进行移动,扇形板进入到中空圆框内部,从而油相溶液进入到过滤筒内部。
The invention discloses an oil phase solution filtering device for the production of expanded ammonium nitrate explosives. The top is provided with a top plate, and the top of the top plate is provided with a motor, and the power output shaft of the motor is fixedly connected with a transmission rod. There are several stirring rods connected, through the mutual cooperation between the motor, the hollow circular frame, the fan-shaped plate, the stirring rod and other structures, the motor can control the stirring rod to rotate, and the stirring rod can stir the oil phase solution. After the stirring is completed, the fixed rod is moved, and the fixed rod drives the fan-shaped plate to move through the threaded rod and the connecting column, and the fan-shaped plate enters the interior of the hollow circular frame, so that the oil phase solution enters the interior of the filter cartridge.
Description
技术领域technical field
本发明涉及膨化硝铵炸药技术领域,具体为一种膨化硝铵炸药生产用油相溶液过滤装置。The invention relates to the technical field of expanded ammonium nitrate explosives, in particular to an oil phase solution filtering device for the production of expanded ammonium nitrate explosives.
背景技术Background technique
膨化硝铵炸药,以膨化硝酸铵为主要氧化剂,与适量可燃剂以及其他功能添加剂组成的一类粉状混合炸药,其多微孔结构具有能够形成热点起爆的敏化作用,在膨化硝铵炸药生产中需要对其中的油相溶液进行处理。Expanded ammonium nitrate explosive is a kind of powdery mixed explosive composed of expanded ammonium nitrate as the main oxidant, an appropriate amount of combustible agent and other functional additives. Its microporous structure has a sensitization effect that can form hot spots. The oil phase solution needs to be treated during production.
然而现有的膨化硝铵炸药生产的油相溶液在使用中存在一些问题,现有的油相溶液在进行处理中内部可能存在杂质,若不对杂质进行过滤并直接使用,将会影响膨化硝铵炸药的生产效果,同时不便于对过滤后的油相溶液进行单独隔离收集,当收集到一定量时,不便于对进行报警,油相溶液可能会溢出,造成不必要的浪费。However, there are some problems in the use of the oil phase solution produced by the existing expanded ammonium nitrate explosives. There may be impurities in the existing oil phase solution during processing. If the impurities are not filtered and used directly, the expanded ammonium nitrate will be affected. At the same time, it is not convenient to isolate and collect the filtered oil phase solution separately. When a certain amount is collected, it is not convenient to give an alarm, and the oil phase solution may overflow, causing unnecessary waste.
发明内容Contents of the invention
为实现上述目的,本发明提供如下技术方案:一种膨化硝铵炸药生产用油相溶液过滤装置,包括圆筒,所述圆筒底部开设有若干个通孔,所述圆筒底端固定连接有过滤筒,所述圆筒顶端设有顶板,所述顶板顶部设有电机,所述电机动力输出轴固定连接有传动杆,所述传动杆底端贯穿顶板顶部,并延伸至圆筒内腔,所述传动杆外侧边缘固定连接有若干个搅拌杆,所述过滤筒外侧边缘套设有连接筒,所述圆筒内腔设有调节机构,所述圆筒外侧边缘设有收集机构。In order to achieve the above object, the present invention provides the following technical solutions: a filter device for oil phase solution used in the production of expanded ammonium nitrate explosives, comprising a cylinder, the bottom of the cylinder is provided with several through holes, and the bottom end of the cylinder is fixedly connected There is a filter cartridge, the top of the cylinder is provided with a top plate, the top of the top plate is provided with a motor, the power output shaft of the motor is fixedly connected with a transmission rod, and the bottom end of the transmission rod runs through the top of the top plate and extends to the inner cavity of the cylinder , the outer edge of the transmission rod is fixedly connected with several stirring rods, the outer edge of the filter cylinder is covered with a connecting cylinder, the inner cavity of the cylinder is provided with an adjustment mechanism, and the outer edge of the cylinder is provided with a collection mechanism.
优选的,所述调节机构包括中空圆框,所述中空圆框位于圆筒内腔靠近底端处,所述中空圆框左右两侧均开设有开槽,所述开槽内腔均设有扇形板,所述扇形板一侧位于中空圆框内腔,所述顶板顶部靠近左右两侧处均开设有弧形槽,所述扇形板顶部均固定连接有连接柱,所述连接柱顶端开设有螺纹孔,所述螺纹孔内腔啮合设有螺纹杆,所述螺纹杆顶端固定连接有固定杆,所述固定杆顶端贯穿相邻的弧形槽,并固定连接有握把,所述扇形板顶部均固定连接有固定板。Preferably, the adjustment mechanism includes a hollow circular frame, the hollow circular frame is located near the bottom end of the inner cavity of the cylinder, the left and right sides of the hollow circular frame are provided with slots, and the slotted inner cavity is provided with A fan-shaped plate, one side of the fan-shaped plate is located in the inner cavity of the hollow circular frame, and the top of the top plate is provided with arc-shaped grooves near the left and right sides, and the top of the fan-shaped plate is fixedly connected with a connecting column, and the top of the connecting column is opened There is a threaded hole, the inner cavity of the threaded hole is engaged with a threaded rod, the top of the threaded rod is fixedly connected with a fixed rod, the top of the fixed rod runs through the adjacent arc groove, and is fixedly connected with a handle, the sector The tops of the boards are all fixedly connected with a fixing board.
优选的,所述收集机构包括四个泵体,所述泵体固定连接在连接筒外侧边缘,所述泵体远离连接筒的一侧均固定连接有软管,所述圆筒外侧边缘固定连接有四个限位框,所述限位框内腔活动连接有滑块,所述滑块顶部和底部均固定连接有弹簧,所述弹簧一侧均固定连接在相邻的限位框内腔侧壁,所述滑块一侧均固定连接有固定U型板,所述固定U型板内腔设有连接框;Preferably, the collection mechanism includes four pump bodies, the pump bodies are fixedly connected to the outer edge of the connecting cylinder, the side of the pump body away from the connecting cylinder is fixedly connected to a hose, and the outer edge of the cylinder is fixedly connected to There are four limit frames, the cavity of the limit frame is movably connected with a slider, the top and bottom of the slider are fixedly connected with a spring, and one side of the spring is fixedly connected to the cavity of the adjacent limit frame The side wall, one side of the slider is fixedly connected with a fixed U-shaped plate, and the inner cavity of the fixed U-shaped plate is provided with a connecting frame;
所述软管远离泵体的一端均贯穿相邻的连接框一侧,并与其固定连接,四个所述固定U型板底部共同固定连接有圆环,所述圆环内腔固定连接有四个挡板,所述连接框外侧边缘均固定连接有两个L形杆。The ends of the hoses far away from the pump body run through the side of the adjacent connecting frame and are fixedly connected to it. The bottoms of the four fixed U-shaped plates are jointly fixedly connected with rings, and the inner cavity of the rings is fixedly connected with four two baffle plates, and two L-shaped rods are fixedly connected to the outer edge of the connecting frame.
优选的,所述圆筒外侧边缘靠近底端处固定连接有四个控制器,所述控制器顶部固定连接有按钮,所述控制器远离圆筒的一侧均固定连接有警报器。Preferably, four controllers are fixedly connected to the outer edge of the cylinder near the bottom end, buttons are fixedly connected to the top of the controllers, and alarms are fixedly connected to the sides of the controllers away from the cylinder.
优选的,所述顶板顶部靠近前后两侧处均固定连接有固定柱,所述固定柱一侧均固定连接有弹性杆,所述弹性杆远离固定柱的一端均固定连接有连接环,所述连接环套设在相邻的固定杆外侧边缘。Preferably, the top of the top plate is fixedly connected with a fixed column near the front and rear sides, one side of the fixed column is fixedly connected with an elastic rod, and the end of the elastic rod far away from the fixed column is fixedly connected with a connecting ring. The connecting ring is sleeved on the outer edge of the adjacent fixing rod.
优选的,所述圆筒外侧边缘靠近中心处固定连接有四个连接U型板,所述连接U型板内腔铰接有连接摆动板,所述连接摆动板远离圆筒的一侧均铰接有限位摆动板,所述限位摆动板外侧边缘靠近底部处铰接有限位U型板,所述限位U型板底部固定连接有竖杆,所述竖杆底端固定连接有底板。Preferably, four connecting U-shaped plates are fixedly connected near the center of the outer edge of the cylinder, the inner cavity of the connecting U-shaped plates is hinged with a connecting swing plate, and the side of the connecting swing plate away from the cylinder is hinged to a limited extent. A position swing plate, the outer edge of the limit swing plate is hinged to a limit U-shaped plate near the bottom, the bottom of the limit U-shaped plate is fixedly connected with a vertical rod, and the bottom end of the vertical rod is fixedly connected with a bottom plate.
优选的,所述顶板外侧边缘固定连接有四个L形板,所述顶板顶部靠近左右两侧处均固定连接有把手。Preferably, four L-shaped plates are fixedly connected to the outer edge of the top board, and handles are fixedly connected to the top of the top board near the left and right sides.
与现有技术相比,本发明的有益效果是:Compared with prior art, the beneficial effect of the present invention is:
1、本发明通过电机、中空圆框、扇形板、搅拌杆等结构之间的相互配合,可实现电机控制搅拌杆进行转动,搅拌杆对油相溶液进行搅拌,在对油相溶液搅拌完成后,移动固定杆,固定杆通过螺纹杆和连接柱带动扇形板进行移动,扇形板进入到中空圆框内部,从而油相溶液进入到过滤筒内部;1. The present invention can realize the motor to control the stirring rod to rotate through the mutual cooperation between the motor, the hollow round frame, the fan-shaped plate, the stirring rod, etc., and the stirring rod can stir the oil phase solution. After the oil phase solution is stirred , move the fixed rod, the fixed rod drives the fan-shaped plate to move through the threaded rod and the connecting column, and the fan-shaped plate enters the hollow circular frame, so that the oil phase solution enters the inside of the filter cartridge;
2、通过泵体、连接框、圆环、警报器等结构之间的相互配合,可实现泵体对过滤后的油相溶液进行吸收,油相溶液通过软管进入到连接框内部,连接框通过油相溶液的重量向下移动,连接框带动圆环进行移动,圆环带动挡板进行移动,挡板接触到按钮,从而启动警报器,操作人员便可得知连接框内部油相溶液的计量。2. Through the mutual cooperation between the pump body, connection frame, ring, alarm and other structures, the pump body can absorb the filtered oil phase solution, and the oil phase solution enters the connection frame through the hose, and the connection frame As the weight of the oil phase solution moves downward, the connection frame drives the ring to move, and the ring drives the baffle to move, and the baffle touches the button, thereby activating the alarm, and the operator can know the level of the oil phase solution inside the connection frame. measure.
附图说明Description of drawings
图1为本发明立体图;Fig. 1 is a perspective view of the present invention;
图2为本发明部件限位框结构示意图;Fig. 2 is a structural schematic diagram of a component limiting frame of the present invention;
图3为本发明部件连接框结构示意图;Fig. 3 is a structural schematic diagram of the component connection frame of the present invention;
图4为本发明部件过滤框结构示意图;Fig. 4 is a structural schematic diagram of a component filter frame of the present invention;
图5为本发明部件中空圆框结构示意图;Fig. 5 is a structural schematic diagram of a hollow circular frame of a component of the present invention;
图6为本发明部件螺纹杆结构示意图;Fig. 6 is a structural schematic diagram of the threaded rod of the parts of the present invention;
图7为本发明部件搅拌杆结构示意图;Fig. 7 is the structure schematic diagram of part stirring rod of the present invention;
图8为本发明部件限位摆动板结构示意图。Fig. 8 is a structural schematic diagram of the component limiting swing plate of the present invention.
图中标号:1、圆筒;2、过滤筒;3、连接U型板;4、连接摆动板;5、限位摆动板;6、限位U型板;7、竖杆;8、底板;9、连接筒;10、泵体;11、软管;12、连接框;13、控制器;14、警报器;15、按钮;16、固定U型板;17、圆环;18、L形杆;19、弹簧;20、限位框;21、电机;22、传动杆;23、握把;24、固定柱;25、L形板;26、连接环;27、顶板;28、挡板;29、中空圆框;30、扇形板;31、固定板;32、螺纹杆;33、固定杆;34、弹性杆;35、连接柱;36、搅拌杆;37、把手。Labels in the figure: 1, cylinder; 2, filter cartridge; 3, connecting U-shaped plate; 4, connecting swinging plate; 5, limiting swinging plate; 6, limiting U-shaped plate; 7, vertical bar; 8, bottom plate ;9, connecting cylinder; 10, pump body; 11, hose; 12, connecting frame; 13, controller; 14, alarm; 15, button; 16, fixed U-shaped plate; 17, ring; 18, L Shaped bar; 19, spring; 20, limit frame; 21, motor; 22, transmission rod; 23, handle; 24, fixed column; 25, L-shaped plate; 26, connecting ring; 29, hollow round frame; 30, fan-shaped plate; 31, fixed plate; 32, threaded rod; 33, fixed rod; 34, elastic rod; 35, connecting column; 36, stirring rod; 37, handle.
具体实施方式Detailed ways
下面将结合本发明实施例中的附图,对本发明实施例中的技术方案进行清楚、完整地描述,显然,所描述的实施例仅仅是本发明一部分实施例,而不是全部的实施例。基于本发明中的实施例,本领域普通技术人员在没有做出创造性劳动前提下所获得的所有其他实施例,都属于本发明保护的范围。The following will clearly and completely describe the technical solutions in the embodiments of the present invention with reference to the accompanying drawings in the embodiments of the present invention. Obviously, the described embodiments are only some, not all, embodiments of the present invention. Based on the embodiments of the present invention, all other embodiments obtained by persons of ordinary skill in the art without making creative efforts belong to the protection scope of the present invention.
本发明提供一种技术方案:The invention provides a technical solution:
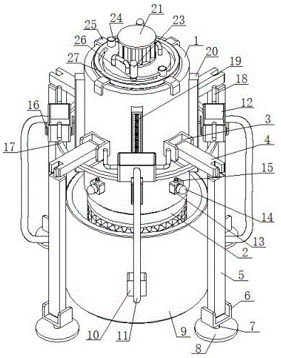
请参阅图1、图4-8,一种膨化硝铵炸药生产用油相溶液过滤装置,包括圆筒1,圆筒1底部开设有若干个通孔,圆筒1底端固定连接有过滤筒2,圆筒1顶端设有顶板27,顶板27顶部设有电机21,电机21动力输出轴固定连接有传动杆22,传动杆22底端贯穿顶板27顶部,并延伸至圆筒1内腔,传动杆22外侧边缘固定连接有若干个搅拌杆36,过滤筒2外侧边缘套设有连接筒9,圆筒1内腔设有调节机构,圆筒1外侧边缘设有收集机构;Please refer to Fig. 1, Fig. 4-8, an oil phase solution filtering device for the production of expanded ammonium nitrate explosives, including a cylinder 1, a plurality of through holes are opened at the bottom of the cylinder 1, and a filter cartridge is fixedly connected to the bottom of the cylinder 1 2. The top of the cylinder 1 is provided with a
调节机构包括中空圆框29,中空圆框29位于圆筒1内腔靠近底端处,中空圆框29左右两侧均开设有开槽,开槽内腔均设有扇形板30,扇形板30一侧位于中空圆框29内腔,顶板27顶部靠近左右两侧处均开设有弧形槽,扇形板30顶部均固定连接有连接柱35,连接柱35顶端开设有螺纹孔,螺纹孔内腔啮合设有螺纹杆32,螺纹杆32顶端固定连接有固定杆33,固定杆33顶端贯穿相邻的弧形槽,并固定连接有握把23,扇形板30顶部均固定连接有固定板31;The adjustment mechanism includes a hollow
顶板27顶部靠近前后两侧处均固定连接有固定柱24,固定柱24一侧均固定连接有弹性杆34,弹性杆34远离固定柱24的一端均固定连接有连接环26,连接环26套设在相邻的固定杆33外侧边缘,圆筒1外侧边缘靠近中心处固定连接有四个连接U型板3,连接U型板3内腔铰接有连接摆动板4,连接摆动板4远离圆筒1的一侧均铰接有限位摆动板5,限位摆动板5外侧边缘靠近底部处铰接有限位U型板6,限位U型板6底部固定连接有竖杆7,竖杆7底端固定连接有底板8,顶板27外侧边缘固定连接有四个L形板25,顶板27顶部靠近左右两侧处均固定连接有把手37;The top of the
电机21控制搅拌杆36进行转动,搅拌杆36对油相溶液进行搅拌,在对油相溶液搅拌完成后,移动固定杆33,固定杆33通过螺纹杆32和连接柱35带动扇形板30进行移动,扇形板30进入到中空圆框29内部,从而油相溶液进入到过滤筒2内部。The
进一步地,请参考图1-3,收集机构包括四个泵体10,泵体10固定连接在连接筒9外侧边缘,泵体10远离连接筒9的一侧均固定连接有软管11,圆筒1外侧边缘固定连接有四个限位框20,限位框20内腔活动连接有滑块,滑块顶部和底部均固定连接有弹簧19,弹簧19一侧均固定连接在相邻的限位框20内腔侧壁,滑块一侧均固定连接有固定U型板16,固定U型板16内腔设有连接框12;Further, please refer to Figures 1-3, the collection mechanism includes four
软管11远离泵体10的一端均贯穿相邻的连接框12一侧,并与其固定连接,四个固定U型板16底部共同固定连接有圆环17,圆环17内腔固定连接有四个挡板28,连接框12外侧边缘均固定连接有两个L形杆18;The end of the
圆筒1外侧边缘靠近底端处固定连接有四个控制器13,控制器13顶部固定连接有按钮15,控制器13远离圆筒1的一侧均固定连接有警报器14;Four
泵体10对过滤后的油相溶液进行吸收,油相溶液通过软管11进入到连接框12内部,连接框12通过油相溶液的重量向下移动,连接框12带动圆环17进行移动,圆环17带动挡板28进行移动,挡板28接触到按钮15,从而启动警报器14,操作人员便可得知连接框12内部油相溶液的计量。The
工作原理:在装置开始工作时,连接摆动板4和限位摆动板5配合底板8可对圆筒1进行限位,操作人员握住把手37,把手37带动顶板27进行移动,顶板27带动L形板25进行移动,并将油相溶液倒入到圆筒1内部,并再次将顶板27放置在圆筒1顶部,将螺纹杆32对准连接柱35,并转动握把23,握把23带动固定杆33进行转动,固定杆33带动螺纹杆32进行转动,将螺纹杆32转动至连接柱35内部,这时通过外接电源启动电机21,电机21带动传动杆22进行转动,传动杆22带动搅拌杆36进行转动,搅拌杆36对油相溶液进行搅拌,当油相溶液搅拌完成后,操作人员握住握把23,握把23带动固定杆33进行移动,固定杆33带动连接环26进行移动,连接环26带动弹性杆34进行拉伸,固定杆33通过螺纹杆32带动连接柱35进行移动,连接柱35带动扇形板30进行移动,扇形板30带动固定板31进行移动,扇形板30将进入到中空圆框29内部,与此同时,油相溶液将通过圆筒1进入到过滤筒2内部,过滤筒2将对油相溶液进行过滤,过滤后的油相溶液将进入到连接筒9内部;Working principle: when the device starts to work, the connecting
之后启动泵体10,泵体10对连接筒9内部的油相溶液进行吸收,油相溶液通过软管11输送到连接框12内部,连接框12带动固定U型板16进行移动,固定U型板16带动滑块进行移动,滑块带动弹簧19进行拉伸或者压缩,固定U型板16带动圆环17进行移动,圆环17带动挡板28进行移动,挡板28将接触到按钮15,按钮15启动控制器13,控制器13启动警报器14,警报器14将提醒操作人员连接框12内部的油相溶液即将溢出,并关闭泵体10,随后握住L形杆18,L形杆18带动连接框12进行移动,并对连接框12进行拿取,将连接框12内部的油相溶液进行单独储存,提高了装置的工作效率。Then start the
尽管已经示出和描述了本发明的实施例,对于本领域的普通技术人员而言,可以理解在不脱离本发明的原理和精神的情况下可以对这些实施例进行多种变化、修改、替换和变型,本发明的范围由所附权利要求及其等同物限定。Although the embodiments of the present invention have been shown and described, those skilled in the art can understand that various changes, modifications and substitutions can be made to these embodiments without departing from the principle and spirit of the present invention. and modifications, the scope of the invention is defined by the appended claims and their equivalents.
Claims (7)
Priority Applications (1)
| Application Number | Priority Date | Filing Date | Title |
|---|---|---|---|
| CN202310050212.XA CN115944964A (en) | 2023-02-01 | 2023-02-01 | Oil phase solution filter equipment is used in production of popped ammonium nitrate explosive |
Applications Claiming Priority (1)
| Application Number | Priority Date | Filing Date | Title |
|---|---|---|---|
| CN202310050212.XA CN115944964A (en) | 2023-02-01 | 2023-02-01 | Oil phase solution filter equipment is used in production of popped ammonium nitrate explosive |
Publications (1)
| Publication Number | Publication Date |
|---|---|
| CN115944964A true CN115944964A (en) | 2023-04-11 |
Family
ID=87287833
Family Applications (1)
| Application Number | Title | Priority Date | Filing Date |
|---|---|---|---|
| CN202310050212.XA Pending CN115944964A (en) | 2023-02-01 | 2023-02-01 | Oil phase solution filter equipment is used in production of popped ammonium nitrate explosive |
Country Status (1)
| Country | Link |
|---|---|
| CN (1) | CN115944964A (en) |
Cited By (1)
| Publication number | Priority date | Publication date | Assignee | Title |
|---|---|---|---|---|
| CN117417220A (en) * | 2023-11-22 | 2024-01-19 | 山西金恒化工集团股份有限公司 | Medium-low temperature sensitization device of emulsion explosive and application method thereof |
Citations (3)
| Publication number | Priority date | Publication date | Assignee | Title |
|---|---|---|---|---|
| CN210535522U (en) * | 2019-11-26 | 2020-05-15 | 江西省和德曼实业有限公司 | Oiling device is used in condenser production |
| CN214597722U (en) * | 2020-10-17 | 2021-11-05 | 江西长汇食品有限公司 | A waste cooking oil recovery device |
| CN216890732U (en) * | 2021-12-30 | 2022-07-05 | 云南安宁化工厂有限公司 | Emulsion explosive aqueous phase storage jar |
-
2023
- 2023-02-01 CN CN202310050212.XA patent/CN115944964A/en active Pending
Patent Citations (3)
| Publication number | Priority date | Publication date | Assignee | Title |
|---|---|---|---|---|
| CN210535522U (en) * | 2019-11-26 | 2020-05-15 | 江西省和德曼实业有限公司 | Oiling device is used in condenser production |
| CN214597722U (en) * | 2020-10-17 | 2021-11-05 | 江西长汇食品有限公司 | A waste cooking oil recovery device |
| CN216890732U (en) * | 2021-12-30 | 2022-07-05 | 云南安宁化工厂有限公司 | Emulsion explosive aqueous phase storage jar |
Cited By (2)
| Publication number | Priority date | Publication date | Assignee | Title |
|---|---|---|---|---|
| CN117417220A (en) * | 2023-11-22 | 2024-01-19 | 山西金恒化工集团股份有限公司 | Medium-low temperature sensitization device of emulsion explosive and application method thereof |
| CN117417220B (en) * | 2023-11-22 | 2024-03-26 | 山西金恒化工集团股份有限公司 | Medium-low temperature sensitization device of emulsion explosive and application method thereof |
Similar Documents
| Publication | Publication Date | Title |
|---|---|---|
| CN115944964A (en) | Oil phase solution filter equipment is used in production of popped ammonium nitrate explosive | |
| CN111906565A (en) | Motor cabinet hole processing equipment | |
| CN114307782A (en) | Integrated deoxidizer production and processing equipment and processing method thereof | |
| CN220591698U (en) | Cutting machine with dust collection function | |
| CN215355805U (en) | Two-way hem mechanism of panel | |
| CN214694003U (en) | A high-efficiency carbonization treatment equipment for animal husbandry waste | |
| CN210892602U (en) | Drying device for coating processing | |
| CN223198647U (en) | Dust collector of digit control machine tool | |
| CN108818713B (en) | An ultrasonic cutting machine with automatic blade cleaning system | |
| CN222670527U (en) | Screening and drying device for tea processing | |
| CN215942813U (en) | Slot type positioning mechanism of copper mesh | |
| CN219424235U (en) | Pig feed mixing proportioning device | |
| CN222123884U (en) | Fluidized bed dryer material bucket for pharmaceutical particle production | |
| CN221983063U (en) | Aluminum ash collection and recovery device | |
| CN212193743U (en) | Clamping mechanism for carbon product processing | |
| CN223351749U (en) | A wheat washing mechanism for flour processing | |
| CN221020069U (en) | Aluminum hull resistance waste material processing apparatus | |
| CN219616359U (en) | Building gypsum powder dust collector | |
| CN218502653U (en) | Grit screening plant is used in concrete processing | |
| CN223005237U (en) | Drying device for building material | |
| CN219464246U (en) | Industrial dust collector | |
| CN113084441A (en) | Steel pipe welding clamping table for construction site of constructional engineering | |
| CN212449727U (en) | A even feed supplement mechanism for pitch production and processing | |
| CN216807112U (en) | Clamping device for surface treatment of copper artware | |
| CN218350075U (en) | Leading-edge type multifunctional movable salt mist machine |
Legal Events
| Date | Code | Title | Description |
|---|---|---|---|
| PB01 | Publication | ||
| PB01 | Publication | ||
| SE01 | Entry into force of request for substantive examination | ||
| SE01 | Entry into force of request for substantive examination |
