CN1159001A - 探针及其制造以及使用探针的立式探针卡组件 - Google Patents
探针及其制造以及使用探针的立式探针卡组件 Download PDFInfo
- Publication number
- CN1159001A CN1159001A CN97101852A CN97101852A CN1159001A CN 1159001 A CN1159001 A CN 1159001A CN 97101852 A CN97101852 A CN 97101852A CN 97101852 A CN97101852 A CN 97101852A CN 1159001 A CN1159001 A CN 1159001A
- Authority
- CN
- China
- Prior art keywords
- probe
- plate
- board
- vertical
- electrode
- Prior art date
- Legal status (The legal status is an assumption and is not a legal conclusion. Google has not performed a legal analysis and makes no representation as to the accuracy of the status listed.)
- Granted
Links
Images
Classifications
-
- G—PHYSICS
- G01—MEASURING; TESTING
- G01R—MEASURING ELECTRIC VARIABLES; MEASURING MAGNETIC VARIABLES
- G01R1/00—Details of instruments or arrangements of the types included in groups G01R5/00 - G01R13/00 and G01R31/00
- G01R1/02—General constructional details
- G01R1/06—Measuring leads; Measuring probes
- G01R1/067—Measuring probes
- G01R1/07—Non contact-making probes
-
- G—PHYSICS
- G01—MEASURING; TESTING
- G01R—MEASURING ELECTRIC VARIABLES; MEASURING MAGNETIC VARIABLES
- G01R3/00—Apparatus or processes specially adapted for the manufacture or maintenance of measuring instruments, e.g. of probe tips
-
- G—PHYSICS
- G01—MEASURING; TESTING
- G01R—MEASURING ELECTRIC VARIABLES; MEASURING MAGNETIC VARIABLES
- G01R1/00—Details of instruments or arrangements of the types included in groups G01R5/00 - G01R13/00 and G01R31/00
- G01R1/02—General constructional details
- G01R1/06—Measuring leads; Measuring probes
- G01R1/067—Measuring probes
- G01R1/06711—Probe needles; Cantilever beams; "Bump" contacts; Replaceable probe pins
- G01R1/06716—Elastic
-
- G—PHYSICS
- G01—MEASURING; TESTING
- G01R—MEASURING ELECTRIC VARIABLES; MEASURING MAGNETIC VARIABLES
- G01R1/00—Details of instruments or arrangements of the types included in groups G01R5/00 - G01R13/00 and G01R31/00
- G01R1/02—General constructional details
- G01R1/06—Measuring leads; Measuring probes
- G01R1/067—Measuring probes
- G01R1/073—Multiple probes
- G01R1/07307—Multiple probes with individual probe elements, e.g. needles, cantilever beams or bump contacts, fixed in relation to each other, e.g. bed of nails fixture or probe card
- G01R1/07357—Multiple probes with individual probe elements, e.g. needles, cantilever beams or bump contacts, fixed in relation to each other, e.g. bed of nails fixture or probe card with flexible bodies, e.g. buckling beams
Landscapes
- Physics & Mathematics (AREA)
- General Physics & Mathematics (AREA)
- Testing Or Measuring Of Semiconductors Or The Like (AREA)
- Measuring Leads Or Probes (AREA)
Abstract
一种立式探针卡组件,包括:多根具有折弯部的探针,所述折弯部在接触部的端部接触到半导体集成电路的电极时发生折弯;设有第一电路板的第一板,所述第一电路板与探针的连接部相连;与所述第一板可拆卸地紧固并设有与第一电路板相连的第二电路板的第二板;与第二板装在一起用于夹持探针接触部的容置件;从而通过探针避免所不必要的接触点偏差、较好地保持了适当的接触压力,并便于损坏探针的更换工作。
Description
本发明涉及一种用于测量半导体集成电路电气特性的探针、该探针的制造以及使用该探针的立式探针卡组件,该组件避免了不必要希望的接触并便于更换探针。在1992年7月28日批准的美国专利第5134365号中对探针卡组件的概念作了解释。
参照附图24和25对现有技术的立式探针卡组件进行描述。
如图24所示,现有技术的立式探针卡组件由多根探针850、紧固探针850用的板860、以及安装在板860下侧的容置件870组成。
探针850通常呈针状,其前部为用于与半导体集成电路700的电极710相接触的接触部851,其后部为连接部852,该连接部通过连接器854如金线,连接到在板860上形成的电路上。
其中,在接触部851与连接部852之间形成通常为横U形的柔性部853。如图25所示,该柔性部853倾向于弯曲或挠曲,以便在接触部851与电极710之间接触时,保持必要的接触压力。
容置件870包括两个设有通孔871A、872A的导板871、872,以及一对用来通过板860对两个导板871、872进行紧固的壁823。两个导板871、872中的通孔871A、872A用来插入探针850的接触部851,并使它与半导体集成电路700的电极710的位置对准以供测量。
另一方面,在板860的上侧设有预定的电路板(未示),并设有可插入探针850连接部852的通孔861。如图25所示,插入通孔861中的连接部852连接到上述的电路板上。
然而,上述现有技术的立式探针卡组件存在以下问题或困难:
这种立式探针卡组件正常工作时通常安装有几百或几千根探针,但在工作过程中磨损或损坏的必须更换的探针只有几根。
这种更换或改变探针的工作需先将与连接部的连接起来的电路板上的焊接物去除,然后再将探针从板上拿下来。然而,每个探针850的横U字形柔性部853本身因位阻而不能通过板860的通孔861拉出。为此必须在更换探针850之前将容置件870卸下。当可在柔性部853处对探针加以切割时,有可能将探针850拿下来而无需拆卸。然而这种方法有时会损伤其它工作正常无需更换的探针,而且在立式探针卡组件中装有许许多多探针,这样做实际上也是不可能的。
就算这样来更换探针的方法是可能的,那么在将探针850从板860上拿下来之后需将新探针850从板860的通孔861以及两个导板871、872的通孔871A、872A插入,并使新探针的接触部851的高度位置与其它未更换探针一致,还要安排柔性部853的方向,以使它们相互不接触,然后再通过焊接将连接部852与电路板连接起来。因此,在大批量生产装有许许多多探针的探针卡组件的情况下,更换探针的工作是需要熟练人员非常仔细地进行操作的紧张的劳力密集型工作。
而且,现有探针卡组件具有这样的尺寸:板的垂直厚度约为6mm,容置件的垂直长度约为10mm,故探针的长度约为20mm。近来半导体集成电路在使用高速信号方面已取得很大进步,反过来要求尽可能短的探针和电路板以便将信号衰减和干扰预先减少到最小。虽然希望进一步缩短探针长度,然而现有立式探针卡组件中所用的探针长度至少为20mm。
此外,探针一般由粉末合金钨棒拉制的钨丝制成。因此,钨丝的拉制使裂纹或缺陷沿探针长度延伸,故拉制钨丝的加工部份即接触部具有更大的形成不规则的趋向,因而探针接触部比其它部分更容易吸引外来的夹杂物。
为了克服上述问题,对与电极接触的探针进行清洁,以便将接触部的外来夹杂物去除。或者先将接触部做成圆形。然而,清洁需要定期保养并导致使用探针的操作延缓,而为了将接触部做成圆形,在接触部端部处必须做成正确的半圆形是十分困难的。且同时要处理许许多多探针也是困难的,于是就降低了生产效率。
另一方面,一些电极为半圆凸起状。这些电极应用于具有平端接触部的探针,但这种探针在清洁时改变了端部的形状,因而难以得到正确的测量。
本发明的目的在于提供一种采用长度较短,并在装有许许多多探针的情况下也便于更换损坏探针的立式探针卡组件,适于这种组件的探针,以及制造这种探针的方法。
本发明的一种探针,其特征在于:其形状一般为针状,并具有一个当在其接触端部接触到半导体集成电路的电极时,发生弯曲或折弯的折弯部,其中,所述探针具有通常为圆形的截面,而其折弯部除接触端部外均比其它部分细;接触部和折弯部被做成直线状。本发明的一种制造探针的过程,其特征在于:所述过程用于制造一种与半导体集成电路的电极相接触的探针,所述过程具有加热融化所述用来与电极接触的接触部的步骤;以及从融化部分形成小球的步骤。
第一个立式探针卡组件结构,其特征在于由多根具有一段折弯部的探针,所述折弯部当探针接触部与半导体集成电路的电极接触时发生弯曲或折弯、一设有与所述探针的连接部相连的第一电路板的第一板、一块与所述第一板可拆卸地紧固并设有与所述第一电路板相连的第二电路板的第二板,以及用来夹持所述探针接触部的,与第二板安装在一起的容置件所组成。其中,所述探针具有通常为圆形的截面,而其折弯部除接触端部外均比其它部分细;接触部和折弯部被做成直线形;所述第一板设有用于相应探针插入的通孔,所述第二板设有用于探针以便从所述第一板悬挂状态延伸通过的空间。
第二个立式探针卡组件结构,其特征在于由多根分别设有折弯部的测量探针,所述折弯部当探针接触部与半导体集成电路的电极接触时发生折弯、一块设有与所述测量探针的连接端部相连的电路板的第一板、盖在所述第一板上并与其可拆卸地紧固的第二板,以及多个分别设有在将接触部的端部插入第二板所设的通孔,并与电路板接触时发生折弯的折弯部相连的探针所组成。其中,所述测量探针和所述连接探针具有通常为圆形的截面,而其折弯部除接触端部外均比其它部分细;接触部和折弯部通常被做成直线形;所述第一板设有用于插入所述测量探针的通孔,所述第二板设有连接到用于线路连接的探针连接部的后端的电路板。
第三个立式探针卡组件结构,其特征在于由多根分别设有接触部和折弯部的探针,所述折弯部当接触部与半导体集成电路的电极接触时发生折弯、一块至少在上侧设有电路板以便连接探针连接部的板,以及被安装在所述板下侧用来以支承探针的支承件所组成。其中,每个探针都具有通常为圆的截面,其折弯部除接触端部外均比其它部分细;所述接触部和折弯部被做成直线形;所述板设有供探针穿过的通孔;所述支承件包括:多个由绝缘材料制成并在外周设有多个凹槽,用于夹持探针折弯部份于凹槽内部的探针支承、用于可拆卸地将所述探针支承分别固定在所述板的下侧的固定装置。
附图简单说明:
图1为本发明的第一探针的正视图。
图2为专门用于解释折弯动作的本发明的探针的正视图。
图3为本发明的第二探针的正视图。
图4为本发明的第三探针的正视图。
图5为用于解释制造本发明探针的第一工序示意图。
图6为用于解释制造本发明探针的第二工序示意图。
图7为用于解释制造本发明探针的第三工序示意图。
图8为属于本发明的第一个立式探针卡组件的纵剖视图。
图9为表示第一探针卡组件动作的示意图。
图10为第一探针卡组件的分解示意图。
图11为第一探针卡组件关键部分的部分切除的立体图。
图12为属于本发明的第二个立式探针卡组件的纵剖视图。
图13为第二探针卡组件关键部分的动作示意图。
图14为属于本发明的第三个立式探针卡组件的纵剖视图。
图15为第三探针卡组件的分解示意图。
图16为属于本发明的第四个立式探针卡组件的部分切除的立体图。
图17为第四探针卡组件的分解示意图。
图18为属于本发明的第五个立式探针卡组件的纵剖视图。
图19表示从第五探针卡组件仰视的立体示意图。
图20表示装配在第五探针卡组件中的支承件的分解示意图。
图21为说明装在第五组件中的板与探针连接部之间连接关系的剖视图。
图22为说明探针支承件与探针之间连接关系的剖视图。
图23为说明探针在凹槽中配置的剖视图。
图24为属于传统相关技术的立式探针卡组件的纵剖视图。
图25为表示传统探针卡组件动作的剖视图,其中包括图(A)和(B)。
总起来说,这25张附图可以分为4类:探针结构,探针的制造,探针卡组件结构,以及相关技术。
图1至4用以表示探针结构,其中示出了三个实施例(图1表示第一实施例,图3表示第二实施例,图4表示第三实施例)。
图5至7用以表示探针的制造,其中示出了三个实施例(图5表示第一实施例,图6表示第二实施例,图7表示第三实施例)。
图8至23用以表示探针卡组件结构,其中示出了五个实施例(图8至11表示第一实施例,图12至13表示第二实施例,图14至15表示第三实施例,图16至17表示第四实施例,图18至23表示第五实施例)。
图24至25用以表示与本发明对应的相关技术。
本发明的具体描述和较佳实施例如下。
探针的特性
以下参照图1至4对本发明的探针进行说明。如图1所示,第一根探针的特点在于探针100整体上为线型的,像一根针或针状物,其截面一般为圆形,并具有折弯部120,该折弯部为除接触部110端部外比其它两个连接部110、130更细,以及台阶部102S。
探针100的另一个特点在于接触部110端部的某种情况,尽管这些在图1中并不具体,但已通过图5至7作了补充。即,在端部有一个很小的球(见图7,其中未示出球的大小),而且在球上罩了或镀了一层抗氧化、低电阻、高导电率的金属如铑、钯、铱、铂。覆盖了这些金属后,接触端就不会让电极610的组成材料铝附着在它的上面,从而将低了接触部110对氧化的敏感度,最后,使测量时的接触电阻值得到稳定。
具有一小球的探针的制造
在接触部110最前端所形成的小球,是通过对接触部110端部进行加热,利用融化部分产生表面张力的方法而自然地行成的。
对接触部110的端部的加热融化是通过如图5所示的激光照射,或通过如图6所示的高频线圈加热,或通过电弧放电加热进行的。
在如图5所示的用激光加热的情况下,专门准备了1000根(0.25毫米直径)镀镍钨丝、其接触部110通过电解抛光磨锐。这些钨丝被排列成20根×50根,相互间隔为1毫米,并固定地使接触部(图5中所示)朝下。
然后将YAG激光(例如75瓦,光束直径:约0.1至0.2毫米)在氦气中照射以脉冲波聚集在接触部110上,其中YAG激光从位于左右45度的两个激光源聚焦。YAG激光瞬即将钨丝W的接触部110加热融化并将激光的焦点移到下一根钨丝,其中融化作用的量系由YAG激光的脉冲速度来控制。
用YAG激光L来加热融化最好采用非氧气体如氦气或氮气,但在贵金属或抗氧化金属的情况下可采用空气。
高频感应加热的情况,如图6所示,多根钨丝以适当间隔(通常约1毫米)安排好。其中围绕钨丝的接触部110(图6中磨锐部份)装有高频感应线圈C,该线圈由高频电源通电,对接触部110进行加热融化。
另外,可采用电弧放电加热来代替激光或高频加热,对钨丝W的接触部110进行加热融化,当然最好在惰性气体中进行。
以上描述了利用自然产生的表面张力形成小球的技术。图7所示为一项替代技术,即事先准备好小球150,然后再以及将这些小球150加热并融化到钨丝或铍(berium)铜丝上去。
具体说来,直径为0.5毫米的钨丝,用旋转着的磨石将其端部磨得很尖锐,然后将小球150(直径为70微米)用氢-氧火焰加热熔接在钨丝的尖端上。
另一种就是直接融化方法,即夹持一具有与一小球150相接触的磨锐点的钨丝并在以这种方式夹持的状态下使一电流通过两接触物使其互相融化。这种方法适于工业批量制造且成本较低。
探针的进一步描述
现在回到探针100,参照图2说明折弯部120的重要性。如前所述,折弯部120被制成比除接触部110以外的其它两个部分更细或更窄的台阶部120S。因此,在接触部110处有力作用时,折弯部120将如预想的那样折弯,如图2所示,而这种特性是通过研磨抛光或电解抛光给予的。
连接部130用来将100与电路板310连接或固定起来。该连接部130从折弯部120引出成直线形(见图1或2),并在与板200安装固定时(见图16至18或图21),连接部130将部分地(例如约1至1.5毫米)伸出板200。该伸出部可用工具(未示)加以夹紧。
探针100的典型尺寸为折弯部120直径约40微米,长3毫米;接触部110长约2.5毫米;连接部130长约3.5毫米。如下面所述,操作中如过激量为0.1毫米,(过激量的定义为:从电极上与接触部尖端起始接触点开始的垂直推入长度),则接触压力为:10-20g/cm2;而当接触压力为15g/cm2时,电极与探针100之间的接触电阻估计约为0.5欧姆。
本发明并不排除其在接触部110端部只具有磨锐点而没有如前所述的小球150的探针100,因为其折弯部120在过激条件下,起着稳定地给出预定接触压力的作用。
采用上述探针的立式探针卡组件的描述
根据图8至11的描述
以下将参照图8至11对采用上述探针的立式探针卡组件的第一实施例进行描述。在下面的描述中,有时将把术语“立式探针卡组件”简称为“该种组件”、“本组件”或“组件”,如果这些缩写被认为能立即理解的话。
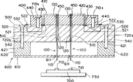
立式探针卡组件的第一实施例的特征在于包括:多个探针100,该探针具有当其接触部110的端部与半导体集成电路700的电极710接触时发生弯曲或折弯的折弯部120、设有与探针100连接部130相连接的第一电路板420的第一板400、可拆卸地与第一板400固定并设有与第一电路板420相连接的第二电路板520的第二板500,以及与用于控制探针100接触部110的第二板500一起安装的容置件600;其中,探针100具有通常为圆形的截面,而其折弯部120除接触部110的端部外,比其它部分更细,接触部110与折弯部120做成直线形;第二板500设有通过开口510,以供与第一板400安装在一起的探针100插入通过,从而形成一个整体。
第一板400为一块设有多个与探针100数目相应的通孔410的绝缘板,通孔410用于供探针100的连接部130插入通过,由于探针为直线形状,故这些通孔410被安排在与待测试半导体集成电路700的电极710直接对准的位置上。
在第一板400的上侧,设有由蚀刻铜箔形成的第一电路板420,以供半导体集成电路700的电极710通电并借助于探针100与测试装置(未示)相连接。并且其终端以接合部421的形式围绕通孔410,用焊料450将探针100的连接部130连接或固定在该接合部。第一电路板420的另一终端穿过另一通孔430,并从第一板400的下侧引出,并在那里形成凸起422,如图10所示。
上述第一板400在其四角处具有固定孔440,用于可拆卸地固定第二板500。
第二板500设有一个供与第一板400安装在一起的探针100插入通过的中央开口510。该开口510容许组成本组件的所有探针100穿过,也即设置在第一板400中的所有通孔410被水平地安置在第二板500与第一板400固定后,第二板500开口510的范围以内。
第二板500由玻璃加强环氧树脂板或聚酰亚胺薄片层压而成,其中第二电路板520系多层形成,多层形式的第二电路板520具有一个以接合部的形式暴露在第二板500表面上的终端521;其暴露处位于第二板500与第一板400固定时与从上述第一电路板420引出的凸起422对准的位置上。因此,将第二板500与第一板400固定后,即在第一和第二电路板之间产生电气连接。
第二电路板520的另一端522以接合部的形式暴露在第二板500上,固定时其暴露位置在第一板外面,即第二电路板520的另一端522暴露在第二板500上的位置被确定为当第一板400与第二板500固定后,第一板400尚未占据的外部位置。
第二板500具有与第一板400的固定孔440互相对准的固定孔530。即,在将第二板500放在第一板400上预定位置时,两个固定孔440、530就立即对齐,以使作为紧固用的螺栓或螺丝710S将第一板400与第二板500可拆卸地紧固器来。
这样,第一电路板420的端部即以第一板400下侧的凸起422的形式被与第二板500上侧的接合部处的第二电路板520的端部521连接了起来。
除固定孔530以外,第二板500还具有用来固定容置件600的通孔540。容置件600具有在与探针100对准位置处设有通孔611的导板610,以及供导板610与第二板500下侧紧固用的间隔片620。
间隔片620具有紧固孔621,其位置与上述第二板500的孔540对准。通过紧固螺丝720S装到孔540、621中,而将第二板500与容置件600紧固器来。
以下说明通过上述本发明组件来测量半导体集成电路700的电气特性的操作过程。
本组件被设置在提升器750的正上方。该提升器通过真空吸附来紧固或配置片状物(测量件)。提升器750与所设测量件一起从其起始位置向上移动,其中提升机构底部(图8中以点划线示于提升器750下方)如两个箭头方向,沿垂直方向运动(在以下的附图中略去提升机构底部),探针100的接触部110与在极板上形成的半导体集成电路的电极710开始相接触,然后因提升器750升起一小段距离而产生了过激量,由于这种过激作用使将探针100上下受压后,探针100的折弯部120就出现如图9所示的状态。因此保持了所需预定接触压力。在这种情况下,探针100的接触部110接触并垂直推入电极710,而无不必要的滑移或在电极710上滑动,从而实现了准确的测量。
当半导体集成电路700的电气特性测量结束时,提升器750降低至其起始位置,并通过真空吸附在提升器750上准备了新的测量件。
现在来说明在上述结构的本组件中,怎样对一些探针进行调换。
首先去除用第一电路板420连接或粘接起来的,并要调换的探针100的焊料450。从而使须调换的探针和第一板400分离或断开。再将须调换的探针向上拉出到第一板400外面,这就完成了须调换探针的拆除工作。
将一新的或替换探针100装入该组件。首先通过第一板400的通孔410从上面将新探针100插入组件。其中接触部110当然被插入穿过与上述通孔410对准的导板610的通孔611。新探针100的接触部110的最低点被准确定位以使它与其它探针100处在同一水平上,然后用焊料450将连接部130与第一电路板420的接合部421连接或粘接起来。
在使用一段规定时间后需调换许多探针100的情况下,允许同第一板400一起调换所有探针。在这种情况下,如图10所示,拆除螺丝710,即允许第一板400与第二板500脱开并允许更换装有新探针的新的第一板400,其中新的第一板400与老的第二板500之间,包括延伸到组件外面的测试装置(未示)的电气连接将借助第一电路板420和第二电路板520同时地完成。
根据图12和13的说明
以下将参照图12和13说明立式探针卡组件的另一实施例。
该第二组件在第二板500的结构方面有所不同。即在第一实施例中第二板500的结构,如前所述,为在内部具有一个大的中央开口,使所有探针都能在中央位置穿过。而在第二实施例中第二板500则设有分开的,用于使每根探针的能分别通过通孔。因此,第二实施例在这点上不同于第一实施例,而在其它方面则相似。
具体来说,第二实施例中的通孔510在位置方面与半导体集成电路700的电极710对准。即第二板500的通孔510被定位或配置成与第一板400的通孔410以及导板610的通孔611在垂直方向对准。
其中,第二板500的厚度被设计成具有足够或充分的长度,以便将探针100的折弯部120包括在厚度长度内。
由于在该第二实施例中探针100的折弯部120是在接触部110接触以后折弯的,各折弯部120由第二板500的通孔510以及导板610的通孔611加以控制和固定,从而完全避免了相邻探针100的折弯部120之间的接触。因此允许将探针100设置得更密。附图12和13虽然只示出了两个探针,但已在原理上作了证明。
探针100更换工作的步骤与前述第一实施例的描述大致相似。具体来说,首先去除焊料450,以将待更换探针100从第一电路板420上断开,然后将该探针100向上拉出到第一板400外面。从而将其从组件中完全拆除。
将新的或替换探针2100装入该组件。首先将新探针100经过第一板400的通孔410,从上方插入组件。其中接触部110当然会穿过导板610的通孔611,该通孔与上面的通孔410对准。新探针100的接触部110的最低点被准确定位或在高度方面与其它探针100处于相同水平上,然后用焊料450将连接部130的端部与第一电路板420的倒角部421相连接。
在使用一段规定时间后需调换许多探针100的情况下,允许同第一板400一起调换所有探针。在这种情况下,拆除螺丝710S即允许第一板400与第二板500脱开,并允许更换装有新探针的,新的第一板400。新的第一板400的接合应包括将各探针100插入第二板500的通孔510以及导板610的通孔611。
在该组件中,将第二板500的通孔510加到第一板400的通孔410上。这样一来,探针100插入第一板400的通孔410中去的工作,将使其后将探针100的接触部110的端部插入导板610的通孔611中去带来方便。这就是该实施例的独特作用,并从整体上看,方便了探针更换工作。
如图13所示,在该实施例的这种组件中,允许将探针100的折弯部120设计成位于第一和第二板400、500延伸对准的连接孔内,而不同于如图12所示的情况,其中用于折弯部120的通孔510仅在第二板500的厚度内形成。
在图13的情况下,第一板400的通孔410与第二板500的通孔510是独立于相邻的其它孔而相连接的,故避免了插入相邻孔中的探针100在折弯状态下相互接触,并可对折弯部120放在第一板400的通孔410中还是放在第二板500的通孔510中进行的选择,从而在调整必需实现的合成接触力时,确定折弯部120须有多少长度有更多的自由度。
还可采用与前述实施例的情况大致相同的方式,得到便于探针100更换工作的效果。
在前述的描述中,均假设容置件600的导板610由一层制成,但本发明并不限于这种情况,而可由两层或更多层制成,其中更多的叠层将更确实地保护探针100的接触部110的端部,以避免可能的位置偏差。
根据图14和15的描述
下面将参照图14和15,对立式探针卡组件的另一个实施例进行说明。
这种组件的特征在于:多个分别设有折弯部120A的用于测量的探针120A,该折弯部将在其接触部110A的端部处接触到半导体集成电路700的电极710时折弯;设有电路板910A的第一板900A,该电路图连接到测量用探针100A的连接部130A的端部;压在第一板900A上面并与其可拆卸地固定的第二板900B;多个分别设有折弯部120B的用于电路连接的探针100B,该折弯部将在被插入与第二板900B一起设置的通孔901B时在接触部110B的端部接触到电路板910A时折弯。
测量用探针(该术语将经常被缩写为“测量探针”)100A和电路连接用探针(该术语将经常被缩写为“连接探针”)100B均由钨丝或类似金属丝制成并通常被加工为L字形。即,测量探针100A和连接探针100B与图3或4所示的探针很相似,每个探针都包括具有磨锐前端部的接触部110A、110B,连接部130A、130B,以及介于接触部110A、110B与连接部130A、130B中间的折弯部120A、120B,其中连接部130A、130B通常被弯成与其它部分成直角。这些用于测量和电路连接的探针通常具有圆形截面。
接触部110A、110B的前端用抗氧化和低电阻金属如铑、钯、铱、铂镀覆。在接触部110A、110B的前端用这种金属镀覆,更多地避免了构成电极610的金属铝的附着,故接触部110A、110B由于接触电阻值的稳定而抗氧化。
折弯部120A、120B形成为比除接触部110A、110B的端部外的其它部分更细、更窄。为此,从上下作用在接触部110A、110B上的压力将使折弯部120A、120B折弯或弯曲,如图14所示。可采用研磨石抛光或电解抛光将折弯部120A、120B变窄。
连接部130A是用于将测量探针100A连接到第一板900A的电路板910A上的一个部分,该连接部130A包括从折弯部120A直线延伸的垂直分部131A和通常成直角在侧向延伸的侧向分部132A,以便将侧向分部132A设计成相对于接触部110A以及折弯部120A的延伸部份。
连接部130B是用于将测量探针100B连接到第二板900B的电路板910B上的一个部分,该连接部130B包括从折弯部120B直线延伸的垂直分部131B和通常成直角在侧向延伸的侧向分部132B,以使将侧向分部132B设计成相对于接触部110B以及折弯部120B的延伸部份。
通过对测量探针100A和连接探针100B的这种设计,将从弯曲点133A、133B到接触部110A、110B端部的垂直部分长度设定为与两个探针100A、100B的总和相等。相应地,当将测量探针100A插入或装入通孔901A时,就使各探针100A的接触部110A的端部的高度位置一致;而当将测量探针100B插入或装入通孔901B时,就以同样方式使各探针100B的接触部110B的端部的高度位置一致。
第一板900A为绝缘板并在对准配置测量探针100A位置处设有多个通孔901A,即通孔901A作为一用于置放测量探针100A的连接部130A的垂直分部131A的空间。此外,该板900A在其四角处具有固定第二板900B用的通孔912A。
在第一板900A的上侧通过例如蚀刻形成由铜箔制成的预定的电路板910A。如图14所示,电路板910A在通孔901A周围制成接合部。其中,通孔901A与电路板910A之间的长度被设定为稍短于测量探针100A的侧向分部132A的实际长度,以再次确保与测量探针100A的连接。
其中,第一板900A的电路板910A可仅由接合部或由接合部和电路部组成。如下面所述,这种形成是有选择性的,其理由是,测量探针100A在第一板900A上的配置必须根据半导体集成电路600的电极610的配置变化而变化,虽然从第二板900B来的探针110B和在第一板900A上形成的接合部位置关系是固定的,因此电路板910A在第一板900A上的长度是可变的。
然后将探针容置件200A安装在第一板900A的下侧,该容置件与图8和9所示的容置件600相似,并倾向于支承或引导测量探针100A的接触部110A,它包括设有通孔211A的导板210A和用于将导板210A与第一板900A紧固用的间隔块230A。导板210A的通孔211A位置被配置成与测量用半导体集成电路600的电极610的位置互相对准。
即,第一板900A、测量探针100A以及固定在第一板900A上的探针容置件200A的位置被设计成与测量用半导体集成电路600的电极610的位置互相对准,但电路板910A与于电极610的位置无关,而加以固定。见以上两段。
关于第二板900B,该板系由玻璃加强环氧树脂板或聚酰亚胺薄片层压而成,电路设计在多层(未示)内,并设有用于插入连接探针100B的通孔901B,其中连接探针100B的接触部110B的端部被制成延伸到第二板900B的下侧外面。此外,第二板900B在四角处具有紧固第一板900A用的通孔902B。
在第二板900B上侧,预定的由铜薄片蚀刻形成的连接电路板910B用于连接连接探针100B的侧向分部132B。连接电路板910B的端部将其接合部911B延伸至邻近通孔901B的位置上,其中,使通孔901B与接合部911B之间的长度稍短于连接探针100B的侧向分部132B的实际长度,以便再次确保与连接探针100B的连接。
安装在第二板900B上的连接电路板910B被连接到第二板900B中的多层电路(未示),该多层电路被连接到接头(未示)并进而被连接到测试装置(未示)。即,从半导体集成电路600到测试装置的信号是通过:测量探针100B、连接电路板910B和多层布线,然后到接头的传输路径进行传输的。
第一板900A与第二板900B系通过例如螺栓-螺母组成的紧固装置810加以紧固的。其间加以由弹性材料制成的垫片950例如橡皮垫片。该垫片950用于再次确保连接探针100B的接触部110B与第一板900A的电路板910A之间的电气连接。特别是接触部110B与电路板910A之间的接触压力将通过第一板900A与第二板900B之间的垫片950的变形作适当调节。
在第一板900A与第二板900B固定时,连接探针100B在其接触部110B处被压入电路板910A。为此,如图20所示,连接探针100B在其折弯部折弯并由此而在接触部110B与电路板910A之间保持适当的接触压力。
上述结构的本组件被用来测量半导体集成电路700的电气特性,同时通过测量探针100A的折弯部120A的折弯作用保持电极710与测量探针100A之间的接触压力。
上述本组件中,测量探针100A将会产生损坏。这些损坏的测量探针100A将通过下述方法予以更换。
首先从第一板900A上将第二板900B卸除,从而将第一板900A的上侧暴露。然后去除用电路板910A连接测量探针100A的焊料。同时在通孔901A中清除将测量探针100A与第一板900A粘接在一起的粘接剂。这样,就将待更换的测量探针100A实际上与第一板900A分离,并将这些探针从第一板900A向上拉出。从而将待更换的测量探针100A完全卸除。
新的或更换探针将被装入本装置。首先从上面将带有接触部前端的新的测量探针100A插入第一板900A的通孔。与此同时,接触部110A插入导板210A的通孔221A。将连接部130A的侧向分部132A放在预定的电路板910A上。在侧向分部132A与垂直分部131A之间的弯曲点处涂上粘接剂(未示)并将测量探针100A固定在第一板900A上。接着通过焊接(未示)连接侧向分部132A与电路板910A。从而将新的测量探针100A的接触部110A安装在第一板900A上,并使其高度与其它测量探针100A的接触部110A处在同一水平上。
一旦被损坏的测量探针100A更换结束,就使第二板900B与第一板900A紧固在一起。而在第二板900B的连接探针100B损坏的情况下,则必须先将第二板900B从第一板900A上卸除,然后再进行更换。其中,连接探针100B一般不容易损坏,因为其折弯部120B与测量探针100A不同,并不每次测量都要重复折弯动作。
为了测量具有不同电极电路板710的半导体集成电路的电气特性,上述本组件需更换包括第一板900A在内的元件,直至合适为止。
其中,为了改善高频信号的传输或避免其衰减,将具有低电阻的金属象金、银、铜或铝,镀覆在测量探针100A和连接探针100B的表面上是合适的。
根据图6和17的说明
以下将参照图16和17对立式探针卡组件的又一实施例进行说明。
这种组件的特征在于:多个具有折弯部120的探针100,该折弯部将在接触部110的前端接触到半导体集成电路的电极710时发生折弯;板490,至少在其上侧具有待连接到探针100上去的电路板491;用于安置探针100的容置件480被安装在板490的下侧;其中,探针100通常为圆形截面,其折弯部120除接触部110的端部外比其它部分更细,接触部110和折弯部被做成直线状;板490设有供探针100插入通过的通孔492,容置件480包括两块设有供探针100插入通过的通孔482的导板481,以及用于将导板481与板490紧固起来的安装件(未示,但与前面实施例中的间隔片相似)。
板490为一层压板,探针100插入其通孔492并以连接部130留在其中,连接部部分约1.0至1.5毫米在板的上侧外面未插入(大概是供用夹持工具夹持的长度),通过焊接将探针100与通孔492固定。
导板481具有两块垂直方向分离并侧向固定的板。导板481设有通孔482,而板490则设有通孔492,半导体集成电路700的电极710在位置上对准。因此,一根探针100被设计为直接穿过三个通孔481(两个)、492(一个)。如前所述,由于设有上下两个导板,故折弯部120的折弯将难以在接触部110的端部引起位置偏差,即,接触部110相对于电极710的位置偏差将被有效地控制到最小。
本组件中的操作和特点与前述实施例中的描述相似,因此省略。
根据图18至23的说明
以下将参照图18至23对立式探针卡组件的再一实施例进行说明。
立式探针卡组件的该实施例的特征在于:具有多个探针100,其中每个均设有接触部110、连接部130、以及折弯部120,该折弯部在接触部110的端部如前所述接触到半导体集成电路700的电极710时发生折弯;设有连接探针100的连接部130的电路板210的板200;其中,每个探针均为圆形截面,折弯部120除接触部110的端部外均比其它部分窄。
板200系由绝缘材料制成,并设有多个在位置配置上与探针100的通孔220对准。探针100的连接部130被插入通孔220。
在板200的上侧,例如铜箔为材料的,预定的电路板210用蚀刻而成。电路板210与从半导体集成电路700的电极710通过探针100设置在图外的测试装置(未示)有电气连接,而且电路板210以接合部的形式,在通孔220附近延伸其端部,如图18所示。
在板200的下侧安装有用于支承探针100的支承件300,它包括探针支承310和用于将探针支承310可拆卸地固定到板200的下侧的固定装置320。探针支承310由绝缘材料包括陶瓷例如氧化铝、氮化硅、氮化铝或各种塑料制成。
探针支承310通常被成形为在侧向伸长的矩形块,在其两条长边处形成有多个(图20所示为8个)垂直凹槽或沟槽311,以便安置探针100或将探针夹持在每条槽中。沟槽311的间隔必须与半导体集成电路700的电极710对准。
沟槽311的宽度被设计为比需夹持探针100的连接部130的直径大些,探针支承310即沟槽311的厚度或高度必须比折弯部120的长度长些,以便将折弯部120全部容纳在沟槽311的长度范围内。
在两个远距周边处设有供插入紧固装置320例如螺栓用的垂直通孔312,而在沟槽311侧面上的两个远距周边处,设有两个侧向孔313,用以将夹持板330与矩形块侧面固定,以便用螺栓340将探针100(图20所示为8个探针)紧固在适当位置上。其中在背侧装有同样的装置,尽管在图20中未表示出。
探针支承310可由通常称为可加工陶瓷,例如由HISHIDEN KASEI KK(日本厂商)生产的MIOCERAM 500方便地加工出来,但并不限于这种材料。其它可接受的材料,只要易处理或易加工,以便形成沟槽311并且是绝缘的即可。因此,不仅可从陶瓷中,而且可从塑料包括加强环氧树脂中找到合适的材料,其中形成沟槽311的切割加工,例如可采用带薄刀刃的回转刀具或用于切割极板的激光切割。
在将探针100插入或容纳在探针支承310的沟槽311中后,即通过螺丝340将板330紧固在探针支承上,使各探针被配置成其接触部110从探针支承310的下侧伸出同样长度,而其连接部130也从探针支承310的上侧伸出同样长度。通过紧固装置320(包括螺栓螺母组合)对多个探针支承310(图18中为4个)进行安装或紧固。从而探针100的连接部130穿过板200的通孔220从板200的上侧向上延伸。
通过焊接将连接部130连接到通孔220周围的接合部。其中连接部130在通过焊接连接后伸出焊料230一小段长度(具体约为1.0至1.5毫米)。
在采用探针100的这种结构中,连接部130位于从板200的通孔220到探针支承310的内部沟槽311,折弯部120位于沟槽311内,而接触部110则位于从沟槽311内部到其外部。
采用上述结构的立式探针卡组件对半导体集成电路700的电气特性进行测量的步骤如下:
用真空吸附装置将多个带有半导体集成电路700的硅薄片装在提升器750上,然后将提升器750向上提升到使半导体集成电路700的电极710与探针100的接触部110的端部相接触为止。
当接触部110与电极710接触后,再将提升器750提升,以产生过激效应。这样一来,探针100上下受压,探针100的折弯部120因电极710因有必要的接触压力作用而发生折弯。同时,由于折弯部位于沟槽311内部,故不会发生相邻探针之间的接触。
当半导体集成电路700的电气特性测量结束时,立即降下提升器750以准备下一测量。
假定本组件装有多个探针100,其中只有一个探针100损坏,则被损坏探针100的更换方法如下:
首先识别被损坏探针100属于哪个探针支承310,然后去除有关连接探针100的连接部130与电路板210的焊料,再松开连接探针支承310与板200的紧固装置320,并将探针支承310从板200上卸除。然后松开夹持板330,以便将损坏的探针100从探针支承310拆下来。
继续更换工作:将新探针100在沟槽311内配置在损坏探针100的位置上,并重新固定夹持板330,再将探针支承310包括新探针100与板200重新固定,同时将所有探针100重新焊接到电路板210上。
如果损坏探针100本身并不断裂,则其拆除方法如下:准备两把能导电的夹持工具,用一个夹钳将这两个工具装于接触部110,再将另一个夹钳装于连接部130,以使损坏而未断裂的探针100处于通过两夹钳的线路中,然后通以若干安培的电流若干秒钟,以加热融化连接探针100与电路板210的焊料。如果焊料被融化,则将损坏探针100向上拉出并将新探针100从上插入以作更换,并通过焊接将新探针100的连接部130连接到电路板210。
这种方法不需要拆除探针支承310,包括损坏探针100的步骤,故更换工作更为简便。
在以上描述中均假定探针100和沟槽311如同一杆与套筒管的关系那样在尺寸上相关,但本组件并不限于这种关系。
例如,如图22所示,可以通过绝缘接管嘴或油灰树脂350加以固定。在这种情况下,如果这种树脂350固定折弯部120,则该折弯部即不能折弯,因此树脂350的应用限于连接部130与沟槽311之间的区域,而在这种情况下,夹持板330的作用为保护树脂350以免流到沟槽311外面。
如果认为不会发生这种树脂350流到外面的情况,则就不再需要夹持板330。为此可减少本组件的零件数或制造步骤数以及更换工作所需步骤数。
如果在夹持探针100过程中采用这种树脂350,则如前所述,电流的传导将不但融化焊料堆,而且融化这种树脂350。
在以上述描述中,探针100均被假定为直线形,但并不受此限制,探针100可以为L字形,其中探针100的连接部130包括垂直分部131和与垂直分部131弯成大致直角的侧向分部132。
这种结构的探针100具有以下优点。在更换探针100的工作中,接触部110的端部的高度位置很容易取得一致,具体来说,在已将探针支承310固定的状态下,将探针100的接触部110的端部插入板200的通孔220和将连接部130的侧向分部132设置在板200的上侧,就决定了接触部110的高度位置。
再如图4所示,L字形探针100被设计成具有连接部130,该连接部包括与折弯部120成直线的垂直分部131和弯成与垂直分部131大致成直角的侧向分部132,而后又修改为将从垂直分部131弯曲的部分制成在弯曲处略为向上延伸以形成延伸端133。该延伸端133在如前所述用通电加热,以融化焊料堆的方法来做的更换工作中是很有用的。具体来说,延伸端133可便于在适当位置上应用夹持工具。
在以上描述中,是配置成一条沟槽311容纳或夹持一根探针100,但并不受此限制。例如,如图23所示,在一条沟槽中放置两根探针100是可行的。
多根探针100的这种配置,在当半导体集成电路700的电极710之间的间隔比沟槽311之间的间隔窄而其中沟槽311零件的精加工发生困难时,是有用的。其中电极710之间的间隔似乎部分地加工得窄一些。
这种情况下,将夹持在一条沟槽311中的两个相邻探针100之间保持绝缘或隔开,以及在两个探针之间加入一个楔形绝缘固定装置360就显得十分重要,如图23所示。
另外,在这种情况下,允许采用绝缘镀覆的探针100,此种绝缘镀覆至少可用于探针支承310的沟槽311内表面上。然而在采用上述镀覆探针100的情况下,推荐采用上述固定装置360。
本发明的优点
本发明的探针涉及一种探针,其特征在于:具有一个当在接触部的端部与半导体集成电路的电极接触时发生折弯的折弯部;并具有通常为圆形的截面,又使折弯部除接触部的端部外比其它部分窄,其中接触部与折弯部被做成直线状。
因此,采用本发明探针的立式探针卡组件与传统方式相比,探针的更换工作就变得很方便。
具体来说,探针的更换可以不必切割有问题的探针。即只要将有问题的探针从一电路板上松开,就能方便地将该探针从板上拉出。而在将新探针安装到该板上时,只需将探针插入板内,并将其与电路板连接其来就行。因此,与传统方式相比大大方便了探针更换工作。
在从用焊接连接其来的电路板上松开探针连接部分的工作方面,本发明揭示了供连接用的探针的延伸端的技术。现在假设所描述的探针已被损坏。然后通电加热融化而松开,也就是说,方便地将夹持工具加到延伸端并通以若干安培的电流,经若干秒钟后,即容易地将焊接连接融化。这样就可将被损坏的探针向上拉出,并在其后从上面将新的更换探针插入,故极为方便。
对于具有与折弯部成直线的垂直分部,和以直角弯曲的侧向分部为连接部的探针,本发明揭示了在弯曲点处形成向上延伸端的技术。在制作探针的情况下,探针的松开以及安装工作如上所述均十分方便,从垂直分部的上点到接触部端部的长度变得一致或固定。因此可使在探针高度位置一致化方面的工作量减少到最少。
对于具有与折弯部成直线的垂直分部和以直角弯曲的侧向分部为的连接部,而没有向上延伸端的探针,同样可使上述工作量减少到最少。
其中,假设上述探针与其它探针相似,被设计为从侧向分部与垂直分部之间的弯曲点到连接部端部具有相同长度,接触部位置一致化方面的工作量如上所述被省略。
而且,每个探针在其接触部端部均设有一小球,因此可排斥外来的夹杂物黏附。相应地这种问题因电极的组分铝粘附在接触部端部而不大可能,对此则另有措施。
关于带有要与半导体集成电路电极相接触的小球的探针的制造,其过程包括将需接触电极的接触部端部加热融化的步骤,以及对目标小球形成融化堆的步骤。因此探针的制造将不大可能产生有偏差的测量。
其中,对需与电极接触的零件可通过激光照射、高频线圈感应加热、电弧放电进行加热融化。
此外,另一种方法为将预先做好的小球压接到探针接触部端部。这种方法适于大批量生产和降低生产成本。
现在回到立式探针卡组件,首先,本发明包括一个立式探针卡组件,包括:多根具有折弯部的探针,所述折弯部在接触部的端部接触到半导体集成电路的电极时发生折弯;设有第一电路板的第一板,所述第一电路板与探针的连接部连接;与所述第一板可拆卸地紧固并设有与第一电路板连接的第二电路板的第二板;与第二板装在一起用于控制探针接触部的容置件;其特征在于:所述探针具有通常为圆形的截面,而其折弯部则除接触部端部外比其它部分细,所述接触部与所述折弯部形成为直线状,所述第一板设有通孔用以穿过相应的探针,所述第二板设有通过空间用以供探针以从第一板悬挂状态穿过。
在本组件中,探针被设计成其折弯部与接触部成直线状,第一板设有通孔,因此将连接在第一板上的电路板松开即可将探针从第一板中拉出,而且其结构便于安装新的探针。
此外,在需要更换多根探针的情况下,可很容易地仅更换一根探针或与第一板一起更换所有探针。因此可根据需要进行合理工作。
第二,本发明包括一个立式探针卡组件,包括:多根具有折弯部的测量探针,所述折弯部在接触部的端部接触到半导体集成电路的电极时发生折弯;设有电路板的第一板,所述电路板与测量探针的连接部端部连接;与所述第一板可拆卸地紧固并压在其上面的第二板;多根包括折弯部的连接探针,所述折弯部当被插入设在第二板的孔中而接触部的一端部接触到第一板所设电路板时发生折弯;其中第二板所设通孔被定位至与第一板所设电路板的配置对准;其中,测量探针和连接探针具有通常为圆形的截面,而且其折弯部除接触部端部外比其它部分更细,并形成直线状;其中,所述第一板设有供测量探针插入通过的通孔,而所述第二板设有供连接探针端部连接用的电路板。
与前述组件十分相似,本组件如上所述更换工作十分方便。
第三,本发明包括一立式探针卡组件,包括:多根具有接触部和折弯部的探针,所述折弯部在所述接触部的端部接触到半导体集成电路的电极时发生折弯;至少在其上侧设有与探针连接部相连接的板;被安装在所述板的下侧用于支承探针的支承件;其中,探针截面通常为圆形,而其折弯部除接触部端部外比其它部分窄,接触部与折弯部被做成直线状;其中,所述板设有供探针穿过的通孔;多个由绝缘材料制成的探针支承,所述探针支承在周缘设有多个用于容纳探针的沟槽,所述探针的折弯部位于所述沟槽内,而用于可拆卸地紧固所述探针支承的紧固装置位于所述板的外侧。
在本组件中,探针的折弯部做得比较窄,而接触部和折弯部则被做成为直线状,故更换探针时无需象传统技术那样切割有问题的探针。具体来说,松开探针与电路板之间的连接,即可容易地将探针从板中拉出,而在安装新探针时只需将新探针插入板中并与电路板连接即可。这与传统技术相比大为方便。
通过使折弯部变窄并与接触部保持直线性而使探针长度缩短。具体来说,传统技术中折弯部的直径与其它部分相同,其中折弯部是通过将导线弯成U字形而形成的,相应地在传统技术中用来准备一根探针总成的总长度较长。另一方面,鉴于近来在测量半导体集成电路的电气特性的过程中发生信号衰减或失真(其中主要是高速信号),所以今天的目标是缩短探针。其中,折弯部在接触部接触到半导体电路的电极时发生折弯,以再次确保所需的预定接触压力。
而且,支承件包括可拆卸地安装的夹持板,它将侧向关闭所述沟槽。因此,即使将有一些侧向力从外侧作用在其上面,但仍可避免探针从沟槽中脱取出,这样也将防止电气短路。
在采用树脂代替夹持板来固定被容纳在沟槽中的探针的情况下,其中,折弯部和接触部以外的部分采用固定。因此不再需要夹持板。从而简化了本组件的结构。
在将多根探针夹持在一个沟槽中的情况下,将采用更高度密集化的集成电路用于测量。
在上述将多根探针夹持在一个沟槽中的情况下,位于所述沟槽内的探针部分采用绝缘镀层进行镀覆。因此确保了更可靠的绝缘,故不会产生短路问题,并可测量更密集化的集成电路。
而且,在与上述同样情况下,其中,多根探针被夹持在一个沟槽中,并采用而绝缘固定物来固定上述探针,多根探针被配置成占据相应的位置,因此对多根探针可同时进行准确的测量。
Claims (20)
1.一种用于测量半导体集成电路的电气特性的探针,包括:具有通常为圆形的截面,以及被做成直线状的折弯部和接触部;所述折弯部在接触部端部接触到半导体集成电路的电极时发生折弯;所述折弯部被做成为除接触部端部外比其它部分窄。
2.如权利要求1所述的探针,所述探针还具有连接部,其特征在于:当所述探针与设置在探针卡组件板上的电路板连接时,将所述连接部的后端部为从焊料堆伸出,以供连接用。
3.如权利要求2所述的探针,其特征在于:所述连接部和折弯部被做成直线状。
4.如权利要求1所述的探针,其特征在于:所述连接部具有一个与所述折弯部成直线状的垂直分部、与所述垂直分部约成直角延伸的侧向分部,所述垂直分部的后端从所述侧向分部伸出。
5.如权利要求1所述的探针,其特征在于:所述连接部具有一个与所述折弯部成直线状的垂直分部,以及一个与所述垂直分部大致成直角的延伸侧向分部。
6.如权利要求4或5所述的探针,其特征在于:从在连接部的所述侧向分部与所述垂直分部之间形成的弯曲点到接触部端部的长度是固定的。
7.如权利要求1、2、3、4、5、或6所述的探针,其特征在于:所述接触部端部制有一个小球。
8.一种制造用于与半导体集成电路的电极接触的探针的方法,包括以下步骤:加热融化与电极接触的接触部,并在在一个小球内形成一个融化部。
9.如权利要求8所述的探针,其特征在于:加热融化与电极接触的接触部系通过激光照射进行。
10.如权利要求8所述的探针,其特征在于:加热融化与电极接触的接触部系通过高频加热线圈进行。
11.如权利要求8所述的探针,其特征在于:加热融化与电极接触的接触部系通过电弧放电进行。
12.如权利要求8所述的探针,其特征在于:加热融化与电极接触的接触部系通过将一个导电小球压到电极接触部来进行的。
13.一个立式探针卡组件,包括:多根具有折弯部的探针,所述折弯部在接触部的端部接触到半导体集成电路的电极时发生折弯;设有第一电路板的第一板,所述第一电路板与探针的连接部相连;与所述第一板可拆卸地紧固并设有与第一电路板相连的第二电路板的第二板;与第二板装在一起用于控制探针接触部的容置件;其特征在于:所述探针具有通常为圆形的截面而其折弯部则除接触部端部外比其它部分细,所述接触部与所述折弯部均做成直线状,所述第一板设有通孔用以穿过相应的探针,所述第二板设有通过空间,用以供探针从第一板悬挂状态穿过。
14.一个立式探针卡组件,包括:多根具有折弯部的测量探针,所述折弯部在接触部的端部接触到半导体集成电路的电极时发生折弯;设有第一电路板的第一板,所述第一电路板与测量探针的连接部端部相连;与所述第一板可拆卸地紧固并压向在其上面的第二板;多根具有折弯部的连接探针,所述折弯部当被插入设在第二板的孔中而接触部的一端部接触到第一板所设电路板时发生折弯;其中第二板所设通孔被定位至与第一板所设电路板的配置对准;其中,测量探针和连接探针具有通常为圆形的截面而且其折弯部除接触部端部外比其它部分更细,并做成直线状;其中,所述第一板设有供测量探针插入通过的通孔,而所述第二板设有供连接探针端部连接用的电路板。
15.一个立式探针卡组件,包括:多根具有接触部和折弯部的探针,所述折弯部在所述接触部的端部接触到半导体集成电路的电极时发生折弯;至少在其上侧设有与探针的连接部相连接的板;被安装在所述板的下侧用于支承探针的支承件;其中,探针截面通常为圆形而其折弯部除接触部端部外比其它部分窄,接触部与折弯部被做成直线状;其中,所述板设有供探针穿过的通孔;多个由绝缘材料制成的探针支承,所述探针支承在周缘设有多个用于容置探针的沟槽,所述探针的折弯部位于所述沟槽内,而用于可拆卸地紧固所述探针支承的紧固装置则位于所述板的外侧。
16.如权利要求15所述的立式探针卡组件,其特征在于:所述探针支承可拆卸地装设有用于在所述沟槽中侧向关闭探针的夹持板。
17.如权利要求15或16所述的立式探针卡组件,其特征在于:所述夹持在所述沟槽中的探针通过树脂被固定在其所述折弯部和所述接触部以外的部分。
18.如权利要求15、16或17所述的立式探针卡组件,其特征在于:在一个沟槽中夹持有多根探针。
19.如权利要求18所述的立式探针卡组件,其特征在于:所述被夹持在一个沟槽中的多根探针在所述沟槽内的被夹持部分用绝缘镀层镀覆。
20.如权利要求18或19所述的立式探针卡组件,其特征在于:所述被夹持在一个沟槽中的多根探针采用绝缘固定装置加以固定。
Applications Claiming Priority (9)
| Application Number | Priority Date | Filing Date | Title |
|---|---|---|---|
| JP51053/1996 | 1996-02-13 | ||
| JP8051053A JP2913617B2 (ja) | 1996-02-13 | 1996-02-13 | 縦型プローブカード |
| JP51053/96 | 1996-02-13 | ||
| JP71512/96 | 1996-02-29 | ||
| JP71512/1996 | 1996-02-29 | ||
| JP8071512A JPH09236619A (ja) | 1996-02-29 | 1996-02-29 | 縦型プローブカード |
| JP141081/1996 | 1996-05-10 | ||
| JP14108196A JP3592441B2 (ja) | 1996-05-10 | 1996-05-10 | 縦型プローブカード |
| JP141081/96 | 1996-05-10 |
Publications (2)
| Publication Number | Publication Date |
|---|---|
| CN1159001A true CN1159001A (zh) | 1997-09-10 |
| CN1129797C CN1129797C (zh) | 2003-12-03 |
Family
ID=27294181
Family Applications (1)
| Application Number | Title | Priority Date | Filing Date |
|---|---|---|---|
| CN97101852A Expired - Fee Related CN1129797C (zh) | 1996-02-13 | 1997-02-13 | 使用探针的立式探针卡组件 |
Country Status (7)
| Country | Link |
|---|---|
| US (2) | US6294922B1 (zh) |
| EP (1) | EP0790502A3 (zh) |
| KR (1) | KR100212169B1 (zh) |
| CN (1) | CN1129797C (zh) |
| CA (1) | CA2197373A1 (zh) |
| SG (1) | SG71690A1 (zh) |
| TW (1) | TW332863B (zh) |
Cited By (34)
| Publication number | Priority date | Publication date | Assignee | Title |
|---|---|---|---|---|
| CN1296716C (zh) * | 2003-05-08 | 2007-01-24 | 山一电机株式会社 | 探针装置及其制造方法 |
| CN100432687C (zh) * | 2002-12-12 | 2008-11-12 | 东京毅力科创株式会社 | 检验方法及检验装置 |
| CN100458450C (zh) * | 2003-07-02 | 2009-02-04 | 株式会社日立制作所 | 探针板及使用探针片或探针板的半导体检测装置及半导体装置的制造方法 |
| CN100504399C (zh) * | 2004-10-20 | 2009-06-24 | 日本发条株式会社 | 接触单元及检查系统 |
| CN100561233C (zh) * | 2006-07-19 | 2009-11-18 | 东京毅力科创株式会社 | 探针卡的固定机构、探针卡的固定方法以及探针装置 |
| CN100573161C (zh) * | 2006-01-19 | 2009-12-23 | 力晶半导体股份有限公司 | 探针测量装置及系统 |
| CN1821789B (zh) * | 2005-02-16 | 2010-05-26 | 旺矽科技股份有限公司 | 垂直式探针卡 |
| CN102033193A (zh) * | 2009-06-03 | 2011-04-27 | 康代有限公司 | 用于测量电路的电气性能的方法和系统 |
| CN102053173A (zh) * | 2009-11-04 | 2011-05-11 | 日本麦可罗尼克斯股份有限公司 | 探针引导件、探针板及使用它的半导体装置的试验方法 |
| CN102141577A (zh) * | 2010-02-01 | 2011-08-03 | 汉民测试系统科技股份有限公司 | 电路板及利用该电路板所组成的探针卡 |
| CN101158700B (zh) * | 2006-10-08 | 2011-09-28 | 上海华虹Nec电子有限公司 | 探针卡 |
| CN102435927A (zh) * | 2010-09-22 | 2012-05-02 | 富士电机株式会社 | 探针单元 |
| CN102879617A (zh) * | 2011-07-12 | 2013-01-16 | 旺矽科技股份有限公司 | 应用于点测装置的平板探针结构及其制作方法 |
| CN101957389B (zh) * | 2009-07-13 | 2013-09-04 | 巧橡科技有限公司 | 测试装置及其制造方法 |
| CN103597361A (zh) * | 2011-06-15 | 2014-02-19 | 株式会社神户制钢所 | 电接触构件 |
| CN104865426A (zh) * | 2015-05-11 | 2015-08-26 | 南京协辰电子科技有限公司 | 一种测试探针装置 |
| CN104950148A (zh) * | 2014-03-25 | 2015-09-30 | 旺矽科技股份有限公司 | 垂直式探针装置及使用于该垂直式探针装置的支撑柱 |
| CN107636474A (zh) * | 2015-02-26 | 2018-01-26 | 沙朗特有限责任公司 | 多集成尖端扫描探针显微镜 |
| CN107643496A (zh) * | 2017-10-30 | 2018-01-30 | 重庆大及电子科技有限公司 | 一种电源模块测试装置 |
| CN109564244A (zh) * | 2016-07-28 | 2019-04-02 | 日本电产理德股份有限公司 | 检查辅助具、具备所述辅助具的基板检查装置及检查辅助具的制造方法 |
| US10436814B2 (en) | 2015-02-26 | 2019-10-08 | Xallent, LLC | Systems and methods for manufacturing nano-electro-mechanical-system probes |
| CN110389243A (zh) * | 2018-04-18 | 2019-10-29 | 中华精测科技股份有限公司 | 探针卡装置及其矩形探针 |
| CN110716072A (zh) * | 2018-07-13 | 2020-01-21 | 日本电产理德股份有限公司 | 探针、检查工具及检查装置 |
| CN111157879A (zh) * | 2020-01-03 | 2020-05-15 | 深圳市景旺电子股份有限公司 | 印制电路板的层偏检测方法及层偏检测结构 |
| US10663484B2 (en) | 2018-02-14 | 2020-05-26 | Xallent, LLC | Multiple integrated tips scanning probe microscope with pre-alignment components |
| US10866273B2 (en) | 2016-03-09 | 2020-12-15 | Xallent, LLC | Functional prober chip |
| CN112557713A (zh) * | 2020-12-08 | 2021-03-26 | 中国工程物理研究院激光聚变研究中心 | 激光诱导强脉冲电流注入装置 |
| CN112798823A (zh) * | 2020-12-17 | 2021-05-14 | 中国电子科技集团公司第十三研究所 | 用于老化加电的cos夹具 |
| CN113030536A (zh) * | 2019-12-24 | 2021-06-25 | 爱思开海力士有限公司 | 探针测试卡及其制造方法 |
| CN113219220A (zh) * | 2020-01-21 | 2021-08-06 | 中华精测科技股份有限公司 | 探针卡装置及其指向性探针 |
| CN113219221A (zh) * | 2020-01-21 | 2021-08-06 | 中华精测科技股份有限公司 | 探针卡装置及其类颈式探针 |
| CN114252755A (zh) * | 2020-09-25 | 2022-03-29 | 埃萨伊公司 | 带双角腔的集成电路器件测试工具 |
| CN114636844A (zh) * | 2022-03-25 | 2022-06-17 | 苏州晶睿半导体科技有限公司 | 半导体器件测试探针台 |
| CN114733976A (zh) * | 2022-04-25 | 2022-07-12 | 丹东富田精工机械有限公司 | 一种带加热的旋转式探针折弯设备 |
Families Citing this family (51)
| Publication number | Priority date | Publication date | Assignee | Title |
|---|---|---|---|---|
| DE19748825B4 (de) * | 1997-11-05 | 2004-09-09 | Feinmetall Gmbh | Prüfkopf mit einer Kontaktiervorrichtung |
| US6812718B1 (en) | 1999-05-27 | 2004-11-02 | Nanonexus, Inc. | Massively parallel interface for electronic circuits |
| US6799976B1 (en) | 1999-07-28 | 2004-10-05 | Nanonexus, Inc. | Construction structures and manufacturing processes for integrated circuit wafer probe card assemblies |
| US7247035B2 (en) | 2000-06-20 | 2007-07-24 | Nanonexus, Inc. | Enhanced stress metal spring contactor |
| US7382142B2 (en) | 2000-05-23 | 2008-06-03 | Nanonexus, Inc. | High density interconnect system having rapid fabrication cycle |
| US7349223B2 (en) | 2000-05-23 | 2008-03-25 | Nanonexus, Inc. | Enhanced compliant probe card systems having improved planarity |
| JP2001074777A (ja) * | 1999-08-31 | 2001-03-23 | Kanai Hiroaki | プローブカード用プローブ針 |
| US7579848B2 (en) | 2000-05-23 | 2009-08-25 | Nanonexus, Inc. | High density interconnect system for IC packages and interconnect assemblies |
| US7952373B2 (en) | 2000-05-23 | 2011-05-31 | Verigy (Singapore) Pte. Ltd. | Construction structures and manufacturing processes for integrated circuit wafer probe card assemblies |
| JP2002131334A (ja) * | 2000-10-24 | 2002-05-09 | Nec Yamaguchi Ltd | プローブ針、プローブカード、及びプローブカードの作製方法 |
| JP2002231399A (ja) * | 2001-02-02 | 2002-08-16 | Fujitsu Ltd | 半導体装置試験用コンタクタ及びその製造方法 |
| US6972578B2 (en) | 2001-11-02 | 2005-12-06 | Formfactor, Inc. | Method and system for compensating thermally induced motion of probe cards |
| US7071714B2 (en) | 2001-11-02 | 2006-07-04 | Formfactor, Inc. | Method and system for compensating for thermally induced motion of probe cards |
| JP4088121B2 (ja) | 2002-08-14 | 2008-05-21 | 富士通株式会社 | コンタクタの製造方法 |
| US6924654B2 (en) * | 2003-03-12 | 2005-08-02 | Celerity Research, Inc. | Structures for testing circuits and methods for fabricating the structures |
| JP2004363165A (ja) * | 2003-06-02 | 2004-12-24 | Tokyo Seimitsu Co Ltd | ウェーハ処理装置およびウェーハ処理方法 |
| US6900652B2 (en) * | 2003-06-13 | 2005-05-31 | Solid State Measurements, Inc. | Flexible membrane probe and method of use thereof |
| DE60312692T2 (de) * | 2003-10-13 | 2007-12-06 | Technoprobe S.P.A, Cernusco Lombardone | Prüfkopf mit vertikalen Prüfnadeln für integrierte Halbleitergeräte |
| US20050174136A1 (en) * | 2004-02-09 | 2005-08-11 | Jiachun Zhou | Test pin back surface in probe apparatus for low wear multiple contacting with conductive elastomer |
| CN100357745C (zh) * | 2004-02-17 | 2007-12-26 | 财团法人工业技术研究院 | 集成化探针卡及组装方式 |
| US20060066328A1 (en) * | 2004-09-30 | 2006-03-30 | Probelogic, Inc. | Buckling beam probe test assembly |
| CN100360943C (zh) * | 2004-11-29 | 2008-01-09 | 华硕电脑股份有限公司 | 具有防止压力过大的测试装置 |
| JP4187718B2 (ja) * | 2004-12-20 | 2008-11-26 | 松下電器産業株式会社 | プローブカード |
| AT504288B1 (de) * | 2005-04-12 | 2010-04-15 | Technoprobe Spa | Prüfkopf mit vertikalen prüfnadeln für integrierte halbleitergeräte |
| EP1737075B1 (de) | 2005-06-23 | 2017-03-08 | Feinmetall GmbH | Kontaktiervorrichtung |
| TWI273247B (en) * | 2005-11-24 | 2007-02-11 | Mjc Probe Inc | Microhole guide plate with enhanced structure |
| KR100723413B1 (ko) * | 2005-11-25 | 2007-05-30 | 삼성전자주식회사 | 데이터 기록 및 읽기용 멀티 프로브와 그 동작 방법 |
| US7825675B2 (en) * | 2006-11-01 | 2010-11-02 | Formfactor, Inc. | Method and apparatus for providing active compliance in a probe card assembly |
| US20080122469A1 (en) * | 2006-11-28 | 2008-05-29 | Visera Technologies, Company Ltd. | Probe card for testing image-sensing chips |
| US20080143357A1 (en) * | 2006-12-13 | 2008-06-19 | International Business Machines Corporation | High power cobra interposer wtih integrated guard plate |
| JP5099487B2 (ja) * | 2007-08-03 | 2012-12-19 | 軍生 木本 | 複数梁合成型接触子 |
| EP2060921A1 (en) * | 2007-11-16 | 2009-05-20 | Technoprobe S.p.A | Contact probe for testing head having vertical probes and related testing head for testing microstructure electric performance |
| US8390308B2 (en) * | 2008-02-29 | 2013-03-05 | Research In Motion Limited | Testbed for testing electronic circuits and components |
| US7900344B2 (en) * | 2008-03-12 | 2011-03-08 | Commscope, Inc. Of North Carolina | Cable and connector assembly apparatus |
| KR100996924B1 (ko) * | 2008-04-21 | 2010-11-26 | 윌테크놀러지(주) | 프로브 기판 및 이를 포함하는 프로브 카드 |
| TWI369498B (en) * | 2008-06-18 | 2012-08-01 | Star Techn Inc | Probe and probe card for integrated circiut devices using the same |
| US7872486B2 (en) * | 2008-09-02 | 2011-01-18 | Texas Instruments Incorporated | Wing-shaped support members for enhancing semiconductor probes and methods to form the same |
| US8466704B1 (en) * | 2010-04-19 | 2013-06-18 | Altera Corporation | Probe cards with minimized cross-talk |
| US8984745B2 (en) | 2013-01-24 | 2015-03-24 | Andrew Llc | Soldered connector and cable interconnection method |
| DE102013008324A1 (de) * | 2013-05-08 | 2014-11-13 | Feinmetall Gmbh | Elektrische Kontaktiervorrichtung |
| KR101718717B1 (ko) * | 2015-08-11 | 2017-04-04 | (주)다원넥스뷰 | 프로브 본딩장치 및 이를 이용한 프로브 본딩방법 |
| IT201600079679A1 (it) * | 2016-07-28 | 2018-01-28 | Technoprobe Spa | Scheda di misura di dispositivi elettronici |
| JP6832661B2 (ja) * | 2016-09-28 | 2021-02-24 | 株式会社日本マイクロニクス | プローブカード及び接触検査装置 |
| US11002761B2 (en) * | 2017-07-25 | 2021-05-11 | Keithley Instruments, Llc | Probe card system for testing an integrated circuit |
| US12000865B2 (en) * | 2019-02-14 | 2024-06-04 | Microfabrica Inc. | Multi-beam vertical probes with independent arms formed of a high conductivity metal for enhancing current carrying capacity and methods for making such probes |
| IT201900014208A1 (it) * | 2019-08-07 | 2021-02-07 | Technoprobe Spa | Testa di misura di dispositivi elettronici e relativa scheda di misura |
| TWI712802B (zh) * | 2020-01-21 | 2020-12-11 | 中華精測科技股份有限公司 | 探針卡裝置及其類頸式探針 |
| TWD227961S (zh) * | 2022-04-29 | 2023-10-11 | 南韓商普因特工程有限公司 | 半導體檢測針 |
| TWD226028S (zh) * | 2022-04-29 | 2023-06-21 | 南韓商普因特工程有限公司 | 半導體檢測針 |
| KR102842330B1 (ko) * | 2022-11-23 | 2025-08-05 | 김태윤 | 프로브와 그 제조방법 |
| KR102814767B1 (ko) * | 2023-04-12 | 2025-05-29 | 니덱어드밴스테크놀러지코리아 주식회사 | Pcb 검사용 지그 |
Family Cites Families (15)
| Publication number | Priority date | Publication date | Assignee | Title |
|---|---|---|---|---|
| US4027935A (en) * | 1976-06-21 | 1977-06-07 | International Business Machines Corporation | Contact for an electrical contactor assembly |
| US4554506A (en) * | 1981-06-30 | 1985-11-19 | International Business Machines Corporation | Modular test probe |
| US4618821A (en) * | 1983-09-19 | 1986-10-21 | Lenz Seymour S | Test probe assembly for microelectronic circuits |
| ATE113384T1 (de) * | 1986-10-14 | 1994-11-15 | Feinmetall Gmbh | Nadelkarte. |
| DE3736689A1 (de) * | 1986-11-18 | 1988-05-26 | Luther Erich | Adapter fuer ein leiterplattenpruefgeraet |
| DE3903060A1 (de) * | 1989-02-02 | 1990-08-09 | Minnesota Mining & Mfg | Vorrichtung zum pruefen von integrierten schaltungsanordnungen |
| US5134365A (en) | 1989-07-11 | 1992-07-28 | Nihon Denshizairyo Kabushiki Kaisha | Probe card in which contact pressure and relative position of each probe end are correctly maintained |
| US5124639A (en) * | 1990-11-20 | 1992-06-23 | Motorola, Inc. | Probe card apparatus having a heating element and process for using the same |
| US5378971A (en) * | 1990-11-30 | 1995-01-03 | Tokyo Electron Limited | Probe and a method of manufacturing the same |
| US5325052A (en) * | 1990-11-30 | 1994-06-28 | Tokyo Electron Yamanashi Limited | Probe apparatus |
| US5367254A (en) * | 1993-02-01 | 1994-11-22 | International Business Machines Corporation | Test probe assembly using buckling wire probes within tubes having opposed overlapping slots |
| JPH06291167A (ja) * | 1993-04-01 | 1994-10-18 | Hitachi Ltd | プローブカード |
| US5534784A (en) * | 1994-05-02 | 1996-07-09 | Motorola, Inc. | Method for probing a semiconductor wafer |
| EP0740160A1 (en) * | 1995-04-24 | 1996-10-30 | Nihon Denshizairyo Kabushiki Kaisha | Vertically operative probe card assembly |
| US5720098A (en) * | 1995-05-12 | 1998-02-24 | Probe Technology | Method for making a probe preserving a uniform stress distribution under deflection |
-
1996
- 1996-12-20 KR KR1019960069206A patent/KR100212169B1/ko not_active Expired - Lifetime
- 1996-12-23 US US08/773,252 patent/US6294922B1/en not_active Expired - Lifetime
- 1996-12-30 TW TW085116275A patent/TW332863B/zh not_active IP Right Cessation
-
1997
- 1997-01-07 SG SG1997000018A patent/SG71690A1/en unknown
- 1997-02-12 CA CA002197373A patent/CA2197373A1/en not_active Abandoned
- 1997-02-12 EP EP97300909A patent/EP0790502A3/en not_active Withdrawn
- 1997-02-13 CN CN97101852A patent/CN1129797C/zh not_active Expired - Fee Related
-
1998
- 1998-09-04 US US09/148,147 patent/US6300783B1/en not_active Expired - Lifetime
Cited By (54)
| Publication number | Priority date | Publication date | Assignee | Title |
|---|---|---|---|---|
| CN100432687C (zh) * | 2002-12-12 | 2008-11-12 | 东京毅力科创株式会社 | 检验方法及检验装置 |
| CN1296716C (zh) * | 2003-05-08 | 2007-01-24 | 山一电机株式会社 | 探针装置及其制造方法 |
| CN100458450C (zh) * | 2003-07-02 | 2009-02-04 | 株式会社日立制作所 | 探针板及使用探针片或探针板的半导体检测装置及半导体装置的制造方法 |
| CN100504399C (zh) * | 2004-10-20 | 2009-06-24 | 日本发条株式会社 | 接触单元及检查系统 |
| CN1821789B (zh) * | 2005-02-16 | 2010-05-26 | 旺矽科技股份有限公司 | 垂直式探针卡 |
| CN100573161C (zh) * | 2006-01-19 | 2009-12-23 | 力晶半导体股份有限公司 | 探针测量装置及系统 |
| CN100561233C (zh) * | 2006-07-19 | 2009-11-18 | 东京毅力科创株式会社 | 探针卡的固定机构、探针卡的固定方法以及探针装置 |
| CN101158700B (zh) * | 2006-10-08 | 2011-09-28 | 上海华虹Nec电子有限公司 | 探针卡 |
| CN102033193A (zh) * | 2009-06-03 | 2011-04-27 | 康代有限公司 | 用于测量电路的电气性能的方法和系统 |
| CN101957389B (zh) * | 2009-07-13 | 2013-09-04 | 巧橡科技有限公司 | 测试装置及其制造方法 |
| CN102053173A (zh) * | 2009-11-04 | 2011-05-11 | 日本麦可罗尼克斯股份有限公司 | 探针引导件、探针板及使用它的半导体装置的试验方法 |
| CN102053173B (zh) * | 2009-11-04 | 2015-04-22 | 日本麦可罗尼克斯股份有限公司 | 探针引导件、探针板及使用它的半导体装置的试验方法 |
| CN102141577A (zh) * | 2010-02-01 | 2011-08-03 | 汉民测试系统科技股份有限公司 | 电路板及利用该电路板所组成的探针卡 |
| CN102435927B (zh) * | 2010-09-22 | 2014-07-09 | 富士电机株式会社 | 探针单元 |
| CN102435927A (zh) * | 2010-09-22 | 2012-05-02 | 富士电机株式会社 | 探针单元 |
| CN103597361A (zh) * | 2011-06-15 | 2014-02-19 | 株式会社神户制钢所 | 电接触构件 |
| CN103597361B (zh) * | 2011-06-15 | 2016-10-12 | 株式会社神户制钢所 | 电接触构件 |
| CN102879617A (zh) * | 2011-07-12 | 2013-01-16 | 旺矽科技股份有限公司 | 应用于点测装置的平板探针结构及其制作方法 |
| CN104950148B (zh) * | 2014-03-25 | 2017-10-27 | 旺矽科技股份有限公司 | 垂直式探针装置及使用于该垂直式探针装置的支撑柱 |
| CN104950148A (zh) * | 2014-03-25 | 2015-09-30 | 旺矽科技股份有限公司 | 垂直式探针装置及使用于该垂直式探针装置的支撑柱 |
| CN107636474A (zh) * | 2015-02-26 | 2018-01-26 | 沙朗特有限责任公司 | 多集成尖端扫描探针显微镜 |
| US11573247B2 (en) | 2015-02-26 | 2023-02-07 | Xallent Inc. | Systems and methods for manufacturing nano-electro-mechanical-system probes |
| US10436814B2 (en) | 2015-02-26 | 2019-10-08 | Xallent, LLC | Systems and methods for manufacturing nano-electro-mechanical-system probes |
| US11125774B2 (en) | 2015-02-26 | 2021-09-21 | Xallent Llc | Systems and methods for manufacturing nano-electro-mechanical-system probes |
| US10545171B2 (en) | 2015-02-26 | 2020-01-28 | Xallent, LLC | Systems and methods for manufacturing nano-electro-mechanical-system probes |
| US10613115B2 (en) | 2015-02-26 | 2020-04-07 | Xallent, LLC | Multiple integrated tips scanning probe microscope |
| US10895585B2 (en) | 2015-02-26 | 2021-01-19 | Xallent, LLC | Multiple integrated tips scanning probe microscope |
| CN104865426B (zh) * | 2015-05-11 | 2017-11-03 | 南京协辰电子科技有限公司 | 一种测试探针装置 |
| CN104865426A (zh) * | 2015-05-11 | 2015-08-26 | 南京协辰电子科技有限公司 | 一种测试探针装置 |
| US10866273B2 (en) | 2016-03-09 | 2020-12-15 | Xallent, LLC | Functional prober chip |
| US11280825B2 (en) | 2016-03-09 | 2022-03-22 | Xallent Llc | Functional prober chip |
| CN109564244B (zh) * | 2016-07-28 | 2022-01-07 | 日本电产理德股份有限公司 | 检查辅助具、基板检查装置及检查辅助具的制造方法 |
| CN109564244A (zh) * | 2016-07-28 | 2019-04-02 | 日本电产理德股份有限公司 | 检查辅助具、具备所述辅助具的基板检查装置及检查辅助具的制造方法 |
| CN107643496B (zh) * | 2017-10-30 | 2023-10-20 | 重庆大及电子科技有限公司 | 一种电源模块测试装置 |
| CN107643496A (zh) * | 2017-10-30 | 2018-01-30 | 重庆大及电子科技有限公司 | 一种电源模块测试装置 |
| US10663484B2 (en) | 2018-02-14 | 2020-05-26 | Xallent, LLC | Multiple integrated tips scanning probe microscope with pre-alignment components |
| CN110389243B (zh) * | 2018-04-18 | 2022-05-06 | 台湾中华精测科技股份有限公司 | 探针卡装置 |
| CN110389243A (zh) * | 2018-04-18 | 2019-10-29 | 中华精测科技股份有限公司 | 探针卡装置及其矩形探针 |
| CN110716072A (zh) * | 2018-07-13 | 2020-01-21 | 日本电产理德股份有限公司 | 探针、检查工具及检查装置 |
| US11933818B2 (en) | 2019-12-24 | 2024-03-19 | SK Hynix Inc. | Probe test card and method of manufacturing the same |
| CN113030536A (zh) * | 2019-12-24 | 2021-06-25 | 爱思开海力士有限公司 | 探针测试卡及其制造方法 |
| CN111157879A (zh) * | 2020-01-03 | 2020-05-15 | 深圳市景旺电子股份有限公司 | 印制电路板的层偏检测方法及层偏检测结构 |
| CN111157879B (zh) * | 2020-01-03 | 2022-09-13 | 深圳市景旺电子股份有限公司 | 印制电路板的层偏检测方法及层偏检测结构 |
| CN113219220A (zh) * | 2020-01-21 | 2021-08-06 | 中华精测科技股份有限公司 | 探针卡装置及其指向性探针 |
| CN113219221A (zh) * | 2020-01-21 | 2021-08-06 | 中华精测科技股份有限公司 | 探针卡装置及其类颈式探针 |
| CN113219221B (zh) * | 2020-01-21 | 2023-08-01 | 台湾中华精测科技股份有限公司 | 探针卡装置及其类颈式探针 |
| CN113219220B (zh) * | 2020-01-21 | 2023-10-10 | 台湾中华精测科技股份有限公司 | 探针卡装置及其指向性探针 |
| CN114252755A (zh) * | 2020-09-25 | 2022-03-29 | 埃萨伊公司 | 带双角腔的集成电路器件测试工具 |
| CN112557713A (zh) * | 2020-12-08 | 2021-03-26 | 中国工程物理研究院激光聚变研究中心 | 激光诱导强脉冲电流注入装置 |
| CN112798823A (zh) * | 2020-12-17 | 2021-05-14 | 中国电子科技集团公司第十三研究所 | 用于老化加电的cos夹具 |
| CN114636844A (zh) * | 2022-03-25 | 2022-06-17 | 苏州晶睿半导体科技有限公司 | 半导体器件测试探针台 |
| CN114636844B (zh) * | 2022-03-25 | 2025-08-01 | 苏州晶睿半导体科技有限公司 | 半导体器件测试探针台 |
| CN114733976A (zh) * | 2022-04-25 | 2022-07-12 | 丹东富田精工机械有限公司 | 一种带加热的旋转式探针折弯设备 |
| CN114733976B (zh) * | 2022-04-25 | 2023-09-15 | 丹东富田精工机械有限公司 | 一种带加热的旋转式探针折弯设备 |
Also Published As
| Publication number | Publication date |
|---|---|
| KR100212169B1 (ko) | 1999-08-02 |
| EP0790502A3 (en) | 1999-03-17 |
| KR970075919A (ko) | 1997-12-10 |
| US6294922B1 (en) | 2001-09-25 |
| SG71690A1 (en) | 2000-04-18 |
| CA2197373A1 (en) | 1997-08-14 |
| CN1129797C (zh) | 2003-12-03 |
| TW332863B (en) | 1998-06-01 |
| EP0790502A2 (en) | 1997-08-20 |
| US6300783B1 (en) | 2001-10-09 |
Similar Documents
| Publication | Publication Date | Title |
|---|---|---|
| CN1159001A (zh) | 探针及其制造以及使用探针的立式探针卡组件 | |
| CN1206719C (zh) | 接触器、其制造方法、探针板. 及半导体器件测试插座 | |
| CN1204612C (zh) | 半导体器件测试用接触开关及其制造方法 | |
| CN1145802C (zh) | 微电子弹簧接触元件及电子部件 | |
| CN1281966C (zh) | 探针片、探针卡及半导体检查装置 | |
| CN1166957C (zh) | 半导体器件测试用探针及其制造方法和使用它的探针装置 | |
| CN1246932C (zh) | 各向异性导电性连接器、其制造方法以及探针构件 | |
| CN1169404C (zh) | 陶瓷加热器 | |
| CN100343956C (zh) | 等离子加工方法和设备及用于等离子加工的托架 | |
| CN1191605C (zh) | 在电镀和/或电抛光期间装载和定位半导体工件的方法与设备 | |
| CN1175711C (zh) | 陶瓷衬底和制造陶瓷衬底的处理 | |
| CN1153258C (zh) | 基片的加工设备、支撑设备、加工及制造方法 | |
| CN1155998C (zh) | 薄片电阻测定器及电子零件制造方法 | |
| CN1409119A (zh) | 探头部件及其制造 | |
| CN1484855A (zh) | 陶瓷接合体 | |
| CN1607653A (zh) | 螺旋接触器制造方法 | |
| CN1578600A (zh) | 部件接合装置及方法与部件安装装置 | |
| CN1681106A (zh) | 半导体集成电路器件的制造方法及探针卡 | |
| CN1349101A (zh) | 各向异性导电薄板、其制造工艺及其应用的产品 | |
| CN1171167A (zh) | 微电子组件的复合中间连接元件及其制法 | |
| CN1591812A (zh) | 测试插件其使用的测头 | |
| CN1175483C (zh) | 晶片探测器和晶片探测器用的陶瓷基底 | |
| CN1290169C (zh) | 具有利用激光方法成型的接触电极的接触器 | |
| CN1757139A (zh) | 各向异性导电薄片及其制造工艺,适配器装置及其制造工艺,和用于电路装置的电气检查设备 | |
| CN1742526A (zh) | 电路基板用部件、电路基板的制造方法及电路基板的制造装置 |
Legal Events
| Date | Code | Title | Description |
|---|---|---|---|
| C06 | Publication | ||
| PB01 | Publication | ||
| C10 | Entry into substantive examination | ||
| SE01 | Entry into force of request for substantive examination | ||
| C14 | Grant of patent or utility model | ||
| GR01 | Patent grant | ||
| C17 | Cessation of patent right | ||
| CF01 | Termination of patent right due to non-payment of annual fee |
Granted publication date: 20031203 Termination date: 20110213 |