CN115779534A - Sewage treatment device - Google Patents
Sewage treatment device Download PDFInfo
- Publication number
- CN115779534A CN115779534A CN202310068846.8A CN202310068846A CN115779534A CN 115779534 A CN115779534 A CN 115779534A CN 202310068846 A CN202310068846 A CN 202310068846A CN 115779534 A CN115779534 A CN 115779534A
- Authority
- CN
- China
- Prior art keywords
- sewage
- impurity
- filter element
- scraper
- pressing die
- Prior art date
- Legal status (The legal status is an assumption and is not a legal conclusion. Google has not performed a legal analysis and makes no representation as to the accuracy of the status listed.)
- Granted
Links
- 239000010865 sewage Substances 0.000 title claims abstract description 95
- 239000012535 impurity Substances 0.000 claims abstract description 105
- 238000004140 cleaning Methods 0.000 claims abstract description 29
- 238000001914 filtration Methods 0.000 claims abstract description 8
- 230000033001 locomotion Effects 0.000 claims description 6
- 230000005540 biological transmission Effects 0.000 claims description 3
- 239000002351 wastewater Substances 0.000 claims 4
- 238000004065 wastewater treatment Methods 0.000 claims 3
- 239000007787 solid Substances 0.000 abstract description 17
- 230000000694 effects Effects 0.000 description 5
- 238000007790 scraping Methods 0.000 description 5
- XLYOFNOQVPJJNP-UHFFFAOYSA-N water Substances O XLYOFNOQVPJJNP-UHFFFAOYSA-N 0.000 description 5
- 238000010586 diagram Methods 0.000 description 4
- 230000013011 mating Effects 0.000 description 4
- 238000003911 water pollution Methods 0.000 description 3
- 230000009286 beneficial effect Effects 0.000 description 1
- 230000006835 compression Effects 0.000 description 1
- 238000007906 compression Methods 0.000 description 1
- 238000007599 discharging Methods 0.000 description 1
- 230000007613 environmental effect Effects 0.000 description 1
- 239000003344 environmental pollutant Substances 0.000 description 1
- 238000011010 flushing procedure Methods 0.000 description 1
- 230000003116 impacting effect Effects 0.000 description 1
- 230000008676 import Effects 0.000 description 1
- 239000010842 industrial wastewater Substances 0.000 description 1
- 238000000034 method Methods 0.000 description 1
- 230000002093 peripheral effect Effects 0.000 description 1
- 231100000719 pollutant Toxicity 0.000 description 1
- 239000002689 soil Substances 0.000 description 1
- 239000000126 substance Substances 0.000 description 1
- 238000005406 washing Methods 0.000 description 1
Images
Classifications
-
- Y—GENERAL TAGGING OF NEW TECHNOLOGICAL DEVELOPMENTS; GENERAL TAGGING OF CROSS-SECTIONAL TECHNOLOGIES SPANNING OVER SEVERAL SECTIONS OF THE IPC; TECHNICAL SUBJECTS COVERED BY FORMER USPC CROSS-REFERENCE ART COLLECTIONS [XRACs] AND DIGESTS
- Y02—TECHNOLOGIES OR APPLICATIONS FOR MITIGATION OR ADAPTATION AGAINST CLIMATE CHANGE
- Y02W—CLIMATE CHANGE MITIGATION TECHNOLOGIES RELATED TO WASTEWATER TREATMENT OR WASTE MANAGEMENT
- Y02W10/00—Technologies for wastewater treatment
- Y02W10/10—Biological treatment of water, waste water, or sewage
Landscapes
- Filtration Of Liquid (AREA)
Abstract
The invention provides a sewage treatment device, which relates to the technical field of sewage filtration and comprises a supporting platform; the cylinder body is arranged on the supporting platform and is provided with an impurity outlet; the filter element is rotatably arranged in the barrel, and the side surface of the bottom of the filter element and the inner circle side wall of the barrel form an annular cavity; the pressing die is arranged in the cylinder body in a lifting manner; during the use, sewage gets into the sewage cavity and passes through the filter core and filters, and solid impurity stays in the sewage cavity, and the control moulding-die moves down and is in the open mode with impurity cleaning device, and the moulding-die moves down and pushes away solid impurity to the annular intracavity, and the rotary drive structure drives the filter core simultaneously and rotates and make solid impurity pass through the scraper blade and scrape away, then discharges through the impurity export, has effectively alleviateed piling up of solid impurity on the filter core surface, improves the ability of sewage circulation to improve whole sewage treatment's efficiency.
Description
Technical Field
The invention relates to the technical field of sewage filtration, in particular to a self-cleaning sewage treatment device.
Background
Sewage treatment is a process of purifying sewage to meet the water quality requirement of discharging the sewage into a certain water body or reusing the sewage. Sewage treatment is widely applied to various fields such as building, agriculture, traffic, energy, petrifaction, environmental protection, urban landscape, medical treatment, catering and the like, and is increasingly used in daily life of common people. There are two types of water pollution, based on the nature of the water pollution: one is natural pollution; the other is artificial pollution, and the current water body is greatly damaged by the artificial pollution. Water pollution can be mainly classified into chemical pollution, physical pollution and biological pollution according to different pollution impurities. The pollutants mainly comprise industrial wastewater, domestic sewage, farmland sewage, water and soil loss, mine sewage and the like.
Traditionally, among the sewage treatment plant, in order to in time clear away the impurity on attaching to the filter screen in time, one kind is detachable filter screen, clear away the solid impurity who filters out on it through dismantling the filter screen, another kind is the alternating filter screen, one of them filter screen is in filtering the station, another one filter screen is in on the non-filterable station, two filter screen alternate use, make things convenient for artifical or automatic impurity of clearing up on it, the inevitable can of this kind of sewage treatment plant causes the piling up of solid impurity on the filter position, can slow down the ability of sewage circulation when solid impurity piles up too much, thereby reduce whole sewage treatment's efficiency. Therefore, the sewage treatment device capable of automatically cleaning impurities is provided on the basis.
Disclosure of Invention
The invention aims to provide a sewage treatment device, and aims to solve the problems that solid impurities are inevitably accumulated on a filtering position of the sewage treatment device in the prior art, and the sewage flow capacity is reduced when the solid impurities are excessively accumulated.
In order to realize the purpose, the invention adopts the following technical scheme: the sewage treatment device comprises:
a support platform;
the cylinder body is arranged on the supporting platform and is provided with an impurity outlet;
the filter element is rotatably arranged in the barrel and used for filtering sewage, and the side surface of the bottom of the filter element and the inner circle side wall of the barrel form an annular cavity;
the pressing die is arranged in the cylinder body in a liftable manner;
the rotary driving structure is arranged between the pressing die and the filter element and is used for converting the lifting motion of the pressing die into the rotary motion of the filter element;
the impurity cleaning device is arranged on the supporting platform and has an opening state and a closing state, the impurity cleaning device comprises a scraper for opening or closing an impurity outlet, and when the impurity cleaning device is in the closing state, the scraper seals the impurity outlet; when the impurity cleaning device is in an open state, one side of the scraper is in contact with the side surface of the filter element;
when the pressing die rises, the impurity cleaning device is in a closed state, and a sewage chamber is formed between the pressing die and the cylinder body and used for allowing sewage to enter the sewage chamber; when the pressing die descends, the impurity cleaning device is in an open state, the pressing die pushes impurities in the sewage chamber into the annular chamber, the impurities in the annular chamber pass through the position of the scraper along with the rotation of the filter element, and the impurities are scraped away by the scraper and then are discharged through the impurity outlet.
The further technical scheme of the invention is that the device also comprises a lifting driving device, wherein the movable end of the lifting driving device is fixedly connected to the top of the pressing die, and the fixed end of the lifting driving device is fixedly arranged on an external support frame.
According to a further technical scheme, the scraper is provided with an arc-shaped surface.
According to a further technical scheme, the filter element support comprises a support fixedly connected to the bottom of the cylinder, the support comprises an annular seat, the annular seat is rotatably connected with the filter element through a bearing, and a connecting strip fixedly connected with the cylinder is fixedly arranged on the annular seat.
According to a further technical scheme, a sewage inlet is formed in the top of the pressing die, so that sewage can enter the sewage cavity through the sewage inlet.
The invention has the further technical scheme that the rotary driving structure comprises a guide rod arranged on the pressing die and a guide hole arranged on the filter element, the guide hole is in sliding fit with the guide rod, a gap between the guide rod and the guide hole can enable the filter element to rotate relative to the guide rod, a spiral plate is fixedly arranged at the bottom of the guide rod, a strip-shaped hole is formed at the bottom of the guide hole, and the strip-shaped hole is matched with the spiral plate.
The invention has the further technical scheme that a first limiting boss is arranged at the bottom of the guide rod, a second limiting boss is arranged at the top of the guide hole, and the first limiting boss is positioned right below the second limiting boss.
According to a further technical scheme, the impurity cleaning device comprises a rotating shaft fixedly arranged on the impurity outlet, a scraping plate rotatably arranged on the outer surface of the rotating shaft and a driving mechanism for driving the scraping plate to rotate.
According to a further technical scheme, the driving mechanism comprises a driving motor, and the output end of the driving motor is in transmission connection with the scraper through a connecting rod mechanism.
According to a further technical scheme, the link mechanism comprises a first link fixedly connected with the output end of the driving motor, a strip-shaped sliding hole is formed in the first link, a sliding rod is connected in the strip-shaped sliding hole in a sliding mode, and a second link fixedly connected with one side of the scraper is fixedly connected to the sliding rod.
The invention has the beneficial effects that: during the use, sewage gets into the sewage cavity and passes through the filter core filtration, the sewage that does not contain solid impurity passes behind the filter core and discharges from the barrel bottom, solid impurity stays in the sewage cavity, when the solid impurity in the sewage cavity is too much, the drive moulding-die moves down, simultaneously control impurity cleaning device is in the open mode, the moulding-die moves down and can bulldoze the solid impurity in the sewage cavity to the annular intracavity, the moulding-die moves down simultaneously and drives the filter core rotation through the rotary driving structure, solid impurity in the annular intracavity also can rotate and pass through the scraper blade position along with the filter core, the scraper blade is discharged through the impurity export after scraping solid impurity from, effectively alleviateed piling up of solid impurity on the filter core surface, improve the ability of sewage circulation, thereby improve whole sewage treatment's efficiency.
Drawings
Fig. 1 is a schematic structural diagram of an embodiment of the present invention.
Fig. 2 is another schematic structural diagram of an embodiment of the present invention.
Fig. 3 is an exploded view of the support platform and cartridge of an embodiment of the present invention.
Fig. 4 is a schematic view of the cartridge, cartridge and compression mold of an embodiment of the invention.
Fig. 5 is a schematic structural diagram of a rotary driving structure according to an embodiment of the present invention.
Fig. 6 is a schematic structural view of the impurity cleaning device according to the embodiment of the present invention in a closed state.
Fig. 7 is a schematic structural view of the impurity removing apparatus according to the embodiment of the present invention in an open state.
Fig. 8 is a schematic structural view of the rotating shaft, the squeegee and the driving mechanism of the embodiment of the invention.
Fig. 9 is a schematic view of the configuration of the arcuate surface of an embodiment of the present invention.
Fig. 10 is a structural schematic diagram of a stent according to an embodiment of the present invention.
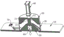
In the figure: 10. a support platform; 11. a first mounting hole; 12. a second mounting hole; 20. a barrel; 21. a sewage chamber; 22. an impurity outlet; 23. supporting the boss; 30. a filter element; 31. a first top wall; 32. a first tapered sidewall; 33. an annular sidewall; 34. a first annular bottom wall; 35. an annular cavity; 40. a lift drive; 50. pressing the die; 51. a sewage inlet; 52. a mating groove; 521. a second top wall; 522. a second tapered sidewall; 523. a second annular bottom wall; 60. a rotation driving structure; 61. a guide bar; 611. a first limiting boss; 62. a guide hole; 621. a second limiting boss; 63. a spiral plate; 64. a strip-shaped hole; 70. an impurity cleaning device; 71. a rotating shaft; 72. a squeegee; 721. an arc-shaped surface; 73. a drive mechanism; 731. a drive motor; 732. a link mechanism; 7321. a first link; 7322. a strip-shaped slide hole; 7323. a slide bar; 7324. a second link; 80. a support; 81. an annular seat; 82. a connecting strip.
Detailed Description
In order to make the objects, technical solutions and advantages of the embodiments of the present disclosure more apparent, the technical solutions of the embodiments of the present disclosure will be described clearly and completely with reference to the drawings of the embodiments of the present disclosure. It is to be understood that the described embodiments are only a few embodiments of the present disclosure, and not all embodiments. All other embodiments, which can be derived by a person skilled in the art from the described embodiments of the disclosure without any inventive step, are within the scope of protection of the disclosure.
As shown in fig. 1 to 8, in an embodiment of the present invention, a sewage treatment apparatus includes a supporting platform 10, a cylinder 20 is mounted on the supporting platform 10, the supporting platform 10 provides support for the cylinder 20, the cylinder 20 is used for containing sewage containing impurities, a pressing die 50 is arranged in the cylinder 20 in a lifting manner and is driven by a lifting driving device 40, a filter element 30 is horizontally and rotatably mounted in the cylinder 20, is capable of filtering the sewage and is matched with the pressing die 50 to press the impurities containing the sewage, and when the pressing die 50 is lifted, a sewage chamber 21 is formed between the pressing die 50 and the cylinder 20 for the sewage to enter; when the pressing die 50 descends, the sewage contained in the impurities is extruded and discharged from the bottom of the cylinder 20 through the filter element 30.
Wherein a rotary driving structure 60 is connected between the pressing die 50 and the filter element 30, the lifting movement of the pressing die 50 in the vertical direction is converted into the rotary movement of the filter element 30 in the horizontal direction, a sewage inlet 51 is arranged at the top of the pressing die 50 to allow sewage to enter the sewage chamber 21 through the sewage inlet 51, when the sewage enters the sewage chamber 21, impurities in the middle of the filter element 30 can be impacted to the edge position of the filter element, an impurity outlet 22 is arranged on the outer circumferential surface of one part of the cylinder 20, the impurity outlet 22 is positioned at the bottom of the cylinder 20, an impurity cleaning device 70 is arranged on the supporting platform 10, the impurity cleaning device 70 is positioned at the outer side of the cylinder 20, and when the filter element 30 rotates, the filter element is matched with the impurity cleaning device 70 to collect impurities on the peripheral edge of the filter element 30 at a position adjacent to the impurity outlet 22, so that the impurities at the edge position of the filter element 30 are discharged out of the cylinder 20 from the impurity outlet 22.
Referring to fig. 1 to 3, the supporting platform 10 is a plate-shaped structure, and the shape of the supporting platform 10 may be square, circular, triangular or other shapes, the middle portion of the supporting platform 10 is provided with a first mounting hole 11 adapted to the cylinder 20, so that the cylinder 20 can be installed in the first mounting hole 11 of the supporting platform 10 in a matching manner, the cylinder 20 is welded on the inner wall of the first mounting hole 11, in this embodiment, the cylinder 20 is a hollow structure with openings at the upper and lower ends, a supporting boss 23 is provided at the bottom of the inner wall of the cylinder 20, the supporting boss 23 can support the filter element 30, the supporting platform 10 further has a second mounting hole 12, so that a part of the impurity cleaning device 70 can be installed in the second mounting hole 12.
Referring to fig. 1 and 4, the filter element 30 is rotatably disposed on the inner wall of the barrel 20 through a sealed bearing, and the filter element 30 is disposed coaxially with the barrel 20, the filter element 30 includes a first top wall 31, a first tapered side wall 32 formed by extending the edge of the first top wall 31 downward, an annular side wall 33 connected to the lower edge of the first tapered side wall 32, and a first annular bottom wall 34 connected to the annular side wall 33, wherein the first tapered side wall 32 is outwardly expanded from top to bottom, the annular side wall 33 is vertically disposed, the annular side wall 33, the first annular bottom wall 34 of the filter element 30 and the inner circular side wall of the barrel 20 form an annular cavity 35, when the pressing mold 50 is lifted relative to the filter element 30, sewage enters the sewage chamber 21 through the sewage inlet 51, and the entered sewage falls into the annular cavity 35 along the inclined first tapered side wall 32, and the pressing mold 50 is lifted up to drive the filter element 30 to rotate through the rotation driving structure 60, so that the sewage entering the sewage chamber 21 can sufficiently contact the entire first tapered side wall 32, thereby increasing the range of the sewage impacting the first tapered side wall 32, and further increasing the flushing effect of the impurities.
Referring to fig. 1 and 2, the movable end of the lifting driving device 40 is fixedly connected to the middle position of the top of the pressing mold 50, in this embodiment, the lifting driving device 40 is a hydraulic cylinder, the piston rod of the hydraulic cylinder is connected to the pressing mold 50, and the cylinder body is fixed on an external support frame (not shown); in other embodiments, the lifting driving device 40 may be implemented using a pneumatic cylinder, an electric telescopic rod, or a screw driving structure.
With continued reference to fig. 1 and 4, the die mold 50 is cylindrical and is disposed coaxially with the filter element 30, an outer wall thereof is slidably attached to an inner wall of the cylinder 20, a mating groove 52 is formed at a bottom of the die mold 50, a top of the mating groove 52 includes a second top wall 521 and a second tapered side wall 522 formed by extending a periphery of the second top wall 521 downward, the die mold 50 has a second annular bottom wall 523 connected to a lower edge of the second tapered side wall 522, wherein the second top wall 521 is identical in size and shape to the first top wall 31 of the filter element 30, so that when the die mold 50 descends, the second top wall 521 of the die mold 50 can be in full contact with the first top wall 31 of the filter element 30, the taper of the second tapered side wall 522 of the die mold 50 is identical to the taper of the first tapered side wall 32 of the filter element 30, and the bottom wall of the second annular top wall 523 of the die mold 50 is adapted to the second top wall 521 of the annular cavity 35, that is, that when the die mold 50 descends, the inner wall of the mating groove 52 thereon can be matched with a part of the outer surface of the filter element 30.
Referring to fig. 5, the rotary driving structure 60 includes a guide rod 61 disposed in the middle of the fitting groove 52 and a guide hole 62 disposed in the middle of the filter element 30, the guide hole 62 is slidably engaged with the guide rod 61 so that the guide rod 61 can move up and down along the axial direction of the guide hole 62, and a gap between the guide rod 61 and the guide hole 62 enables the filter element 30 to rotate relative to the guide rod 61, so as to improve the stability of the rotation of the filter element 30, a spiral plate 63 is fixedly disposed at the bottom of the guide rod 61, the spiral plate 63 has a spiral driving surface, a strip-shaped hole 64 is formed at the bottom of the guide hole 62, and the strip-shaped hole 64 is engaged with the spiral plate 63 so that the whole filter element 30 can be driven to rotate by pushing the inner wall of the strip-shaped hole 64 when the spiral plate 63 moves up and down freely, and it can be appreciated that the spiral plate 63 provides a spiral angle for pushing the filter element 30 to rotate; in other embodiments, the spiral plate 63 and the strip-shaped hole 64 may be replaced with a lead screw nut.
With continued reference to fig. 5, wherein the bottom of the guide rod 61 is provided with a first limiting projection 611, the top of the guide hole 62 is provided with a second limiting projection 621, the first limiting projection 611 is located directly below the second limiting projection 621, when the guide rod 61 moves up to the top of the guide hole 62, the second limiting projection 621 can contact with the first limiting projection 611, and the guide rod 61 continues to move up, so that the guide rod 61 can be prevented from moving up to be separated from the guide hole 62, and the stroke of the stamper 50 can be limited.
Referring to fig. 6 to 8, the impurity removing device 70 has two states of an open state and a closed state, the impurity removing device 70 includes a rotating shaft 71 fixedly disposed on the impurity outlet 22, a scraper 72 rotatably disposed on an outer surface of the rotating shaft 71, and a driving mechanism 73 for driving the scraper 72 to rotate, when the impurity removing device 70 is in the open state (as shown in fig. 7), one end of the scraper 72 rotates into the annular cavity 35, and one side of the scraper 72 contacts the annular side wall 33, at which time the bottom of the scraper 72 contacts the first annular bottom wall 34; when the impurity cleaning device 70 is in a closed state (as shown in fig. 6), the scraper 72 is rotated to a position of engagement with the impurity outlet 22, the scraper 72 closes the impurity outlet 22, and it can be appreciated that the height of the scraper 72 is less than the height of the annular chamber 35.
When the impurity cleaning device 70 is in an open state, impurities collected on the annular bottom wall of the filter element 30 rotate along with the filter element 30, the impurities can enter the accommodating space formed between the scraper 72 and the inner circular side wall of the cylinder 20, the distance of the accommodating space is gradually reduced by the impurity entering direction, and when the scraper 72 is driven to a closed position, the impurities in the accommodating space are pushed and discharged from the impurity outlet 22.
The driving mechanism 73 includes a driving motor 731, an output end of the driving motor 731 is in transmission connection with the scraper 72 through a link mechanism 732, the link mechanism 732 includes a first connecting rod 7321 fixedly connected with an output end of the driving motor 731, a bar-shaped sliding hole 7322 is formed in the first connecting rod 7321, a sliding rod 7323 is slidably connected in the bar-shaped sliding hole 7322, a second connecting rod 7324 fixedly connected with one side of the scraper 72 is fixedly connected to the sliding rod 7323, the first connecting rod 7321 is driven to rotate through the rotation of the driving motor 731, the sliding rod 7323 slides on the bar-shaped sliding hole 7322 through the rotation of the first connecting rod 7321, the sliding rod 7323 slides to drive the scraper 72 to rotate along the rotating shaft 71, thereby realizing the adjustment of the position of the scraper 72.
In this embodiment, when in use, sewage enters the sewage chamber 21 from the sewage inlet 51, the sewage is filtered by the filter element 30, impurities are left on the surface of the filter element 30 and slide into the annular cavity 35 along the first tapered side wall 32, the sewage without impurities passes through the filter element 30 and then is discharged from the bottom of the barrel 20, meanwhile, the sewage entering from the sewage inlet 51 can further scour the surface of the filter element 30, so that the impurities remained on the surface of the filter element 30 can further scour into the annular cavity 35, when the impurities in the annular cavity 35 and the sewage chamber 21 are excessive, the lifting driving device 40 is started to drive the pressing die 50 to move downwards, the impurities in the annular cavity 35 and the sewage chamber 21 are squeezed, water in the impurities is squeezed out, the pressing die 50 moves downwards to drive the filter element 30 to rotate through the rotary driving structure 60, and at the same time, the impurity cleaning device 70 is controlled to contact the scraper 72 with the annular side wall 33, filter core 30 rotates and drives impurity on it and rotates through scraper blade 72, so that impurity is pushed out to the outside of barrel 20 by impurity outlet 22 along scraper blade 72, then impurity outlet 22 is closed to control scraper blade 72, lift drive device 40 drives moulding-die 50 to shift up and reopen sewage chamber 21, sewage continues to get into sewage chamber 21 from sewage import 51, and simultaneously, moulding-die 50 moves up and drives filter core 30 reversal through rotary drive structure 60, whole first toper lateral wall 32 of contact filter core 30 that the sewage that gets into sewage chamber 21 can be abundant, improve the scope that sewage strikes first toper lateral wall 32, and then improve the washing effect of impurity on the first toper lateral wall 32, effectively avoided impurity to depend on filter core 30, be convenient for get rid of the remaining impurity on the filter core 30 surface, reduce filter core 30 and block up the probability, realize solid impurity self-cleaning effect.
Referring to fig. 9, in the first embodiment, since the contact area between the scraper 72 and the annular side wall 33 is small, the effect of the scraper 72 in scraping the impurities on the annular side wall 33 is poor, and therefore, on the basis of the first embodiment, a second embodiment is further improved, in the second embodiment, an arc-shaped surface 721 is provided on the scraper 72, that is, one end of the scraper 72 contacting the annular side wall 33 of the filter element 30 is pointed, and the arc-shaped surface 721 is matched with the arc-shaped surface of the annular side wall 33, so that when the impurity cleaning device 70 is in a cleaning state, the arc-shaped surface 721 on the scraper 72 can be matched with the annular side wall 33, and the effect of scraping the impurities on the annular side wall 33 is enhanced.
Referring to fig. 10, a third embodiment is provided on the basis of the above embodiments to improve stability of the filter element 30, and in the third embodiment, the third embodiment further includes a support 80 fixedly connected to the bottom of the barrel 20, the support 80 includes an annular seat 81, the annular seat 81 is rotatably connected to the filter element 30 through a roller bearing, six connecting strips 82 are fixedly provided around the annular seat 81, and the connecting strips 82 are radially provided on the annular seat 81 to support the filter element 30 and improve stability of the filter element 30, it should be noted that the number of the connecting strips 82 may be two, five, eight or more, and the present embodiment does not limit the number of the connecting strips 82.
Claims (10)
1. A sewage treatment apparatus, comprising:
a support platform;
the cylinder body is arranged on the supporting platform and is provided with an impurity outlet;
the filter element is rotatably arranged in the barrel and used for filtering sewage, and the side surface of the bottom of the filter element and the inner circle side wall of the barrel form an annular cavity;
the pressing die is arranged in the cylinder body in a lifting manner;
the rotary driving structure is arranged between the pressing die and the filter element and is used for converting the lifting motion of the pressing die into the rotary motion of the filter element;
the impurity cleaning device is arranged on the supporting platform and has an opening state and a closing state, the impurity cleaning device comprises a scraper for opening or closing an impurity outlet, and when the impurity cleaning device is in the closing state, the scraper seals the impurity outlet; when the impurity cleaning device is in an open state, one side of the scraper is in contact with the side surface of the filter element;
when the pressing die rises, the impurity cleaning device is in a closed state, and a sewage chamber is formed between the pressing die and the cylinder body and used for allowing sewage to enter the sewage chamber; when the pressing die descends, the impurity cleaning device is in an open state, the pressing die pushes impurities in the sewage chamber into the annular chamber, the impurities in the annular chamber pass through the position of the scraper along with the rotation of the filter element, and the impurities are scraped away by the scraper and then are discharged through the impurity outlet.
2. The sewage treatment device of claim 1, further comprising a lifting driving device, wherein the movable end of the lifting driving device is fixedly connected to the top of the pressing die, and the fixed end of the lifting driving device is fixedly arranged on the external support frame.
3. The wastewater treatment device according to claim 1, wherein the scraper is provided with an arc-shaped surface.
4. The sewage treatment device according to claim 1, further comprising a support fixedly connected to the bottom of the cylinder, wherein the support comprises an annular seat, the annular seat is rotatably connected with the filter element through a bearing, and a connecting strip fixedly connected with the cylinder is fixedly arranged on the annular seat.
5. The wastewater treatment apparatus according to claim 1, wherein the top of the pressing mold is provided with a wastewater inlet for wastewater to enter the wastewater chamber through the wastewater inlet.
6. The sewage treatment device according to claim 1, wherein the rotary driving mechanism comprises a guide rod arranged on the pressing die and a guide hole arranged on the filter element, the guide hole is in sliding fit with the guide rod, a gap between the guide rod and the guide hole enables the filter element to rotate relative to the guide rod, a spiral plate is fixedly arranged at the bottom of the guide rod, a strip-shaped hole is arranged at the bottom of the guide hole, and the strip-shaped hole is matched with the spiral plate.
7. The sewage treatment device according to claim 6 wherein the guide rod is provided at a bottom thereof with a first restriction projection, and the guide hole is provided at a top thereof with a second restriction projection, and the first restriction projection is positioned directly below the second restriction projection.
8. The sewage treatment device according to any one of claims 1 to 7, wherein the impurity removing device comprises a rotating shaft fixedly arranged on the impurity outlet, a scraper rotatably arranged on the outer surface of the rotating shaft, and a driving mechanism for driving the scraper to rotate.
9. The wastewater treatment device according to claim 8, wherein the driving mechanism comprises a driving motor, and the output end of the driving motor is in transmission connection with the scraper through a link mechanism.
10. The sewage treatment device according to claim 9, wherein the link mechanism comprises a first link fixedly connected with the output end of the driving motor, the first link is provided with a bar-shaped slide hole, a slide rod is slidably connected in the bar-shaped slide hole, and the slide rod is fixedly connected with a second link fixedly connected with one side of the scraper.
Priority Applications (1)
| Application Number | Priority Date | Filing Date | Title |
|---|---|---|---|
| CN202310068846.8A CN115779534B (en) | 2023-02-06 | 2023-02-06 | Sewage treatment device |
Applications Claiming Priority (1)
| Application Number | Priority Date | Filing Date | Title |
|---|---|---|---|
| CN202310068846.8A CN115779534B (en) | 2023-02-06 | 2023-02-06 | Sewage treatment device |
Publications (2)
| Publication Number | Publication Date |
|---|---|
| CN115779534A true CN115779534A (en) | 2023-03-14 |
| CN115779534B CN115779534B (en) | 2023-12-29 |
Family
ID=85430020
Family Applications (1)
| Application Number | Title | Priority Date | Filing Date |
|---|---|---|---|
| CN202310068846.8A Active CN115779534B (en) | 2023-02-06 | 2023-02-06 | Sewage treatment device |
Country Status (1)
| Country | Link |
|---|---|
| CN (1) | CN115779534B (en) |
Cited By (1)
| Publication number | Priority date | Publication date | Assignee | Title |
|---|---|---|---|---|
| CN118270878A (en) * | 2024-06-03 | 2024-07-02 | 山东中科瑞沃环境技术有限公司 | Adsorption filtration system for sewage purification |
Citations (9)
| Publication number | Priority date | Publication date | Assignee | Title |
|---|---|---|---|---|
| KR101282645B1 (en) * | 2012-04-26 | 2013-07-12 | 현건우 | A sewage treatment equipment having board screen |
| CN210150835U (en) * | 2019-05-21 | 2020-03-17 | 苏州泰润达发动机零部件有限公司 | Bolt washs waste water reuse device |
| CN112892059A (en) * | 2021-01-11 | 2021-06-04 | 江苏乐圣环保装备制造有限公司 | Emergency safety treatment equipment for drinking water and treatment method thereof |
| CN213725082U (en) * | 2020-11-23 | 2021-07-20 | 固安县鑫茂过滤技术有限公司 | Filtration equipment with rotary mechanism |
| CN213823636U (en) * | 2020-07-27 | 2021-07-30 | 郭自洁 | Domestic waste water treatment device |
| CN216170227U (en) * | 2021-09-30 | 2022-04-05 | 河南省启源环保科技有限公司 | a sewage treatment tank |
| CN114307320A (en) * | 2022-01-22 | 2022-04-12 | 原怀彬 | High-efficient sewage treatment device |
| CN115448497A (en) * | 2022-09-29 | 2022-12-09 | 陈夏红 | Environment-friendly energy-saving integrated sewage treatment method |
| CN218357734U (en) * | 2022-06-09 | 2023-01-24 | 云南龙镁环境科技有限公司 | Mud dewatering device for sewage treatment |
-
2023
- 2023-02-06 CN CN202310068846.8A patent/CN115779534B/en active Active
Patent Citations (9)
| Publication number | Priority date | Publication date | Assignee | Title |
|---|---|---|---|---|
| KR101282645B1 (en) * | 2012-04-26 | 2013-07-12 | 현건우 | A sewage treatment equipment having board screen |
| CN210150835U (en) * | 2019-05-21 | 2020-03-17 | 苏州泰润达发动机零部件有限公司 | Bolt washs waste water reuse device |
| CN213823636U (en) * | 2020-07-27 | 2021-07-30 | 郭自洁 | Domestic waste water treatment device |
| CN213725082U (en) * | 2020-11-23 | 2021-07-20 | 固安县鑫茂过滤技术有限公司 | Filtration equipment with rotary mechanism |
| CN112892059A (en) * | 2021-01-11 | 2021-06-04 | 江苏乐圣环保装备制造有限公司 | Emergency safety treatment equipment for drinking water and treatment method thereof |
| CN216170227U (en) * | 2021-09-30 | 2022-04-05 | 河南省启源环保科技有限公司 | a sewage treatment tank |
| CN114307320A (en) * | 2022-01-22 | 2022-04-12 | 原怀彬 | High-efficient sewage treatment device |
| CN218357734U (en) * | 2022-06-09 | 2023-01-24 | 云南龙镁环境科技有限公司 | Mud dewatering device for sewage treatment |
| CN115448497A (en) * | 2022-09-29 | 2022-12-09 | 陈夏红 | Environment-friendly energy-saving integrated sewage treatment method |
Cited By (1)
| Publication number | Priority date | Publication date | Assignee | Title |
|---|---|---|---|---|
| CN118270878A (en) * | 2024-06-03 | 2024-07-02 | 山东中科瑞沃环境技术有限公司 | Adsorption filtration system for sewage purification |
Also Published As
| Publication number | Publication date |
|---|---|
| CN115779534B (en) | 2023-12-29 |
Similar Documents
| Publication | Publication Date | Title |
|---|---|---|
| CN111042081A (en) | Water resource garbage cleaning device | |
| CN116570984B (en) | Sewage treatment and purification system and method | |
| CN215962454U (en) | Impurity filtering device for sewage treatment | |
| CN115920486B (en) | Construction wastewater treatment device | |
| CN115463466B (en) | Wastewater treatment equipment convenient to clear up residue | |
| CN115838207A (en) | Sewage treatment equipment suitable for urban sewage treatment | |
| CN115779534A (en) | Sewage treatment device | |
| CN113509770A (en) | Municipal efficient sewage treatment device and treatment method thereof | |
| CN116712779B (en) | Sewage treatment device | |
| CN113198238A (en) | Mud scraping device for sewage filtration | |
| CN219186040U (en) | Self-cleaning chemical wastewater treatment device | |
| CN112125440A (en) | Circulating efficient sewage treatment system and sewage treatment method thereof | |
| CN216223179U (en) | Municipal sewage filtering device | |
| CN211097847U (en) | Rural domestic sewage treatment is with quick filtration equipment | |
| CN212670773U (en) | Drainage device convenient to handle jam | |
| CN116785817A (en) | Sewage treatment interception device | |
| CN113828040A (en) | River sewage treatment device with sludge treatment function | |
| CN222456004U (en) | Antifouling structure of antifouling grating for hydraulic engineering | |
| CN216571874U (en) | River sewage treatment device with sludge treatment function | |
| CN219002216U (en) | Vertical dirt and sand removing device | |
| CN222632452U (en) | Drainage adjusting system | |
| CN219363299U (en) | Water-saving facility for engineering construction | |
| CN117125768B (en) | Solid-liquid separation system of primary rain regulation and storage tank and design method thereof | |
| CN218421422U (en) | Sewage filters edulcoration device | |
| CN221422207U (en) | Pump station rubbish fishing device |
Legal Events
| Date | Code | Title | Description |
|---|---|---|---|
| PB01 | Publication | ||
| PB01 | Publication | ||
| SE01 | Entry into force of request for substantive examination | ||
| SE01 | Entry into force of request for substantive examination | ||
| GR01 | Patent grant | ||
| GR01 | Patent grant |