CN115770826A - Adjustable multifunctional processing equipment for medical ultrasonic tool bit - Google Patents
Adjustable multifunctional processing equipment for medical ultrasonic tool bit Download PDFInfo
- Publication number
- CN115770826A CN115770826A CN202310044798.9A CN202310044798A CN115770826A CN 115770826 A CN115770826 A CN 115770826A CN 202310044798 A CN202310044798 A CN 202310044798A CN 115770826 A CN115770826 A CN 115770826A
- Authority
- CN
- China
- Prior art keywords
- seat
- tool bit
- cutter head
- clamping
- base
- Prior art date
- Legal status (The legal status is an assumption and is not a legal conclusion. Google has not performed a legal analysis and makes no representation as to the accuracy of the status listed.)
- Granted
Links
- 238000012545 processing Methods 0.000 title claims abstract description 40
- 230000005540 biological transmission Effects 0.000 claims abstract description 60
- 238000004140 cleaning Methods 0.000 claims abstract description 54
- 238000005452 bending Methods 0.000 claims abstract description 36
- 230000007246 mechanism Effects 0.000 claims abstract description 36
- 238000001514 detection method Methods 0.000 claims abstract description 6
- 239000000428 dust Substances 0.000 claims description 59
- 239000000463 material Substances 0.000 claims description 32
- 230000005571 horizontal transmission Effects 0.000 claims description 12
- 230000005570 vertical transmission Effects 0.000 claims description 10
- 230000000903 blocking effect Effects 0.000 claims description 8
- 238000001914 filtration Methods 0.000 claims description 4
- 230000001737 promoting effect Effects 0.000 claims description 2
- 238000003754 machining Methods 0.000 claims 5
- 238000004891 communication Methods 0.000 description 4
- 229910001069 Ti alloy Inorganic materials 0.000 description 3
- 239000000956 alloy Substances 0.000 description 3
- 238000005520 cutting process Methods 0.000 description 3
- 238000004519 manufacturing process Methods 0.000 description 3
- OKTJSMMVPCPJKN-UHFFFAOYSA-N Carbon Chemical compound [C] OKTJSMMVPCPJKN-UHFFFAOYSA-N 0.000 description 2
- 230000008859 change Effects 0.000 description 2
- 230000008878 coupling Effects 0.000 description 2
- 238000010168 coupling process Methods 0.000 description 2
- 238000005859 coupling reaction Methods 0.000 description 2
- 230000007547 defect Effects 0.000 description 2
- 238000010586 diagram Methods 0.000 description 2
- 238000005516 engineering process Methods 0.000 description 2
- 238000009434 installation Methods 0.000 description 2
- 238000000034 method Methods 0.000 description 2
- 230000008569 process Effects 0.000 description 2
- 238000010521 absorption reaction Methods 0.000 description 1
- 238000007792 addition Methods 0.000 description 1
- 230000009286 beneficial effect Effects 0.000 description 1
- 238000012217 deletion Methods 0.000 description 1
- 230000037430 deletion Effects 0.000 description 1
- 238000003745 diagnosis Methods 0.000 description 1
- 230000000694 effects Effects 0.000 description 1
- 229920001971 elastomer Polymers 0.000 description 1
- 239000000806 elastomer Substances 0.000 description 1
- 238000012840 feeding operation Methods 0.000 description 1
- 239000000835 fiber Substances 0.000 description 1
- 238000012986 modification Methods 0.000 description 1
- 230000004048 modification Effects 0.000 description 1
- 230000000149 penetrating effect Effects 0.000 description 1
- 238000005498 polishing Methods 0.000 description 1
- 238000003672 processing method Methods 0.000 description 1
- 239000010935 stainless steel Substances 0.000 description 1
- 229910001220 stainless steel Inorganic materials 0.000 description 1
- 230000001360 synchronised effect Effects 0.000 description 1
- 238000012360 testing method Methods 0.000 description 1
- 230000002485 urinary effect Effects 0.000 description 1
Images
Classifications
-
- Y—GENERAL TAGGING OF NEW TECHNOLOGICAL DEVELOPMENTS; GENERAL TAGGING OF CROSS-SECTIONAL TECHNOLOGIES SPANNING OVER SEVERAL SECTIONS OF THE IPC; TECHNICAL SUBJECTS COVERED BY FORMER USPC CROSS-REFERENCE ART COLLECTIONS [XRACs] AND DIGESTS
- Y02—TECHNOLOGIES OR APPLICATIONS FOR MITIGATION OR ADAPTATION AGAINST CLIMATE CHANGE
- Y02P—CLIMATE CHANGE MITIGATION TECHNOLOGIES IN THE PRODUCTION OR PROCESSING OF GOODS
- Y02P70/00—Climate change mitigation technologies in the production process for final industrial or consumer products
- Y02P70/10—Greenhouse gas [GHG] capture, material saving, heat recovery or other energy efficient measures, e.g. motor control, characterised by manufacturing processes, e.g. for rolling metal or metal working
Landscapes
- Surgical Instruments (AREA)
- Knives (AREA)
Abstract
The invention discloses adjustable multifunctional processing equipment for a medical ultrasonic tool bit, belongs to the technical field of medical instrument processing, and solves the problem that a tool bar and a tool bit in a tool bar bracket in a bending machine of the conventional device are easy to fall off so as to influence the bending of the tool bit, and the adjustable multifunctional processing equipment for the medical ultrasonic tool bit comprises the following components: the equipment supporting assembly comprises an equipment base, a driving base, a blanking base, a transmission base and a cleaning base; the cutter head processing mechanism is arranged on the blanking base; the feeding mechanism is used for feeding, cleaning and quality detection of the cutter head; be provided with the tool bit kink in this application, the medical supersound tool bit of different specifications can be held to the tool bit kink, has avoided tool bit kink during operation, and the tool bit appears droing or not hard up phenomenon, has improved the precision of tool bit processing, has guaranteed the quality of tool bit.
Description
Technical Field
The invention belongs to the technical field of medical instrument processing, and particularly relates to adjustable multifunctional processing equipment for a medical ultrasonic tool bit.
Background
Compared with other cutting tools, the medical ultrasonic scalpel has obvious advantages, so that more departments are used, including departments such as general departments, urinary departments, gynecological departments and the like need to be configured, and a set of complete ultrasonic scalpel equipment consists of the following parts: the device comprises a frame, a main machine, a handle, a foot control device, a cutter head and the like.
The medical ultrasonic knife has high treatment requirements in the ultrasonic diagnosis or treatment process, the processing technology of the medical ultrasonic knife is complex, and the difference of the technology is directly related to the output frequency of the ultrasonic knife equipment, thereby influencing the clinical cutting effect.
Chinese patent CN114618924a discloses a processing system and a processing method for an ultrasonic knife, wherein the processing system comprises a core-moving machine, and is used for cutting a material to be processed to obtain a straight rod-shaped ultrasonic knife bar; bender, comprising: a cutter bar bracket for supporting the cutter bar; the lower die is positioned on one side of the cutter bar bracket; the upper die is positioned above the lower die, two opposite end faces of the upper die and the lower die are both in a bent shape, and the upper die can move up and down relative to the lower die so as to bend the end part of the cutter bar; however, in the existing bending machine, the cutter bar and the cutter head in the cutter bar bracket are easy to fall off, and the bending of the cutter head is further influenced.
Disclosure of Invention
The invention aims to provide adjustable multifunctional processing equipment for a medical ultrasonic tool bit, aiming at overcoming the defects in the prior art, and solving the problem that the bending of the tool bit is influenced because a tool bar and a tool bit in a tool bar bracket are easy to fall off in the existing bending machine.
The invention is realized in this way, a medical ultrasonic knife head multifunctional processing equipment with adjustable, the said medical ultrasonic knife head multifunctional processing equipment with adjustable includes:
the equipment supporting assembly comprises an equipment base, a driving base, a blanking base, a transmission base and a cleaning base;
the cutter head processing mechanism is arranged on the blanking base and is used for processing the medical ultrasonic cutter head and clamping and fixing the cutter heads of different types;
the feeding mechanism is used for feeding, cleaning and quality detection of the cutter head;
the tool bit processing mechanism comprises a tool bit blanking portion, a tool bit ejection portion, a tool bit clamping component and a tool bit bending portion, wherein the tool bit blanking portion is fixedly arranged on the blanking base, the tool bit clamping component is used for clamping different types of tool bits and is fixed, the tool bit clamping component comprises a tool bit limiting seat, a clamping driving piece and a side clamping portion and a top clamping portion which can move synchronously, and the side clamping portion and the top clamping portion work in a matched mode and are used for clamping different types of tool bits.
Preferably, the cutter head blanking portion includes:
the cutter head blanking seat is detachably arranged on the blanking base;
the material blocking columns are used for preventing the cutter head from falling off during blanking, and the material blocking columns are detachably mounted in the cutter head blanking seat;
wherein, tool bit ejecting part sets up one side of tool bit blanking seat, tool bit ejecting part includes:
ejecting out the cylinder;
and the tool bit ejecting piece is detachably connected with the telescopic end of the ejection cylinder and is in sliding connection with the tool bit blanking seat.
Preferably, the blade bending portion includes:
the bending driving piece is fixedly arranged on the cutter head blanking seat;
and the tool bit bending piece is fixedly connected with the bending driving piece and is used for bending the tool bit.
Preferably, the clamping driving piece is fixedly arranged on the cutter head limiting seat, and the clamping driving piece is fixedly connected with the clamping driving piece;
the side clamping part is at least provided with a set of, and the side clamping part includes:
the horizontal transmission rack is arranged on one side of the clamping transmission piece and is in meshing transmission with the clamping transmission piece;
a side clamping seat fixedly connected with the horizontal transmission rack, wherein the side clamping seat is used for clamping and fixing tool bits of different models, and
and the horizontal guide rod is fixedly installed on the cutter head limiting seat, is connected with the horizontal transmission rack in a sliding manner and is used for limiting the horizontal transmission rack.
Preferably, the top clamping portion comprises:
the vertical transmission rack is arranged on one side of the clamping transmission piece and is in meshing transmission with the clamping transmission piece;
a top clamping seat fixedly connected with the vertical transmission rack, the top clamping seat is used for clamping and fixing the top of the tool bit, and
and the vertical guide rod is used for limiting the vertical transmission rack and is fixedly arranged on the cutter head limiting seat.
Preferably, the cutter head feeding mechanism comprises:
the cutter head transmission part is fixedly arranged on the transmission base and is used for supporting and limiting the cutter head during feeding;
the feeding driving assembly is arranged on the driving base and is respectively connected with a cutter head transmission part and a cutter head cleaning assembly;
and the cutter head cleaning assembly is arranged on the cleaning base and used for sucking dust on the surface of the cutter head.
Preferably, the feeding driving assembly comprises:
the feeding driving motor is fixedly arranged on the driving base;
the feeding transmission part is arranged on the driving base and is connected with the feeding driving motor and the linkage mechanism;
and the linkage mechanism is used for transmitting the power of the feeding driving motor and is respectively connected with the cutter head cleaning assembly and the feeding pushing part.
Preferably, the feeding transmission part comprises at least one group of feeding transmission wheels, any one of the feeding transmission wheels is fixedly connected with a feeding driving motor, the feeding transmission wheels are connected through a feeding conveyor belt, and each group of the feeding transmission wheels is respectively connected with a linkage mechanism;
the link gear includes that first articulated seat, second articulate seat, clean articulated seat and the articulated seat of promotion, and wherein, first articulated seat is articulated with the material loading drive wheel, and the other end of first articulated seat is articulated with the articulated seat of second, and the middle part of the articulated seat of second articulates there is the articulated seat of promotion, and the tip of the articulated seat of second articulates there is clean articulated seat, and the articulated seat of promotion is connected with material loading promotion portion.
Preferably, the feeding pushing part includes:
the pushing mounting seat is fixedly connected with the pushing hinge seat;
the adjusting motor of setting on promoting the mount pad, adjusting motor's output fixedly connected with adjusts the pivot, and one side of adjusting the pivot is provided with multiunit adjusting threaded rod, the last cover respectively of adjusting threaded rod is equipped with the regulation ejector pad, and pressure sensor is installed to one side of adjusting the ejector pad, pressure sensor is used for the detection of tool bit quality.
Preferably, the bit clearing assembly comprises:
the dust cleaning seat is at least provided with one group, the dust cleaning seat is fixedly arranged on the cleaning base, one side of the dust cleaning seat is provided with a dust collecting plate, and the dust filtering seat is fixedly arranged on the dust cleaning seat;
the dust collection screw rod is rotatably installed in the dust cleaning seat, and the one end fixedly connected with of the dust collection screw rod is clean and hinged to the base.
Compared with the prior art, the embodiment of the application mainly has the following beneficial effects:
be provided with the tool bit kink in this application, the medical supersound tool bit of different specifications can be held to the tool bit kink, has avoided tool bit kink during operation, and the tool bit appears droing or not hard up phenomenon, has improved the precision of tool bit processing, has guaranteed the quality of tool bit.
Drawings
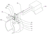
Fig. 1 is a schematic structural diagram of an adjustable multifunctional medical ultrasonic scalpel head processing device provided by the invention.
Fig. 2 is an isometric view of the present invention.
Fig. 3 is a front view of the present invention.
Fig. 4 is a side view of the present invention.
Fig. 5 is a schematic structural diagram of a cutter head feeding mechanism provided by the invention.
Fig. 6 is an isometric view of a bit loading mechanism provided by the present invention.
Fig. 7 is a front view of a bit loading mechanism provided by the present invention.
Fig. 8 is a rear view of a bit loading mechanism provided by the present invention.
Fig. 9 is a side view of a bit loading mechanism provided by the present invention.
Fig. 10 is a top view of a bit loading mechanism provided by the present invention.
FIG. 11 is a schematic view of a bit clamp assembly provided by the present invention.
FIG. 12 is a front view of a bit clamp assembly provided by the present invention.
In the figure:
1-a device support assembly;
11-an equipment base, 12-a transmission base, 13-a cleaning base, 14-a blanking base and 15-a driving base;
2-a feeding driving component;
21-feeding driving motor and 22-linkage mechanism;
221-a first hinged seat, 222-a second hinged seat, 223-a pushing hinged seat, 224-a cleaning hinged seat, 23-a feeding transmission part, 231-a feeding transmission wheel, 232-a feeding conveyor belt, 24-a feeding pushing part, 241-a pushing installation seat, 242-an adjusting motor, 243-an adjusting rotating shaft, 244-an adjusting threaded rod, 245-an adjusting push block and 246-a pressure sensor;
3-a cutter head blanking part;
31-a cutter head blanking seat and 32-a material blocking column;
4-a tool bit ejection part;
41-ejecting cylinder, 42-tool bit ejecting piece;
5-a tool bit transmission part;
51-tool bit transmission seat, 52-inclined seat and 53-striker plate;
6-a tool bit cleaning assembly;
61-dust cleaning seat, 62-dust filtering seat, 63-dust suction plate, 64-dust suction piston and 65-dust suction screw;
7-a cutter head bending part;
71-bending driving piece, 72-tool bit bending piece;
8-a bit holding assembly;
81-bit limiting seat, 82-clamping driving piece, 83-clamping driving piece, 84-side clamping part, 841-horizontal driving rack, 842-side clamping seat, 843-horizontal guide rod, 85-top clamping part, 851-vertical driving rack, 852-top clamping seat and 853-vertical guide rod.
Detailed Description
Unless defined otherwise, all technical and scientific terms used herein have the same meaning as commonly understood by one of ordinary skill in the art to which this application belongs; the terminology used in the description of the application herein is for the purpose of describing particular embodiments only and is not intended to be limiting of the application; the terms "including" and "having," and any variations thereof, in the description and claims of this application and the description of the above figures are intended to cover non-exclusive inclusions. The terms "first," "second," and the like in the description and claims of this application or in the above-described drawings are used for distinguishing between different objects and not for describing a particular order.
Reference herein to "an embodiment" means that a particular feature, structure, or characteristic described in connection with the embodiment can be included in at least one embodiment of the application. The appearances of the phrase in various places in the specification are not necessarily all referring to the same embodiment, nor are separate or alternative embodiments mutually exclusive of other embodiments. It is explicitly and implicitly understood by one skilled in the art that the embodiments described herein can be combined with other embodiments.
Because the cutter bar and the cutter head in the cutter bar bracket in the existing bending machine are easy to fall off, and the bending of the cutter head is further influenced, the embodiment of the invention provides adjustable multifunctional processing equipment for a medical ultrasonic cutter head, as shown in fig. 1-4, the adjustable multifunctional processing equipment for the medical ultrasonic cutter head comprises:
the equipment supporting assembly 1 comprises an equipment base 11, a driving base 15, a blanking base 14, a transmission base 12 and a cleaning base 13.
Meanwhile, the driving base 15, the blanking base 14, the transmission base 12 and the cleaning base 13 can be fixedly mounted on the equipment base 11 through rivets, joggles or fastening bolts, the equipment base 11 is made of stainless steel, and the equipment base 11 can be a rectangular base or a round base.
The cutter head processing mechanism is arranged on the blanking base 14 and is used for processing medical ultrasonic cutter heads and clamping and fixing the cutter heads of different types;
the feeding mechanism is used for feeding, cleaning and quality detection of the cutter head;
wherein, tool bit processing agency includes tool bit blanking portion 3, tool bit ejecting portion 4, tool bit centre gripping subassembly 8 and tool bit kink 7, wherein, tool bit blanking portion 3 is fixed to be set up on blanking base 14, and tool bit centre gripping subassembly 8 is used for the centre gripping of different model tool bits fixed, and tool bit centre gripping subassembly 8 includes spacing seat 81 of tool bit, centre gripping driving piece 82, centre gripping driving piece 83 and synchronous motion's side clamping part 84 and top clamping part 85, side clamping part 84 and top clamping part 85 cooperation work for the centre gripping of different model tool bits is fixed.
In this embodiment, at the during operation, tool bit feed mechanism can send into the tool bit of assembly line output on the tool bit blanking portion 3, then open tool bit ejecting portion 4, tool bit ejecting portion 4 is ejecting with the tool bit, then the medical supersound tool bit of pending is lived to the firm centre gripping of tool bit centre gripping subassembly 8, and simultaneously, tool bit centre gripping subassembly 8 can grasp the tool bit of different specifications, and the centre gripping finishes the back, just can open tool bit kink 7, tool bit kink 7 can bend the tool bit fast to the demand of buckling to the tool bit has been satisfied.
It should be noted that, including material loading, ejecting, centre gripping and the flow of buckling in the medical supersound tool bit course of working in this application, be applicable to the processing of most tool bits, simultaneously, be provided with tool bit kink 7 in this application, tool bit kink 7 can the medical supersound tool bit of different specifications of centre gripping, has avoided tool bit kink 7 during operation, and the tool bit appears droing or not hard up phenomenon, has improved the precision of tool bit processing, has guaranteed the quality of tool bit.
Exemplarily, in this application, the spacing seat 81 of tool bit specifically is the hollow ring in inside or the round seat that titanium alloy material made, and the polishing of the spacing seat 81 inner wall of tool bit handles, the centre gripping driving piece 82 specifically is servo motor, and the output of centre gripping driving piece 82 is connected with centre gripping driving piece 83 through hard cooperation, centre gripping driving piece 83 can be the gear, side clamping part 84 symmetry sets up the left and right sides at centre gripping driving piece 83, and top clamping part 85 sets up at its top, need not set up fixed clamping part in the bottom, on the one hand, consider that the bottom is provided with the bearing of tool bit blanking portion 3, and simultaneously, it is ejecting from top to bottom to buckle, can know from this, need not set for the fixed or fixture of bottom.
In a further preferred embodiment of the present invention, as shown in fig. 1 to 4, the blanking portion 3 of the cutter head comprises:
the cutter head blanking seat 31 is detachably arranged on the blanking base 14;
at least one set of material blocking column 32, the material blocking column 32 is used for avoiding falling off when the cutter head falls off, and the material blocking column 32 is detachably arranged in the cutter head falling seat 31.
It should be noted that, tool bit blanking seat 31 specifically is the inside rectangle seat that is provided with the arc wall, and arc wall surface finish handles, and the arc wall can carry on spacingly to the tool bit, and then avoids droing of tool bit, and keeps off material post 32 and pass through buckle or bolt demountable installation in one side of tool bit blanking seat 31, keeps off material post 32 for adopting round roller or the cylinder structure that the elastomer material made, keeps off setting up of material post 32 and has realized spacing and protection to the tool bit.
Wherein, tool bit ejecting part 4 sets up one side of tool bit blanking seat 31, tool bit ejecting part 4 includes:
an ejection cylinder 41;
the cutter head ejecting piece 42 is detachably connected with the telescopic end of the ejecting cylinder 41, and the cutter head ejecting piece 42 is in sliding connection with the cutter head blanking seat 31.
In this embodiment, the round block or the rectangular block that tool bit ejecting piece 42 was made for adopting PVC or titanium alloy material is at the during operation, opens ejecting cylinder 41, and ejecting cylinder 41 can drive tool bit ejecting piece 42 and remove, and then makes tool bit ejecting piece 42 ejecting with the tool bit in the tool bit blanking seat 31, and the work of cooperation tool bit clamping component 8 has guaranteed the precision of tool bit processing.
In a further preferred embodiment of the present invention, as shown in fig. 1-4, the blade bending portion 7 comprises:
the bending driving piece 71 is fixedly arranged on the cutter head blanking seat 31;
and the cutter head bending piece 72 is fixedly connected with the bending driving piece 71, and the cutter head bending piece 72 is used for bending the cutter head.
In this embodiment, the bending driving member 71 is fixedly installed in a manner of fastening bolts and rivets, the bending driving member 71 can be one of a hydraulic cylinder, an air cylinder or a servo electric push rod, the tool bit bending member 72 can be an impact tool or an impact block with an arc-shaped groove arranged inside, the tool bit bending member is made of a titanium alloy material, and the phenomenon of damage in the impact bending process is avoided.
In a further preferred embodiment of the present invention, as shown in fig. 11-12, the clamping driving member 82 is fixedly mounted on the bit-limiting seat 81, and the clamping driving member 82 is fixedly connected to the clamping transmission member 83;
the side clamping part 84 is provided with at least one set, and the side clamping part 84 includes:
the horizontal transmission rack 841 is arranged on one side of the clamping transmission piece 83 and is in meshing transmission with the clamping transmission piece 83;
a side clamping seat 842 fixedly connected with the horizontal transmission rack 841, the side clamping seat 842 is used for clamping and fixing different types of tool bits, and
and the horizontal guide rod 843 is fixedly installed on the cutter head limiting seat 81, and the horizontal guide rod 843 is connected with the horizontal transmission rack 841 in a sliding manner and used for limiting the horizontal transmission rack 841.
In this embodiment, at the working time, the clamping driving member 82 is opened, the clamping driving member 82 can drive the clamping driving member 83 to rotate, and the clamping driving member 83 rotates to drive the horizontal driving rack 841 to slide along the horizontal guiding rod 843, so that the horizontal driving rack 841 drives the side clamping seat 842 to move horizontally, and the side clamping seat 842 clamps and fixes the tool bit.
Illustratively, the top clamp 85 includes:
the vertical transmission rack 851 is arranged on one side of the clamping transmission member 83 and is in meshing transmission with the clamping transmission member 83;
a top holder 852 fixedly connected to the vertical drive rack 851, said top holder 852 being intended for holding the top of the cutter head, an
And the vertical guide rod 853 is used for limiting the vertical transmission rack 851, and the vertical guide rod 853 is fixedly arranged on the cutter head limiting seat 81.
During operation, the clamping transmission member 83 can drive the vertical transmission rack 851 to move up and down, and the vertical transmission rack 851 drives the top clamping seat 852 to move up and down, so that the top clamping seat 852 is matched with the side clamping seat 842 to synchronously clamp and fix the tool bit, and the stability of the tool bit can be kept.
It should be noted that, vertical guide bar 853 and horizontal guide bar 843 all pass through fastening bolt fixed mounting on spacing seat 81 of tool bit in this application, and vertical guide bar 853 and horizontal guide bar 843 can be round bar or the rectangular rod of surface finish, and side grip slipper 842 and top grip slipper 852 specifically can be arc, rectangular plate, and its inner wall can also set up the antiskid ribbed tile to further avoid droing of tool bit.
In a further preferred embodiment of the present invention, as shown in fig. 5 to 10, the bit loading mechanism comprises:
the cutter head transmission part 5 is fixedly arranged on the transmission base 12, and the cutter head transmission part 5 is used for supporting and limiting a cutter head during feeding;
the feeding driving component 2 is arranged on the driving base 15, and the feeding driving component 2 is respectively connected with a cutter head transmission part 5 and a cutter head cleaning component 6;
and the cutter head cleaning assembly 6 is arranged on the cleaning base 13 and is used for sucking dust on the surface of the cutter head.
In this embodiment, material loading drive assembly 2 can assist the quick material loading of tool bit among the tool bit feed mechanism, and simultaneously, during the motion of material loading drive assembly 2, can also drive tool bit clearance subassembly 6 to dust around the equipment and adsorb the quick suction at tool bit surface dust, has guaranteed the cleanness of tool bit.
Exemplarily, tool bit drive division 5 includes tool bit driver seat 51, tool bit driver seat 51 is the rectangle ring, its surface finish handles, can avoid the absorption of dust, tool bit driver seat 51 passes through fastening bolt fixed mounting on transmission base 12, and simultaneously, in order to avoid the phenomenon that comes off to appear among the tool bit transmission process, striker plate 53 is installed to symmetry respectively in tool bit driver seat 51's edge, striker plate 53 can be connected as an organic whole or bolted connection's mode fixed mounting, and simultaneously, one side fixed mounting at tool bit driver seat 51 has the sloping seat 52 that the slope set up, sloping seat 52 corresponds tool bit blanking seat 31 and sets up.
In a further preferred embodiment of the present invention, as shown in fig. 5-6, the feeding driving assembly 2 comprises:
the feeding driving motor 21, the feeding driving motor 21 is fixedly arranged on the driving base 15;
the feeding transmission part 23 is arranged on the driving base 15, and the feeding transmission part 23 is connected with the feeding driving motor 21 and is also connected with the linkage mechanism 22;
the linkage mechanism 22 is used for transmitting the power of the feeding driving motor 21, and the linkage mechanism 22 is respectively connected with the cutter head cleaning assembly 6 and the feeding pushing part 24.
In this embodiment, material loading driving motor 21 passes through the fixed setting of clamp or buckle on arbitrary drive base 15, and drive base 15 can be provided with two sets ofly, and every group drive base 15 on correspond respectively and be provided with material loading transmission portion 23, material loading transmission portion 23 includes at least a set of material loading drive wheel 231, arbitrary material loading drive wheel 231 fixed and material loading driving motor 21 fixed connection, and connect through material loading conveyer belt 232 between the material loading drive wheel 231, every group material loading drive wheel 231 be connected with link gear 22 respectively.
The linkage mechanism 22 comprises a first hinged seat 221, a second hinged seat 222, a cleaning hinged seat 224 and a pushing hinged seat 223, wherein the first hinged seat 221 is hinged to the feeding transmission wheel 231, the other end of the first hinged seat 221 is hinged to the second hinged seat 222, the middle of the second hinged seat 222 is hinged to the pushing hinged seat 223, the end of the second hinged seat 222 is hinged to the cleaning hinged seat 224, and the pushing hinged seat 223 is connected with the feeding pushing portion 24.
When the automatic feeding device works, the feeding driving motor 21 is started, the feeding driving motor 21 can drive the feeding driving wheels 231 to rotate, the feeding driving wheels 231 are linked through the feeding conveying belt 232, then the feeding driving wheels 231 can drive the first hinged seats 221 to swing, the first hinged seats 221 drive the second hinged seats 222 to swing, the second hinged seats 222 respectively drive the pushing hinged seats 223 and the cleaning hinged seats 224 to swing, the pushing hinged seats 223 drive the feeding pushing portions 24 to push the cutter heads, meanwhile, the feeding pushing portions 24 can automatically adjust the distance between the cutter heads, so that the automatic feeding device adapts to feeding operation of the cutter heads with different specifications, and meanwhile, the feeding speed can be adjusted by adjusting the output frequency of the feeding driving motor 21.
In a further preferred embodiment of the present invention, as shown in fig. 5 to 9, the feeding pushing part 24 includes:
the push mounting seat 241 is fixedly connected with the push hinge seat 223;
the adjusting motor 242 is arranged on the pushing mounting base 241, the output end of the adjusting motor 242 is fixedly connected with an adjusting rotating shaft 243, one side of the adjusting rotating shaft 243 is provided with a plurality of groups of adjusting threaded rods 244, the adjusting threaded rods 244 are respectively sleeved with an adjusting push block 245, one side of the adjusting push block 245 is provided with a pressure sensor 246, and the pressure sensor 246 is used for detecting the quality of the cutter head.
In this embodiment, the pushing mounting base 241 may be a rectangular base or a "T" base, and the adjusting motor 242 is fixedly mounted on the pushing mounting base 241 through a buckle, the output end of the adjusting motor 242 is connected with an adjusting rotating shaft 243 in an interference fit manner, the adjusting rotating shaft 243 is rotatably connected with the pushing mounting base 241 through a bearing or a sleeve, and meanwhile, the adjusting threaded rod 244 is slidably connected with the adjusting push block 245, and the adjusting push block 245 may be an arc-shaped block, a rectangular block or a polygonal block structure, and meanwhile, the end of the adjusting push block 245 may further be provided with an arc-shaped groove, when being used for pushing a tool bit, the tool bit is limited, thereby avoiding the tool bit from deviating in the transmission process.
Illustratively, pressure sensor 246 is connected with control system or controller communication through the mode of DTU or 5G communication, and pressure sensor 246 can measure pushing pressure, judges the quality of tool bit through the pressure test, and then avoids leading to the problem that the tool bit appears the defect because of the quality is not enough.
During operation, the adjusting motor 242 is started, the adjusting motor 242 drives the adjusting rotating shaft 243 and the adjusting threaded rod 244 to rotate, so that the adjusting threaded rod 244 drives the adjusting push block 245 to move, the position of the adjusting push block 245 is adjusted, the requirements of feeding of tool bits with different specifications can be met, the production line is fixed, the adjusting push block 245 can separate tool bits produced by the production line, then the position change of the push block 245 is adjusted, the distance between the tool bit release position and the inclined seat 52 can be changed, the clamping time change of tool bits with different diameters can be met, and the matching of all mechanisms is more consistent.
In a further preferred embodiment of the present invention, as shown in fig. 5-10, the bit cleaning assembly 6 comprises:
the dust cleaning seat 61, the dust cleaning seat 61 is at least provided with one group, the dust cleaning seat 61 is fixedly installed on the cleaning base 13, one side of the dust cleaning seat 61 is provided with a dust suction plate 63, and the dust filtering seat 62 is fixedly installed on the dust cleaning seat 61;
the dust collection piston 64 is slidably mounted in the dust cleaning seat 61, the dust collection piston 64 is sleeved on the dust collection screw rod 65, the dust collection screw rod 65 is rotatably mounted in the dust cleaning seat 61, and one end of the dust collection screw rod 65 is fixedly connected with a cleaning hinged seat 224.
In this embodiment, the dust suction piston 64 is connected to the dust suction screw 65 by a screw thread, and the dust filter base 62 can be a fiber filter box, a dust filter box or an activated carbon filter box, and the dust cleaning base 61 is communicated with the dust filter base 62 by penetrating through, and in this application, a plurality of groups of dust suction grooves are arranged on the dust suction plate 63, and a check valve is arranged in each dust suction groove, when working, the second hinge base 222 swings to drive the cleaning hinge base 224 to swing, the cleaning hinge base 224 swings to drive the dust suction screw 65 to rotate, the dust suction screw 65 drives the dust suction piston 64 to slide along the dust cleaning base 61, so that dust around the equipment is sucked by the dust suction plate 63, and is discharged after being filtered by the dust filter base 62, and cleanness around the equipment is guaranteed.
In conclusion, the invention provides adjustable multifunctional medical ultrasonic cutter head processing equipment, when the equipment works, a cutter head feeding mechanism can feed a cutter head produced by a production line onto a cutter head blanking part 3, then the cutter head ejection part 4 is opened, the cutter head ejection part 4 ejects the cutter head, then a cutter head clamping component 8 stably clamps a medical ultrasonic cutter head to be processed, meanwhile, the cutter head clamping component 8 can clamp cutter heads with different specifications, after clamping is finished, the cutter head bending part 7 can be opened, and the cutter head bending part 7 can quickly bend the cutter head, so that the requirement for bending the cutter head is met.
Be provided with tool bit kink 7 in this application, tool bit kink 7 can the medical supersound tool bit of the different specifications of centre gripping, has avoided tool bit kink 7 during operation, and the tool bit appears droing or not hard up phenomenon, has improved the precision of tool bit processing, has guaranteed the quality of tool bit.
It should be noted that, for simplicity of description, the above-mentioned embodiments are described as a series of acts, but those skilled in the art will recognize that the present invention is not limited by the order of acts, as some steps may occur in other orders or concurrently in accordance with the invention. Further, those skilled in the art should also appreciate that the embodiments described in the specification are preferred embodiments and that the acts and modules referred to are not necessarily required by the invention.
In the embodiments provided in the present application, it should be understood that the disclosed apparatus may be implemented in other ways. For example, the above-described embodiments of the apparatus are merely illustrative, and for example, the above-described division of the units is only one type of division of logical functions, and other divisions may be realized in practice, for example, a plurality of units or components may be combined or integrated into another system, or some features may be omitted, or not executed. In addition, the shown or discussed mutual coupling or communication connection may be an indirect coupling or communication connection between devices or units through some interfaces, and may be in a telecommunication or other form.
The units described as separate parts may or may not be physically separate, and parts displayed as units may or may not be physical units, may be located in one place, or may be distributed on a plurality of network units. Some or all of the units can be selected according to actual needs to achieve the purpose of the solution of the embodiment.
The above examples are only used to illustrate the technical solutions of the present invention, and do not limit the scope of the present invention. It is to be understood that the described embodiments are merely exemplary of the invention, and not restrictive of the full scope of the invention. All other embodiments, which can be derived by a person skilled in the art from these embodiments without inventive step, are within the scope of the present invention. Although the present invention has been described in detail with reference to the above embodiments, those skilled in the art may still make various combinations, additions, deletions or other modifications of the features of the embodiments of the present invention according to the situation without conflict, so as to obtain different technical solutions without substantially departing from the spirit of the present invention, and these technical solutions also fall within the protection scope of the present invention.
Claims (10)
1. The utility model provides a multi-functional processing equipment of medical supersound tool bit with adjustable, multi-functional processing equipment of medical supersound tool bit with adjustable includes:
the equipment supporting assembly comprises an equipment base, a driving base, a blanking base, a transmission base and a cleaning base;
the medical ultrasonic scalpel head blanking device is characterized by comprising a scalpel head processing mechanism, a blanking base and a blanking mechanism, wherein the scalpel head processing mechanism is arranged on the blanking base and is used for processing medical ultrasonic scalpel heads and clamping and fixing scalpel heads of different types;
the feeding mechanism is used for feeding, cleaning and quality detection of the cutter head;
the cutter head processing mechanism comprises a cutter head blanking portion, a cutter head ejecting portion, a cutter head clamping component and a cutter head bending portion, wherein the cutter head blanking portion is fixedly arranged on the blanking base, the cutter head clamping component is used for clamping different types of cutter heads and is fixed, the cutter head clamping component comprises a cutter head limiting seat, a clamping driving piece and a side clamping portion and a top clamping portion which can move synchronously, the side clamping portion and the top clamping portion work in a matched mode, and the clamping portions are fixed for clamping different types of cutter heads.
2. The adjustable multifunctional medical ultrasonic cutter head machining equipment as claimed in claim 1, wherein: the tool bit blanking portion includes:
the cutter head blanking seat is detachably arranged on the blanking base;
the material blocking columns are used for preventing the cutter head from falling off during blanking, and the material blocking columns are detachably mounted in the cutter head blanking seat;
wherein, tool bit ejecting part sets up one side of tool bit blanking seat, tool bit ejecting part includes:
ejecting out the cylinder;
and the tool bit ejecting piece is detachably connected with the telescopic end of the ejection cylinder and is in sliding connection with the tool bit blanking seat.
3. The adjustable medical ultrasonic blade multifunctional processing equipment as claimed in claim 2, wherein: the tool bit kink includes:
the bending driving piece is fixedly arranged on the cutter head blanking seat;
and the cutter head bending piece is fixedly connected with the bending driving piece and is used for bending the cutter head.
4. The adjustable multifunctional medical ultrasonic cutter head machining equipment as claimed in claim 3, wherein: the clamping driving piece is fixedly arranged on the tool bit limiting seat, and the clamping driving piece is fixedly connected with the clamping driving piece;
the side clamping part is at least provided with a set of, and the side clamping part includes:
the horizontal transmission rack is arranged on one side of the clamping transmission piece and is in meshing transmission with the clamping transmission piece;
a side clamping seat fixedly connected with the horizontal transmission rack, wherein the side clamping seat is used for clamping and fixing tool bits of different models, and
and the horizontal guide rod is fixedly installed on the cutter head limiting seat, is connected with the horizontal transmission rack in a sliding manner and is used for limiting the horizontal transmission rack.
5. The adjustable multifunctional medical ultrasonic cutter head machining equipment as claimed in claim 4, wherein: the top clamping portion includes:
the vertical transmission rack is arranged on one side of the clamping transmission piece and is in meshing transmission with the clamping transmission piece;
a top clamping seat fixedly connected with the vertical transmission rack, the top clamping seat is used for clamping and fixing the top of the tool bit, and
and the vertical guide rod is used for limiting the vertical transmission rack and is fixedly arranged on the cutter head limiting seat.
6. The adjustable multifunctional medical ultrasonic blade machining apparatus according to any one of claims 1 to 5, wherein: tool bit feed mechanism includes:
the cutter head transmission part is fixedly arranged on the transmission base and is used for supporting and limiting the cutter head during feeding;
the feeding driving assembly is arranged on the driving base and is respectively connected with a cutter head transmission part and a cutter head cleaning assembly;
and the cutter head cleaning assembly is arranged on the cleaning base and used for sucking dust on the surface of the cutter head.
7. The adjustable multifunctional medical ultrasonic blade machining equipment as claimed in claim 6, wherein: the material loading drive assembly includes:
the feeding driving motor is fixedly arranged on the driving base;
the feeding transmission part is arranged on the driving base, is connected with the feeding driving motor and is also connected with the linkage mechanism;
and the linkage mechanism is used for transmitting the power of the feeding driving motor and is respectively connected with the cutter head cleaning assembly and the feeding pushing part.
8. The adjustable medical ultrasonic blade multifunctional processing equipment as claimed in claim 7, wherein: the feeding transmission part comprises at least one group of feeding transmission wheels, any one of the feeding transmission wheels is fixedly connected with a feeding driving motor, the feeding transmission wheels are connected through a feeding conveyor belt, and each group of the feeding transmission wheels is respectively connected with a linkage mechanism;
the link gear includes that first articulated seat, second articulate seat, clean articulated seat and the articulated seat of promotion, and wherein, first articulated seat is articulated with the material loading drive wheel, and the other end of first articulated seat is articulated with the articulated seat of second, and the middle part of the articulated seat of second articulates there is the articulated seat of promotion, and the tip of the articulated seat of second articulates there is clean articulated seat, and the articulated seat of promotion is connected with material loading promotion portion.
9. The adjustable medical ultrasonic blade multifunctional processing equipment as claimed in claim 8, wherein: the material loading pushing part comprises:
the pushing mounting seat is fixedly connected with the pushing hinge seat;
the adjusting motor of setting on promoting the mount pad, adjusting motor's output fixedly connected with adjusts the pivot, and one side of adjusting the pivot is provided with multiunit adjusting threaded rod, the last cover respectively of adjusting threaded rod is equipped with the regulation ejector pad, and pressure sensor is installed to one side of adjusting the ejector pad, pressure sensor is used for the detection of tool bit quality.
10. The adjustable medical ultrasonic blade multifunctional processing device as claimed in claim 9, wherein: the tool bit clearance subassembly includes:
the dust cleaning seat is at least provided with one group, the dust cleaning seat is fixedly arranged on the cleaning base, one side of the dust cleaning seat is provided with a dust collecting plate, and the dust filtering seat is fixedly arranged on the dust cleaning seat;
the dust collection screw rod is rotatably installed in the dust cleaning seat, and the one end fixedly connected with of the dust collection screw rod is clean and hinged to the base.
Priority Applications (1)
| Application Number | Priority Date | Filing Date | Title |
|---|---|---|---|
| CN202310044798.9A CN115770826B (en) | 2023-01-30 | 2023-01-30 | Multifunctional processing equipment for adjustable medical ultrasonic tool bit |
Applications Claiming Priority (1)
| Application Number | Priority Date | Filing Date | Title |
|---|---|---|---|
| CN202310044798.9A CN115770826B (en) | 2023-01-30 | 2023-01-30 | Multifunctional processing equipment for adjustable medical ultrasonic tool bit |
Publications (2)
| Publication Number | Publication Date |
|---|---|
| CN115770826A true CN115770826A (en) | 2023-03-10 |
| CN115770826B CN115770826B (en) | 2023-05-23 |
Family
ID=85393738
Family Applications (1)
| Application Number | Title | Priority Date | Filing Date |
|---|---|---|---|
| CN202310044798.9A Active CN115770826B (en) | 2023-01-30 | 2023-01-30 | Multifunctional processing equipment for adjustable medical ultrasonic tool bit |
Country Status (1)
| Country | Link |
|---|---|
| CN (1) | CN115770826B (en) |
Citations (9)
| Publication number | Priority date | Publication date | Assignee | Title |
|---|---|---|---|---|
| JP2000245742A (en) * | 1999-03-04 | 2000-09-12 | Kaijirushi Hamono Kaihatsu Center:Kk | Blade of medical knife |
| CN101590599A (en) * | 2009-06-19 | 2009-12-02 | 江苏蓝星玻璃有限公司 | Hollow aluminum strip bending machine and its bending method |
| EP2633820A1 (en) * | 2012-02-29 | 2013-09-04 | Occlutech Holding AG | A medical implant for occluding an opening in a body and a method of producing such a medical implant |
| CN112275855A (en) * | 2020-11-06 | 2021-01-29 | 江苏新泰隆管件有限公司 | Elbow integration equipment that can buckle fast |
| CN212472929U (en) * | 2020-06-01 | 2021-02-05 | 湖北宇星水钻饰品有限公司 | Loading attachment is used in water brill production and processing |
| CN112893681A (en) * | 2021-03-02 | 2021-06-04 | 温州飞荣汽配有限公司 | Automobile buckle stamping device |
| US20210323045A1 (en) * | 2020-04-17 | 2021-10-21 | Boise State University | Cutting system for soft materials using replaceable blades |
| CN114618924A (en) * | 2022-01-19 | 2022-06-14 | 厚凯(天津)医疗科技有限公司 | Ultrasonic knife machining system and method |
| CN218254736U (en) * | 2022-08-11 | 2023-01-10 | 瑞安市中凯自动化科技有限公司 | Multifunctional front-back left-right clamp |
-
2023
- 2023-01-30 CN CN202310044798.9A patent/CN115770826B/en active Active
Patent Citations (9)
| Publication number | Priority date | Publication date | Assignee | Title |
|---|---|---|---|---|
| JP2000245742A (en) * | 1999-03-04 | 2000-09-12 | Kaijirushi Hamono Kaihatsu Center:Kk | Blade of medical knife |
| CN101590599A (en) * | 2009-06-19 | 2009-12-02 | 江苏蓝星玻璃有限公司 | Hollow aluminum strip bending machine and its bending method |
| EP2633820A1 (en) * | 2012-02-29 | 2013-09-04 | Occlutech Holding AG | A medical implant for occluding an opening in a body and a method of producing such a medical implant |
| US20210323045A1 (en) * | 2020-04-17 | 2021-10-21 | Boise State University | Cutting system for soft materials using replaceable blades |
| CN212472929U (en) * | 2020-06-01 | 2021-02-05 | 湖北宇星水钻饰品有限公司 | Loading attachment is used in water brill production and processing |
| CN112275855A (en) * | 2020-11-06 | 2021-01-29 | 江苏新泰隆管件有限公司 | Elbow integration equipment that can buckle fast |
| CN112893681A (en) * | 2021-03-02 | 2021-06-04 | 温州飞荣汽配有限公司 | Automobile buckle stamping device |
| CN114618924A (en) * | 2022-01-19 | 2022-06-14 | 厚凯(天津)医疗科技有限公司 | Ultrasonic knife machining system and method |
| CN218254736U (en) * | 2022-08-11 | 2023-01-10 | 瑞安市中凯自动化科技有限公司 | Multifunctional front-back left-right clamp |
Also Published As
| Publication number | Publication date |
|---|---|
| CN115770826B (en) | 2023-05-23 |
Similar Documents
| Publication | Publication Date | Title |
|---|---|---|
| CN117066903B (en) | Automatic steel pipe cutting device for stainless steel dining table production | |
| CN112388495A (en) | Burnishing device is used in new forms of energy automobile wheel hub processing | |
| CN210548942U (en) | Three-chuck laser pipe cutting machine | |
| CN116117668B (en) | A polishing machine tool for excavator rocker arm bracket | |
| CN111822771B (en) | Manufacturing equipment and method for anchor cable drilling machine auxiliary support for mine underground construction | |
| CN210305776U (en) | Numerical control lathe's unloading mechanism | |
| CN116890273A (en) | Embedded metal substrate's bellying processing equipment | |
| CN112060505B (en) | Automatic feeding trimming water gap shearing machine for in-mold decoration injection molding part | |
| CN115770826A (en) | Adjustable multifunctional processing equipment for medical ultrasonic tool bit | |
| CN214026725U (en) | Semi-steel full-automatic tire shearing machine | |
| CN115464743A (en) | Edge sealing belt finishing device for special-shaped plate | |
| CN113601360A (en) | Automatic grinding machine tool with cleaning and recycling mechanism and using method thereof | |
| CN117754301B (en) | Four-axis tapping structure of vertical machining center | |
| CN110434957B (en) | Plank surface slotting device | |
| CN113021458A (en) | Cutting device is made to combined material car leaf spring intelligence | |
| CN108943193A (en) | A kind of charging and discharging mechanism and vehicle wash carving multi-purpose machine | |
| CN208341743U (en) | A kind of trimming beveler and its handling equipment | |
| CN216609258U (en) | Foam model engraver dust cleaning device | |
| CN111283268B (en) | Cutting device for bent pipe | |
| CN214869288U (en) | Carbon beam chamfering machine | |
| CN115972002A (en) | Motor shaft production and processing cleaner of polishing | |
| CN112405971B (en) | Semi-steel full-automatic tire shearing machine | |
| CN115302335A (en) | Device is used in processing of transition joint inner wall | |
| CN216940069U (en) | Mechanical polishing equipment for machining | |
| CN219094336U (en) | Fixed length cutting table for machining gas spring movable rod |
Legal Events
| Date | Code | Title | Description |
|---|---|---|---|
| PB01 | Publication | ||
| PB01 | Publication | ||
| SE01 | Entry into force of request for substantive examination | ||
| SE01 | Entry into force of request for substantive examination | ||
| GR01 | Patent grant | ||
| GR01 | Patent grant |