CN115697742A - 车辆用动力装置以及带发电机的车轮用轴承 - Google Patents

车辆用动力装置以及带发电机的车轮用轴承 Download PDF

Info

Publication number
CN115697742A
CN115697742A CN202180041113.4A CN202180041113A CN115697742A CN 115697742 A CN115697742 A CN 115697742A CN 202180041113 A CN202180041113 A CN 202180041113A CN 115697742 A CN115697742 A CN 115697742A
Authority
CN
China
Prior art keywords
inner ring
bracket
wheel
vehicle
ring
Prior art date
Legal status (The legal status is an assumption and is not a legal conclusion. Google has not performed a legal analysis and makes no representation as to the accuracy of the status listed.)
Pending
Application number
CN202180041113.4A
Other languages
English (en)
Inventor
矢田雄司
西川健太郎
Current Assignee (The listed assignees may be inaccurate. Google has not performed a legal analysis and makes no representation or warranty as to the accuracy of the list.)
NTN Corp
Original Assignee
NTN Corp
Priority date (The priority date is an assumption and is not a legal conclusion. Google has not performed a legal analysis and makes no representation as to the accuracy of the date listed.)
Filing date
Publication date
Application filed by NTN Corp filed Critical NTN Corp
Publication of CN115697742A publication Critical patent/CN115697742A/zh
Pending legal-status Critical Current

Links

Images

Classifications

    • HELECTRICITY
    • H02GENERATION; CONVERSION OR DISTRIBUTION OF ELECTRIC POWER
    • H02KDYNAMO-ELECTRIC MACHINES
    • H02K7/00Arrangements for handling mechanical energy structurally associated with dynamo-electric machines, e.g. structural association with mechanical driving motors or auxiliary dynamo-electric machines
    • H02K7/14Structural association with mechanical loads, e.g. with hand-held machine tools or fans
    • BPERFORMING OPERATIONS; TRANSPORTING
    • B60VEHICLES IN GENERAL
    • B60KARRANGEMENT OR MOUNTING OF PROPULSION UNITS OR OF TRANSMISSIONS IN VEHICLES; ARRANGEMENT OR MOUNTING OF PLURAL DIVERSE PRIME-MOVERS IN VEHICLES; AUXILIARY DRIVES FOR VEHICLES; INSTRUMENTATION OR DASHBOARDS FOR VEHICLES; ARRANGEMENTS IN CONNECTION WITH COOLING, AIR INTAKE, GAS EXHAUST OR FUEL SUPPLY OF PROPULSION UNITS IN VEHICLES
    • B60K17/00Arrangement or mounting of transmissions in vehicles
    • B60K17/34Arrangement or mounting of transmissions in vehicles for driving both front and rear wheels, e.g. four wheel drive vehicles
    • B60K17/354Arrangement or mounting of transmissions in vehicles for driving both front and rear wheels, e.g. four wheel drive vehicles having separate mechanical assemblies for transmitting drive to the front or to the rear wheels or set of wheels
    • BPERFORMING OPERATIONS; TRANSPORTING
    • B60VEHICLES IN GENERAL
    • B60KARRANGEMENT OR MOUNTING OF PROPULSION UNITS OR OF TRANSMISSIONS IN VEHICLES; ARRANGEMENT OR MOUNTING OF PLURAL DIVERSE PRIME-MOVERS IN VEHICLES; AUXILIARY DRIVES FOR VEHICLES; INSTRUMENTATION OR DASHBOARDS FOR VEHICLES; ARRANGEMENTS IN CONNECTION WITH COOLING, AIR INTAKE, GAS EXHAUST OR FUEL SUPPLY OF PROPULSION UNITS IN VEHICLES
    • B60K17/00Arrangement or mounting of transmissions in vehicles
    • B60K17/34Arrangement or mounting of transmissions in vehicles for driving both front and rear wheels, e.g. four wheel drive vehicles
    • B60K17/356Arrangement or mounting of transmissions in vehicles for driving both front and rear wheels, e.g. four wheel drive vehicles having fluid or electric motor, for driving one or more wheels
    • BPERFORMING OPERATIONS; TRANSPORTING
    • B60VEHICLES IN GENERAL
    • B60KARRANGEMENT OR MOUNTING OF PROPULSION UNITS OR OF TRANSMISSIONS IN VEHICLES; ARRANGEMENT OR MOUNTING OF PLURAL DIVERSE PRIME-MOVERS IN VEHICLES; AUXILIARY DRIVES FOR VEHICLES; INSTRUMENTATION OR DASHBOARDS FOR VEHICLES; ARRANGEMENTS IN CONNECTION WITH COOLING, AIR INTAKE, GAS EXHAUST OR FUEL SUPPLY OF PROPULSION UNITS IN VEHICLES
    • B60K6/00Arrangement or mounting of plural diverse prime-movers for mutual or common propulsion, e.g. hybrid propulsion systems comprising electric motors and internal combustion engines
    • B60K6/20Arrangement or mounting of plural diverse prime-movers for mutual or common propulsion, e.g. hybrid propulsion systems comprising electric motors and internal combustion engines the prime-movers consisting of electric motors and internal combustion engines, e.g. HEVs
    • B60K6/42Arrangement or mounting of plural diverse prime-movers for mutual or common propulsion, e.g. hybrid propulsion systems comprising electric motors and internal combustion engines the prime-movers consisting of electric motors and internal combustion engines, e.g. HEVs characterised by the architecture of the hybrid electric vehicle
    • B60K6/44Series-parallel type
    • B60K6/448Electrical distribution type
    • BPERFORMING OPERATIONS; TRANSPORTING
    • B60VEHICLES IN GENERAL
    • B60KARRANGEMENT OR MOUNTING OF PROPULSION UNITS OR OF TRANSMISSIONS IN VEHICLES; ARRANGEMENT OR MOUNTING OF PLURAL DIVERSE PRIME-MOVERS IN VEHICLES; AUXILIARY DRIVES FOR VEHICLES; INSTRUMENTATION OR DASHBOARDS FOR VEHICLES; ARRANGEMENTS IN CONNECTION WITH COOLING, AIR INTAKE, GAS EXHAUST OR FUEL SUPPLY OF PROPULSION UNITS IN VEHICLES
    • B60K6/00Arrangement or mounting of plural diverse prime-movers for mutual or common propulsion, e.g. hybrid propulsion systems comprising electric motors and internal combustion engines
    • B60K6/20Arrangement or mounting of plural diverse prime-movers for mutual or common propulsion, e.g. hybrid propulsion systems comprising electric motors and internal combustion engines the prime-movers consisting of electric motors and internal combustion engines, e.g. HEVs
    • B60K6/42Arrangement or mounting of plural diverse prime-movers for mutual or common propulsion, e.g. hybrid propulsion systems comprising electric motors and internal combustion engines the prime-movers consisting of electric motors and internal combustion engines, e.g. HEVs characterised by the architecture of the hybrid electric vehicle
    • B60K6/48Parallel type
    • BPERFORMING OPERATIONS; TRANSPORTING
    • B60VEHICLES IN GENERAL
    • B60KARRANGEMENT OR MOUNTING OF PROPULSION UNITS OR OF TRANSMISSIONS IN VEHICLES; ARRANGEMENT OR MOUNTING OF PLURAL DIVERSE PRIME-MOVERS IN VEHICLES; AUXILIARY DRIVES FOR VEHICLES; INSTRUMENTATION OR DASHBOARDS FOR VEHICLES; ARRANGEMENTS IN CONNECTION WITH COOLING, AIR INTAKE, GAS EXHAUST OR FUEL SUPPLY OF PROPULSION UNITS IN VEHICLES
    • B60K6/00Arrangement or mounting of plural diverse prime-movers for mutual or common propulsion, e.g. hybrid propulsion systems comprising electric motors and internal combustion engines
    • B60K6/20Arrangement or mounting of plural diverse prime-movers for mutual or common propulsion, e.g. hybrid propulsion systems comprising electric motors and internal combustion engines the prime-movers consisting of electric motors and internal combustion engines, e.g. HEVs
    • B60K6/50Architecture of the driveline characterised by arrangement or kind of transmission units
    • B60K6/52Driving a plurality of drive axles, e.g. four-wheel drive
    • BPERFORMING OPERATIONS; TRANSPORTING
    • B60VEHICLES IN GENERAL
    • B60KARRANGEMENT OR MOUNTING OF PROPULSION UNITS OR OF TRANSMISSIONS IN VEHICLES; ARRANGEMENT OR MOUNTING OF PLURAL DIVERSE PRIME-MOVERS IN VEHICLES; AUXILIARY DRIVES FOR VEHICLES; INSTRUMENTATION OR DASHBOARDS FOR VEHICLES; ARRANGEMENTS IN CONNECTION WITH COOLING, AIR INTAKE, GAS EXHAUST OR FUEL SUPPLY OF PROPULSION UNITS IN VEHICLES
    • B60K7/00Disposition of motor in, or adjacent to, traction wheel
    • B60K7/0007Disposition of motor in, or adjacent to, traction wheel the motor being electric
    • HELECTRICITY
    • H02GENERATION; CONVERSION OR DISTRIBUTION OF ELECTRIC POWER
    • H02KDYNAMO-ELECTRIC MACHINES
    • H02K1/00Details of the magnetic circuit
    • H02K1/06Details of the magnetic circuit characterised by the shape, form or construction
    • H02K1/12Stationary parts of the magnetic circuit
    • H02K1/18Means for mounting or fastening magnetic stationary parts on to, or to, the stator structures
    • H02K1/185Means for mounting or fastening magnetic stationary parts on to, or to, the stator structures to outer stators
    • HELECTRICITY
    • H02GENERATION; CONVERSION OR DISTRIBUTION OF ELECTRIC POWER
    • H02KDYNAMO-ELECTRIC MACHINES
    • H02K11/00Structural association of dynamo-electric machines with electric components or with devices for shielding, monitoring or protection
    • H02K11/20Structural association of dynamo-electric machines with electric components or with devices for shielding, monitoring or protection for measuring, monitoring, testing, protecting or switching
    • H02K11/21Devices for sensing speed or position, or actuated thereby
    • H02K11/215Magnetic effect devices, e.g. Hall-effect or magneto-resistive elements
    • HELECTRICITY
    • H02GENERATION; CONVERSION OR DISTRIBUTION OF ELECTRIC POWER
    • H02KDYNAMO-ELECTRIC MACHINES
    • H02K21/00Synchronous motors having permanent magnets; Synchronous generators having permanent magnets
    • H02K21/12Synchronous motors having permanent magnets; Synchronous generators having permanent magnets with stationary armatures and rotating magnets
    • H02K21/14Synchronous motors having permanent magnets; Synchronous generators having permanent magnets with stationary armatures and rotating magnets with magnets rotating within the armatures
    • H02K21/16Synchronous motors having permanent magnets; Synchronous generators having permanent magnets with stationary armatures and rotating magnets with magnets rotating within the armatures having annular armature cores with salient poles
    • HELECTRICITY
    • H02GENERATION; CONVERSION OR DISTRIBUTION OF ELECTRIC POWER
    • H02KDYNAMO-ELECTRIC MACHINES
    • H02K5/00Casings; Enclosures; Supports
    • H02K5/04Casings or enclosures characterised by the shape, form or construction thereof
    • H02K5/16Means for supporting bearings, e.g. insulating supports or means for fitting bearings in the bearing-shields
    • H02K5/173Means for supporting bearings, e.g. insulating supports or means for fitting bearings in the bearing-shields using bearings with rolling contact, e.g. ball bearings
    • H02K5/1737Means for supporting bearings, e.g. insulating supports or means for fitting bearings in the bearing-shields using bearings with rolling contact, e.g. ball bearings radially supporting the rotor around a fixed spindle; radially supporting the rotor directly
    • HELECTRICITY
    • H02GENERATION; CONVERSION OR DISTRIBUTION OF ELECTRIC POWER
    • H02KDYNAMO-ELECTRIC MACHINES
    • H02K5/00Casings; Enclosures; Supports
    • H02K5/04Casings or enclosures characterised by the shape, form or construction thereof
    • H02K5/18Casings or enclosures characterised by the shape, form or construction thereof with ribs or fins for improving heat transfer
    • HELECTRICITY
    • H02GENERATION; CONVERSION OR DISTRIBUTION OF ELECTRIC POWER
    • H02KDYNAMO-ELECTRIC MACHINES
    • H02K7/00Arrangements for handling mechanical energy structurally associated with dynamo-electric machines, e.g. structural association with mechanical driving motors or auxiliary dynamo-electric machines
    • H02K7/006Structural association of a motor or generator with the drive train of a motor vehicle
    • HELECTRICITY
    • H02GENERATION; CONVERSION OR DISTRIBUTION OF ELECTRIC POWER
    • H02KDYNAMO-ELECTRIC MACHINES
    • H02K7/00Arrangements for handling mechanical energy structurally associated with dynamo-electric machines, e.g. structural association with mechanical driving motors or auxiliary dynamo-electric machines
    • H02K7/08Structural association with bearings
    • H02K7/086Structural association with bearings radially supporting the rotor around a fixed spindle; radially supporting the rotor directly
    • H02K7/088Structural association with bearings radially supporting the rotor around a fixed spindle; radially supporting the rotor directly radially supporting the rotor directly
    • HELECTRICITY
    • H02GENERATION; CONVERSION OR DISTRIBUTION OF ELECTRIC POWER
    • H02KDYNAMO-ELECTRIC MACHINES
    • H02K7/00Arrangements for handling mechanical energy structurally associated with dynamo-electric machines, e.g. structural association with mechanical driving motors or auxiliary dynamo-electric machines
    • H02K7/18Structural association of electric generators with mechanical driving motors, e.g. with turbines
    • H02K7/1807Rotary generators
    • H02K7/1846Rotary generators structurally associated with wheels or associated parts
    • HELECTRICITY
    • H02GENERATION; CONVERSION OR DISTRIBUTION OF ELECTRIC POWER
    • H02KDYNAMO-ELECTRIC MACHINES
    • H02K9/00Arrangements for cooling or ventilating
    • H02K9/22Arrangements for cooling or ventilating by solid heat conducting material embedded in, or arranged in contact with, the stator or rotor, e.g. heat bridges
    • H02K9/227Heat sinks
    • BPERFORMING OPERATIONS; TRANSPORTING
    • B60VEHICLES IN GENERAL
    • B60BVEHICLE WHEELS; CASTORS; AXLES FOR WHEELS OR CASTORS; INCREASING WHEEL ADHESION
    • B60B27/00Hubs
    • B60B27/0015Hubs for driven wheels
    • BPERFORMING OPERATIONS; TRANSPORTING
    • B60VEHICLES IN GENERAL
    • B60BVEHICLE WHEELS; CASTORS; AXLES FOR WHEELS OR CASTORS; INCREASING WHEEL ADHESION
    • B60B27/00Hubs
    • B60B27/0047Hubs characterised by functional integration of other elements
    • B60B27/0068Hubs characterised by functional integration of other elements the element being a sensor
    • BPERFORMING OPERATIONS; TRANSPORTING
    • B60VEHICLES IN GENERAL
    • B60KARRANGEMENT OR MOUNTING OF PROPULSION UNITS OR OF TRANSMISSIONS IN VEHICLES; ARRANGEMENT OR MOUNTING OF PLURAL DIVERSE PRIME-MOVERS IN VEHICLES; AUXILIARY DRIVES FOR VEHICLES; INSTRUMENTATION OR DASHBOARDS FOR VEHICLES; ARRANGEMENTS IN CONNECTION WITH COOLING, AIR INTAKE, GAS EXHAUST OR FUEL SUPPLY OF PROPULSION UNITS IN VEHICLES
    • B60K6/00Arrangement or mounting of plural diverse prime-movers for mutual or common propulsion, e.g. hybrid propulsion systems comprising electric motors and internal combustion engines
    • B60K6/20Arrangement or mounting of plural diverse prime-movers for mutual or common propulsion, e.g. hybrid propulsion systems comprising electric motors and internal combustion engines the prime-movers consisting of electric motors and internal combustion engines, e.g. HEVs
    • B60K6/42Arrangement or mounting of plural diverse prime-movers for mutual or common propulsion, e.g. hybrid propulsion systems comprising electric motors and internal combustion engines the prime-movers consisting of electric motors and internal combustion engines, e.g. HEVs characterised by the architecture of the hybrid electric vehicle
    • B60K6/48Parallel type
    • B60K2006/4808Electric machine connected or connectable to gearbox output shaft
    • BPERFORMING OPERATIONS; TRANSPORTING
    • B60VEHICLES IN GENERAL
    • B60KARRANGEMENT OR MOUNTING OF PROPULSION UNITS OR OF TRANSMISSIONS IN VEHICLES; ARRANGEMENT OR MOUNTING OF PLURAL DIVERSE PRIME-MOVERS IN VEHICLES; AUXILIARY DRIVES FOR VEHICLES; INSTRUMENTATION OR DASHBOARDS FOR VEHICLES; ARRANGEMENTS IN CONNECTION WITH COOLING, AIR INTAKE, GAS EXHAUST OR FUEL SUPPLY OF PROPULSION UNITS IN VEHICLES
    • B60K6/00Arrangement or mounting of plural diverse prime-movers for mutual or common propulsion, e.g. hybrid propulsion systems comprising electric motors and internal combustion engines
    • B60K6/20Arrangement or mounting of plural diverse prime-movers for mutual or common propulsion, e.g. hybrid propulsion systems comprising electric motors and internal combustion engines the prime-movers consisting of electric motors and internal combustion engines, e.g. HEVs
    • B60K6/22Arrangement or mounting of plural diverse prime-movers for mutual or common propulsion, e.g. hybrid propulsion systems comprising electric motors and internal combustion engines the prime-movers consisting of electric motors and internal combustion engines, e.g. HEVs characterised by apparatus, components or means specially adapted for HEVs
    • B60K6/26Arrangement or mounting of plural diverse prime-movers for mutual or common propulsion, e.g. hybrid propulsion systems comprising electric motors and internal combustion engines the prime-movers consisting of electric motors and internal combustion engines, e.g. HEVs characterised by apparatus, components or means specially adapted for HEVs characterised by the motors or the generators
    • BPERFORMING OPERATIONS; TRANSPORTING
    • B60VEHICLES IN GENERAL
    • B60YINDEXING SCHEME RELATING TO ASPECTS CROSS-CUTTING VEHICLE TECHNOLOGY
    • B60Y2200/00Type of vehicle
    • B60Y2200/90Vehicles comprising electric prime movers
    • B60Y2200/92Hybrid vehicles
    • BPERFORMING OPERATIONS; TRANSPORTING
    • B60VEHICLES IN GENERAL
    • B60YINDEXING SCHEME RELATING TO ASPECTS CROSS-CUTTING VEHICLE TECHNOLOGY
    • B60Y2400/00Special features of vehicle units
    • B60Y2400/60Electric Machines, e.g. motors or generators
    • BPERFORMING OPERATIONS; TRANSPORTING
    • B60VEHICLES IN GENERAL
    • B60YINDEXING SCHEME RELATING TO ASPECTS CROSS-CUTTING VEHICLE TECHNOLOGY
    • B60Y2410/00Constructional features of vehicle sub-units
    • B60Y2410/102Shaft arrangements; Shaft supports, e.g. bearings
    • FMECHANICAL ENGINEERING; LIGHTING; HEATING; WEAPONS; BLASTING
    • F16ENGINEERING ELEMENTS AND UNITS; GENERAL MEASURES FOR PRODUCING AND MAINTAINING EFFECTIVE FUNCTIONING OF MACHINES OR INSTALLATIONS; THERMAL INSULATION IN GENERAL
    • F16CSHAFTS; FLEXIBLE SHAFTS; ELEMENTS OR CRANKSHAFT MECHANISMS; ROTARY BODIES OTHER THAN GEARING ELEMENTS; BEARINGS
    • F16C19/00Bearings with rolling contact, for exclusively rotary movement
    • F16C19/02Bearings with rolling contact, for exclusively rotary movement with bearing balls essentially of the same size in one or more circular rows
    • F16C19/14Bearings with rolling contact, for exclusively rotary movement with bearing balls essentially of the same size in one or more circular rows for both radial and axial load
    • F16C19/18Bearings with rolling contact, for exclusively rotary movement with bearing balls essentially of the same size in one or more circular rows for both radial and axial load with two or more rows of balls
    • F16C19/181Bearings with rolling contact, for exclusively rotary movement with bearing balls essentially of the same size in one or more circular rows for both radial and axial load with two or more rows of balls with angular contact
    • F16C19/183Bearings with rolling contact, for exclusively rotary movement with bearing balls essentially of the same size in one or more circular rows for both radial and axial load with two or more rows of balls with angular contact with two rows at opposite angles
    • F16C19/184Bearings with rolling contact, for exclusively rotary movement with bearing balls essentially of the same size in one or more circular rows for both radial and axial load with two or more rows of balls with angular contact with two rows at opposite angles in O-arrangement
    • F16C19/186Bearings with rolling contact, for exclusively rotary movement with bearing balls essentially of the same size in one or more circular rows for both radial and axial load with two or more rows of balls with angular contact with two rows at opposite angles in O-arrangement with three raceways provided integrally on parts other than race rings, e.g. third generation hubs
    • FMECHANICAL ENGINEERING; LIGHTING; HEATING; WEAPONS; BLASTING
    • F16ENGINEERING ELEMENTS AND UNITS; GENERAL MEASURES FOR PRODUCING AND MAINTAINING EFFECTIVE FUNCTIONING OF MACHINES OR INSTALLATIONS; THERMAL INSULATION IN GENERAL
    • F16CSHAFTS; FLEXIBLE SHAFTS; ELEMENTS OR CRANKSHAFT MECHANISMS; ROTARY BODIES OTHER THAN GEARING ELEMENTS; BEARINGS
    • F16C2326/00Articles relating to transporting
    • F16C2326/01Parts of vehicles in general
    • F16C2326/02Wheel hubs or castors
    • FMECHANICAL ENGINEERING; LIGHTING; HEATING; WEAPONS; BLASTING
    • F16ENGINEERING ELEMENTS AND UNITS; GENERAL MEASURES FOR PRODUCING AND MAINTAINING EFFECTIVE FUNCTIONING OF MACHINES OR INSTALLATIONS; THERMAL INSULATION IN GENERAL
    • F16CSHAFTS; FLEXIBLE SHAFTS; ELEMENTS OR CRANKSHAFT MECHANISMS; ROTARY BODIES OTHER THAN GEARING ELEMENTS; BEARINGS
    • F16C2380/00Electrical apparatus
    • F16C2380/26Dynamo-electric machines or combinations therewith, e.g. electro-motors and generators
    • YGENERAL TAGGING OF NEW TECHNOLOGICAL DEVELOPMENTS; GENERAL TAGGING OF CROSS-SECTIONAL TECHNOLOGIES SPANNING OVER SEVERAL SECTIONS OF THE IPC; TECHNICAL SUBJECTS COVERED BY FORMER USPC CROSS-REFERENCE ART COLLECTIONS [XRACs] AND DIGESTS
    • Y02TECHNOLOGIES OR APPLICATIONS FOR MITIGATION OR ADAPTATION AGAINST CLIMATE CHANGE
    • Y02TCLIMATE CHANGE MITIGATION TECHNOLOGIES RELATED TO TRANSPORTATION
    • Y02T10/00Road transport of goods or passengers
    • Y02T10/60Other road transportation technologies with climate change mitigation effect
    • Y02T10/62Hybrid vehicles

Landscapes

  • Engineering & Computer Science (AREA)
  • Power Engineering (AREA)
  • Combustion & Propulsion (AREA)
  • Transportation (AREA)
  • Mechanical Engineering (AREA)
  • Chemical & Material Sciences (AREA)
  • Microelectronics & Electronic Packaging (AREA)
  • Physics & Mathematics (AREA)
  • Thermal Sciences (AREA)
  • Rolling Contact Bearings (AREA)
  • Arrangement Or Mounting Of Propulsion Units For Vehicles (AREA)
  • Mounting Of Bearings Or Others (AREA)
  • Motor Or Generator Frames (AREA)
  • Connection Of Motors, Electrical Generators, Mechanical Devices, And The Like (AREA)
  • Hybrid Electric Vehicles (AREA)

Abstract

一种车辆用动力装置(1),其具有车轮用轴承(2)和可驱动作为旋转圈的外圈(4)的行驶用马达(3)。进而,具有支架(24),该支架(24)安装在车辆的转向节(8)上。支架(24)具有:支架基部(24a),该支架基部(24a)夹设在转向节(8)和内圈(5)之间,使内圈(5)以可拆卸的方式被固定;以及圆筒状的支架圆筒部(24b),该圆筒状的支架圆筒部(24b)从支架基部(24a)向外侧延伸。行驶用马达(3)具有:定子(18),该定子(18)以可拆卸的方式连接到支架圆筒部(24b)的内周上;以及转子(19),该转子(19)在定子(18)的内周安装到外圈(4)。

Description

车辆用动力装置以及带发电机的车轮用轴承
相关申请
本申请要求申请日为2020年6月8日、申请号为JP特愿2020-099184号申请的优先权,通过参照其整体,将其作为构成本申请的一部分的内容进行引用。
技术领域
本发明涉及车辆用动力装置和带发电机的车轮用轴承,涉及适用于汽车等的技术。
背景技术
在车轮内部组入马达而成的车辆用动力装置是一种集成了支撑车轮的车轮用轴承、进行车轮的驱动及再生的马达的装置,具有许多优点,如协助车辆的驱动、减速时的再生、通过每个车轮的扭矩控制来稳定姿势等,预计与汽车的电气化相结合的技术,在未来会有需求。
<现有结构1>
图17显示了现有的搭载有带发电功能的行驶用马达的车辆用动力装置的截面图。如该图17所示那样,搭载有该带发电功能的行驶用马达的车辆用动力装置,被收纳在制动转子70的滑动部的内周侧上(专利文献1)。在悬架装置71上,通过车轮用轴承外圈72、马达定子固定部件73来固定马达定子铁芯74。马达定子铁芯74上绕有马达绕组线圈75,用于通过电流并产生磁力。一方面,在车轮用轴承凸缘76上安装马达转子壳体77和马达转子78,并围绕马达定子铁芯74旋转。根据与该车轮用轴承一体化的带发电功能的行驶用马达,与车辆行驶状态对应,进行驱动和再生。
在现有的上述车辆用动力装置中,如果车轮用轴承或带发电功能的行驶用马达发生异常或劣化,车轮用轴承和带发电功能的行驶用马达不能分离,必须更换整个车辆用动力装置,这使得更换作业的难度变高,更换部件的费用也昂贵。
<现有结构2>
为了解决现有结构1的课题,人们提出了一个提案,即,如图18所示,可使车轮用轴承部和带发电功能的行驶用马达部分开(专利文献2)。在图18所示的例子中,在作为底盘框架部件的转向节79上设置了车轮用轴承固定部件80,相对车轮用轴承固定部件80,外圈81和定子82中的一个或两个以能拆卸的方式固定。
现有技术文献
专利文献
专利文献1:JP特开2018-52482号公报
专利文献2:JP特开2019-202570号公报
发明内容
发明要解决的课题
在现有结构2的情况下,不会分解车轮用轴承,有可能分离车轮用轴承、马达转子和马达定子。然而,在这种结构中,马达定子82与车轮用轴承固定部件80的外径部接触,在马达动作时伴有线圈中流动的电流所产生的发热(铜损)和伴随旋转的定子铁芯内部的磁通量变化所产生的发热(铁损)。该产生的热量通过车轮用轴承固定部件80和外圈81传递热量,使轴承内部空间的温度上升。由此,导致轴承内部的润滑脂和保持滚动体84的保持器、磁性编码器等过早劣化,这可能会导致与现有方式相比缺乏可靠性。
此外,在滚动面的外径部上,外圈81和车轮用轴承固定部件80之间有紧固部,为了确保更换的容易性,用螺栓83来固定是适当的。然而,由于螺栓需要有足够的强度来承受来自路面的载荷,所以外圈81和车轮用轴承固定部件80之间的紧固部在外径侧有较厚的壁。与此相伴,位于紧固部的外径侧的马达部的占有空间变小,变得无法获得所需的输出。为了获得所需的输出,采用更细的线圈或需要更大的电流,从而导致马达定子82的发热量更高。
本发明的目的是提供一种车辆用动力装置以及带发电机的车轮用轴承,在更换车轮用轴承等时,可以作为独立单元进行更换,从而减少更换的时间和更换部件的费用,同时改善定子的散热性,可保证轴承的可靠性。
用于解决课题的技术方案
本发明的车辆用动力装置包括:车轮用轴承,该车轮用轴承具有作为固定圈的内圈以及作为旋转圈的外圈,该旋转圈通过滚动体以可旋转的方式支持在该内圈上,该车轮用轴承在上述外圈的外侧端具有车轮安装用凸缘,该车轮安装用凸缘用于安装车辆的车轮;以及电动机,该电动机能够旋转驱动上述旋转圈,其特征在于,
该车辆用动力装置具有支架,该支架安装在上述车辆的底盘框架部件上,该支架具有:支架基部,该支架基部夹设在上述底盘框架部件与上述内圈之间,上述内圈以能拆卸的方式固定在该支架基部上;以及圆筒状的支架圆筒部,该圆筒状的支架圆筒部从该支架基部向外侧延伸,
上述电动机具有:定子,该定子以能拆卸的方式连接到上述支架圆筒部的内周上;以及转子,该转子在该定子的内周安装到上述外圈。
根据该构成,车轮用轴承是固定圈为内圈、旋转圈为外圈的外圈旋转类型。此外,内圈以能拆卸的方式固定在支架的支架基部上。又,定子以能拆卸的方式固定在从支架基部延伸到外侧的圆筒状的支架圆筒状部的内周。因此,在更换车轮用轴承时,通过将内圈从安装到底盘框架部件的支架基部上拆下,可以很容易地将车轮用轴承的组件等从车辆用动力装置上取出。然后可以按照与上述相反的顺序组装一个新的车轮用轴承的组件等。又,由于电动机的定子固定在支架圆筒状部的内周上,电动机在径向上的占有空间可以确保比上述现有构造等大,因该现有构造在车轮用轴承外圈和车轮用轴承固定部件之间具有紧固部。因此,可以获得所需的电动机输出。在更换电动机时,只需将车轮用轴承从车辆用动力装置上拆下,就可以将定子从支架圆筒状部的内周拆下,而无需分解轴承部件等。
电动机为内转子型,其中,定子安装在支架圆筒部的内周上,转子在定子内周、安装在外圈上。因此,定子中产生的热量通过定子、支架圆筒部和支架基部传递给底盘框架部件。如此,由于定子不与车轮用轴承接触,在定子中产生的热量很难转移到车轮用轴承内部,电动机的发热可以有效地散热到车辆的底盘框架部件上。由此,可以防止轴承内部的润滑脂等过早劣化。
因此,在更换车轮用轴承等时,可以进行独立单元的更换,从而减少更换的时间和更换部件的费用,同时改善定子的散热性,可保证轴承的可靠性。
也可构成为,上述支架安装到上述底盘框架部件上的同时,在上述定子设置在上述支架圆筒部的状态,上述车轮用轴承相对于上述支架基部,在轴承轴方向上以能拆卸的方式构成。在该场合下,车轮用轴承的更换时,省略了车辆用动力装置整体从底盘框架部件一次性取下的工夫,能够从车辆用动力装置将车轮用轴承的组件等从轴承轴方向抽出。因此,可以减少作业负担。
也可构成为,上述内圈包括内圈本体和部分内圈,该部分内圈嵌合在该内圈本体的内侧的外周面,上述内圈本体具有内侧突出部,该内侧突出部向内侧突出,其前端部形成有外螺纹部,上述支架基部上形成插通孔,该插通孔允许上述内侧突出部的插通,上述内侧突出部被插通到上述支架基部的上述插通孔中,而且设置螺母,在上述部分内圈的内侧端面与上述支架基部的外侧面接触的状态,该螺母与上述内侧突出部的上述外螺纹部螺合。在该场合下,能够将螺母从内侧突出部的外螺纹部脱离,能够从支架基部将车轮用轴承的组件等从轴方向容易的脱离。又,然后可以按照与上述相反的顺序组装一个新的车轮用轴承的组件等。
也可构成为,上述内圈包括内圈本体和部分内圈,该部分内圈通过螺母紧固或敛缝而固定在该内圈本体的外侧的外周面,上述内圈本体具有内侧突出部,该内侧突出部向内侧突出,其前端部形成有外螺纹部,上述支架基部上形成插通孔,该插通孔允许上述内侧突出部的插通,上述内侧突出部被插通到上述支架基部的上述插通孔中,而且设置螺母,在上述内圈本体的内侧端面与上述支架基部的外侧面接触的状态,该螺母与上述内侧突出部的上述外螺纹部螺合。
在这种情况下,通过将内侧的螺母从内侧突出部的外螺纹部脱离,车轮用轴承的组件可以很容易地从支架基部上从轴方向分离。由于部分内圈通过螺母紧固或敛缝而固定在内圈本体的外侧的外周面以提供轴承预压,因此,可以分别构成提供轴承预压的机构和将内圈固定在支架基部上的固定机构。由此,轴承预压的调整变得容易,能提高轴承的可靠性。
也可构成为,上述内圈包括内圈本体和部分内圈,该部分内圈通过螺母紧固或敛缝而固定在该内圈本体的外侧的外周面,上述内圈本体的内侧端具有凸缘部,该凸缘部形成有螺纹孔,上述凸缘部在上述支架基部通过螺栓从内侧以能拆卸的方式固定。
在这种情况下,通过将螺栓从内圈本体的凸缘部脱离,车轮用轴承的组件可以很容易地在轴方向从支架基部上分离。由于部分内圈通过螺母紧固或敛缝的方式固定在内圈本体的外侧的外周面以提供轴承预压,因此,可以分别构成提供轴承预压的机构和将内圈固定在支架基部上的固定机构。由此,轴承预压的调整容易,轴承的可靠性提高。
也可构成为,在上述支架基部的上述插通孔被插通的上述内侧突出部上设置花键,以防止相对于所述支架基部的相对旋转。根据上述花键,能够抑制作为固定圈的内圈的旋转以及向旋转方向的振动。由此,能够进一步提高轴承的可靠性。
也可构成为,在上述车轮轴承中设有旋转检测传感器,以检测上述外圈相对于上述内圈的旋转速度,上述旋转检测传感器具有:设置于所述外圈的外侧端部的旋转检测传感器转子、以及设置于所述内圈的外侧端部并检测所述旋转检测传感器转子的旋转检测传感器定子,并具有外部取出机构,以将上述旋转检测传感器的输出电缆向外部取出。在该场合,根据检测外圈相对于内圈的旋转速度,能够控制电动机的旋转。又,旋转检测传感器转子以及旋转检测传感器定子均设置于各圈的外侧端部,所以,因此可以在不从车辆用动力装置上拆下车轮用轴承的情况下进行例如旋转检测传感器的间隙调整等的维护。
也可构成为,上述旋转检测传感器兼具有车轮速度传感器的功能。在这种情况下,部件的数量可以减少,结构可以简化。
也可构成为,在上述转子的内周面和上述外圈的外周面之间设有由非磁性材料制成的圆筒部件。在这种情况下,可以防止转子产生的磁力对车轮用轴承产生不利影响。
也可构成为,在上述支架圆筒部的外周设有散热机构,以将上述电动机产生的热量散热到外部空间。当与定子接触的支架圆筒部的外周暴露在外面的空气中时,具有将电动机产生的热量散布到外面的空气中的效果。在这种情况下,如果上述散热装置设置在支架圆筒部的外圆周上,可望产生更大的散热效果。
本发明的带发电机的车轮用轴承包括:车轮用轴承,该车轮用轴承具有作为固定圈的内圈以及作为旋转圈的外圈,该旋转圈通过滚动体以能旋转的方式支持在该内圈上,该车轮用轴承在上述外圈的外侧端具有车轮安装用凸缘,以用于安装车辆的车轮;以及发电机,该发电机根据上述旋转圈的旋转进行发电,其特征在于,
该带发电机的车轮用轴承具有支架,该支架安装在上述车辆的底盘框架部件上,该支架具有:支架基部,该支架基部夹设在上述底盘框架部件与上述内圈之间,上述内圈以能拆卸的方式固定在该支架基部上;以及圆筒状的支架圆筒部,该圆筒状的支架圆筒部从该支架基部向外侧延伸,
上述发电机具有:定子,该定子以能拆卸的方式连接到上述支架圆筒部的内周上;以及转子,该转子在该定子的内周安装到上述外圈。
根据该构成,在更换车轮用轴承时,通过对安装到底盘框架部件的支架基部脱离内圈,可以很容易地从带发电机的车轮用轴承上抽出车轮用轴承的组件等。然后可以按照与上述相反的顺序组装一个新的车轮用轴承的组件等。又,由于发电机的定子固定在支架圆筒部的内周上,发电机在径方向上的占有空间可以确保比上述现有结构等的空间大,该现有结构中,在车轮用轴承外圈和车轮用轴承固定部件之间有紧固部。因此,可以获得所需的发电机输出。更换发电机时,只需从带发电机的车轮用轴承脱离车轮用轴承,就可以从支架圆筒状部的内圆周脱离定子,而无需分解轴承部件等。
发电机为内转子型,其中,定子安装在支架圆筒部的内周上,转子在定子内周、安装在外圈上。因此,定子中产生的热量通过定子、支架圆筒部和支架基部传递给底盘框架部件。如此,由于定子不与车轮用轴承接触,在定子中产生的热量很难转移到车轮用轴承内部,电动机的发热可以有效地散热到车辆的底盘框架部件上。由此,可以防止轴承内部的润滑脂等过早劣化。
因此,在更换车轮用轴承等时,可以进行独立单元的更换,从而减少更换的时间和更换部件的费用,同时改善定子的散热性,可保证轴承的可靠性。
在权利要求书和/或说明书和/或附图中公开的至少两种布置的任何组合都包括在本发明中。特别是,权利要求书的各权利要求的两个以上的任意组合也包含在本发明中。
附图说明
本发明通过参考附图的以下优选实施方式的说明,能够更清楚地理解。然而,实施方式和附图仅是为了图示和说明,而不是为了限制本发明的范围。本发明的范围由权利要求书来确定。在附图中,多个附图中的相同的标号表示相同或相当的部分。
图1为本发明的第1实施方式的车辆用动力装置的截面图;
图2为该车辆用动力装置的侧视图;
图3为沿图1中的III-III线的截面图;
图4为该车辆用动力装置的分解截面图;
图5为表示本发明的其它实施方式所相关的车辆用动力装置的截面图;
图6为表示本发明的另一其它实施方式所相关的车辆用动力装置的截面图;
图7为图6的车辆用动力装置的立体图;
图8为表示本发明的另一其它实施方式所相关的车辆用动力装置的立体图;
图9为表示本发明的另一其它实施方式所相关的车辆用动力装置的截面图;
图10为该车辆用动力装置的侧面图;
图11为表示本发明的另一其它实施方式所相关的车辆用动力装置的截面图;
图12为表示本发明的另一其它实施方式所相关的车辆用动力装置的截面图;
图13为该车辆用动力装置的侧面图;
图14为显示具有任一种车辆用动力装置的车辆的车辆用系统的概念结构的方框图;
图15为搭载了该车辆用系统的车辆的一个例子的电源系统图;
图16为说明具有该车辆用动力装置的其它车辆的车辆用系统的概念结构的图;
图17为现有结构的车辆用动力装置的截面图;
图18为其它的现有结构的车辆用动力装置的截面图。
具体实施方式
[第1实施方式]
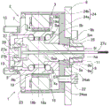
本发明的实施方式所相关的车辆用动力装置与图1至图4一起说明。
图1是沿图2的I-I线截面图。如图1所示,该车辆用动力装置1具有:车轮用轴承2;支架24;作为兼用发电机的电动机的带发电功能的行驶用马达3。该车辆用动力装置1具有内转子型的带发电功能的行驶用马达3。
<关于车轮用轴承2>
车轮用轴承2具有:作为旋转圈的外圈4、双排的滚动体6、保持滚动体6的未图示的保持架、作为固定圈的内圈5。该车轮用轴承2是为角接触球轴承,其中使用钢球作为滚动体6。外圈4和内圈5之间的轴承空间被封入了润滑脂。沿着车轮用轴承2的旋转轴C1的方向被称为“轴承轴方向”,垂直于所述旋转轴C1的方向被称为“轴承径方向”。
外圈4具有:形成有双排的轨道面的外圈本体4a、从该外圈本体4a的外侧的外周面延伸到外径侧的车轮安装凸缘7。多个轮毂螺栓13被插通到车轮安装凸缘7中。在车轮安装凸缘7上,将制动转子12和未图示的车轮的轮体在轴向重叠的状态,通过所述轮毂螺栓13安装。上述轮体的外周上安装未图示的轮胎。
并非所述轮毂螺栓13,而是在外圈4的凸缘面形成螺纹孔,并从外方使用轮体螺栓(未图示)来固定外圈4、制动转子12、所述轮体和轮胎。
又,在本说明书中,车辆用动力装置1搭载在车辆上的状态下,将车辆宽度方向上更靠近车辆外侧的一侧称为外侧,而在车辆宽度方向上更靠近车辆中心的一侧称为内侧。
内圈5具有内圈本体5a和嵌合在内圈本体5a的内侧的外周面的部分内圈5b。内圈本体5a具有向内侧突出的内侧突出部5i。内侧突出部5i与内圈本体5a同轴、一体设置于内圈本体5a,而且比部分内圈5b的配设位置更向内侧突出。所谓的上述“一体设置”是指,内侧突出部5i和内圈本体5a由单一材料,例如通过锻造、机械加工等,作为单一物体的一部分或整体而成形,而不是结合几个要素而成。
内侧突出部5i从外侧向内侧依次包括嵌合部9以及外螺纹11。上述嵌合部9为后述支架24的嵌合部,它通过一个台阶与内圈本体5a的内侧外表面连接。嵌合部9包括:第一嵌合部9a,其形成的直径略小于内侧的外周面;以及第二嵌合部9b,其位于该第一嵌合部9a的外侧。第二嵌合部9b形成花键Sm,该花键Sm嵌合在支架24的支架基部24a的一部分(下面描述的被嵌合部21(图4))。花键Sm包括在圆周方向上以固定间隔形成的多个花键齿,特别从抑制振动的角度来看,渐开线花键是优选的。第二嵌合部9b的外周面,即花键Sm的外径面直径形成为小于第一嵌合部9a,且大于外螺纹11。
<支架24>
支架24包括:固定在转向节8上的支架基部24a,转向节8作为车辆的底盘框架部件;以及支架圆筒部24b,该支架圆筒部24b从该支架基部24a的大直径部(后述)的外径侧端向外侧延伸。这些支架基部24a与支架圆筒部24b为同轴且一体形成。支架基部24a与支架圆筒部24b可以由分体部件构成。支架基部24a夹设在转向节8和内圈5之间,内圈5以能拆卸的方式固定。支架基部24a包括:位于外侧的大直径部24aa;以及与该大直径部24aa的内侧面连接,比该大直径部24aa小径的小直径部24ab。
如图4所示,大直径部24aa形成被嵌合部20,该被嵌合部20与第一嵌合部9a嵌合,小直径部24ab形成被嵌合部21,该被嵌合部21由作为渐开线花键的花键Sm所嵌合的花键槽构成。第一嵌合部9a与其被嵌合部20的嵌合可以是间隙嵌合,也可以是以提高轴心精度为目的的压紧。
如图1和图2所示,转向节8有一个贯通孔8b,可以允许小直径部24ab的嵌合。大直径部24aa上形成有圆周方向的多个螺纹孔,支架基部24a通过多个螺栓22安装到转向节8上,该螺栓22被螺纹连接到这些螺纹孔。在小直径部24ab的外周面嵌合到转向节8的贯通孔8b的状态,且大直径部24aa的内侧面与转向节8的外侧面8a接触的状态,将支架基部24a固定在转向节8上。
部分内圈5b的内侧面配置为与大直径部24aa的外侧接触并可分离。支架基部24a形成有一个插通孔ha,以允许内侧突出部5i的插通。通过上述被嵌合部20、21(图4)形成插通孔ha。又,内侧突出部5i的第一嵌合部9a与大直径部24aa的被嵌合部20(图4)嵌合,内侧突出部5i的第二嵌合部9b与小直径部24ab的被嵌合部21(图4)花键嵌合。此外,通过将螺母25螺合到外螺纹部11上,以在轴承部产生预定的轴向力的扭矩值,将车轮用轴承2固定在支架24上。内圈本体5a的第二嵌合部9b和支架24的被嵌合部21(图4)相互以花键嵌合,因此,可以抑制内圈5的旋转和向旋转方向的振动。
<制动器17>
制动器17是具有盘状的制动圆筒12和制动卡钳16(图14)的摩擦制动器。制动圆筒12具有平板状部12a和外周部12b。平板状部12a是与车轮安装凸缘7重叠的圈状且平板状的部件。外周部12b具有从平板状部12a的外周缘部向内侧呈圆筒状延伸的圆筒状部12ba、和从该圆筒状部12ba的内侧端向外径侧呈平板状延伸的平板部12bb。上述制动卡钳16(图14)可以是油压式以及机械式的任何一种,或者也可以是电动马达式。
<关于带发电功能的行驶用马达3>。
如图1和图3所示,本例中的带发电功能的行驶马达3是行驶辅助用的带发电功能的行驶用马达,它通过车轮的转动发电,并能通过被供电来旋转驱动车轮。带发电功能的行驶用马达3为内转子型,具有:定子18,它以能拆卸的方式安装到支架圆筒部24b的内周;以及转子19,它在该定子18的内周上安装到外圈本体4a的外周上。又,带发电功能的行驶用马达3是直接驱动型,其转子19安装在外圈4上。
该带发电功能的行驶用马达3比制动转子12的内径更向半径方向内侧设置,并在车轮安装凸缘7和转向节8的外侧面8a之间的轴方向范围设置。该带发电功能的行驶用马达3为例如表面磁铁型永磁马达,即SPM(Surface Permanent Magnet,表贴式永磁)同步马达(或称为SPMSM(Surface Permanent Magnet Synchronous Motor,表贴式永磁同步马达))。
或者,带发电功能的行驶用马达3是一个IPM(Interior Permanent Magnet,内置式永磁)同步马达(或称为IPMSM(Interior Permanent Magnet Synchronous Motor,内置式永磁同步马达))。其他类型的带发电功能的行驶用马达3能采用包括开关磁阻马达(Switched reluctance motor,简称为SR马达)、感应马达(Induction Motor,简称为IM马达)等各种形式。在每种类型的马达中,分布式绕组和集中式绕组都可以作为定子18的绕组类型。
<定子18>
定子18具有环状的定子铁芯18a和定子线圈18b,该定子线圈18b与该定子铁芯18a的齿部通过未图示的绝缘材料缠绕。可使用树脂骨架等作为上述的绝缘材料。定子铁芯18a由例如电磁钢板、压制磁芯或非晶合金制成。定子铁芯18a嵌合在支架24的支架圆筒部24b的内周面上。定子铁芯18a通过压接、粘合或其它材料的约束等固定在支架圆筒部24b的内周面。又,虽然在图中没有显示,但在定子铁芯18a的外周面上,以圆周方向规定的间隔形成多个凹部或凸部,而支架圆筒部24b的内周面上可形成嵌入上述多个凹部或凸部的多个凸部或凹部。由此,可以抑制定子铁芯18沿旋转方向的动作。
<转子19>
转子19相对于定子铁芯18a与径向内侧对向设置。转子19包括:固定在外圈本体4a的外周的圆筒形状的转子铁芯19a;以及固定在该转子铁芯19a的外周的永久磁铁19b。转子铁芯19a由例如软磁材料制成,与外圈本体4a同心,并通过例如压接、焊接或粘合的方式固定在外圈本体4a上。在转子铁芯19a的内周面,以圆周方向固定的间隔形成多个凹部,各凹部中嵌入永久磁铁19b,并通过粘合等方式固定。
<关于密封结构>
如图1所示,在支架圆筒状部件24b的外侧的内周面和车轮安装凸缘7的外周面之间配置密封部件23,以用于防止向带发电功能的行驶马达3和车轮用轴承2内部的水和异物的侵入。
<关于旋转检测传感器27>
该车辆用动力装置1设置有旋转检测传感器27。该旋转检测传感器27检测外圈4相对于内圈5的旋转角度或旋转速度,以控制带发电功能的行驶用马达3的旋转。此旋转速度与单位时间内的转数同义。旋转检测传感器27具有:旋转检测传感器转子27a;检测该旋转检测传感器转子27a的旋转检测传感器定子27b;以及与旋转检测传感器定子27b连接的输出电缆27c。
旋转检测传感器定子27b通过传感器固定部件28固定在内圈本体5a的外侧端部。旋转检测传感器转子27a通过有底圆筒状的盖子29固定在外圈4的外侧端部。旋转检测传感器转子27a通过嵌合等方式固定在从盖子29的底部沿轴承轴方向突出的轴部的外周面。盖子29具有防水性,可以防止水侵入旋转检测传感器27和车轮用轴承部。
在内圈本体5a的内部,形成作为外部取出机构的贯通孔5aa,用于将输出电缆27c取出到外部(在本例中为转向节8的内侧)。贯通孔5aa沿着内圈本体5a的轴心形成,从内圈本体5a的外侧端到内侧端而贯通。作为旋转检测传感器27,例如适用旋转变压器(resolver),但不限于旋转变压器,可以采用任何形式,例如编码器、脉冲圈或霍尔传感器。
<车轮速度传感器Sa>
车轮速度传感器Sa是检测车轮转速的传感器,例如具有设置在外圈4的内侧端的磁性编码器圈ER和传感器部(未图示),该传感器部与磁性编码器圈ER间隔规定的间隙设置在部分内圈5b的外周面。在这个例子中,车轮速度传感器Sa独立于旋转检测传感器27而设置,但旋转检测传感器27可以兼具车轮速度传感器的功能。
<本实施方式中的轴承分离方法>
关于车轮用轴承2的更换时的顺序,将结合图4进行说明。
*从内侧突出部5i的外螺纹11上拆下螺母25。
*沿着轴承轴方向,将车轮用轴承2和密封部件23从支架24上拔出。
装配作业按照与上述相反的顺序进行。
<作用效果>
根据上述说明的车辆用动力装置1,车轮用轴承2为固定圈为内圈5,旋转圈为外圈4的外圈旋转型。此外,内圈5以能拆卸的方式固定在支架24的支架基部24a上。另外,对从支架基部24a延伸到外侧的圆筒状的支架圆筒部24b的内周,定子18以能拆卸的方式固定。因此,在更换车轮用轴承2时,内圈5从安装在转向架8上的支架基部24a脱离,这样就可以使车轮用轴承2的组件等可以很容易地从车辆用动力装置1上拔出。然后,可以按照与上述相反的顺序组装一个新的车轮用轴承2的组件等。又,带发电功能的行驶用马达3的定子18固定在支架圆筒状部分24b的内周上,因此,与车轮用轴承外圈和车轮用轴承固定部件间具有紧固部上述现有结构等相比,可更大地确保带发电功能的行驶用马达3在径向上所占用的空间。因此,可以获得所需的电动机输出。当更换带发电功能的行驶用马达3时,只需将车轮用轴承2从车辆用动力装置1上脱离,以不分解轴承部件等而从支架圆筒部24b的内周能将定子18脱离。
带发电功能的行驶用马达3是内转子型,其中,定子18安装在支架圆筒部24b的内周上,转子19在定子18的内周安装到外圈4上。因此,在定子18发生的热量通过定子18、支架圆筒部24b和支架基部24a传热到转向节8上。如此,由于定子18不与车轮用轴承2接触,在定子18处产生的发热很难转移到车轮用轴承2的内部,而且带发电功能的行驶用马达3的发热能够高效地向车辆的转向节8散热。与定子18接触的支架圆筒部24b的外周暴露在外部空气中,因此,带发电功能的行驶用马达3产生的热量可以非常有效地散热到外部空气中。由此,可以防止轴承内部的润滑脂等过早劣化。
因此,在更换车轮用轴承2等时,可以作为独立单元进行更换,从而减少更换的时间和更换部件的费用,同时改善定子18的散热性,可保证轴承的可靠性。
在支架24安装到转向节8的同时,在支架圆筒部24b上设置定子18的状态下,相对支架基部24a,车轮用轴承2配置为在轴承轴方向能拆卸地构成。因此,车轮用轴承2的更换时,可以省略车辆用动力装置整体从转向节8上一次拆下的工夫,能够从车辆用动力装置1上将车轮用轴承2的组件等从轴承轴方向拔出。因此,可以谋求作业负担的降低。
<其他实施方式>
接着,关于其它实施方式等进行说明。在以下的说明中,对与各实施方式中先说明的事项对应的部分标注相同的参照标号,省略重复的说明。在仅说明结构的一部分的场合,只要没有特别记载,结构的其他部分与先前说明的方式相同。由相同的结构起到相同的作用效果。不仅是在各实施方式中具体说明的部分的组合,只要对组合没有特别的障碍,也可以将实施方式彼此部分地组合。
[第1实施方式的变形例:非磁性材料]
如图5所示,在转子19的内周面和外圈本体4a的外周面之间,可设置由非磁性材料制成的圆筒状部件Rb。在这种情况下,可以防止由转子19产生的磁力对车轮用轴承2产生的不利影响。
[第1实施方式的变形例:冷却用槽]
如图6和图7所示,在支架圆筒部24b的外周,设有散热机构Hs,以将带发电功能的行驶用马达3产生的热量散热到外部空间。本例中的散热装置Hs包括在支架圆筒部24b的外周面上形成的多个环状槽(冷却用槽)63。这些环状槽63例如以轴方向隔开一定间隔形成。当该支架圆筒部24b以包含轴承轴方向的平面切断观看时,各环状槽63成矩形槽状,但不限于矩形槽状。与定子18接触的支架圆柱部24b的外周暴露在外面的空气中,因此,带发电功能的行驶马达3所产生的热量散发到外部空气的效果提高。在这种情况下,如果在支架圆筒部24b的外周上设置散热机构Hs,可以期待有更大的散热效果。
[第1实施方式的变形例:其它的冷却用槽]
如图8所示,散热机构Hs可以构成为包括在支架圆筒部24b的外周面上形成的多个凹部(冷却用槽)64。上述多个凹部64在支架圆筒部24b的外周面上以圆周方向上隔开一定间隔形成。各凹部64在支架圆筒部24b的外周面,从外侧向内侧沿轴承轴方向延伸规定距离。通过对该支架圆筒部24b以垂直于轴承轴方向的平面切断观看,各凹部64的截面为矩形槽状,但不限于矩形槽状。在这种情况下,可以达到与上述散热机构Hs(图6)相同的作用效果。又,散热机构Hs不限于图6至图8的例子,而是可以改变成各种形状,以不妨碍制动转子12(图1)的范围为限。
[第2实施方式]
图9是图10的沿IX-IX线的横截面图。如图9和图10所示,该实施方式所相关的车辆用动力装置1中,内圈5包括内圈本体5a和部分内圈5b,该部分内圈5b通过螺母58的紧固而固定在该内圈本体5a的外侧的外周面上。本例中的内圈本体5a具有向内侧突出的内侧突出部5i和向外侧突出的外侧突出部5o。在外侧突出部5o的前端部形成外螺纹部59,在该外螺纹部59螺合所述螺母58,由此,将部分内圈5b固定在内圈本体5a上,并提供了轴承预压。内侧突出部5i插入支架基部24a的插通孔中,而且内圈本体5a的内侧端面在与支架基部24a的外侧端面接触的状态,通过螺母25螺合在内侧突出部5i的外螺纹11上。
根据这种构成,通过将内侧的螺母25从内侧突出部5i的外螺纹部11上脱离,由此车轮用轴承2的组件可以很容易地从轴方向脱离支架基部24a。部分内圈5b通过用螺母58的紧固而固定在内圈本体5a的外侧的外周面上以提供轴承预压,由此,可以单独构成提供轴承预压的机构和用于将内圈5固定在支架基部24a上的固定机构。由此,这有利于调整轴承预压,提高轴承的可靠性。
[第2实施方式的变形例:内圈敛缝形]
如图11所示,部分内圈5b通过敛缝部60的敛缝而固定在内圈本体5a的外侧的外周面上。在这种情况下,与图9和图10的例子相比,零件数量可以减少,内圈本体5a的轴方向长度可以缩短。
[第3实施方式]
图12是图13的沿XII-XII线的剖面图。如图12和图13所示,该例中的内圈5包括内圈本体5a和部分内圈5b,该部分内圈5b在该内圈本体5a外侧的外周面通过基于螺母58的紧固而固定。内圈本体5a内侧端部具有形成螺纹孔61a的凸缘部61,凸缘部61在支架基部24a上从内侧通过螺栓62以能拆卸的方式固定。虽然图中没有显示,但部分内圈5b也可在内圈本体5a的外侧的外周面,通过敛缝部60(参见图11)敛缝而固定。
根据该构成,通过从内圈本体5a的凸缘盘61上脱离螺栓62,由此,车轮用轴承2的组件在轴方向可以很容易地从支架基部24a脱离。部分内圈5b通过螺母58的紧固或敛缝固定在内圈本体5a的外侧的外周面以提供轴承预压,因此,可以单独构成提供轴承预压的机构和将内圈5固定在支架基部24a上的固定机构。由此,容易调整轴承预压,提高轴承的可靠性。
<关于车辆用系统>
图14为表示使用了任一的实施方式所相关的车辆用动力装置1的车辆用系统的构思方案的方框图。
在该车辆用系统中,车辆用动力装置1在具有与主驱动源以非机械方式连接的从动轮10B的车辆中,搭载于从动轮10B上。车辆用动力装置1中的车轮用轴承2(图1等)是支承从动轮10B的轴承。
主驱动源35是诸如汽油发动机或柴油发动机等的内燃机、或电动发电机(电动马达)、或组合两者的混合动力型的驱动源。上述“电动发电机”称为能够通过旋转赋予进行发电的电动马达。在图示的例子中,车辆30是前轮为驱动轮10A、后轮为从动轮10B的前轮驱动车,是主驱动源35具有内燃机35a和驱动轮侧的电动发电机35b的混合动力车(以下,有时称为“HEV”)。
具体来说,驱动轮侧的电动发电机35b是以48V等的中电压驱动的轻混合(MildHybrid)形式。混合动力大致分为强混合动力和轻混合动力,轻混合动力是指主要驱动源为内燃机,在起动时或加速时等主要通过电动机进行行驶的辅助的形式,在EV(电动汽车)模式下,通常的行驶即使暂时进行也不能长时间进行,从而与强混合动力相区别。该图的例子的内燃机35a经由离合器36和减速器37而与驱动轮10A的驱动轴连接,在减速器37上连接有驱动轮侧的电动发电机35b。
该车辆用系统具有:进行从动轮10B的旋转驱动的行驶辅助用的发电机的电动发电机3、进行该电动发电机的控制的各自控制机构39、以及设置于上位ECU 40并输出使上述各自控制机构39进行驱动及再生的控制的指令的各自电动发电机指令机构45。电动发电机3与蓄电机构连接。该蓄电机构可以使用电池(蓄电池)或电容器、电容装置等,其形式和在车辆30上的搭载位置没有限制。在本实施方式中,上述蓄电机构为搭载于车辆30的低电压电池50以及中电压电池49中的中电压电池49。
从动轮用的电动发电机3是不使用变速器的直接驱动马达。电动发电机3通过供给电力而作为电动机发挥作用,另外也作为将车辆30的动能转换为电力的发电机而发挥作用。
电动发电机3由于在外圈4(图1)上安装转子19(图1),所以如果对电动发电机3施加电流,则外圈4(图1)被旋转驱动,相反,在电力再生时通过负载感应电压而得到再生电力。该电动发电机3的旋转驱动用的驱动电压或再生电压在100V以下。
<车辆30的控制系统>
上位ECU 40是进行车辆30的综合控制的机构,具有转矩指令生成机构43。该转矩指令生成机构43根据从加速踏板等的加速操作机构56和制动踏板等的制动操作机构57分别输入的操作量的信号,生成转矩指令。该车辆30包括作为主驱动源35的内燃机35a和驱动轮侧的电动发电机35b,另外具有分别驱动两个从动轮10B、10B的两个电动发电机3、3,因此在上位ECU 40设置有根据各驱动源35a、35b、3、3所确定的规则,分配上述转矩指令的转矩指令分配机构44。
针对内燃机35a的转矩指令传递到内燃机控制机构47,用于内燃机控制机构47的阀开度控制等。针对驱动轮侧的发电电动机35b的转矩指令被传递到驱动轮侧电动发电机控制机构48来执行。对于从动轮侧的电动发电机3、3的转矩指令传递到各自控制机构39、39。将上述转矩指令分配机构44中向各自控制机构39、39输出的部分称为各自电动发电机指令机构45。该各自电动发电机指令机构45还具有如下功能:对于制动操作单元57的操作量的信号,将成为电动发电机3通过再生制动来分担制动的制动力的指令的转矩指令提供给各自控制机构39。根据各自电动发电机指令机构45以及各自控制机构39,构成控制电动发电机3的控制机构68。
各自控制机构39是逆变装置,具有将中电压电池49的直流电力转换为三相的交流电压的逆变器41、和根据上述转矩指令等而通过PWM控制等控制逆变器41的输出的控制部42。逆变器41具有由半导体开关元件等构成的桥式电路(在图中未示出)、以及将电动发电机3的再生电力充电至中电压电池49中的充电电路(在图中未示出)。另外,独立控制机构39相对两个电动发电机3、3单独地设置,但也可以是收纳在一个壳体内,由两个独立控制机构39、39共有控制部42的结构。
图15为作为搭载了上述车辆用系统的车辆(图14)的一个例子的电源系统图。在该图的例子中,作为电池,设置有低电压电池50和中电压电池49,两个电池49、50经由DC/DC转换器51连接。有两个电动发电机3,但作为代表,图示出一个。图14的驱动轮侧的电动发电机35b在图15中的图示省略,但与从动轮侧的电动发电机3并联地连接中电力系统。低电压负载52连接到低电压系统,并且中电压负载53连接到中电压系统。分别有多个低电压负载52和中电压负载53,但作为代表用一个来表示。
低电压电池50是作为控制系统等的电源而一般使用于各种汽车的电池,例如,设为12V或24V。作为低电压负载52,有内燃机35a的起动马达、灯具类、上位ECU 40以及其他ECU(在图中未示出)等的基本部件。也可以将低电压电池50称为电装辅助设备类用辅助电池,将中电压电池49称为电动系统用辅助电池等。
中电压电池49的电压比低电压电池50高,并且比用于强混合动力车等的高压电池(100V以上,例如200~400V左右)低,并且是在作业时触电对人体造成的影响不会成为问题的程度的电压,优选近年来用于轻混合动力的48V电池。48V蓄电池等的中电压蓄电池49能够比较容易地搭载于搭载有现有的内燃机的车辆,作为轻混合动力,通过基于电力的动力辅助、再生,能够降低耗油量。
上述48V系统的中电压负载53是上述附件部件,是作为上述驱动轮侧的电动发电机35b的动力辅助马达、电动泵、电动动力操舵装置、超级充电器以及空气压缩机等。通过由48V系统构成附件的负载,虽然与高电压(100V以上的混合动力车等)相比动力辅助的输出变低,但可以降低对乘员或维护作业者的触电的危险性。由于能够使电线的绝缘覆盖膜变薄,因此能够减少电线的重量、体积。另外,由于能够以小于12V的电流量输入输出大的电量,所以能够减小电动机或发电机的体积。由此,有助于车辆的耗油量降低效果。
该车辆用系统适用于这样的轻混合动力车的附件部件,作为动力辅助及电力再生部件而适用。另外,相对过去,在轻混合动力车中,采用CMG、GMG、皮带驱动式起动马达(均在图中未示出)等,但它们均对内燃机或动力装置进行动力辅助或再生,因此受到传递装置和减速机等的效率的影响。
与此相对,本实施方式的车辆用系统搭载于从动轮10B上,因此与内燃机35a及电动马达(在图中未示出)等的主驱动源断开,在电力再生时能够直接利用车身的动能。另外,在搭载CMG、GMG、带驱动式起动马达等时,需要从车辆30的设计阶段考虑而装入,难以进行后安装。
与此相对,收纳于从动轮10B内的该车辆用系统的电动发电机3即使是完整车也能够以与部件更换同等的工时而进行安装,对于仅具有内燃机35a的完整车也能够构成48V的系统。在仅具有内燃机35a的现有车辆上,搭载有:任一个实施方式相关的车辆用动力装置1;以及作为电动发电机的电池的驱动电压或再生电压在100V以下的上述中电压电池49,由此,无需对车辆进行大幅的改造,即可形成轻混合动力车辆。在搭载在该实施方式的车辆用系统的车辆上,如图14的例子中那样,可以搭载其它的辅助驱动用的电动发电机35b。此时,能够增加对车辆30的动力辅助量和再生电量,进一步有助于降低燃料消耗率。
图16示出了将上述任一实施方式的车辆用动力装置1分别应用于作为前轮的驱动轮10A和作为后轮的从动轮10B的例子。驱动轮10A由内燃机构成的主驱动源35经由离合器36和减速器37来驱动。在该前轮驱动车中,在各驱动轮10A和从动轮10B的支承和辅助驱动上设置有车辆用动力装置1。像这样,车辆用动力装置1不仅能够应用于从动轮10B,还能够应用于驱动轮10A
图14所示的车辆用系统具有进行发电的功能,但也可以是不进行基于供电的旋转驱动的系统。在该车辆用系统中搭载有,具有不兼用作马达的发电机3和车轮用轴承2的带有发电机的车轮用轴承装置。该带有发电机的车轮用轴承具有与任一实施方式中的车辆用动力装置相同的结构,除了兼用马达的电动发电机3之外。
按照搭载有该带发电机的车轮用轴承的车辆用系统,通过将电动发电机3所发出的再生电力储存在中电压电池49中,能够产生制动力。通过与机械式的制动操作机构57并用或分开使用,也能够提高制动性能。在像这样限定为进行发电的功能的场合,独立控制机构39可以不是逆变装置,而是作为AC/DC转换装置(在图中未示出)构成。上述AC/DC转换装置具有通过将三相交流电压转换为直流电压,将电动发电机3的再生电力充电到中电压蓄电池49的功能,与逆变器相比,控制方法容易,能够实现小型化。
如上所述,参照附图说明了优选的实施方式,但在不脱离本发明的主旨的范围内,能够进行各种追加、变更、删除。因此,这样的结构也包含在本发明的范围内。
符号说明
1……车辆用动力装置,2……车轮用轴承,3……带发电功能的行驶用马达(电动机),4……外圈,5……内圈,5a……内圈本体,5b……部分内圈,5i……内侧突出部,6……滚动体,7……车轮安装凸缘,8……转向节(底盘框架部件),11……外螺纹部,18……定子,19……转子,24……支架,24a……支架基部,24b……支架圆筒部,25、58……螺母,27……旋转检测传感器,27a……旋转检测传感器转子,27b……旋转检测传感器定子,27c……输出电缆,61……凸缘部,62……螺栓,Hs……散热机构,Rb……圆筒部件,Sm……花键。

Claims (11)

1.一种车辆用动力装置,该车辆用动力装置包括:车轮用轴承,该车轮用轴承具有作为固定圈的内圈以及作为旋转圈的外圈,该旋转圈通过滚动体以能旋转的方式支持在该内圈上,该车轮用轴承在上述外圈的外侧端具有车轮安装用凸缘,该车轮安装用凸缘用于安装车辆的车轮;以及电动机,该电动机能够旋转驱动上述旋转圈,其特征在于,
该车辆用动力装置具有支架,该支架安装在上述车辆的底盘框架部件上,该支架具有:支架基部,该支架基部夹设在上述底盘框架部件与上述内圈之间,上述内圈以能拆卸的方式固定在该支架基部上;以及圆筒状的支架圆筒部,该圆筒状的支架圆筒部从该支架基部向外侧延伸,
上述电动机具有:定子,该定子以能拆卸的方式连接到上述支架圆筒部的内周上;以及转子,该转子在该定子的内周安装到上述外圈。
2.根据权利要求1所述的车辆用动力装置,其中,在上述支架安装在所述底盘框架部件上的同时,在上述定子设置在所述支架圆筒部的状态,上述车轮用轴承相对于上述支架基部,在轴承轴方向上以能拆卸的方式构成。
3.根据权利要求1或权利要求2所述的车辆用动力装置,其中,上述内圈包括内圈本体和部分内圈,该部分内圈嵌合在该内圈本体的内侧的外周面,上述内圈本体具有内侧突出部,该内侧突出部向内侧突出,其前端部形成有外螺纹部,上述支架基部上形成插通孔,该插通孔允许上述内侧突出部的插通,上述内侧突出部被插通到上述支架基部的上述插通孔中,而且设置螺母,在上述部分内圈的内侧端面与上述支架基部的外侧面接触的状态,该螺母与上述内侧突出部的上述外螺纹部螺合。
4.根据权利要求1或权利要求2所述的车辆用动力装置,其中,上述内圈包括内圈本体和部分内圈,该部分内圈通过螺母紧固或敛缝而固定在该内圈本体的外侧的外周面,上述内圈本体具有内侧突出部,该内侧突出部向内侧突出,其前端部形成有外螺纹部,上述支架基部上形成插通孔,该插通孔允许上述内侧突出部的插通,上述内侧突出部被插通到上述支架基部的上述插通孔中,而且设置螺母,在上述内圈本体的内侧端面与上述支架基部的外侧面接触的状态,该螺母与上述内侧突出部的上述外螺纹部螺合。
5.根据权利要求1或权利要求2所述的车辆用动力装置,其中,上述内圈包括内圈本体和部分内圈,该部分内圈通过螺母紧固或敛缝而固定在该内圈本体的外侧的外周面,上述内圈本体的内侧端具有凸缘部,该凸缘部形成有螺纹孔,上述凸缘部在上述支架基部通过螺栓从内侧以能拆卸的方式固定。
6.根据权利要求3或权利要求4所述的车辆用动力装置,其中,在上述支架基部的上述插通孔被插通的上述内侧突出部上设置花键,以防止相对于所述支架基部的相对旋转。
7.根据权利要求1至6中任一项所述的车辆用动力装置,其中,在上述车轮轴承中设有旋转检测传感器,以检测上述外圈相对于上述内圈的旋转速度,上述旋转检测传感器具有:设置于所述外圈的外侧端部的旋转检测传感器转子、以及设置于所述内圈的外侧端部并检测所述旋转检测传感器转子的旋转检测传感器定子,并具有外部取出机构,以将上述旋转检测传感器的输出电缆向外部取出。
8.根据权利要求7所述的车辆用动力装置,其中,上述旋转检测传感器兼具有车轮速度传感器的功能。
9.根据权利要求1至8中任一项所述的车辆用动力装置,其中,在上述转子的内周面和上述外圈的外周面之间设有由非磁性材料制成的圆筒部件。
10.根据权利要求1至9中任一项所述的车辆用动力装置,其中,在上述支架圆筒部的外周设有散热机构,以将上述电动机产生的热量散热到外部空间。
11.一种带发电机的车轮用轴承,该带发电机的车轮用轴承包括:车轮用轴承,该车轮用轴承具有作为固定圈的内圈以及作为旋转圈的外圈,该旋转圈通过滚动体以能旋转的方式支持在该内圈上,该车轮用轴承在上述外圈的外侧端具有车轮安装用凸缘,以用于安装车辆的车轮;以及发电机,该发电机根据上述旋转圈的旋转进行发电,其特征在于,
该带发电机的车轮用轴承具有支架,该支架安装在上述车辆的底盘框架部件上,该支架具有:支架基部,该支架基部夹设在上述底盘框架部件与上述内圈之间,上述内圈以能拆卸的方式固定在该支架基部上;以及圆筒状的支架圆筒部,该圆筒状的支架圆筒部从该支架基部向外侧延伸,
上述发电机具有:定子,该定子以能拆卸的方式连接到上述支架圆筒部的内周上;以及转子,该转子在该定子的内周安装到上述外圈。
CN202180041113.4A 2020-06-08 2021-06-04 车辆用动力装置以及带发电机的车轮用轴承 Pending CN115697742A (zh)

Applications Claiming Priority (3)

Application Number Priority Date Filing Date Title
JP2020-099184 2020-06-08
JP2020099184A JP7349961B2 (ja) 2020-06-08 2020-06-08 車両用動力装置および発電機付車輪用軸受
PCT/JP2021/021403 WO2021251300A1 (ja) 2020-06-08 2021-06-04 車両用動力装置および発電機付車輪用軸受

Publications (1)

Publication Number Publication Date
CN115697742A true CN115697742A (zh) 2023-02-03

Family

ID=78846249

Family Applications (1)

Application Number Title Priority Date Filing Date
CN202180041113.4A Pending CN115697742A (zh) 2020-06-08 2021-06-04 车辆用动力装置以及带发电机的车轮用轴承

Country Status (5)

Country Link
US (1) US20230098893A1 (zh)
EP (1) EP4163139A4 (zh)
JP (1) JP7349961B2 (zh)
CN (1) CN115697742A (zh)
WO (1) WO2021251300A1 (zh)

Families Citing this family (3)

* Cited by examiner, † Cited by third party
Publication number Priority date Publication date Assignee Title
GB2597721B (en) * 2020-07-31 2022-11-23 Mcmurtry Automotive Ltd Electric power steering system for a vehicle
KR20230011139A (ko) * 2021-07-13 2023-01-20 현대모비스 주식회사 허브 베어링을 포함하는 휠 구조체 및 그 휠 구조체를 포함하는 자동차
JP7635750B2 (ja) * 2022-04-06 2025-02-26 トヨタ自動車株式会社 インホイールモータの冷却構造

Family Cites Families (11)

* Cited by examiner, † Cited by third party
Publication number Priority date Publication date Assignee Title
JPH05278476A (ja) * 1992-04-06 1993-10-26 Toyota Motor Corp 電気自動車用ホイールモータ
JP3440082B2 (ja) * 2001-02-19 2003-08-25 科学技術振興事業団 電気自動車用インホイールモーター
JP2004190736A (ja) * 2002-12-10 2004-07-08 Ntn Corp 車輪用軸受装置
JP5110854B2 (ja) * 2006-11-17 2012-12-26 Ntn株式会社 インホイール型モータ内蔵センサ付き車輪用軸受装置
JP4970970B2 (ja) * 2007-02-01 2012-07-11 東洋電機製造株式会社 インホイールモータユニット用治具
GB0906284D0 (en) * 2009-04-14 2009-05-20 Isis Innovation Electric machine-evaporative cooling
US20130127274A1 (en) * 2011-11-17 2013-05-23 Samsung Electro-Mechanics Co., Ltd. Spindle motor
JP6482249B2 (ja) * 2014-11-19 2019-03-13 日東電工株式会社 駆動装置
JP7079582B2 (ja) 2016-09-21 2022-06-02 Ntn株式会社 補助動力装置付き車輪用軸受装置およびその補助動力装置
JP2019050712A (ja) * 2017-09-08 2019-03-28 Ntn株式会社 車両用動力装置およびこの車両用動力装置を備えた車両
JP7066520B2 (ja) 2018-05-21 2022-05-13 Ntn株式会社 車両用動力装置および発電機付車輪用軸受

Also Published As

Publication number Publication date
WO2021251300A1 (ja) 2021-12-16
US20230098893A1 (en) 2023-03-30
JP2021192999A (ja) 2021-12-23
EP4163139A4 (en) 2024-07-31
JP7349961B2 (ja) 2023-09-25
EP4163139A1 (en) 2023-04-12

Similar Documents

Publication Publication Date Title
CN111051109B (zh) 车轮用轴承设备和具有车轮用轴承设备的车辆
US12021427B2 (en) Motor, vehicle power unit with motor, generator, vehicle wheel bearing with generator
US11990822B2 (en) Vehicle power unit and vehicle wheel bearing with generator
US11634021B2 (en) Power device for vehicles
JP2018052482A (ja) 補助動力装置付き車輪用軸受装置およびその補助動力装置
JP6976083B2 (ja) 車両動力補助システムおよび車両従動輪回生システム
US20230094579A1 (en) Vehicle power device and wheel bearing with generator
US20230098893A1 (en) Vehicle power device and vehicle bearing with power generator
JP2019075976A (ja) 車両用動力装置および発電機付き車輪用軸受装置
JP7048320B2 (ja) 車輪用軸受装置およびこの車輪用軸受装置を備えた車両
JP6997571B2 (ja) 発電機付き車輪用軸受装置
WO2019078216A1 (ja) 車両用動力装置および発電機付き車輪用軸受装置
WO2018056270A1 (ja) 車両動力補助システム
WO2019049973A1 (ja) 車輪用軸受装置およびこの車輪用軸受装置を備えた車両

Legal Events

Date Code Title Description
PB01 Publication
PB01 Publication
SE01 Entry into force of request for substantive examination
SE01 Entry into force of request for substantive examination