CN115677016A - Circular treatment aeration oxidation pond and method - Google Patents
Circular treatment aeration oxidation pond and method Download PDFInfo
- Publication number
- CN115677016A CN115677016A CN202211334798.4A CN202211334798A CN115677016A CN 115677016 A CN115677016 A CN 115677016A CN 202211334798 A CN202211334798 A CN 202211334798A CN 115677016 A CN115677016 A CN 115677016A
- Authority
- CN
- China
- Prior art keywords
- sewage
- sludge
- tank
- lifting
- dredging
- Prior art date
- Legal status (The legal status is an assumption and is not a legal conclusion. Google has not performed a legal analysis and makes no representation as to the accuracy of the status listed.)
- Granted
Links
- 238000005273 aeration Methods 0.000 title claims abstract description 70
- 230000003647 oxidation Effects 0.000 title claims abstract description 44
- 238000007254 oxidation reaction Methods 0.000 title claims abstract description 44
- 238000000034 method Methods 0.000 title claims abstract description 10
- 239000010865 sewage Substances 0.000 claims abstract description 171
- 230000007246 mechanism Effects 0.000 claims abstract description 119
- 239000010802 sludge Substances 0.000 claims abstract description 118
- 238000004140 cleaning Methods 0.000 claims abstract description 11
- 210000000078 claw Anatomy 0.000 claims description 39
- XLYOFNOQVPJJNP-UHFFFAOYSA-N water Substances O XLYOFNOQVPJJNP-UHFFFAOYSA-N 0.000 claims description 26
- 238000004062 sedimentation Methods 0.000 claims description 21
- QVGXLLKOCUKJST-UHFFFAOYSA-N atomic oxygen Chemical compound [O] QVGXLLKOCUKJST-UHFFFAOYSA-N 0.000 claims description 9
- 239000001301 oxygen Substances 0.000 claims description 9
- 229910052760 oxygen Inorganic materials 0.000 claims description 9
- 239000012535 impurity Substances 0.000 claims description 8
- 230000005540 biological transmission Effects 0.000 claims description 3
- 230000001360 synchronised effect Effects 0.000 claims description 3
- 125000004122 cyclic group Chemical group 0.000 claims 8
- 238000005276 aerator Methods 0.000 claims 1
- 230000000694 effects Effects 0.000 description 19
- 230000003028 elevating effect Effects 0.000 description 12
- 238000010586 diagram Methods 0.000 description 8
- 238000009423 ventilation Methods 0.000 description 5
- 244000005700 microbiome Species 0.000 description 2
- 239000005416 organic matter Substances 0.000 description 2
- 230000003068 static effect Effects 0.000 description 2
- 230000032683 aging Effects 0.000 description 1
- 230000009286 beneficial effect Effects 0.000 description 1
- 238000004891 communication Methods 0.000 description 1
- 230000006835 compression Effects 0.000 description 1
- 238000007906 compression Methods 0.000 description 1
- 238000001914 filtration Methods 0.000 description 1
- 239000007789 gas Substances 0.000 description 1
- 239000007788 liquid Substances 0.000 description 1
- 230000004048 modification Effects 0.000 description 1
- 238000012986 modification Methods 0.000 description 1
- 230000008569 process Effects 0.000 description 1
- 238000005086 pumping Methods 0.000 description 1
- 230000000630 rising effect Effects 0.000 description 1
- 239000002699 waste material Substances 0.000 description 1
Images
Classifications
-
- Y—GENERAL TAGGING OF NEW TECHNOLOGICAL DEVELOPMENTS; GENERAL TAGGING OF CROSS-SECTIONAL TECHNOLOGIES SPANNING OVER SEVERAL SECTIONS OF THE IPC; TECHNICAL SUBJECTS COVERED BY FORMER USPC CROSS-REFERENCE ART COLLECTIONS [XRACs] AND DIGESTS
- Y02—TECHNOLOGIES OR APPLICATIONS FOR MITIGATION OR ADAPTATION AGAINST CLIMATE CHANGE
- Y02W—CLIMATE CHANGE MITIGATION TECHNOLOGIES RELATED TO WASTEWATER TREATMENT OR WASTE MANAGEMENT
- Y02W10/00—Technologies for wastewater treatment
- Y02W10/10—Biological treatment of water, waste water, or sewage
Landscapes
- Aeration Devices For Treatment Of Activated Polluted Sludge (AREA)
- Treatment Of Sludge (AREA)
Abstract
本申请公开了一种循环处理曝气氧化池及方法,该曝气氧化池包括污水池,污水池的一侧设置有沉降池,污水池的另一侧设置有淤泥池,污水池的上侧连接设置有行走支架,行走支架上连接有清淤机构和升降机构,升降机构用于带动清淤机构在污水池内部升降,行走支架用于带动清淤机构移动以对污水池内部底端的淤泥进行清理;污水池的顶端固定设置有顶部桥板,顶部桥板的顶端中间固定设置有抽气泵,顶部桥板的底端设置有曝气管,曝气管设置有若干个,曝气管之间通过通气管相连通。
The present application discloses a circulation treatment aeration oxidation tank and its method. The aeration oxidation tank includes a sewage tank. One side of the sewage tank is provided with a settling tank, and the other side of the sewage tank is provided with a sludge tank. The upper side of the sewage tank is The connection is provided with a walking bracket, which is connected with a dredging mechanism and a lifting mechanism. The lifting mechanism is used to drive the dredging mechanism to move up and down inside the sewage pool, and the walking bracket is used to drive the dredging mechanism to move to remove the sludge at the bottom of the sewage pool. Cleaning; the top of the sewage tank is fixed with a top bridge, the middle of the top of the top bridge is fixed with an air pump, the bottom of the top bridge is equipped with an aeration tube, and there are several aeration tubes. Connected through the vent tube.
Description
技术领域technical field
本申请涉及污水处理技术领域,更具体地说,涉及一种循环处理曝气氧化池及方法。The present application relates to the technical field of sewage treatment, more specifically, to a circulation treatment aeration oxidation tank and its method.
背景技术Background technique
曝气是指将空气中的氧强制向液体中转移的过程,其目的是获得足够的溶解氧,加强池内有机物与微生物及溶解氧接触的目的,从而保证池内微生物在有充足溶解氧的条件下,对污水中有机物进行氧化分解。Aeration refers to the process of forcibly transferring the oxygen in the air to the liquid. Its purpose is to obtain enough dissolved oxygen and strengthen the contact between the organic matter in the pool and the microorganisms and dissolved oxygen, so as to ensure that the microorganisms in the pool have sufficient dissolved oxygen. , to oxidize and decompose organic matter in sewage.
现有技术公开号为CN213171802U的文献提供一种污水处理用循环处理曝气氧化池,其通过过滤池对处理后的污水进行二次处理,提高了处理质量,而不达标的污水经过循环处理管流入污水处理池,进行再次处理,达到循环处理的效果,以此增强污水处理效果;通过抽取处理过后的清水对淤泥板进行冲洗,再由吸污泵抽离到污水处理池外进行处理,从而增加污水清理的效率,也减少了因多次污水清理造成的成本和资源的浪费。虽然上述装置可以通过淤泥板和吸污泵清理池内底部淤泥,但是使用清污喷头冲刷清淤板上的淤泥时较为缓慢,影响污水曝气氧化池的工作效率;再者,污水处理池与过滤池容积不同,当过滤池工作时,污水处理池还未清空,导致其他的污水不能进入污水处理池中进行处理,使得污水处理的效率降低。The prior art publication number is CN213171802U, which provides a circulation treatment aeration oxidation tank for sewage treatment, which performs secondary treatment on the treated sewage through the filter tank, which improves the treatment quality, and the sewage that does not meet the standard passes through the circulation treatment pipe. It flows into the sewage treatment tank and is treated again to achieve the effect of circular treatment, so as to enhance the sewage treatment effect; the sludge plate is washed by pumping the treated clean water, and then pumped out of the sewage treatment tank by the sewage suction pump for treatment, thereby Increase the efficiency of sewage cleaning, and also reduce the cost and waste of resources caused by multiple sewage cleaning. Although the above-mentioned device can clean the bottom sludge in the tank through the sludge plate and the sewage suction pump, it is relatively slow to use the cleaning nozzle to flush the sludge on the dredging plate, which affects the working efficiency of the sewage aeration oxidation tank; moreover, the sewage treatment tank and filtration The volume of the pool is different. When the filter pool is working, the sewage treatment pool has not been emptied, so that other sewage cannot enter the sewage treatment pool for treatment, which reduces the efficiency of sewage treatment.
鉴于此,我们提出一种循环处理曝气氧化池及方法。In view of this, we propose a circulation treatment aeration oxidation tank and its method.
发明内容Contents of the invention
1.要解决的技术问题1. Technical problems to be solved
本申请的目的在于提供一种循环处理曝气氧化池及方法,解决了淤泥清理效率低,污水处理效率慢的技术问题,实现了可以更加快速的清理污水处理池内部的淤泥,且提高污水曝气氧化的效率的技术效果。The purpose of this application is to provide a cycle treatment aeration oxidation tank and its method, which solves the technical problems of low sludge cleaning efficiency and slow sewage treatment efficiency, and realizes that the sludge inside the sewage treatment tank can be cleaned more quickly, and the sewage aeration rate is improved. The technical effect of gas oxidation efficiency.
2.技术方案2. Technical solution
一种循环处理曝气氧化池,包括:污水池1;A circulation treatment aeration oxidation tank, comprising:
清淤机构,所述清淤机构设置于污水池1的内部一侧;A dredging mechanism, the dredging mechanism is arranged on the inner side of the
所述清淤机构包括清淤泵5、第一伸缩管501、淤泥输送管502、第二伸缩管503、连接板505、辅助爪板506和淤泥吸入喷头508,所述第一伸缩管501连通设置于清淤泵5的输出端,所述第一伸缩管501的另一端与淤泥输送管502相连通,所述第二伸缩管503连通设置于清淤泵5的输入端,所述第二伸缩管503的另一端连通设置有淤泥吸入管507,所述淤泥吸入喷头508连通设置于淤泥吸入管507的另一端,所述淤泥吸入管507与淤泥吸入喷头508均设置有若干个,若干个所述淤泥吸入管507之间通过通淤管相连通,所述连接板505的一侧固定设置有辅助爪板506,所述辅助爪板506的底端一侧设置有清淤爪,所述辅助爪板506设置有若干个,所述连接板505固定设置于所述第二伸缩管503的外侧;The dredging mechanism includes a dredging pump 5, a first
所述污水池1的一侧设置有沉降池2,所述污水池1的另一侧设置有淤泥池3,所述沉降池2和淤泥池3的顶端均连通设置有通气阀201,所述污水池1靠近淤泥池3的一侧开设有出淤口301,所述污水池1靠近沉降池2的一侧开设有出水口,所述出水口的高度大于出淤口301的高度,所述沉降池2的内部设置有过滤板,所述过滤板的高度大于出水口的高度;One side of the
升降机构,所述升降机构位于污水池1的内部顶端一侧。The lifting mechanism is located at the top side of the
上述技术方案中,第二伸缩管503便于淤泥吸入管507的升降,第一伸缩管501便于清淤泵5的移动。In the above technical solution, the second
上述技术方案中,开启清淤泵5,淤泥依次通过淤泥吸入喷头508、淤泥吸入管507、第二伸缩管503、清淤泵5、第一伸缩管501以及淤泥输送管502进入到淤泥池3的内部,便于后期集中处理;辅助爪板506在行走时,会通过清淤爪将淤泥铲松,便于淤泥吸入喷头508的吸取,提高清淤的质量与效率。In the above technical solution, the dredging pump 5 is turned on, and the sludge enters the
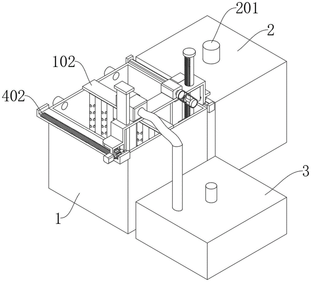
作为本申请文件技术方案的一种可选方案,所述污水池1的一侧对称设置有污水入口101,所述污水池1的顶端固定设置有顶部桥板102,所述顶部桥板102的顶端中间固定设置有抽气泵103,所述顶部桥板102的底端设置有曝气管104,所述曝气管104设置有若干个,所述曝气管104之间通过通气管相连通,其中一个所述曝气管104设置于抽气泵103的正下方。As an alternative to the technical solution of this application document, a
上述技术方案中,启动行走电机401带动行走齿轮404转动,从而带动行走支架4开始移动,移动轮A405和移动轮B406在固定齿板402和轨道板403的顶端滚动,从而带动升降机构和清淤机构移动以对污水池1内部底端的淤泥进行清理,这样可以对污水池1内部底端的淤泥清理的更加的全面干净。In the above technical solution, start the
作为本申请文件技术方案的一种可选方案,所述污水池1的两侧对称固定设置有固定齿板402和轨道板403,所述固定齿板402的上方设置有行走支架4,所述行走支架4相互远离的一侧分别转动设置有移动轮A405和移动轮B406,所述移动轮A405和移动轮B406分别滚动连接于固定齿板402和轨道板403的顶端,所述行走支架4的一侧固定设置有行走电机401,所述行走电机401的驱动端转动穿过所述行走支架4的侧壁并同轴连接有行走齿轮404,所述行走齿轮404啮合设置于固定齿板402的顶端。As an alternative to the technical solution of this application document, fixed
上述技术方案中,清淤机构和升降机构可以移动,从而对污水池1内部底端的淤泥达到全面清理的效果,提高清理的质量。In the above technical solution, the dredging mechanism and the lifting mechanism can be moved, so as to achieve a comprehensive cleaning effect on the sludge at the bottom of the
作为本申请文件技术方案的一种可选方案,所述升降机构包括升降齿柱601、升降电机602、升降齿轮604、链条607和连接杆608,所述升降电机602的驱动端和连接杆608的一端均设置有链轮603,所述链轮603之间通过链条607传动连接,所述连接杆608的的侧壁套接有升降齿轮604,所述升降齿柱601啮合设置于升降齿轮604的外侧。As an alternative to the technical solution of this application document, the lifting mechanism includes a
通过采用上述技术方案,沉降池2内部的污水静置的同时,可以启动升降电机602,使得链轮603开始转动,其中一个链轮603带动连接杆608转动,连接杆608带动升降齿轮604转动,进而带动升降齿柱601升起或者降落,升降齿柱601的降落可以带动连接板505降落,从而使清淤机构降落,当淤泥吸入喷头508快要触碰污水池1内部底端时停止,此时辅助爪板506底端一侧的清淤爪与污水池1的内部底端接触,使清淤机构靠近淤泥进行清淤工作。By adopting the above-mentioned technical scheme, when the sewage inside the
作为本申请文件技术方案的一种可选方案,所述升降电机602固定设置于行走支架4的顶端,所述升降齿柱601的外侧滑动设置有固定台A6和固定台B605,所述固定台A6和固定台B605的一侧通过连接支架606固定连接,所述连接支架606固定设置于行走支架4的一侧,所述连接杆608转动设置于固定台A6的内侧。As an alternative to the technical solution of this application document, the
通过采用上述技术方案,便于升降机构可以更好的运行。By adopting the above technical solution, the lifting mechanism can be operated better.
作为本申请文件技术方案的一种可选方案,所述连接板505固定设置于升降齿柱601的底端,所述连接板505的一侧固定设置有升降滑板504,所述升降滑板504滑动设置于行走支架4的顶端一侧,所述清淤泵5固定设置于行走支架4的顶端一侧。As an alternative to the technical solution of this application document, the connecting
上述技术方案中,升降齿柱601带动连接板505升降,从而实现清淤机构的升降,连接板505升降的同时带动升降滑板504升降,用于保持清淤机构的稳定。In the above technical solution, the
作为本申请文件技术方案的一种可选方案,所述固定台A6的一侧设置有自锁机构,所述自锁机构包括棘轮7和电动伸缩杆703,所述棘轮7的外侧啮合设置有棘爪701,所述棘爪701的一侧固定设置有弹簧702,所述棘爪701固定设置于电动伸缩杆703的一端。As an alternative to the technical solution of this application document, a self-locking mechanism is provided on one side of the fixed table A6, and the self-locking mechanism includes a ratchet 7 and an electric
上述技术方案中,升降齿柱601降落的同时,电动伸缩杆703推动棘爪701压缩弹簧702,使得棘爪701脱离与棘轮7之间的啮合,这样棘轮7就能旋转,使升降齿轮604可以旋转;当清淤机构达到清淤的位置后,通过电动伸缩杆703使棘爪701恢复与棘轮7之间的卡合状态,防止清淤机构工作时升降齿柱601下降;而当升降齿柱601升起时,弹簧702会压缩,且电动伸缩杆703不通电,棘轮7在反向转动时就能拨动棘爪701;而电动伸缩杆703可以自由伸缩,便于棘爪701被拨动,达到自锁的效果,防止升降齿柱601下降坠落,对清淤机构达到保护的效果。In the above technical solution, when the
作为本申请文件技术方案的一种可选方案,所述棘轮7固定设置于连接杆608的一端,所述棘爪701转动设置于固定台A6的一侧,所述弹簧702和电动伸缩杆703均设置于固定台A6的一侧。As an alternative to the technical solution of this application document, the ratchet 7 is fixedly arranged on one end of the connecting
上述技术方案中,连接杆608转动就会带动棘轮7转动,且棘轮7转动的同时就会拨动棘爪701转动。In the above technical solution, the rotation of the connecting
作为本申请文件技术方案的一种可选方案,所述淤泥输送管502连通设置于淤泥池3的顶端一侧,所述污水池1和沉降池2的容积相同。As an alternative to the technical solution of this application document, the
上述技术方案中,污水沉降的同时可以继续对新的污水进行曝气氧化,提高污水处理的效率。In the above technical solution, while the sewage is settling, the new sewage can be continuously aerated and oxidized, so as to improve the efficiency of sewage treatment.
本发明的目的还在于提供一种循环处理曝气方法,包括以下步骤:The object of the present invention is also to provide a method for circulating aeration, comprising the following steps:
将污水从污水入口101灌入污水池1的内部,启动抽气泵103抽取外界空气并通过曝气管104将空气中的氧气输送到污水中,达到曝气氧化的效果;Pour the sewage into the interior of the
污水曝气氧化完成后,污水池1和沉降池2之间的抽水泵将处理后的污水抽取到沉降池2的内部,After the aeration and oxidation of the sewage is completed, the pump between the
沉降池2内部的过滤板阻挡杂质浮到沉降池2的内部上层,等待水中的杂质沉降后,再通过沉降池2一侧的出水泵将沉降池2内部的清水抽出即可;The filter plate inside the
启动升降电机602,带动连接杆608转动,连接杆608带动升降齿轮604转动,升降齿轮604带动升降齿柱601降落,进而实现清淤机构的同步降落,其中,升降齿柱601降落的同时,电动伸缩杆703推动棘爪701压缩弹簧702,使得棘爪701与棘轮7之间脱离啮合,棘轮7解锁并带动升降齿轮604旋转;Start the
当清淤机构达到清淤的位置后,棘爪701恢复与棘轮7的卡合状态以防止清淤机构工作时升降齿柱601继续下降;When the dredging mechanism reaches the dredging position, the ratchet 701 restores the engaging state with the ratchet 7 to prevent the
当淤泥吸入喷头508快要触碰污水池1内部底端时停止,此时辅助爪板506底端一侧的清淤爪与污水池1的内部底端接触,开启清淤泵5,淤泥依次通过淤泥吸入喷头508、淤泥吸入管507、第二伸缩管503、清淤泵5、第一伸缩管501以及淤泥输送管502进入到淤泥池3的内部,便于后期集中处理;Stop when the
清淤机构运行的同时启动行走电机401以带动行走支架4开始移动,从而带动升降机构和清淤机构移动对污水池1内部底端的淤泥进行清理;While the dredging mechanism is running, start the
清淤机构将淤泥清理到淤泥池3的内部后,继续向污水池1的内部灌入污水进行曝气氧化处理。After the dredging mechanism cleans the sludge into the
3.有益效果3. Beneficial effect
本申请实施例中提供的一个或多个技术方案,至少具有如下技术效果或优点:One or more technical solutions provided in the embodiments of this application have at least the following technical effects or advantages:
1.本申请中,采用升降机构和清淤机构的配合,有效解决了清淤效率低下的问题,在快速且干净的清理污水池内部底端的淤泥的同时,也提高了污水曝气处理的效果;1. In this application, the cooperation of the lifting mechanism and the dredging mechanism is used to effectively solve the problem of low dredging efficiency. While quickly and cleanly cleaning the sludge at the bottom of the sewage tank, it also improves the effect of sewage aeration treatment ;
2.本申请中,升降机构可以实现清淤机构的升降,当清淤机构降下时可以对污水池的内部底端进行清淤,当清淤机构停止作业时,升降机构可以带动清淤机构升起,使清淤机构不会过多的淤泥接触,降低清淤机构的老化率;2. In this application, the lifting mechanism can realize the lifting of the dredging mechanism. When the dredging mechanism is lowered, the inner bottom of the sewage pool can be dredged. When the dredging mechanism stops working, the lifting mechanism can drive the dredging mechanism to rise. So that the dredging mechanism will not be exposed to too much sludge and reduce the aging rate of the dredging mechanism;
3.本申请中,清淤机构可以通过淤泥吸入喷头将污水池内部底端的淤泥吸出,清淤爪能够将淤泥铲松,便于淤泥吸入喷头的吸取,提高清淤的质量与效率;3. In this application, the dredging mechanism can suck out the sludge at the bottom of the sewage tank through the sludge suction nozzle, and the dredging claw can loosen the sludge, which is convenient for the suction of the sludge suction nozzle, and improves the quality and efficiency of dredging;
4.本申请中,自锁机构可以防止升降齿柱在不使用时继续下降,以防止清淤机构坠落或者降落速度过快,从而导致清淤机构损坏,对清淤机构达到更好的保护效果。4. In this application, the self-locking mechanism can prevent the lifting tooth column from continuing to fall when it is not in use, so as to prevent the dredging mechanism from falling or falling too fast, which will cause damage to the dredging mechanism and achieve better protection for the dredging mechanism .
附图说明Description of drawings
图1为本申请优选实施例公开的循环处理曝气氧化池的整体结构示意图;Fig. 1 is a schematic diagram of the overall structure of the circulation treatment aeration oxidation tank disclosed in the preferred embodiment of the present application;
图2为本申请优选实施例公开的循环处理曝气氧化池的左右轴测整体结构示意图;Fig. 2 is a schematic diagram of the left and right axonometric overall structure of the circulation treatment aeration oxidation tank disclosed in the preferred embodiment of the present application;
图3为本申请优选实施例公开的循环处理曝气氧化池中污水池、沉降池和淤泥池整体结构示意图;Fig. 3 is a schematic diagram of the overall structure of a sewage tank, a settling tank and a sludge tank in a circulation treatment aeration oxidation tank disclosed in a preferred embodiment of the present application;
图4为本申请优选实施例公开的循环处理曝气氧化池中污水池内部的部分整体结构示意图;Fig. 4 is a schematic diagram of a part of the overall structure inside the sewage tank in the circulating treatment aeration oxidation tank disclosed in the preferred embodiment of the present application;
图5为本申请优选实施例公开的循环处理曝气氧化池中污水池顶端两侧的整体结构示意图;5 is a schematic diagram of the overall structure of both sides of the top of the sewage tank in the circulation treatment aeration oxidation tank disclosed in the preferred embodiment of the present application;
图6为本申请优选实施例公开的循环处理曝气氧化池中清淤机构的组合整体结构示意图;Fig. 6 is a schematic diagram of the combined overall structure of the dredging mechanism in the circulating treatment aeration oxidation tank disclosed in the preferred embodiment of the present application;
图7为本申请优选实施例公开的循环处理曝气氧化池中升降机构的组合整体结构示意图;Fig. 7 is a schematic diagram of the combined overall structure of the lifting mechanism in the circulation treatment aeration oxidation tank disclosed in the preferred embodiment of the present application;
图8为本申请优选实施例公开的循环处理曝气氧化池中自锁机构的组合整体结构示意图。Fig. 8 is a schematic diagram of the combined overall structure of the self-locking mechanism in the circulation treatment aeration oxidation tank disclosed in the preferred embodiment of the present application.
图中附图标记为:The reference signs in the figure are:
1、污水池;2、沉降池;3、淤泥池;4、行走支架;5、清淤泵;6、固定台A;7、棘轮;1. Sewage tank; 2. Settling tank; 3. Silt tank; 4. Walking bracket; 5. Dredging pump; 6. Fixed platform A; 7. Ratchet;
101、污水入口;102、顶部桥板;103、抽气泵;104、曝气管;101. Sewage inlet; 102. Top bridge plate; 103. Air pump; 104. Aeration pipe;
201、通气阀;201, ventilation valve;
301、出淤口;301, silt outlet;
401、行走电机;402、固定齿板;403、轨道板;404、行走齿轮;405、移动轮A;406、移动轮B;401, travel motor; 402, fixed tooth plate; 403, track plate; 404, travel gear; 405, moving wheel A; 406, moving wheel B;
501、第一伸缩管;502、淤泥输送管;503、第二伸缩管;504、升降滑板;505、连接板;506、辅助爪板;507、淤泥吸入管;508、淤泥吸入喷头;501, the first telescopic pipe; 502, the sludge delivery pipe; 503, the second telescopic pipe; 504, the lifting slide plate; 505, the connecting plate; 506, the auxiliary claw plate; 507, the sludge suction pipe; 508, the sludge suction nozzle;
601、升降齿柱;602、升降电机;603、链轮;604、升降齿轮;605、固定台B;606、连接支架;607、链条;608、连接杆;601, lifting gear column; 602, lifting motor; 603, sprocket wheel; 604, lifting gear; 605, fixed platform B; 606, connecting bracket; 607, chain; 608, connecting rod;
701、棘爪;702、弹簧;703、电动伸缩杆。701, ratchet; 702, spring; 703, electric telescopic rod.
具体实施方式Detailed ways
为使本发明实施的目的、技术方案和优点更加清楚,下面将结合本发明实施例中的附图,对本发明实施例中的技术方案进行更加详细的描述。在附图中,自始至终相同或类似的标号表示相同或类似的元件或具有相同或类似功能的元件。所描述的实施例是本发明一部分实施例,而不是全部的实施例。In order to make the objectives, technical solutions and advantages of the present invention clearer, the technical solutions in the embodiments of the present invention will be described in more detail below in conjunction with the drawings in the embodiments of the present invention. In the drawings, the same or similar reference numerals denote the same or similar elements or elements having the same or similar functions throughout. The described embodiments are some, but not all, embodiments of the invention.
基于本发明中的实施例,本领域普通技术人员在没有做出创造性劳动前提下所获得的所有其他实施例,都属于本发明保护的范围。Based on the embodiments of the present invention, all other embodiments obtained by persons of ordinary skill in the art without making creative efforts belong to the protection scope of the present invention.
下面通过参考附图描述的实施例以及方位性的词语均是示例性的,旨在用于解释本发明,而不能理解为对本发明的限制。The embodiments and directional words described below by referring to the figures are exemplary and are intended to explain the present invention, but should not be construed as limiting the present invention.
在本发明的一个宽泛实施例中,一种循环处理曝气氧化池,包括污水池1,所述污水池1的一侧设置有沉降池2,所述污水池1的另一侧设置有淤泥池3,其特征在于,所述污水池1的上侧连接设置有行走支架4,所述行走支架4上连接有清淤机构和升降机构,所述升降机构用于带动清淤机构在污水池1内部升降,所述行走支架4用于带动清淤机构移动以对污水池1内部底端的淤泥进行清理;所述污水池1的顶端固定设置有顶部桥板102,所述顶部桥板102的顶端中间固定设置有抽气泵103,所述顶部桥板102的底端设置有曝气管104,所述曝气管104设置有若干个,所述曝气管104之间通过通气管相连通。In a broad embodiment of the present invention, a circulation treatment aeration oxidation pond comprises a
优选的,所述清淤机构包括清淤泵5、第一伸缩管501、淤泥输送管502、第二伸缩管503、连接板505、辅助爪板506和淤泥吸入喷头508,所述第一伸缩管501连通设置于清淤泵5的输出端,所述第一伸缩管501的另一端与淤泥输送管502相连通,所述第二伸缩管503连通设置于清淤泵5的输入端,所述第二伸缩管503的另一端连通设置有淤泥吸入管507,所述淤泥吸入喷头508连通设置于淤泥吸入管507的另一端,所述连接板505的一侧固定设置有若干个辅助爪板506,所述辅助爪板506的底端一侧均设置有清淤爪,所述连接板505固定设置于所述第二伸缩管503的外侧。Preferably, the dredging mechanism includes a dredging pump 5, a first
优选的,所述淤泥吸入管507与淤泥吸入喷头508均设置有若干个,若干个所述淤泥吸入管507之间通过通淤管相连通,所述淤泥输送管502连通设置于淤泥池3的顶端一侧,所述污水池1和沉降池2的容积相同。Preferably, the
优选的,所述污水池1的一侧对称设置有污水入口101,所述沉降池2和淤泥池3的顶端均连通设置有通气阀201,所述污水池1靠近淤泥池3的一侧开设有出淤口301,所述污水池1靠近沉降池2的一侧开设有出水口;所述出水口的高度大于出淤口301的高度,所述沉降池2的内部设置有过滤板,所述过滤板的高度大于出水口的高度。Preferably, one side of the
优选的,所述污水池1的两侧对称固定设置有固定齿板402和轨道板403,所述行走支架4设置于所述固定齿板402的上方,所述行走支架4相互远离的一侧分别转动设置有移动轮A405和移动轮B406,所述移动轮A405和移动轮B406分别滚动连接于固定齿板402和轨道板403的顶端面;所述行走支架4的一侧固定设置有行走电机401,所述行走电机401的驱动端转动穿过所述行走支架4的侧壁并同轴连接有行走齿轮404,所述行走齿轮404啮合设置于固定齿板402的顶端。Preferably, fixed
优选的,所述升降机构包括升降齿柱601、升降电机602、升降齿轮604、链条607和连接杆608,所述升降电机602的驱动端和连接杆608的一端均设置有链轮603,所述链轮603之间通过链条607传动连接,所述连接杆608的的侧壁套接有升降齿轮604,所述升降齿柱601啮合设置于升降齿轮604的外侧。Preferably, the lifting mechanism includes a lifting
优选的,所述升降电机602固定设置于行走支架4的顶端,所述升降齿柱601的外侧滑动设置有固定台A6和固定台B605,所述固定台A6和固定台B605的一侧通过连接支架606固定连接,所述连接支架606固定设置于行走支架4的一侧,所述连接杆608转动设置于固定台A6的内侧。Preferably, the lifting
优选的,所述连接板505固定设置于升降齿柱601的底端,所述连接板505的一侧固定设置有升降滑板504,所述升降滑板504滑动设置于行走支架4的顶端一侧,所述清淤泵5固定设置于行走支架4的顶端一侧。Preferably, the connecting
优选的,所述固定台A6的一侧设置有自锁机构,所述自锁机构包括棘轮7和电动伸缩杆703,所述棘轮7的外侧啮合设置有棘爪701,所述棘爪701的一侧固定设置有弹簧702,所述棘爪701固定设置于电动伸缩杆703的一端,所述棘轮7固定设置于连接杆608的一端,所述棘爪701转动设置于固定台A6的一侧,所述弹簧702和电动伸缩杆703均设置于固定台A6的一侧。Preferably, one side of the fixed table A6 is provided with a self-locking mechanism, the self-locking mechanism includes a ratchet 7 and an electric
本发明的目的还在于提供一种循环处理曝气方法,包括以下步骤:The object of the present invention is also to provide a method for circulating aeration, comprising the following steps:
将污水从污水入口101灌入污水池1的内部,启动抽气泵103抽取外界空气并通过曝气管104将空气中的氧气输送到污水中以实现对污水的曝气氧化;Pour the sewage into the interior of the
污水曝气氧化完成后,污水池1和沉降池2之间的抽水泵将处理后的污水抽取到沉降池2的内部中,待水中的杂质沉降后再通过沉降池2一侧的出水泵将沉降池2内部的清水抽出;After the aeration and oxidation of the sewage is completed, the pump between the
启动升降电机602,带动连接杆608转动,连接杆608带动升降齿轮604转动,升降齿轮604带动升降齿柱601降落,进而实现清淤机构的同步降落,其中,升降齿柱601降落的同时,电动伸缩杆703推动棘爪701压缩弹簧702,使得棘爪701与棘轮7之间脱离啮合,棘轮7解锁并带动升降齿轮604旋转;Start the lifting
当清淤机构达到清淤的位置后,棘爪701恢复与棘轮7的卡合状态以防止清淤机构工作时升降齿柱601继续下降,此时辅助爪板506底端一侧的清淤爪与污水池1的内部底端接触;When the dredging mechanism reaches the dredging position, the ratchet 701 returns to the engagement state with the ratchet 7 to prevent the lifting
开启清淤泵5,淤泥依次通过淤泥吸入喷头508、淤泥吸入管507、第二伸缩管503、清淤泵5、第一伸缩管501以及淤泥输送管502进入到淤泥池3的内部,便于后期集中处理;Turn on the dredging pump 5, and the sludge enters the
清淤机构运行的同时启动行走电机401以带动行走支架4开始移动,从而带动升降机构和清淤机构移动以对污水池1内部底端的淤泥进行清理;While the dredging mechanism is running, start the walking
清淤机构将淤泥清理到淤泥池3的内部后,重复上述步骤继续进行污水曝气氧化处理。After the desilting mechanism clears the silt into the inside of the
下面结合附图,列举本发明的优选实施例,对本发明作进一步的详细说明。The preferred embodiments of the present invention will be listed below in conjunction with the accompanying drawings, and the present invention will be further described in detail.
参照图1和图6,一种循环处理曝气氧化池,包括:With reference to Fig. 1 and Fig. 6, a kind of cycle treatment aeration oxidation pond, comprises:
污水池1;
清淤机构,清淤机构位于污水池1的内部一侧;A dredging mechanism, the dredging mechanism is located on the inner side of the
清淤机构包括、清淤泵5、第一伸缩管501、淤泥输送管502、第二伸缩管503、连接板505、辅助爪板506、淤泥吸入管507和淤泥吸入喷头508,第一伸缩管501设置于清淤泵5的一侧,第一伸缩管501连通设置于淤泥输送管502的一端,第二伸缩管503连通设置于清淤泵5的输入端,第二伸缩管503的另一端连通设置有淤泥吸入管507,淤泥吸入喷头508连通设置于淤泥吸入管507的一端,淤泥吸入管507与淤泥吸入喷头508均设置有若干个,淤泥吸入管507之间通过通淤管相连通,连接板505的一侧固定设置有辅助爪板506,辅助爪板506的底端一侧设置有清淤爪,辅助爪板506设置有若干个,连接板505固定设置于第二伸缩管503的外侧;The dredging mechanism includes, a dredging pump 5, a first
污水池1的一侧设置有沉降池2,污水池1的另一侧设置有淤泥池3,沉降池2和淤泥池3的顶端均连通设置有通气阀201,污水池1靠近淤泥池3的一侧开设有出淤口301,污水池1靠近沉降池2的一侧开设有出水口,出水口的高度大于出淤口301的高度,沉降池2的内部设置有过滤板,过滤板的高度大于出水口的高度;One side of the
升降机构,升降机构位于污水池1的内部顶端一侧。Lifting mechanism, the lifting mechanism is located at the inner top side of the
开启清淤泵5,淤泥被淤泥吸入喷头508吸入到淤泥吸入管507,然后经过第二伸缩管503,再经过清淤泵5进入第一伸缩管501,其中,第二伸缩管503便于淤泥吸入管507的升降,第一伸缩管501便于清淤泵5的移动,然后第一伸缩管501内部的淤泥可以通过淤泥输送管502进入淤泥池3的内部收集,便于后期集中处理,且连接板505一侧的辅助爪板506在行走时,会通过辅助爪板506底端的清淤爪将淤泥铲松,防止淤泥吸附在污水池1的内部底端,便于淤泥吸入喷头508的吸取,提高清淤的质量与效率。Turn on the dredging pump 5, the sludge is sucked into the
参照图1和图3,污水池1的另一侧对称设置有污水入口101,污水池1的顶端固定设置有顶部桥板102,顶部桥板102的顶端中间固定设置有抽气泵103,顶部桥板102的底端设置有曝气管104,曝气管104设置有若干个,曝气管104之间通过通气管相连通,一个曝气管104设置于抽气泵103的底端。1 and 3, the other side of the
启动行走电机401,使行走齿轮404开始转动,从而带动行走支架4开始移动,移动轮A405和移动轮B406就会在固定齿板402和轨道板403的顶端滚动,从而带动升降机构和清淤机构移动对污水池1内部底端的淤泥进行清理,这样可以对污水池1内部底端的淤泥清理的更加的全面干净。Start the walking
参照图1和图5,污水池1的两侧对称固定设置有固定齿板402和轨道板403,固定齿板402的上方设置有行走支架4,行走支架4相互远离的一侧分别转动设置有移动轮A405和移动轮B406,移动轮A405和移动轮B406分别滚动连接于固定齿板402和轨道板403的顶端,行走支架4的一侧固定设置有行走电机401,行走电机401的驱动端转动穿过行走支架4的侧壁并同轴连接有行走齿轮404,行走齿轮404啮合设置于固定齿板402的顶端。Referring to Fig. 1 and Fig. 5, fixed
清淤机构和升降机构移动可以对污水池1内部底端的淤泥达到全面清理的效果,提高清理的质量。The movement of the dredging mechanism and the lifting mechanism can achieve a comprehensive cleaning effect on the silt at the bottom of the
参照图1和图7,升降机构包括升降齿柱601、升降电机602、链轮603、升降齿轮604、链条607和连接杆608,升降电机602的驱动端固定和连接杆608的一端均设置有链轮603,链轮603之间通过链条607传动连接,连接杆608的外侧固定设置有升降齿轮604,升降齿柱601啮合设置于升降齿轮604的外侧,升降电机602固定设置于行走支架4的顶端,升降齿柱601的外侧滑动设置有固定台A6和固定台B605,固定台A6和固定台B605的一侧通过连接支架606固定连接,连接支架606固定设置于行走支架4的一侧,连接杆608转动设置于固定台A6的内侧,连接板505固定设置于升降齿柱601的底端,连接板505的一侧固定设置有升降滑板504,升降滑板504滑动设置于行走支架4的顶端一侧,清淤泵5固定设置于行走支架4的顶端一侧。Referring to Fig. 1 and Fig. 7, elevating mechanism comprises elevating tooth post 601, elevating motor 602, sprocket 603, elevating gear 604, chain 607 and connecting rod 608, and the driving end of elevating motor 602 is fixed and one end of connecting rod 608 is all provided with The sprocket 603 is connected by a chain 607 transmission between the sprocket 603, the outer side of the connecting rod 608 is fixedly provided with a lifting gear 604, the lifting tooth column 601 is meshed and arranged on the outside of the lifting gear 604, and the lifting motor 602 is fixedly arranged on the side of the walking support 4 At the top, a fixed platform A6 and a fixed platform B605 are slidingly arranged on the outer side of the elevating tooth column 601, and one side of the fixed platform A6 and the fixed platform B605 is fixedly connected by a connecting bracket 606, and the connecting bracket 606 is fixedly arranged on one side of the walking bracket 4, and connected Rod 608 is rotatably arranged on the inner side of fixed table A6, connecting plate 505 is fixedly arranged on the bottom end of elevating tooth column 601, and one side of connecting plate 505 is fixedly arranged with elevating slide plate 504, and elevating slide plate 504 is slidably arranged on the top of walking support 4. On the side, the dredging pump 5 is fixedly arranged on the top side of the
沉降池2内部的污水静置的同时,可以开启升降机构,升降机构中的升降电机602启动,使得链轮603开始转动,两个链轮603通过链条607传动,其中一个链轮603带动连接杆608转动,连接杆608带动升降齿轮604转动,升降齿轮604就能带动升降齿柱601升起或者降落,升降齿柱601的降落可以使连接板505降落,从而使清淤机构降落,当淤泥吸入喷头508快要触碰污水池1内部底端时停止,此时辅助爪板506底端一侧的清淤爪与污水池1的内部底端接触,使清淤机构靠近淤泥进行清淤工作。While the sewage inside the
参照图6和图8,固定台A6的一侧设置有自锁机构,自锁机构包括棘轮7、棘爪701、弹簧702和电动伸缩杆703,棘轮7的外侧啮合设置有棘爪701,棘爪701的一侧固定设置有弹簧702,棘爪701固定设置于电动伸缩杆703的一端,棘轮7固定设置于连接杆608的一端,棘爪701转动设置于固定台A6的一侧,弹簧702和电动伸缩杆703均固定设置于固定台A6的一侧。Referring to Fig. 6 and Fig. 8, one side of fixed table A6 is provided with self-locking mechanism, and self-locking mechanism comprises ratchet 7, ratchet 701,
升降齿柱601降落的同时,自锁机构中的电动伸缩杆703会推动棘爪701,从而弹簧702会压缩,使得棘爪701离开与棘轮7之间的啮合,这样棘轮7就能旋转,使升降齿轮604可以旋转,当清淤机构达到清淤的位置后,使棘爪701恢复与棘轮7的卡合状态即可,防止清淤机构工作时升降齿柱601会下降,当升降齿柱601升起时,弹簧702会压缩,且电动伸缩杆703不通电,这样棘轮7在反向转动时就能拨动棘爪701,而电动伸缩杆703可以自由伸缩,便于棘爪701被拨动,达到自锁的效果,防止升降齿柱601下降坠落,对清淤机构达到保护的效果。When the
参照图1和图3,淤泥输送管502固定设置于淤泥池3的顶端一侧,污水池1和沉降池2的容积相同。Referring to Fig. 1 and Fig. 3, the
这样可以在在污水沉降的时候继续对新的污水进行曝气氧化,可以同时进行,提高污水处理的效率。In this way, the new sewage can be continuously aerated and oxidized when the sewage is settling, which can be carried out at the same time, and the efficiency of sewage treatment can be improved.
值得说明的是,包括以下步骤:It is worth noting that the following steps are involved:
S1、首先可以将污水从污水入口101灌入污水池1的内部;S1. First, the sewage can be poured into the interior of the
S2、然后抽气泵103将外界空气抽入,通过曝气管104将空气中的氧气输送到污水中,达到曝气氧化的效果;S2, then the
S3、污水曝气氧化完成后,处理后的污水会被污水池1和沉降池2之间抽水泵抽入到沉降池2的内部,沉降池2内部过滤板可以阻挡杂质浮到沉降池2的内部上层,然后静置一端时间,等待水中的杂质沉降,再通过沉降池2一侧的出水泵将沉降池2内部的清水抽出即可;S3. After the aeration and oxidation of sewage is completed, the treated sewage will be pumped into the interior of the
S4、升降机构,升降机构中的升降电机602启动,使得链轮603开始转动,两个链轮603通过链条607传动,其中一个链轮603带动连接杆608转动,连接杆608带动升降齿轮604转动,升降齿轮604就能带动升降齿柱601升起或者降落,从而使清淤机构升起或者降落;S4, lifting mechanism, the lifting
S5、升降齿柱601降落的同时,自锁机构中的电动伸缩杆703会推动棘爪701,从而弹簧702会压缩,使得棘爪701离开与棘轮7之间的啮合,这样棘轮7就能旋转,使升降齿轮604可以旋转,当清淤机构达到清淤的位置后,使棘爪701恢复与棘轮7的卡合状态即可,防止清淤机构工作时升降齿柱601会下降,当升降齿柱601升起时,弹簧702会压缩,且电动伸缩杆703不通电,这样棘轮7在反向转动时就能拨动棘爪701,而电动伸缩杆703可以自由伸缩,便于棘爪701被拨动,达到自锁的效果,防止升降齿柱601下降坠落,对清淤机构达到保护的效果;S5. While the lifting
S6、当淤泥吸入喷头508快要触碰污水池1内部底端时停止,此时辅助爪板506底端一侧的清淤爪与污水池1的内部底端接触,然后开启清淤泵5,淤泥可以被淤泥吸入喷头508吸入到淤泥吸入管507,然后经过第二伸缩管503,在经过清淤泵5进入第一伸缩管501,第二伸缩管503是便于淤泥吸入管507的升降,第一伸缩管501是便于清淤泵5的移动,然后第一伸缩管501内部的淤泥可以通过淤泥输送管502进入淤泥池3的内部收集,便于后期集中处理;S6. Stop when the
S7、清淤机构运行的同时启动行走电机401,使行走齿轮404开始转动,从而带动行走支架4开始移动,移动轮A405和移动轮B406就会在固定齿板402和轨道板403的顶端滚动,从而带动升降机构和清淤机构移动对污水池1内部底端的淤泥进行清理,这样可以对污水池1内部底端的淤泥清理的更加的全面干净,清淤机构将淤泥清理到淤泥池3的内部后,可以继续向污水池1的内部灌入污水进行曝气氧化处理,且不影响沉降池2内部的污水静置处理,这样可以提高污水处理的效率。S7, when the dredging mechanism is running, start the walking
工作原理:将污水从污水入口101灌入污水池1的内部,然后抽气泵103将外界空气抽入,通过曝气管104将空气中的氧气输送到污水中,达到曝气氧化的效果,污水曝气氧化完成后,处理后的污水会被污水池1和沉降池2之间抽水泵抽入到沉降池2的内部,沉降池2内部过滤板可以阻挡杂质浮到沉降池2的内部上层,然后静置一端时间,等待水中的杂质沉降,再通过沉降池2一侧的出水泵将沉降池2内部的清水抽出即可,通气阀201可以使沉降池2内部的气压平衡,沉降池2内部的污水静置的同时,可以开启升降机构,升降机构中的升降电机602启动,使得链轮603开始转动,两个链轮603通过链条607传动,其中一个链轮603带动连接杆608转动,连接杆608带动升降齿轮604转动,升降齿轮604就能带动升降齿柱601升起或者降落,升降齿柱601降落的同时,自锁机构中的电动伸缩杆703会推动棘爪701,从而弹簧702会压缩,使得棘爪701离开与棘轮7之间的啮合,这样棘轮7就能旋转,使升降齿轮604可以旋转,当清淤机构达到清淤的位置后,使棘爪701恢复与棘轮7的卡合状态即可,防止清淤机构工作时升降齿柱601会下降,当升降齿柱601升起时,弹簧702会压缩,且电动伸缩杆703不通电,这样棘轮7在反向转动时就能拨动棘爪701,而电动伸缩杆703可以自由伸缩,便于棘爪701被拨动,达到自锁的效果,防止升降齿柱601下降坠落,对清淤机构达到保护的效果,升降齿柱601的降落可以使连接板505降落,从而使清淤机构降落,当淤泥吸入喷头508快要触碰污水池1内部底端时停止,此时辅助爪板506底端一侧的清淤爪与污水池1的内部底端接触,然后开启清淤泵5,淤泥可以被淤泥吸入喷头508吸入到淤泥吸入管507,然后经过第二伸缩管503,在经过清淤泵5进入第一伸缩管501,第二伸缩管503是便于淤泥吸入管507的升降,第一伸缩管501是便于清淤泵5的移动,然后第一伸缩管501内部的淤泥可以通过淤泥输送管502进入淤泥池3的内部收集,便于后期集中处理;Working principle: the sewage is poured into the
与此同时,启动行走电机401,使行走齿轮404开始转动,从而带动行走支架4开始移动,移动轮A405和移动轮B406就会在固定齿板402和轨道板403的顶端滚动,从而带动升降机构和清淤机构移动对污水池1内部底端的淤泥进行清理,这样可以对污水池1内部底端的淤泥清理的更加的全面干净,清淤机构将淤泥清理到淤泥池3的内部后,可以继续向污水池1的内部灌入污水进行曝气氧化处理,且不影响沉降池2内部的污水静置处理,这样可以提高污水处理的效率。At the same time, start the traveling
最后需要指出的是:以上实施例仅用以说明本发明的技术方案,而非对其限制。尽管参照前述实施例对本发明进行了详细的说明,本领域的普通技术人员应当理解:其依然可以对前述各实施例所记载的技术方案进行修改,或者对其中部分技术特征进行等同替换;而这些修改或者替换,并不使相应技术方案的本质脱离本发明各实施例技术方案的精神和范围。Finally, it should be pointed out that the above embodiments are only used to illustrate the technical solutions of the present invention, rather than to limit them. Although the present invention has been described in detail with reference to the aforementioned embodiments, those skilled in the art should understand that: they can still modify the technical solutions described in the aforementioned embodiments, or perform equivalent replacements for some of the technical features; and these The modification or replacement does not make the essence of the corresponding technical solutions deviate from the spirit and scope of the technical solutions of the various embodiments of the present invention.
Claims (10)
Priority Applications (1)
| Application Number | Priority Date | Filing Date | Title |
|---|---|---|---|
| CN202211334798.4A CN115677016B (en) | 2022-10-28 | 2022-10-28 | A kind of circulation treatment aeration oxidation pond and method |
Applications Claiming Priority (1)
| Application Number | Priority Date | Filing Date | Title |
|---|---|---|---|
| CN202211334798.4A CN115677016B (en) | 2022-10-28 | 2022-10-28 | A kind of circulation treatment aeration oxidation pond and method |
Publications (2)
| Publication Number | Publication Date |
|---|---|
| CN115677016A true CN115677016A (en) | 2023-02-03 |
| CN115677016B CN115677016B (en) | 2025-04-01 |
Family
ID=85046627
Family Applications (1)
| Application Number | Title | Priority Date | Filing Date |
|---|---|---|---|
| CN202211334798.4A Active CN115677016B (en) | 2022-10-28 | 2022-10-28 | A kind of circulation treatment aeration oxidation pond and method |
Country Status (1)
| Country | Link |
|---|---|
| CN (1) | CN115677016B (en) |
Citations (7)
| Publication number | Priority date | Publication date | Assignee | Title |
|---|---|---|---|---|
| JP2003082702A (en) * | 2001-09-13 | 2003-03-19 | Daiho Constr Co Ltd | Dredging method and dredging equipment |
| US20100025319A1 (en) * | 2008-08-04 | 2010-02-04 | Oiva Suutarinen | De-sludging apparatus |
| CN213171802U (en) * | 2020-06-16 | 2021-05-11 | 广西沐康宁环保科技有限公司 | Circular treatment aeration oxidation tank for sewage treatment |
| CN213537399U (en) * | 2020-06-14 | 2021-06-25 | 姬江涛 | Circular treatment aeration oxidation tank for sewage treatment |
| CN214597398U (en) * | 2021-01-19 | 2021-11-05 | 江西坤皓环保设备有限公司 | A sedimentation tank dredging device for MBR sewage treatment tank |
| CN114059610A (en) * | 2020-11-27 | 2022-02-18 | 株洲天桥舜臣选煤机械有限责任公司 | Underground drainage ditch sludge cleaning device for coal mine |
| CN216320163U (en) * | 2021-12-03 | 2022-04-19 | 山西宏明源环保科技有限公司 | Rural sewage treatment on-line control operating means |
-
2022
- 2022-10-28 CN CN202211334798.4A patent/CN115677016B/en active Active
Patent Citations (7)
| Publication number | Priority date | Publication date | Assignee | Title |
|---|---|---|---|---|
| JP2003082702A (en) * | 2001-09-13 | 2003-03-19 | Daiho Constr Co Ltd | Dredging method and dredging equipment |
| US20100025319A1 (en) * | 2008-08-04 | 2010-02-04 | Oiva Suutarinen | De-sludging apparatus |
| CN213537399U (en) * | 2020-06-14 | 2021-06-25 | 姬江涛 | Circular treatment aeration oxidation tank for sewage treatment |
| CN213171802U (en) * | 2020-06-16 | 2021-05-11 | 广西沐康宁环保科技有限公司 | Circular treatment aeration oxidation tank for sewage treatment |
| CN114059610A (en) * | 2020-11-27 | 2022-02-18 | 株洲天桥舜臣选煤机械有限责任公司 | Underground drainage ditch sludge cleaning device for coal mine |
| CN214597398U (en) * | 2021-01-19 | 2021-11-05 | 江西坤皓环保设备有限公司 | A sedimentation tank dredging device for MBR sewage treatment tank |
| CN216320163U (en) * | 2021-12-03 | 2022-04-19 | 山西宏明源环保科技有限公司 | Rural sewage treatment on-line control operating means |
Also Published As
| Publication number | Publication date |
|---|---|
| CN115677016B (en) | 2025-04-01 |
Similar Documents
| Publication | Publication Date | Title |
|---|---|---|
| CN219176505U (en) | Dirty oil lifting pump sled of CCUS | |
| CN114392652A (en) | Immersed ultrafiltration membrane group for wastewater treatment | |
| CN115677016A (en) | Circular treatment aeration oxidation pond and method | |
| CN115646028A (en) | Carbon anode sewage treatment equipment | |
| CN115676922B (en) | A sewage water, liquid and oil three-phase separation treatment system | |
| CN215667612U (en) | Biochemical sewage treatment device of integration | |
| CN214436777U (en) | Mechanical silt discharging device for three-level sedimentation tank in construction site | |
| CN117285109A (en) | Slag scraping device of aeration grit chamber | |
| CN116290314A (en) | A municipal sewage sludge automatic conveying equipment | |
| CN213114756U (en) | River sludge treatment system | |
| CN209468775U (en) | A drainage device for water conservancy and hydropower construction | |
| CN201752602U (en) | Cleaning device for filter tank | |
| CN218686596U (en) | Sewage primary sedimentation tank with cleaning function | |
| CN114314866B (en) | A kind of domestic sewage aeration treatment equipment | |
| CN112587966A (en) | Mechanical silt discharging device for three-level sedimentation tank in construction site | |
| CN221836830U (en) | A membrane bioreactor tank for integrated sewage treatment equipment | |
| CN218665484U (en) | Emergency treatment facility for river overflow sewage | |
| CN223393091U (en) | Precipitation device for wastewater purification | |
| CN214437201U (en) | Wastewater treatment separation and filtration device | |
| CN219794169U (en) | Sewer dredging device | |
| CN219983983U (en) | Secondary sedimentation reflux device | |
| CN220166004U (en) | An industrial wastewater treatment device | |
| CN219710431U (en) | River mud extraction cleaning device | |
| CN218146089U (en) | Sewage recovery filter equipment for environmental engineering | |
| CN220520273U (en) | Domestic sewage treatment aeration equipment of power plant |
Legal Events
| Date | Code | Title | Description |
|---|---|---|---|
| PB01 | Publication | ||
| PB01 | Publication | ||
| SE01 | Entry into force of request for substantive examination | ||
| SE01 | Entry into force of request for substantive examination | ||
| GR01 | Patent grant | ||
| GR01 | Patent grant |
