CN115629658A - A water-cooled chip radiator - Google Patents
A water-cooled chip radiator Download PDFInfo
- Publication number
- CN115629658A CN115629658A CN202211131845.5A CN202211131845A CN115629658A CN 115629658 A CN115629658 A CN 115629658A CN 202211131845 A CN202211131845 A CN 202211131845A CN 115629658 A CN115629658 A CN 115629658A
- Authority
- CN
- China
- Prior art keywords
- water
- cooling
- heat dissipation
- chamber
- heat
- Prior art date
- Legal status (The legal status is an assumption and is not a legal conclusion. Google has not performed a legal analysis and makes no representation as to the accuracy of the status listed.)
- Pending
Links
Images
Classifications
-
- G—PHYSICS
- G06—COMPUTING OR CALCULATING; COUNTING
- G06F—ELECTRIC DIGITAL DATA PROCESSING
- G06F1/00—Details not covered by groups G06F3/00 - G06F13/00 and G06F21/00
- G06F1/16—Constructional details or arrangements
- G06F1/20—Cooling means
- G06F1/206—Cooling means comprising thermal management
-
- H10W40/22—
-
- H10W40/28—
-
- H10W40/43—
-
- H10W40/47—
-
- G—PHYSICS
- G06—COMPUTING OR CALCULATING; COUNTING
- G06F—ELECTRIC DIGITAL DATA PROCESSING
- G06F2200/00—Indexing scheme relating to G06F1/04 - G06F1/32
- G06F2200/20—Indexing scheme relating to G06F1/20
- G06F2200/201—Cooling arrangements using cooling fluid
-
- G—PHYSICS
- G06—COMPUTING OR CALCULATING; COUNTING
- G06F—ELECTRIC DIGITAL DATA PROCESSING
- G06F2200/00—Indexing scheme relating to G06F1/04 - G06F1/32
- G06F2200/20—Indexing scheme relating to G06F1/20
- G06F2200/202—Air convective hinge
Landscapes
- Engineering & Computer Science (AREA)
- Theoretical Computer Science (AREA)
- Human Computer Interaction (AREA)
- Physics & Mathematics (AREA)
- General Engineering & Computer Science (AREA)
- General Physics & Mathematics (AREA)
- Cooling Or The Like Of Semiconductors Or Solid State Devices (AREA)
Abstract
本发明公开一种水冷型芯片散热器,包括散热安装架、散热循环室、循环管道组和制冷机,制冷机包括制冷机架,设置在制冷机架内部的储液室,及设置储液室一侧的水泵,设置在储液室底部依次向下设置有制冷半导体片、导热铜片、散热翅片和散热风扇,储液室一侧还设置有用于给水泵、制冷半导体片和散热风扇供电的电源,本发明通过储液室存储有冷却液,制冷半导体片可以对冷却液进行降温处理,使得冷却液的温度低于常温,水泵将低温冷却液送至散热循环室中,进而对计算机芯片进行降温冷却;散热风扇可以加强散热翅片之间的空气流动,对制冷半导体片进行散热降温,保障制冷半导体片对冷却液持续降温;进而实现冷却液低温散热计算机芯片。
The invention discloses a water-cooled chip radiator, which comprises a heat dissipation installation frame, a heat dissipation circulation chamber, a circulation pipe group and a refrigerator. The refrigerator includes a refrigeration frame, a liquid storage chamber arranged inside the refrigeration frame, and a liquid storage chamber The water pump on one side is set at the bottom of the liquid storage chamber, and there are cooling semiconductor chips, heat conduction copper sheets, heat dissipation fins and cooling fans in turn. On the side of the liquid storage chamber, there is also a power supply for the water pump, cooling semiconductor chips and cooling fans. In the present invention, the cooling liquid is stored in the liquid storage chamber, and the cooling semiconductor chip can cool the cooling liquid so that the temperature of the cooling liquid is lower than normal temperature. Cool down; the cooling fan can strengthen the air flow between the cooling fins, dissipate heat and cool down the cooling semiconductor chip, and ensure that the cooling semiconductor chip keeps cooling the cooling liquid; and then realize the low-temperature heat dissipation of the cooling liquid computer chip.
Description
技术领域technical field
本发明涉及计算机芯片散热技术领域,具体涉及一种水冷型芯片散热器。The invention relates to the technical field of computer chip heat dissipation, in particular to a water-cooled chip radiator.
背景技术Background technique
电子元件在工作中会产生热量,近年来,随着计算机系统的性能逐步提高,CPU等电子元件因操作产生的热量也不可避免的增加,为了解决其发热问题,通常需使用散热系统以快速散热,以避免电子元件因过热而降低寿命或损毁。现有的散热系统主要有风冷散热系统和水冷散热系统,其中水冷散热系统因其显著的散热性能以及较低的噪音已被大量应用在CPU的散热处理上,并且成为计算机冷却系统的重要发展趋势之一。Electronic components will generate heat during work. In recent years, with the gradual improvement of the performance of computer systems, the heat generated by the operation of electronic components such as CPU will inevitably increase. In order to avoid reducing the life or damage of electronic components due to overheating. The existing heat dissipation systems mainly include air-cooled heat dissipation systems and water-cooled heat dissipation systems, among which water-cooled heat dissipation systems have been widely used in CPU heat dissipation processing due to their remarkable heat dissipation performance and low noise, and have become an important development of computer cooling systems. one of the trends.
现有专利一种水冷散热器,专利申请号为:201410058972.6具体公开了一种水冷散热器,其包括:散热部,其上设有进水口和出水口;吸热部,其上设有进水口和出水口,吸热部的内部设有水泵;管道部,其包括第一管道和第二管道,第一、第二管道的一端分别连接散热部的进水口和出水口,第一、第二管道的另一端分别连接吸热部的出水口和进水口,在水泵的作用下,冷却液在散热部、管道部和吸热部之间循环流动;管接头,第一、第二管道的另一端通过该管接头与吸热部的出水口和进水口密封连接;以及安装部,其设有多组安装位,以将吸热部安装在不同型号的主板上。该发明的有益效果为水冷散热器密封性好,能够防止冷却液泄漏;并且能够适用于多种型号的主板,适用范围广,安装、拆卸简单方便。The existing patent is a water-cooled radiator, and the patent application number is: 201410058972.6, which specifically discloses a water-cooled radiator, which includes: a heat dissipation part, on which a water inlet and a water outlet are arranged; a heat-absorbing part, on which a water inlet is arranged and water outlet, the inside of the heat absorbing part is provided with a water pump; the pipe part includes a first pipe and a second pipe, and one end of the first and second pipe is respectively connected to the water inlet and the water outlet of the heat dissipation part, and the first and second The other end of the pipeline is respectively connected to the water outlet and water inlet of the heat absorbing part. Under the action of the water pump, the cooling liquid circulates between the heat dissipation part, the pipeline part and the heat absorbing part; the pipe joint, the other end of the first and second pipes One end is sealed and connected with the water outlet and the water inlet of the heat absorbing part through the pipe joint; and the installation part is provided with multiple sets of installation positions to install the heat absorbing part on different types of main boards. The beneficial effect of the invention is that the water-cooling radiator has good sealing performance and can prevent leakage of cooling liquid; it can be applied to various types of main boards, has a wide application range, and is easy and convenient to install and disassemble.
但是,该发明专利仅仅公开冷却液在散热部和吸热部间循环流动,却无法对冷却液进行低于常温的降温处理,而冷却液在经过长期的循环下,液体温度会逐步升高;而流经散热部的冷却液,虽然经过短暂的散热,但是冷却液的温度仍比常温高,那在长时间的使用过程中冷却液的温度就会逐步累加到一定值,即便经过散热部也不会使冷却液的温度降低至常温,这样就会导致水冷效果逐步变差,尤其是现在的计算机芯片多为双核、四核等多核芯片普遍运用。核芯发热量主要取决于芯片核芯工艺,同代的芯片多核发热要大于单核发热。However, the invention patent only discloses that the cooling liquid circulates between the heat dissipation part and the heat absorption part, but it cannot lower the temperature of the cooling liquid below normal temperature, and the liquid temperature of the cooling liquid will gradually increase after long-term circulation; The cooling liquid flowing through the heat dissipation part, although it has undergone a short heat dissipation, the temperature of the cooling liquid is still higher than normal temperature, so the temperature of the cooling liquid will gradually accumulate to a certain value during the long-term use, even if it passes through the heat dissipation part. It will not reduce the temperature of the coolant to normal temperature, which will lead to the gradual deterioration of the water cooling effect, especially the current computer chips are mostly dual-core, quad-core and other multi-core chips are commonly used. The heat generated by the core mainly depends on the core process of the chip, and the heat generated by the multi-core of the chip of the same generation is greater than that of the single-core.
因此,亟需有一个高效能的水冷型芯片散热器。Therefore, there is an urgent need for a high-efficiency water-cooled chip radiator.
发明内容Contents of the invention
有鉴于此,本发明目的是提供一种水冷型芯片散热器。In view of this, the object of the present invention is to provide a water-cooled chip radiator.
为了解决上述技术问题,本发明的技术方案是:一种水冷型芯片散热器,包括散热安装架,设置在所述散热安装架上方的散热循环室,所述散热循环室安装有循环管道组,及与散热循环室通过循环管道组连接的制冷机,所述制冷机包括制冷机架,设置在制冷机架内部的储液室,及设置储液室一侧的、用于驱动水液循环的水泵,设置在所述储液室底部依次向下设置有制冷半导体片、导热铜片、散热翅片和散热风扇,所述储液室一侧还设置有用于给水泵、制冷半导体片和散热风扇供电的电源。In order to solve the above technical problems, the technical solution of the present invention is: a water-cooled chip radiator, including a heat dissipation installation frame, a heat dissipation circulation chamber arranged above the heat dissipation installation frame, and a circulation pipe group is installed in the heat dissipation circulation chamber, And the refrigerating machine connected with the radiating circulation chamber through a circulation pipeline group, the refrigerating machine includes a refrigerating frame, a liquid storage chamber arranged inside the refrigerating frame, and a device on one side of the liquid storage chamber for driving water-liquid circulation The water pump is arranged on the bottom of the liquid storage chamber and is provided with a cooling semiconductor chip, a heat conducting copper sheet, a cooling fin and a cooling fan in sequence, and one side of the liquid storage room is also provided with a water supply pump, a cooling semiconductor chip and a cooling fan. power supply.
作为优选,所述散热循环室内部设置有密封散热室仓,所述密封散热室仓设置有连通外部的出水口和进水口,所述密封散热室仓底部设置有导热铜盘,所述散热室仓外围环形阵列分布设置有四个固定孔,位于所述出水口和进水口两侧的固定孔还分别设置有横向螺纹孔。As a preference, a sealed heat dissipation chamber is provided inside the heat dissipation circulation chamber, the sealed heat dissipation chamber is provided with a water outlet and a water inlet connected to the outside, a heat conduction copper plate is provided at the bottom of the sealed heat dissipation chamber, and the heat dissipation chamber Four fixing holes are arranged in an annular array around the warehouse, and the fixing holes on both sides of the water outlet and the water inlet are respectively provided with transverse threaded holes.
作为优选,所述散热循环室与循环管道组通过管接头进行安装固定,所述管接头上环形设置有若干个密封槽,若干个所述密封槽上均环形设置有密封垫圈,所述密封垫圈使得管接头与散热循环室的出水口和进水口实现密封链接。As a preference, the heat dissipation circulation chamber and the circulation pipeline group are installed and fixed through pipe joints, and several sealing grooves are arranged annularly on the pipe joints, and sealing gaskets are annularly arranged on the several sealing grooves, and the sealing gaskets The water outlet and the water inlet of the pipe joint and the heat dissipation circulation chamber are connected in a sealed manner.
作为优选,所述管接头与散热循环室通过固定板安装固定,所述固定板设置有用于嵌入管接头的凹槽,所述固定板两侧还设置有通孔。Preferably, the pipe joint and the heat dissipation circulation chamber are installed and fixed through a fixing plate, and the fixing plate is provided with a groove for embedding the pipe joint, and through holes are also provided on both sides of the fixing plate.
作为优选,所述固定板的通孔与横向螺纹孔中心对齐进行螺栓固定连接。Preferably, the center of the through hole of the fixing plate is aligned with the center of the transverse threaded hole for bolted connection.
作为优选,所述循环管道组设置有出水管和进水管。Preferably, the circulation pipe set is provided with a water outlet pipe and a water inlet pipe.
作为优选,所述出水管结构层由内向外分别为软铜管层、反射膜层、珍珠泡膜层和外胶管层。Preferably, the structural layers of the water outlet pipe are respectively a soft copper pipe layer, a reflective film layer, a pearl bubble film layer and an outer rubber pipe layer from inside to outside.
作为优选,所述反射膜层由气垫膜、普通镀铝膜或覆塑镀铝膜组成;所述气垫膜的两面分别通过胶粘剂层热压复合一层普通镀铝膜或覆塑镀铝膜。Preferably, the reflective film layer is composed of an air-cushion film, an ordinary aluminized film or a plastic-coated aluminized film; the two sides of the air-cushion film are laminated with a layer of ordinary aluminized film or a plastic-coated aluminized film by hot-pressing an adhesive layer respectively.
作为优选,所述出水管和进水管的层级结构相同。Preferably, the hierarchical structure of the water outlet pipe and the water inlet pipe is the same.
本发明技术效果主要体现:本发明通过储液室存储有冷却液,制冷半导体片可以对冷却液进行降温处理,使得冷却液的温度低于常温,水泵将低温冷却液送至散热循环室中,进而对计算机芯片进行降温冷却;散热风扇可以加强散热翅片之间的空气流动,对制冷半导体片进行散热降温,保障制冷半导体片对冷却液持续降温;进而实现冷却液低温散热计算机芯片。The technical effect of the present invention mainly reflects that the present invention stores cooling liquid through the liquid storage chamber, and the refrigeration semiconductor chip can perform cooling treatment on the cooling liquid, so that the temperature of the cooling liquid is lower than normal temperature, and the water pump sends the low-temperature cooling liquid to the heat dissipation circulation chamber, Further, the computer chip is cooled; the cooling fan can strengthen the air flow between the cooling fins, dissipate heat and cool down the cooling semiconductor chip, and ensure that the cooling semiconductor chip continuously cools the cooling liquid; thereby realizing the low-temperature heat dissipation of the cooling liquid computer chip.
附图说明Description of drawings
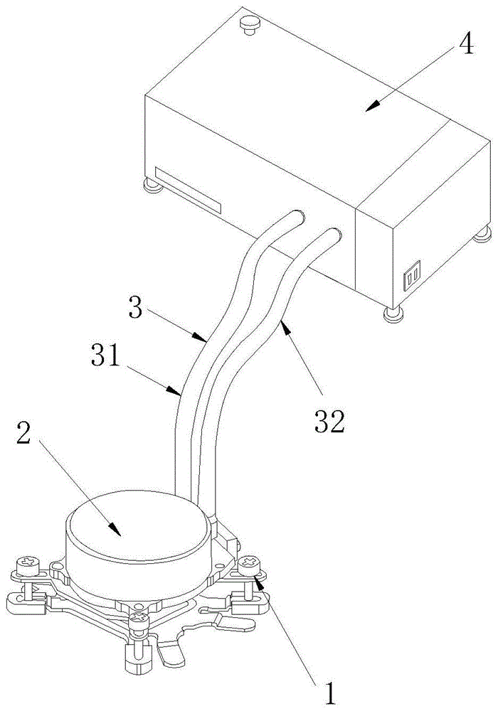
图1为本发明涉及一种水冷型芯片散热器的结构图;Fig. 1 is the structure diagram that the present invention relates to a kind of water-cooled chip radiator;
图2为图1中的散热循环室与管接头的结构图;Fig. 2 is a structural diagram of the heat dissipation circulation chamber and pipe joints in Fig. 1;
图3为图1中制冷机的内部结构图;Fig. 3 is an internal structural diagram of the refrigerator in Fig. 1;
图4为图1为出水管和进水管的结构图。Fig. 4 is a structural diagram of the water outlet pipe and the water inlet pipe shown in Fig. 1 .
具体实施方式Detailed ways
以下结合附图,对本发明的具体实施方式作进一步详述,以使本发明技术方案更易于理解和掌握。The specific implementation manners of the present invention will be further described below in conjunction with the accompanying drawings, so as to make the technical solution of the present invention easier to understand and grasp.
在本实施例中,需要理解的是,术语“中间”、“上”、“下”、“顶部”、“右侧”、“左端”、“上方”、“背面”、“中部”、等指示的方位或位置关系为基于附图所示的方位或位置关系,仅是为了便于描述本发明,而不是指示或暗示所指的装置或元件必须具有特定的方位、以特定的方位构造和操作,因此不能理解为对本发明的限制。In this embodiment, it should be understood that the terms "middle", "upper", "lower", "top", "right side", "left end", "above", "back", "middle", etc. The indicated orientation or positional relationship is based on the orientation or positional relationship shown in the drawings, and is only for the convenience of describing the present invention, rather than indicating or implying that the referred device or element must have a specific orientation, be constructed and operated in a specific orientation , and therefore cannot be construed as a limitation of the present invention.
另,在本具体实施方式中如未特别说明部件之间的连接或固定方式,其连接或固定方式均可为通过现有技术中常用的螺栓固定或钉销固定,或销轴连接等方式,因此,在本实施例中不在详述。In addition, in this specific embodiment, if the connection or fixing method between the components is not specified in particular, the connection or fixing method can be fixed by bolts or pins commonly used in the prior art, or connected by pin shafts, etc. Therefore, it will not be described in detail in this embodiment.
一种水冷型芯片散热器,如图1-2所示,包括散热安装架1,设置在所述散热安装架1上方的散热循环室2,所述散热循环室2安装有循环管道组3,及与散热循环室2通过循环管道组3连接的制冷机4。A water-cooled chip radiator, as shown in Figure 1-2, includes a heat dissipation installation frame 1, a heat
所述散热循环室2内部设置有密封散热室仓21,所述密封散热室仓21设置有连通外部的出水口22和进水口23,所述密封散热室仓21底部设置有导热铜盘24,具体的,所述散热循环室2底部与计算机芯片之间通过散热硅胶相连接,所述导热铜盘24可以加速密封散热室仓21内部的冷却液与计算机芯片之间的热能交换,加快对计算机芯片的降温。所述散热室仓21外围环形阵列分布设置有四个固定孔25,具体的,四个固定孔25可以使散热室仓21固定安装在计算机芯片上。位于所述出水口22和进水口23两侧的固定孔25还分别设置有横向螺纹孔26。具体的,所述横向螺纹孔26用于安装固定板27。The inside of the heat
所述散热循环室2与循环管道组3通过管接头6进行安装固定,所述管接头6上环形设置有若干个密封槽61,若干个所述密封槽61上均环形设置有密封垫圈62,所述密封垫圈62使得管接头6与散热循环室2的出水口22和进水口23实现密封链接。具体的,所述密封垫圈62使得管接头6分别与出水口22和进水口23进行过盈配合,防止液体渗漏。The heat
所述管接头6与散热循环室2通过固定板27安装固定,所述固定板27设置有用于嵌入管接头6的凹槽271,所述固定板27两侧还设置有通孔272。所述固定板27的通孔272与横向螺纹孔26中心对齐进行螺栓固定连接。具体的,所述固定板27加固了管接头6与散热循环室2之间连接,防止管接头6因为液压冲击力而被冲离散热循环室2,使得液体渗漏。The pipe joint 6 and the heat
如图3所示,所述制冷机4包括制冷机架41,设置在制冷机架41内部的储液室42,具体的,所述储液室42用于储存冷却液。及设置储液室42一侧的、用于驱动水液循环的水泵43,具体的,所述水泵43与循环管道组3相连通,通过水泵43将储液室42中冷却液抽取送入到密封散热室仓21中。设置在所述储液室42底部依次向下设置有制冷半导体片43,具体的,制冷半导体片43可以对储液室42中的冷却液进行降温处理。导热铜片44、具体的,导热铜片44可将制冷半导体片43底部的热能导到散热翅片45。散热翅片45和散热风扇46,具体的,散热风扇46加快了散热翅片45之间的空气流动,增强了散热翅片45的散热效果。可以将所述所述储液室42一侧还设置有用于给水泵43、制冷半导体片43和散热风扇46供电的电源47。As shown in FIG. 3 , the
具体的,半导体制冷片是一个热传递的工具。当一块N型半导体材料和一块P型半导体材料联结成的热电偶对中有电流通过时,两端之间就会产生热量转移,热量就会从一端转移到另一端,从而产生温差形成冷热端。但是半导体自身存在电阻当电流经过半导体时就会产生热量,从而会影响热传递。而且两个极板之间的热量也会通过空气和半导体材料自身进行逆向热传递。当冷热端达到一定温差,这两种热传递的量相等时,就会达到一个平衡点,正逆向热传递相互抵消。此时冷热端的温度就不会继续发生变化。为了达到更低的温度,可以采取散热等方式降低热端的温度来实现。Specifically, the semiconductor cooling chip is a tool for heat transfer. When a current flows through a thermocouple pair formed by connecting an N-type semiconductor material and a P-type semiconductor material, heat transfer will occur between the two ends, and the heat will be transferred from one end to the other end, thereby generating a temperature difference to form cold and heat. end. However, the semiconductor itself has resistance. When the current passes through the semiconductor, heat will be generated, which will affect the heat transfer. Moreover, the heat between the two plates is also reversely transferred through the air and the semiconductor material itself. When the hot and cold ends reach a certain temperature difference and the two kinds of heat transfer are equal, a balance point will be reached, and the forward and reverse heat transfer will cancel each other out. At this time, the temperature at the hot and cold ends will not continue to change. In order to achieve a lower temperature, heat dissipation and other methods can be used to reduce the temperature of the hot end.
如图4所示,所述循环管道组3设置有出水管31和进水管32。所述出水管31结构层由内向外分别为软铜管层311、反射膜层312、珍珠泡膜层313和外胶管层314。所述反射膜层312由气垫膜、普通镀铝膜或覆塑镀铝膜组成;所述气垫膜的两面分别通过胶粘剂层热压复合一层普通镀铝膜或覆塑镀铝膜。所述出水管31和进水管32的层级结构相同。具体的,通过在出水管31和进水管3中输入冷却液传送至密封散热室仓21,并通过反射膜层312来阻断热量的对外辐射,结合珍珠泡膜层313的使用可达到保温的效果;使其出水管31和进水管3的外部不会因为空气遇冷而凝结有水珠。As shown in FIG. 4 , the circulation pipe set 3 is provided with a
工作原理:所述散热循环室2通过散热安装架1安装在计算机芯片上,所述散热循环室2和计算机芯片之间涂有散热硅胶,所述散热循环室2与循环管道组3通过管接头6进行安装固定,所述制冷机4放置在计算机机箱外部,所述制冷半导体片43可以对储液室42中的冷却液进行降温处理,再由水泵43将储液室42中冷却液抽取送入到密封散热室仓21中,所述导热铜盘24可以加速密封散热室仓21内部的冷却液与计算机芯片之间的热能交换,加快对计算机芯片的降温。Working principle: the heat
本发明技术效果主要体现:本发明通过储液室存储有冷却液,制冷半导体片可以对冷却液进行降温处理,使得冷却液的温度低于常温,水泵将低温冷却液送至散热循环室中,进而对计算机芯片进行降温冷却;散热风扇可以加强散热翅片之间的空气流动,对制冷半导体片进行散热降温,保障制冷半导体片对冷却液持续降温;进而实现冷却液低温散热计算机芯片。The technical effect of the present invention mainly reflects that the present invention stores cooling liquid through the liquid storage chamber, and the refrigeration semiconductor chip can perform cooling treatment on the cooling liquid, so that the temperature of the cooling liquid is lower than normal temperature, and the water pump sends the low-temperature cooling liquid to the heat dissipation circulation chamber, Further, the computer chip is cooled; the cooling fan can strengthen the air flow between the cooling fins, dissipate heat and cool down the cooling semiconductor chip, and ensure that the cooling semiconductor chip continuously cools the cooling liquid; thereby realizing the low-temperature heat dissipation of the cooling liquid computer chip.
当然,以上只是本发明的典型实例,除此之外,本发明还可以有其它多种具体实施方式,凡采用等同替换或等效变换形成的技术方案,均落在本发明要求保护的范围之内。Of course, the above are only typical examples of the present invention. In addition, the present invention can also have other multiple specific implementation modes. All technical solutions formed by equivalent replacement or equivalent transformation all fall within the scope of protection claimed by the present invention. Inside.
Claims (9)
Priority Applications (1)
| Application Number | Priority Date | Filing Date | Title |
|---|---|---|---|
| CN202211131845.5A CN115629658A (en) | 2022-09-16 | 2022-09-16 | A water-cooled chip radiator |
Applications Claiming Priority (1)
| Application Number | Priority Date | Filing Date | Title |
|---|---|---|---|
| CN202211131845.5A CN115629658A (en) | 2022-09-16 | 2022-09-16 | A water-cooled chip radiator |
Publications (1)
| Publication Number | Publication Date |
|---|---|
| CN115629658A true CN115629658A (en) | 2023-01-20 |
Family
ID=84901931
Family Applications (1)
| Application Number | Title | Priority Date | Filing Date |
|---|---|---|---|
| CN202211131845.5A Pending CN115629658A (en) | 2022-09-16 | 2022-09-16 | A water-cooled chip radiator |
Country Status (1)
| Country | Link |
|---|---|
| CN (1) | CN115629658A (en) |
Cited By (2)
| Publication number | Priority date | Publication date | Assignee | Title |
|---|---|---|---|---|
| CN116301264A (en) * | 2023-05-18 | 2023-06-23 | 成都特锐泰雷兹电子应用科技有限公司 | Miniature liquid cold source and working method thereof |
| CN118553696A (en) * | 2024-07-29 | 2024-08-27 | 江苏海洋大学 | Active electronic device radiator and radiating method |
Citations (3)
| Publication number | Priority date | Publication date | Assignee | Title |
|---|---|---|---|---|
| JP2004193320A (en) * | 2002-12-11 | 2004-07-08 | Sekuto Kagaku:Kk | Heat sink and heat dissipation method using it |
| CN105263301A (en) * | 2015-11-12 | 2016-01-20 | 深圳市研派科技有限公司 | Liquid cooling system and liquid cooling row |
| CN109662360A (en) * | 2019-02-25 | 2019-04-23 | 张建平 | A kind of isothermic garment for heating and freezing using power supply |
-
2022
- 2022-09-16 CN CN202211131845.5A patent/CN115629658A/en active Pending
Patent Citations (3)
| Publication number | Priority date | Publication date | Assignee | Title |
|---|---|---|---|---|
| JP2004193320A (en) * | 2002-12-11 | 2004-07-08 | Sekuto Kagaku:Kk | Heat sink and heat dissipation method using it |
| CN105263301A (en) * | 2015-11-12 | 2016-01-20 | 深圳市研派科技有限公司 | Liquid cooling system and liquid cooling row |
| CN109662360A (en) * | 2019-02-25 | 2019-04-23 | 张建平 | A kind of isothermic garment for heating and freezing using power supply |
Cited By (2)
| Publication number | Priority date | Publication date | Assignee | Title |
|---|---|---|---|---|
| CN116301264A (en) * | 2023-05-18 | 2023-06-23 | 成都特锐泰雷兹电子应用科技有限公司 | Miniature liquid cold source and working method thereof |
| CN118553696A (en) * | 2024-07-29 | 2024-08-27 | 江苏海洋大学 | Active electronic device radiator and radiating method |
Similar Documents
| Publication | Publication Date | Title |
|---|---|---|
| CN112885798B (en) | Integrated phase change heat transfer element liquid cooling cooling module for server | |
| WO2017036282A1 (en) | Air cooling semiconductor refrigerating device for circulation cooling system | |
| CN206833355U (en) | Air-cooling and liquid-cooling combined radiator | |
| CN115629658A (en) | A water-cooled chip radiator | |
| CN113703550A (en) | Hybrid liquid cooling device | |
| CN104851855A (en) | Semiconductor liquid-cooling radiator | |
| CN221327707U (en) | Composite core plate radiator | |
| CN220828396U (en) | Heat abstractor of hydraulic drilling machine | |
| CN106028762B (en) | A kind of double cooling integrated systems for electric vehicle control system | |
| CN102446877A (en) | Semiconductor heat dissipation device | |
| CN201119246Y (en) | Water-cooled auxiliary heat dissipation device | |
| CN210605614U (en) | Heat abstractor for computer machine case | |
| CN210838441U (en) | Heat dissipation device applied to semiconductor laser | |
| CN205830244U (en) | A dual cooling integrated system for electric vehicle control system | |
| CN222663205U (en) | Charging pile with heat dissipation device | |
| CN219418111U (en) | A CPU cooling system | |
| CN205578131U (en) | Automobile engine auxiliary radiating device based on stirling heat engine | |
| CN220856565U (en) | Composite chip liquid cooling radiator | |
| CN216561692U (en) | Intelligent self-adaptive temperature control semiconductor refrigeration active cooling CPU radiator | |
| CN213876641U (en) | Electronic equipment heat radiator with semiconductor auxiliary heat pump | |
| CN214225866U (en) | Cavity radiator with high-efficient initiative refrigeration module | |
| CN112799485A (en) | Electronic equipment heat radiator with semiconductor auxiliary heat pump | |
| CN213818701U (en) | Cold and hot pipe radiator of medical equipment | |
| CN207164691U (en) | Heat exchange device and equipment with heat exchange device | |
| CN221508288U (en) | A battery module thermal management system based on semiconductor cooler |
Legal Events
| Date | Code | Title | Description |
|---|---|---|---|
| PB01 | Publication | ||
| PB01 | Publication | ||
| SE01 | Entry into force of request for substantive examination | ||
| SE01 | Entry into force of request for substantive examination |
