CN115608235A - A slurry mixer that can crush large-grain raw materials and improve the mixing effect - Google Patents
A slurry mixer that can crush large-grain raw materials and improve the mixing effect Download PDFInfo
- Publication number
- CN115608235A CN115608235A CN202211247942.0A CN202211247942A CN115608235A CN 115608235 A CN115608235 A CN 115608235A CN 202211247942 A CN202211247942 A CN 202211247942A CN 115608235 A CN115608235 A CN 115608235A
- Authority
- CN
- China
- Prior art keywords
- frame
- mixing
- stirring
- baffle plate
- movable frame
- Prior art date
- Legal status (The legal status is an assumption and is not a legal conclusion. Google has not performed a legal analysis and makes no representation as to the accuracy of the status listed.)
- Granted
Links
Images
Classifications
-
- B—PERFORMING OPERATIONS; TRANSPORTING
- B01—PHYSICAL OR CHEMICAL PROCESSES OR APPARATUS IN GENERAL
- B01F—MIXING, e.g. DISSOLVING, EMULSIFYING OR DISPERSING
- B01F33/00—Other mixers; Mixing plants; Combinations of mixers
- B01F33/80—Mixing plants; Combinations of mixers
- B01F33/836—Mixing plants; Combinations of mixers combining mixing with other treatments
- B01F33/8361—Mixing plants; Combinations of mixers combining mixing with other treatments with disintegrating
- B01F33/83613—Mixing plants; Combinations of mixers combining mixing with other treatments with disintegrating by grinding or milling
-
- B—PERFORMING OPERATIONS; TRANSPORTING
- B01—PHYSICAL OR CHEMICAL PROCESSES OR APPARATUS IN GENERAL
- B01F—MIXING, e.g. DISSOLVING, EMULSIFYING OR DISPERSING
- B01F35/00—Accessories for mixers; Auxiliary operations or auxiliary devices; Parts or details of general application
- B01F35/10—Maintenance of mixers
- B01F35/12—Maintenance of mixers using mechanical means
-
- B—PERFORMING OPERATIONS; TRANSPORTING
- B01—PHYSICAL OR CHEMICAL PROCESSES OR APPARATUS IN GENERAL
- B01F—MIXING, e.g. DISSOLVING, EMULSIFYING OR DISPERSING
- B01F35/00—Accessories for mixers; Auxiliary operations or auxiliary devices; Parts or details of general application
- B01F35/50—Mixing receptacles
- B01F35/53—Mixing receptacles characterised by the configuration of the interior, e.g. baffles for facilitating the mixing of components
- B01F35/531—Mixing receptacles characterised by the configuration of the interior, e.g. baffles for facilitating the mixing of components with baffles, plates or bars on the wall or the bottom
- B01F35/5311—Mixing receptacles characterised by the configuration of the interior, e.g. baffles for facilitating the mixing of components with baffles, plates or bars on the wall or the bottom with horizontal baffles mounted on the walls
Landscapes
- Chemical & Material Sciences (AREA)
- Chemical Kinetics & Catalysis (AREA)
- Engineering & Computer Science (AREA)
- Mechanical Engineering (AREA)
- Mixers Of The Rotary Stirring Type (AREA)
Abstract
本发明公开了一种可对大颗粒原料碾压并提高搅拌效果的泥浆混料机,包括:底座;支撑架,其固定安装在底座上;混料罐,其固定安装在支撑架上,混料罐的侧壁开设有入料口;隔板组件,其设置在混料罐的内部,隔板组件将混料罐的内部分为呈筒状结构的混料仓和呈锥形结构的卸料仓;搅拌机构,其包括转动连接在隔板组件顶部的搅拌架和滑动连接在搅拌架表面的活动架;碾压组件,其设置在活动架的底部,用于碾压大颗粒原料,碾压组件包括两个挤压辊,两个挤压辊对称安装在活动架的底部;以及驱动机构,其设置在混料罐的顶部,用于驱动搅拌机构运转。
The invention discloses a mud mixer capable of rolling large particle raw materials and improving the mixing effect, which comprises: a base; a support frame fixedly installed on the base; a mixing tank fixedly installed on the support frame, mixing The side wall of the material tank is provided with a material inlet; the baffle assembly is arranged inside the mixing tank, and the baffle assembly divides the inside of the mixing tank into a mixing bin with a cylindrical structure and a discharge chamber with a conical structure. The silo; the stirring mechanism, which includes a stirring frame that is rotatably connected to the top of the partition assembly and a movable frame that is slidably connected to the surface of the stirring frame; The pressing assembly includes two squeeze rollers, which are symmetrically installed on the bottom of the movable frame; and a driving mechanism, which is arranged on the top of the mixing tank, and is used to drive the stirring mechanism to run.
Description
技术领域technical field
本发明涉及泥浆混料设备技术领域,具体涉及一种可对大颗粒原料碾压并提高搅拌效果的泥浆混料机。The invention relates to the technical field of mud mixing equipment, in particular to a mud mixer capable of rolling large particle raw materials and improving the stirring effect.
背景技术Background technique
地基是指建筑物下面支撑基础的土体或岩体。地基工程施工中经常需要使用泥浆混料机对泥浆进行混料,然后将混合好后的泥浆灌入地基中,起到支撑地基基础的作用。A foundation is the mass of soil or rock beneath a building that supports the foundation. In the construction of foundation engineering, it is often necessary to use a mud mixer to mix the mud, and then pour the mixed mud into the foundation to support the foundation of the foundation.
现有技术中,泥浆混料机在进行使用的时候混料效果不佳、混料速度慢、操作繁琐的缺点,因此中国专利CN112569832A公开了一种地基与基础工程用泥浆混料机,虽然该方案可以对泥浆进行水平和竖直方向进行同时搅拌,但是在使用中也存在一些问题:1、该方案在使用中混料罐的内部上半部分呈筒状结构方便对原料进行搅拌,下半部分呈锥形结构方便对原料进行卸料,但是由于下半部分呈锥形结构,导致在搅拌的时候,由于原料堆积在底部,会使部分原料粘接成块,或者有体积较大的颗粒物,通过螺旋叶片将底部原料向上输送的时候效果差,使锥形位置的大颗粒原料无法被混料机构进行搅拌,从而影响搅拌效果。2、原料从混料罐的顶部投入,而混料罐的内部又设置有链条等传动机构,使物料在投入的时候会影响链条等传动机构的正常使用,而且原料在混料罐的内部搅拌会向上迸溅,也会影响传动机构的使用。In the prior art, when the mud mixer is used, the mixing effect is not good, the mixing speed is slow, and the operation is cumbersome. Therefore, Chinese patent CN112569832A discloses a mud mixer for foundation and foundation engineering. Although the The scheme can stir the mud horizontally and vertically at the same time, but there are some problems in use: 1. The upper part of the mixing tank in this scheme is in a cylindrical structure to facilitate the mixing of raw materials, and the lower half Part of the conical structure is convenient for unloading raw materials. However, due to the conical structure of the lower part, when stirring, due to the accumulation of raw materials at the bottom, some raw materials will be bonded into blocks, or there will be larger particles. , the effect is poor when the bottom material is conveyed upward by the spiral blade, so that the large particle material in the conical position cannot be stirred by the mixing mechanism, thus affecting the mixing effect. 2. Raw materials are put in from the top of the mixing tank, and the inside of the mixing tank is equipped with transmission mechanisms such as chains, so that the normal use of the transmission mechanisms such as chains will be affected when the materials are put in, and the raw materials are stirred inside the mixing tank It will splash upwards, and it will also affect the use of the transmission mechanism.
发明内容Contents of the invention
本发明的目的在于提供一种可对大颗粒原料碾压并提高搅拌效果的泥浆混料机,以解决上述背景技术中提出的问题。The object of the present invention is to provide a mud mixer capable of rolling large particle raw materials and improving the mixing effect, so as to solve the problems raised in the above-mentioned background technology.
为实现上述目的,本发明提供了一种可对大颗粒原料碾压并提高搅拌效果的泥浆混料机,包括:底座;支撑架,其固定安装在底座上;混料罐,其固定安装在支撑架上,混料罐的侧壁开设有入料口;隔板组件,其设置在混料罐的内部,隔板组件将混料罐的内部分为呈筒状结构的混料仓和呈锥形结构的卸料仓;搅拌机构,其包括转动连接在隔板组件顶部的搅拌架和滑动连接在搅拌架表面的活动架;碾压组件,其设置在活动架的底部,用于碾压大颗粒原料,碾压组件包括两个挤压辊,两个挤压辊对称安装在活动架的底部;以及驱动机构,其设置在混料罐的顶部,用于驱动搅拌机构运转。In order to achieve the above object, the present invention provides a mud mixer capable of rolling large particle raw materials and improving the mixing effect, comprising: a base; a support frame, which is fixedly installed on the base; a mixing tank, which is fixedly installed on the On the support frame, the side wall of the mixing tank is provided with a material inlet; the partition assembly is arranged inside the mixing tank, and the partition assembly divides the inside of the mixing tank into a mixing bin in a cylindrical structure and a mixing bin in a cylindrical structure. A discharge bin with a conical structure; a stirring mechanism, which includes a stirring frame that is rotatably connected to the top of the partition assembly and a movable frame that is slidably connected to the surface of the stirring frame; a rolling assembly, which is arranged at the bottom of the movable frame for rolling For large-grain raw materials, the rolling assembly includes two squeeze rollers, which are symmetrically installed at the bottom of the movable frame; and a driving mechanism, which is arranged on the top of the mixing tank, and is used to drive the stirring mechanism to operate.
在一优选实施方式中,碾压组件还包括安装在挤压辊两端的连接块,挤压辊和两个连接块转动连接,活动架的底部开设有用于限制连接块只能在其内部滑动的滑槽,连接块的顶部固定安装有弹簧,弹簧远离连接块的一端和滑槽顶壁固定连接。In a preferred embodiment, the rolling assembly also includes connection blocks installed at both ends of the squeeze roller, the squeeze roller is rotatably connected to the two connection blocks, and the bottom of the movable frame is provided with a hole for limiting the connection block to slide only inside it. In the chute, a spring is fixedly installed on the top of the connecting block, and the end of the spring away from the connecting block is fixedly connected to the top wall of the chute.
在一优选实施方式中,驱动机构包括转动连接在混料罐内壁靠近混料罐顶端位置的罐盖,罐盖的表面固定安装有两个气缸,两个气缸的输出端端口固定安装有连接架,连接架为n形,连接架的两臂表面滑动贯穿罐盖,且两臂端口均与活动架固定连接。In a preferred embodiment, the driving mechanism includes a tank cover that is rotatably connected to the inner wall of the mixing tank near the top of the mixing tank. Two air cylinders are fixedly installed on the surface of the tank cover, and a connecting frame is fixedly installed on the output ports of the two air cylinders. , the connecting frame is n-shaped, the surface of the two arms of the connecting frame slides through the tank cover, and the ports of the two arms are fixedly connected with the movable frame.
在一优选实施方式中,驱动机构还包括固定安装在混料罐顶端的固定架,固定架的表面固定安装有电机,电机的输出轴端口和搅拌架固定连接,连接架滑动套设在搅拌架的表面。In a preferred embodiment, the drive mechanism also includes a fixed frame fixedly installed on the top of the mixing tank, a motor is fixedly installed on the surface of the fixed frame, the output shaft port of the motor is fixedly connected with the stirring frame, and the connecting frame is slidingly sleeved on the stirring frame s surface.
在一优选实施方式中,搅拌架包括连接轴和均匀固定安装在连接轴表面的搅拌杆,搅拌杆位于混料仓的内部,连接轴的表面转动贯穿罐盖,连接轴的上端与电机输出轴端口固定连接,下端与隔板组件转动连接。In a preferred embodiment, the stirring frame includes a connecting shaft and a stirring rod evenly fixed on the surface of the connecting shaft. The ports are fixedly connected, and the lower end is rotatably connected with the partition assembly.
在一优选实施方式中,活动架为圆形结构且表面均匀开设有用于原料通过的漏料槽,活动架的外侧壁与混料仓相接触,活动架的表面开设有和搅拌杆尺寸相适配的长槽,连接轴的表面开设有竖槽,活动架通过竖槽和连接轴滑动连接。In a preferred embodiment, the movable frame has a circular structure and the surface is evenly provided with a leakage groove for the passage of raw materials, the outer wall of the movable frame is in contact with the mixing bin, and the surface of the movable frame is provided with a groove suitable for the size of the stirring rod. The matching long groove, the surface of the connecting shaft is provided with a vertical groove, and the movable frame is slidably connected with the connecting shaft through the vertical groove.
在一优选实施方式中,隔板组件包括第一隔板和第二隔板,第一隔板固定安装在混料仓和卸料仓交接处,第一隔板的表面均匀开设有用于卸料的圆形卸料孔,第二隔板可拆卸安装在第一隔板底部的卸料孔位置,第一隔板和第二隔板形成密封的隔板,且第二隔板插入第一隔板后,隔板组件顶部形成平面。In a preferred embodiment, the partition assembly includes a first partition and a second partition, the first partition is fixedly installed at the junction of the mixing bin and the discharge bin, and the surface of the first partition is uniformly provided with The circular discharge hole, the second partition is detachably installed at the discharge hole position at the bottom of the first partition, the first partition and the second partition form a sealed partition, and the second partition is inserted into the first partition After the board, the top of the bulkhead assembly forms a plane.
在一优选实施方式中,第二隔板包括四个和卸料孔尺寸相适配的圆块和固定安装在四个圆块底部的安装架,安装架的顶部固定安装有插杆,第一隔板的底部开设有和插杆尺寸相适配的插槽,第一隔板的内部转动连接有螺杆,螺杆螺纹贯穿安装架,第一隔板的内部设置有驱动螺杆转动的传动机构。In a preferred embodiment, the second partition includes four round blocks that match the size of the discharge hole and a mounting frame that is fixedly installed at the bottom of the four round blocks, and the top of the mounting frame is fixedly equipped with an insertion rod. The bottom of the divider is provided with a slot matching the size of the insert rod, the inside of the first divider is connected with a screw, and the thread of the screw runs through the mounting frame, and the inside of the first divider is provided with a transmission mechanism for driving the screw to rotate.
在一优选实施方式中,传动机构包括第一锥齿轮,第一锥齿轮固定安装在螺杆的顶部,第一锥齿轮的顶部和第一隔板转动连接,第一隔板的侧壁转动插设有传动杆,传动杆靠近第一锥齿轮的端口固定安装有第二锥齿轮,第一锥齿轮和第二锥齿轮相啮合,传动杆的表面转动贯穿混料罐和支撑架,传动杆远离第二锥齿轮的端口固定安装有转把。In a preferred embodiment, the transmission mechanism includes a first bevel gear, the first bevel gear is fixedly installed on the top of the screw rod, the top of the first bevel gear is rotatably connected to the first partition, and the side wall of the first partition is rotatably inserted There is a transmission rod, the second bevel gear is fixedly installed on the port close to the first bevel gear, the first bevel gear and the second bevel gear mesh, the surface of the transmission rod rotates through the mixing tank and the support frame, and the transmission rod is far away from the second bevel gear The port of the two bevel gears is fixedly equipped with a turning handle.
在一优选实施方式中,隔板组件的顶部固定安装有固定轴,连接轴的底端和固定轴转动连接。In a preferred embodiment, a fixed shaft is fixedly installed on the top of the partition assembly, and the bottom end of the connecting shaft is rotatably connected to the fixed shaft.
与现有技术相比,本发明的有益效果是:Compared with prior art, the beneficial effect of the present invention is:
1、本发明通过设置碾压组件,在使用中,活动架跟随搅拌架进行同步转动,同时活动架又可以在竖直方向移动,当活动架移动至底部的时候,带动碾压组件移动至底部,从而使挤压辊将隔板组件上的大颗粒原料进行碾压,在碾压的时候,挤压辊利用连接块上的弹簧对大颗粒物质施加挤压力,使整个挤压辊和连接块具有向上活动的空间,避免隔板组件上的大颗粒物质较多,影响挤压辊正常使用以及影响搅拌架转动的现象,而且碾压组件设置在活动架底部,跟随活动架同步转动,既提高搅拌效果,也可以起到碾压作用。1. In the present invention, by setting the rolling assembly, in use, the movable frame rotates synchronously with the stirring frame, and at the same time, the movable frame can move in the vertical direction. When the movable frame moves to the bottom, it drives the rolling assembly to move to the bottom , so that the extrusion roller will crush the large-grained raw materials on the separator assembly. When rolling, the extrusion roller uses the spring on the connecting block to exert a squeezing force on the large-grained material, so that the entire extrusion roller and the connection The block has an upward movable space to avoid the phenomenon that there are many large particles on the partition assembly, which will affect the normal use of the squeeze roller and the rotation of the stirring frame. Moreover, the rolling assembly is arranged at the bottom of the movable frame and rotates synchronously with the movable frame. Improve the mixing effect and also play a rolling role.
2、本发明通过设置可以上下移动的活动架,起到对混料罐进行竖直方向搅拌的同时,也可以利用活动架的侧壁将混料罐的内壁进行清理,以及对搅拌架的表面进行清理,减少原料粘附在表面影响搅拌效果的问题。2. The present invention can use the side wall of the movable frame to clean the inner wall of the mixing tank while stirring the mixing tank in the vertical direction by setting a movable frame that can move up and down, and to clean the surface of the mixing frame. Clean up to reduce the problem that raw materials adhere to the surface and affect the stirring effect.
3、本发明通过设置隔板组件,将混料仓和卸料仓进行分隔,从而更加方便碾压组件的使用,进而增强搅拌混合的效果。3. The present invention separates the mixing bin and the unloading bin by setting the partition board assembly, so that the use of the rolling assembly is more convenient, and the effect of stirring and mixing is enhanced.
4、通过驱动机构带动搅拌架和活动架进行工作运转对内部的原料进行混合,搅拌架在水平的圆周方向进行搅拌,活动架在竖直方向进行搅拌,从而实现对内部原料充分搅拌的效果。4. The driving mechanism drives the stirring frame and the movable frame to work and mix the internal raw materials. The stirring frame stirs in the horizontal circumferential direction, and the movable frame stirs in the vertical direction, so as to achieve the effect of fully stirring the internal raw materials.
附图说明Description of drawings
图1为本发明的泥浆混料机的结构示意图;Fig. 1 is the structural representation of mud mixer of the present invention;
图2为本发明的混料罐剖视图;Fig. 2 is a cross-sectional view of a mixing tank of the present invention;
图3为本发明的连接架结构示意图;Fig. 3 is the structural representation of connecting frame of the present invention;
图4为本发明的搅拌架结构示意图;Fig. 4 is the structural representation of stirring frame of the present invention;
图5为本发明的活动架剖视图;Fig. 5 is a sectional view of the movable frame of the present invention;
图6为本发明的隔板组件部分结构示意图;Fig. 6 is a partial structural schematic diagram of the partition assembly of the present invention;
图7为本发明的第一隔板剖视图;Fig. 7 is a sectional view of the first separator of the present invention;
图8为图7中A处结构放大示意图。FIG. 8 is an enlarged schematic diagram of the structure at A in FIG. 7 .
附图标记说明:Explanation of reference signs:
1、底座;2、支撑架;3、混料罐;4、桶盖;5、混料仓;6、卸料仓;7、隔板组件;701、第一隔板;702、第二隔板;703、固定轴;704、螺杆;705、传动杆;706、转把;707、第一锥齿轮;708、第二锥齿轮;709、插槽;710、插杆;8、电机;9、固定架;10、连接架;11、搅拌架;111、连接轴;112、搅拌杆;12、气缸;13、滑槽;14、活动架;15、弹簧;16、连接块;17、挤压辊。1. Base; 2. Support frame; 3. Mixing tank; 4. Barrel cover; 5. Mixing bin; 6. Unloading bin; 7. Partition assembly; 701, first partition; 702, second partition Plate; 703, fixed shaft; 704, screw rod; 705, transmission rod; 706, turn handle; 707, first bevel gear; 708, second bevel gear; 709, slot; 710, insert rod; 8, motor; 9 10, connecting frame; 11, stirring frame; 111, connecting shaft; 112, stirring rod; 12, cylinder; 13, chute; 14, movable frame; 15, spring; 16, connecting block; 17, extruding Pressure roller.
具体实施方式detailed description
下面将对本发明实施例中的技术方案进行清楚、完整地描述。本发明中的实施例,本领域普通技术人员在没有做出创造性劳动前提下所获得的所有其他实施例,都属于本发明保护的范围。The technical solutions in the embodiments of the present invention will be clearly and completely described below. The embodiments of the present invention and all other embodiments obtained by persons of ordinary skill in the art without making creative efforts belong to the protection scope of the present invention.
实施例1Example 1
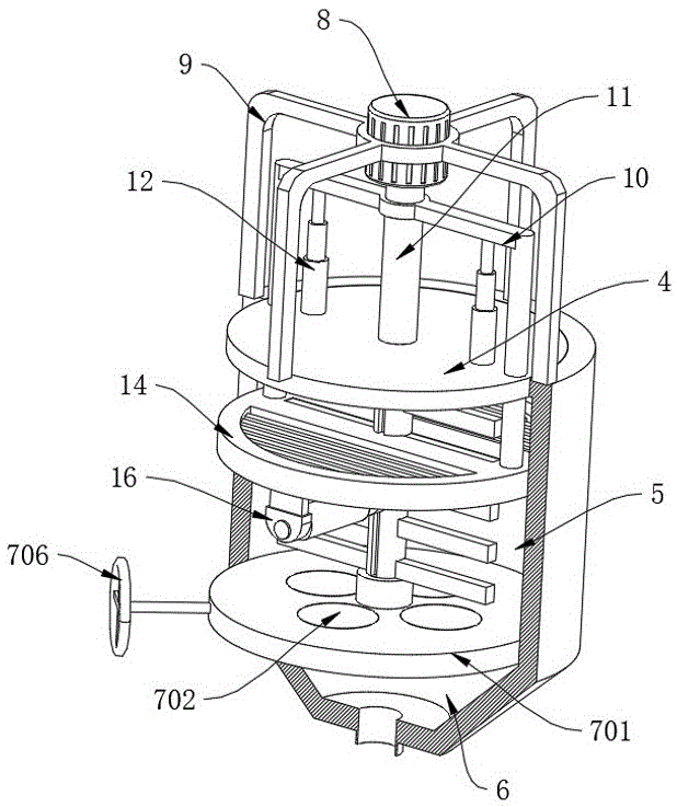
如图1-8所示,本发明优选实施方式的可对大颗粒原料碾压并提高搅拌效果的泥浆混料机,包括:底座1、支撑架2、混料罐3、隔板组件7、搅拌机构、碾压组件以及驱动机构。As shown in Figures 1-8, the preferred embodiment of the present invention is a mud mixer capable of rolling large-grain raw materials and improving the mixing effect, including: a
其中,底座1下方设置有移动轮,支撑架2固定安装在底座1上,混料罐3固定安装在支撑架2上,混料罐3的侧壁开设有入料口,混料罐3的内部设置有隔板组件7,隔板组件7将混料罐3的内部分为呈筒状结构的混料仓5和呈锥形结构的卸料仓6。搅拌机构设置在隔板组件7上方,驱动机构设置在混料罐3的顶部,用于驱动搅拌机构运转。具体的,搅拌机构包括转动连接在隔板组件7顶部的搅拌架11和滑动连接在搅拌架11表面的活动架14,其中,活动架14及搅拌架11的下部设置在混料仓5的内部,用于对泥浆进行混合搅拌。碾压组件设置在活动架14的底部,用于碾压大颗粒原料,碾压组件包括两个挤压辊17,两个挤压辊17对称安装在活动架14的底部。Wherein, the bottom of the
使用时,将原料从混料罐3的入料口进行上料,然后利用驱动机构带动搅拌架11和活动架14进行工作运转,对混料罐3内部的原料进行混合,搅拌架11在水平的圆周方向进行搅拌,活动架14在竖直方向进行搅拌,从而实现对内部原料充分搅拌的效果,利用内部的隔板组件7将混料罐3底部的锥形区域进行分开,避免原料在混合过程中落入卸料仓6导致混合效果差的现象,在进行搅拌混合的时候利用碾压组件中的挤压辊17对位于隔板组件7表面的沉底的大颗粒原料进行碾压,从而可以减少大颗粒原料物质无法充分混合的现象。由于驱动机构位于混料罐3的顶部,入料口设置在混料罐3的侧壁,从而可以避免使用中原料对驱动机构产生影响。When in use, the raw materials are fed from the feed port of the
进一步的,碾压组件还包括安装在挤压辊17两端的连接块16,挤压辊17和两个连接块16转动连接,活动架14的底部开设有用于限制连接块16只能在其内部滑动的滑槽13,连接块16的顶部固定安装有弹簧15,弹簧15远离连接块16的一端和滑槽13顶壁固定连接。碾压组件在使用中,活动架14跟随搅拌架11进行同步转动,同时活动架14又可以在竖直方向移动,当活动架14移动至底部的时候,带动碾压组件移动至底部,从而使挤压辊17将隔板组件7上的大颗粒原料进行碾压,在碾压的时候,挤压辊17利用连接块16上的弹簧15对大颗粒物质施加挤压力,使整个挤压辊17和连接块16具有向上活动的空间,避免隔板组件7上的大颗粒物质较多,影响挤压辊17正常使用以及影响搅拌架11转动的现象。Further, the rolling assembly also includes connection blocks 16 installed at both ends of the
进一步的,驱动机构包括转动连接在混料罐3内壁靠近混料罐3顶端位置的罐盖4,罐盖4的表面固定安装有两个气缸12,两个气缸12的输出端端口固定安装有连接架10,连接架10为n形,连接架10的两臂表面滑动贯穿罐盖4,且两臂端口均与活动架14固定连接。驱动机构可以驱动活动架14在竖直方向移动,使用中直接启动气缸12,气缸12带动连接架10上下位置移动,从而带动活动架14上下移动,利用活动架14的上下移动对内部原料进行竖直方向的搅拌。Further, the drive mechanism includes a
进一步的,驱动机构还包括固定安装在混料罐3顶端的固定架9,固定架9的表面固定安装有电机8,电机8的输出轴端口和搅拌架11固定连接,连接架10滑动套设在搅拌架11的表面。驱动机构在驱动搅拌架11转动的时候直接启动电机8,电机8带动搅拌架11进行转动,而活动架14只能和搅拌架11进行上下滑动,因此也带动活动架14进行转动,从而当活动架14移动至底部的时可以利用碾压组件对大颗粒原料进行碾压。Further, the drive mechanism also includes a fixed
进一步的,搅拌架11包括连接轴111和均匀固定安装在连接轴111表面的搅拌杆112,搅拌杆112位于混料仓5的内部,连接轴111的表面转动贯穿罐盖4,连接轴111的上端与电机8输出轴端口固定连接,下端与隔板组件7转动连接。利用搅拌杆112对原料进行圆周水平方向的搅拌,且搅拌轴贯穿罐盖4,因此将驱动机构设置在罐盖4的顶部可以避免原料对驱动机构的影响。Further, the stirring
进一步的,活动架14为圆形结构且表面均匀开设有用于原料通过的漏料槽,活动架14的外侧壁与混料仓5相接触,活动架14的表面开设有和搅拌杆112尺寸相适配的长槽,连接轴111的表面开设有竖槽,活动架14通过竖槽和连接轴111滑动连接。活动架14可以利用侧壁对混料仓5的内壁进行清理,利用漏料槽方便在上下移动的时候对原料进行竖直方向搅拌,利用长槽方便对搅拌架11起到清理作用,降低原料附着后影响搅拌架11使用的问题。Further, the
实施例2Example 2
在一优选实施方式中,隔板组件7包括第一隔板701和第二隔板702,第一隔板701固定安装在混料仓5和卸料仓6交接处,第一隔板701的表面均匀开设有用于卸料的圆形卸料孔,第二隔板702可拆卸安装在第一隔板701底部的卸料孔位置,第一隔板701和第二隔板702形成密封的隔板,且第二隔板702插入第一隔板701后,隔板组件顶部形成平面。隔板组件用来将混料仓5和卸料仓6进行分隔,从而使原料在进行混合的时候只处于混料仓5的位置,有利于进行混料,同时第二隔板702可以从第一隔板701上下移,使圆形卸料孔打开,进而方便对混料仓5内部的原料从卸料仓6进行卸料,第一隔板701和第二隔板702在拼接后顶部呈平面,方便挤压辊17对原料的挤压。In a preferred embodiment, the
进一步的,第二隔板702包括四个和卸料孔尺寸相适配的圆块和固定安装在四个圆块底部的安装架,安装架的顶部固定安装有插杆710,第一隔板701的底部开设有和插杆710尺寸相适配的插槽709,第一隔板701的内部转动连接有螺杆704,螺杆704螺纹贯穿安装架,第一隔板701的内部设置有驱动螺杆704转动的传动机构。第二隔板702需要进行上下活动,操作中利用传动机构使螺杆704进行转动,螺杆704转动的时候带动第二隔板702进行竖直方向移动,第二隔板702上的插杆710与第一隔板701的插槽709进行滑动连接,因此可以限制第二隔板702无法和第一隔板701进行转动,方便螺杆704带动第二隔板702进行移动。Further, the
进一步的,隔板组件7的顶部固定安装有固定轴703,连接轴111的底端和固定轴703转动连接,利用固定轴703增强了连接轴111转动时的稳定性。Further, a fixed
实施例3Example 3
在一优选实施方式中,传动机构包括第一锥齿轮707,第一锥齿轮707固定安装在螺杆704的顶部,第一锥齿轮707的顶部和第一隔板701转动连接,第一隔板701的侧壁转动插设有传动杆705,传动杆705靠近第一锥齿轮707的端口固定安装有第二锥齿轮708,第一锥齿轮707和第二锥齿轮708相啮合,传动杆705的表面转动贯穿混料罐3和支撑架2,传动杆705远离第二锥齿轮708的端口固定安装有转把706。传动机构在使用中可直接转动转把706,转把706带动传动杆705进行转动,传动杆705带动第二锥齿轮708进行转动,第二锥齿轮708带动第一锥齿轮707进行转动,第二锥齿轮708带动螺杆704转动,从而驱动第二隔板702进行移动。In a preferred embodiment, the transmission mechanism includes a
实施例4Example 4
下面具体介绍本发明的可对大颗粒原料碾压并提高搅拌效果的泥浆混料机工作原理:The following specifically introduces the working principle of the mud mixer of the present invention that can crush large particle raw materials and improve the mixing effect:
首先,利用带有移动轮的底座1将整个地基与基础工程用泥浆混料机移动至合适的位置,用电设备均外接220伏电源,将原料从混料罐3的入料口进行上料,然后利用驱动机构带动搅拌架11和活动架14进行工作运转对内部的原料进行混合,搅拌架11在水平的圆周方向进行搅拌,活动架14在竖直方向进行搅拌,从而实现对内部原料充分搅拌的效果。First, use the
利用内部的隔板组件7将混料罐3底部的锥形区域进行分开,避免原料在混合过程中落入卸料仓6导致混合效果差的现象,在进行搅拌混合的时候利用碾压组件中的挤压辊17对位于隔板组件7表面的沉底的大颗粒原料进行碾压,从而可以减少大颗粒原料物质无法充分混合的现象。碾压组件在使用中,活动架14跟随搅拌架11进行同步转动,同时活动架14又可以在竖直方向移动,当活动架14移动至底部的时候,带动碾压组件移动至底部,从而使挤压辊17将隔板组件7上的大颗粒原料进行碾压,在碾压时,挤压辊17利用连接块16上的弹簧15对大颗粒物质施加挤压力,使整个挤压辊17和连接块16具有向上活动的空间,避免隔板组件7上的大颗粒物质较多,影响挤压辊17正常使用以及影响搅拌架11转动的现象。Use the
驱动机构可以驱动活动架14在竖直方向移动,使用中直接启动气缸12,气缸12带动连接架10上下位置移动,从而带动活动架14上下移动,利用活动架14的上下移动对内部原料进行竖直方向的搅拌,驱动机构在驱动搅拌架11转动的时候直接启动电机8,电机8带动搅拌架11进行转动,而活动架14只能和搅拌架11进行上下滑动,因此也带动活动架14进行转动,从而当活动架14移动至底部的时候可以利用碾压组件对大颗粒原料进行碾压。搅拌架11由连接轴111和搅拌杆112组成,利用搅拌杆112对原料进行圆周水平方向的搅拌,且搅拌轴贯穿罐盖4,因此将驱动机构设置在罐盖4的顶部可以避免原料对驱动机构的影响。隔板组件用来将混料仓5和卸料仓6进行分隔,从而使原料在进行混合的时候只处于混料仓5的位置,有利于进行混料,同时第二隔板702可以从第一隔板701上下移,使圆形卸料孔打开,进而方便对混料仓5内部的原料从卸料仓6进行卸料,第一隔板701和第二隔板702在拼接后顶部呈平面,方便挤压辊17对原料的挤压,第二隔板702需要进行上下活动,操作中利用传动机构使螺杆704进行转动,螺杆704转动的时候带动第二隔板702进行竖直方向移动,第二隔板702上的插杆710与第一隔板701的插槽709进行滑动连接,因此可以限制第二隔板702无法和第一隔板701进行转动,方便螺杆704带动第二隔板702进行移动。The drive mechanism can drive the
传动机构在使用中直接转动转把706,转把706带动传动杆705进行转动,传动杆705带动第二锥齿轮708进行转动,第二锥齿轮708带动第一锥齿轮707进行转动,第二锥齿轮708带动螺杆704转动,从而驱动第二隔板702进行移动。The transmission mechanism directly turns the
尽管已经示出和描述了本发明的实施例,对于本领域的普通技术人员而言,可以理解在不脱离本发明的原理和精神的情况下可以对这些实施例进行多种变化、修改、替换和变型,本发明的范围由所附权利要求及其等同物限定。Although the embodiments of the present invention have been shown and described, those skilled in the art can understand that various changes, modifications and substitutions can be made to these embodiments without departing from the principle and spirit of the present invention. and modifications, the scope of the invention is defined by the appended claims and their equivalents.
Claims (10)
Priority Applications (1)
| Application Number | Priority Date | Filing Date | Title |
|---|---|---|---|
| CN202211247942.0A CN115608235B (en) | 2022-10-12 | 2022-10-12 | Slurry mixer capable of rolling large-particle raw materials and improving stirring effect |
Applications Claiming Priority (1)
| Application Number | Priority Date | Filing Date | Title |
|---|---|---|---|
| CN202211247942.0A CN115608235B (en) | 2022-10-12 | 2022-10-12 | Slurry mixer capable of rolling large-particle raw materials and improving stirring effect |
Publications (2)
| Publication Number | Publication Date |
|---|---|
| CN115608235A true CN115608235A (en) | 2023-01-17 |
| CN115608235B CN115608235B (en) | 2025-11-21 |
Family
ID=84862083
Family Applications (1)
| Application Number | Title | Priority Date | Filing Date |
|---|---|---|---|
| CN202211247942.0A Active CN115608235B (en) | 2022-10-12 | 2022-10-12 | Slurry mixer capable of rolling large-particle raw materials and improving stirring effect |
Country Status (1)
| Country | Link |
|---|---|
| CN (1) | CN115608235B (en) |
Cited By (1)
| Publication number | Priority date | Publication date | Assignee | Title |
|---|---|---|---|---|
| CN120023915A (en) * | 2025-04-24 | 2025-05-23 | 山西建工建筑工程检测有限公司 | A tunnel inner wall spraying reinforcement homogenization device |
Citations (11)
| Publication number | Priority date | Publication date | Assignee | Title |
|---|---|---|---|---|
| CN108097367A (en) * | 2017-12-04 | 2018-06-01 | 宁波市江北义盈工贸有限公司 | A kind of air purifier activated carbon intermittent pressurized formula reducing mechanism |
| CN209423522U (en) * | 2018-09-29 | 2019-09-24 | 成都孚吉科技有限责任公司 | A kind of heavy crude thinner production mix device |
| CN211385010U (en) * | 2019-12-24 | 2020-09-01 | 苏州福彬新科化学有限公司 | Raw material mixing device is used in water-drawing agent production |
| CN211964506U (en) * | 2020-03-18 | 2020-11-20 | 河北新启元能源技术开发股份有限公司 | A kind of waste residue treatment equipment for naphtha preparation |
| CN212040910U (en) * | 2020-04-20 | 2020-12-01 | 辽宁宝山生态涂料有限公司 | Photocuring coating grinds dispersion integrated device |
| CN214438652U (en) * | 2021-02-07 | 2021-10-22 | 烟台市食品药品检验检测中心(烟台市药品不良反应监测中心) | Solid medicine detects with grinding dissolving device |
| CN214871841U (en) * | 2021-01-28 | 2021-11-26 | 山东华祥电缆有限公司 | A raw material stirring device for producing cables |
| CN215693416U (en) * | 2021-09-09 | 2022-02-01 | 浦江县沥青拌和有限公司 | Modified asphalt low temperature mixes material equipment |
| CN215877103U (en) * | 2021-01-22 | 2022-02-22 | 陈道雨 | Multi-functional chemical industry pigment agitating unit |
| WO2022104973A1 (en) * | 2020-11-18 | 2022-05-27 | 山东丰香园食品股份有限公司 | Mixing apparatus for processing sesame paste |
| CN114631563A (en) * | 2022-03-18 | 2022-06-17 | 江西阳光乳业股份有限公司 | Full-automatic yoghourt fermentation production system and method |
-
2022
- 2022-10-12 CN CN202211247942.0A patent/CN115608235B/en active Active
Patent Citations (11)
| Publication number | Priority date | Publication date | Assignee | Title |
|---|---|---|---|---|
| CN108097367A (en) * | 2017-12-04 | 2018-06-01 | 宁波市江北义盈工贸有限公司 | A kind of air purifier activated carbon intermittent pressurized formula reducing mechanism |
| CN209423522U (en) * | 2018-09-29 | 2019-09-24 | 成都孚吉科技有限责任公司 | A kind of heavy crude thinner production mix device |
| CN211385010U (en) * | 2019-12-24 | 2020-09-01 | 苏州福彬新科化学有限公司 | Raw material mixing device is used in water-drawing agent production |
| CN211964506U (en) * | 2020-03-18 | 2020-11-20 | 河北新启元能源技术开发股份有限公司 | A kind of waste residue treatment equipment for naphtha preparation |
| CN212040910U (en) * | 2020-04-20 | 2020-12-01 | 辽宁宝山生态涂料有限公司 | Photocuring coating grinds dispersion integrated device |
| WO2022104973A1 (en) * | 2020-11-18 | 2022-05-27 | 山东丰香园食品股份有限公司 | Mixing apparatus for processing sesame paste |
| CN215877103U (en) * | 2021-01-22 | 2022-02-22 | 陈道雨 | Multi-functional chemical industry pigment agitating unit |
| CN214871841U (en) * | 2021-01-28 | 2021-11-26 | 山东华祥电缆有限公司 | A raw material stirring device for producing cables |
| CN214438652U (en) * | 2021-02-07 | 2021-10-22 | 烟台市食品药品检验检测中心(烟台市药品不良反应监测中心) | Solid medicine detects with grinding dissolving device |
| CN215693416U (en) * | 2021-09-09 | 2022-02-01 | 浦江县沥青拌和有限公司 | Modified asphalt low temperature mixes material equipment |
| CN114631563A (en) * | 2022-03-18 | 2022-06-17 | 江西阳光乳业股份有限公司 | Full-automatic yoghourt fermentation production system and method |
Cited By (1)
| Publication number | Priority date | Publication date | Assignee | Title |
|---|---|---|---|---|
| CN120023915A (en) * | 2025-04-24 | 2025-05-23 | 山西建工建筑工程检测有限公司 | A tunnel inner wall spraying reinforcement homogenization device |
Also Published As
| Publication number | Publication date |
|---|---|
| CN115608235B (en) | 2025-11-21 |
Similar Documents
| Publication | Publication Date | Title |
|---|---|---|
| CN217662870U (en) | Feed production is with homodisperse mixer | |
| CN115608235A (en) | A slurry mixer that can crush large-grain raw materials and improve the mixing effect | |
| CN211616206U (en) | Raw materials blendor is used in modified plastic production | |
| CN212021282U (en) | A melting material modification blending device for production of liquid traditional chinese medicine wrapping bag | |
| CN211886357U (en) | A horizontal mixer for producing plastic stabilizers | |
| CN210252134U (en) | Mixed type feed additive production is with smashing mixing arrangement | |
| CN217514246U (en) | Feeding device of stirrer | |
| CN217662994U (en) | Novel special feed mixing of gosling stirs device | |
| CN216321594U (en) | Novel single-double screw mixing double-step equipment | |
| CN203711042U (en) | A V-shaped mixer | |
| CN218609136U (en) | A mud blendor for foundation engineering | |
| CN115978946A (en) | Production system and method of high-purity lithium hydroxide monohydrate | |
| CN203710959U (en) | A vacuum feeding V-type mixer | |
| CN218795627U (en) | Dust suppressant raw material stirring device | |
| CN216127495U (en) | Concrete mixer | |
| CN220026691U (en) | Paint line material loading machine | |
| CN220095001U (en) | Mixing device for mortar production | |
| CN219849208U (en) | Horizontal stirring device for aluminum paste processing | |
| CN222779820U (en) | Material mixing device for rubber pad production | |
| CN221015588U (en) | High-efficient agitating unit of spraying liquid | |
| CN221338960U (en) | Foam lightweight composite soil preparation device based on solid waste | |
| CN211562749U (en) | Three-dimensional mixer convenient to supplementary mixture | |
| CN219294343U (en) | Feeding and compounding device for production | |
| CN220861136U (en) | Raw material stirring equipment suitable for silica gel production | |
| CN211487491U (en) | Water-soluble fertilizer raw material crushing and stirring machine |
Legal Events
| Date | Code | Title | Description |
|---|---|---|---|
| PB01 | Publication | ||
| PB01 | Publication | ||
| SE01 | Entry into force of request for substantive examination | ||
| SE01 | Entry into force of request for substantive examination | ||
| GR01 | Patent grant |
