CN115597355A - Cloth printing and dyeing setting machine - Google Patents

Cloth printing and dyeing setting machine Download PDF

Info

Publication number
CN115597355A
CN115597355A CN202211612097.2A CN202211612097A CN115597355A CN 115597355 A CN115597355 A CN 115597355A CN 202211612097 A CN202211612097 A CN 202211612097A CN 115597355 A CN115597355 A CN 115597355A
Authority
CN
China
Prior art keywords
roller
cloth
cavity
box body
squeeze roller
Prior art date
Legal status (The legal status is an assumption and is not a legal conclusion. Google has not performed a legal analysis and makes no representation as to the accuracy of the status listed.)
Granted
Application number
CN202211612097.2A
Other languages
Chinese (zh)
Other versions
CN115597355B (en
Inventor
方城
刘桂花
Current Assignee (The listed assignees may be inaccurate. Google has not performed a legal analysis and makes no representation or warranty as to the accuracy of the list.)
Yangzhou Hiexcel Advanced Materials Co ltd
Original Assignee
Yangzhou Hiexcel Advanced Materials Co ltd
Priority date (The priority date is an assumption and is not a legal conclusion. Google has not performed a legal analysis and makes no representation as to the accuracy of the date listed.)
Filing date
Publication date
Application filed by Yangzhou Hiexcel Advanced Materials Co ltd filed Critical Yangzhou Hiexcel Advanced Materials Co ltd
Priority to CN202211612097.2A priority Critical patent/CN115597355B/en
Publication of CN115597355A publication Critical patent/CN115597355A/en
Application granted granted Critical
Publication of CN115597355B publication Critical patent/CN115597355B/en
Active legal-status Critical Current
Anticipated expiration legal-status Critical

Links

Images

Classifications

    • FMECHANICAL ENGINEERING; LIGHTING; HEATING; WEAPONS; BLASTING
    • F26DRYING
    • F26BDRYING SOLID MATERIALS OR OBJECTS BY REMOVING LIQUID THEREFROM
    • F26B13/00Machines and apparatus for drying fabrics, fibres, yarns, or other materials in long lengths, with progressive movement
    • F26B13/10Arrangements for feeding, heating or supporting materials; Controlling movement, tension or position of materials
    • F26B13/14Rollers, drums, cylinders; Arrangement of drives, supports, bearings, cleaning
    • F26B13/145Rollers, drums, cylinders; Arrangement of drives, supports, bearings, cleaning on the non-perforated outside surface of which the material is being dried by convection or radiation
    • DTEXTILES; PAPER
    • D06TREATMENT OF TEXTILES OR THE LIKE; LAUNDERING; FLEXIBLE MATERIALS NOT OTHERWISE PROVIDED FOR
    • D06CFINISHING, DRESSING, TENTERING OR STRETCHING TEXTILE FABRICS
    • D06C7/00Heating or cooling textile fabrics
    • D06C7/02Setting
    • FMECHANICAL ENGINEERING; LIGHTING; HEATING; WEAPONS; BLASTING
    • F26DRYING
    • F26BDRYING SOLID MATERIALS OR OBJECTS BY REMOVING LIQUID THEREFROM
    • F26B21/00Arrangements or duct systems, e.g. in combination with pallet boxes, for supplying and controlling air or gases for drying solid materials or objects
    • F26B21/02Circulating air or gases in closed cycles, e.g. wholly within the drying enclosure
    • F26B21/04Circulating air or gases in closed cycles, e.g. wholly within the drying enclosure partly outside the drying enclosure
    • FMECHANICAL ENGINEERING; LIGHTING; HEATING; WEAPONS; BLASTING
    • F26DRYING
    • F26BDRYING SOLID MATERIALS OR OBJECTS BY REMOVING LIQUID THEREFROM
    • F26B21/00Arrangements or duct systems, e.g. in combination with pallet boxes, for supplying and controlling air or gases for drying solid materials or objects
    • F26B21/06Controlling, e.g. regulating, parameters of gas supply
    • F26B21/12Velocity of flow; Quantity of flow, e.g. by varying fan speed, by modifying cross flow area
    • FMECHANICAL ENGINEERING; LIGHTING; HEATING; WEAPONS; BLASTING
    • F26DRYING
    • F26BDRYING SOLID MATERIALS OR OBJECTS BY REMOVING LIQUID THEREFROM
    • F26B25/00Details of general application not covered by group F26B21/00 or F26B23/00
    • FMECHANICAL ENGINEERING; LIGHTING; HEATING; WEAPONS; BLASTING
    • F26DRYING
    • F26BDRYING SOLID MATERIALS OR OBJECTS BY REMOVING LIQUID THEREFROM
    • F26B25/00Details of general application not covered by group F26B21/00 or F26B23/00
    • F26B25/20Rollers
    • YGENERAL TAGGING OF NEW TECHNOLOGICAL DEVELOPMENTS; GENERAL TAGGING OF CROSS-SECTIONAL TECHNOLOGIES SPANNING OVER SEVERAL SECTIONS OF THE IPC; TECHNICAL SUBJECTS COVERED BY FORMER USPC CROSS-REFERENCE ART COLLECTIONS [XRACs] AND DIGESTS
    • Y02TECHNOLOGIES OR APPLICATIONS FOR MITIGATION OR ADAPTATION AGAINST CLIMATE CHANGE
    • Y02PCLIMATE CHANGE MITIGATION TECHNOLOGIES IN THE PRODUCTION OR PROCESSING OF GOODS
    • Y02P70/00Climate change mitigation technologies in the production process for final industrial or consumer products
    • Y02P70/50Manufacturing or production processes characterised by the final manufactured product
    • Y02P70/62Manufacturing or production processes characterised by the final manufactured product related technologies for production or treatment of textile or flexible materials or products thereof, including footwear

Landscapes

  • Engineering & Computer Science (AREA)
  • Mechanical Engineering (AREA)
  • General Engineering & Computer Science (AREA)
  • Textile Engineering (AREA)
  • Treatment Of Fiber Materials (AREA)

Abstract

The application provides a cloth printing and dyeing setting machine, which relates to the technical field of textile printing and dyeing processing and comprises a box body, an air heater, an exhaust fan, a circulating pipeline, a winding assembly and an unwinding assembly; the winding assembly and the unwinding assembly are respectively positioned at two sides of the box body, a feed inlet is formed in one surface of the box body, which is close to the unwinding assembly, and a discharge outlet is formed in one surface of the box body, which is close to the winding assembly; the box body is internally provided with a compression cavity, a transition cavity and a negative pressure cavity which are sequentially arranged from bottom to top, the compression cavity, the transition cavity and the negative pressure cavity are sequentially communicated, a flow limiting piece is arranged between the compression cavity and the transition cavity, a first flow equalizing piece is arranged between the transition cavity and the negative pressure cavity, and the first flow equalizing piece is suitable for being positioned below the cloth and close to the cloth; one surface of the box body, which is close to the winding component, is provided with a drying opening; the output end of the air heater is connected with the compression cavity, and the input end of the exhaust fan is connected with the negative pressure cavity; one end of the circulating pipeline is connected with the input end of the hot air blower, and the other end of the circulating pipeline is connected with the input end of the exhaust fan.

Description

Cloth printing and dyeing setting machine
Technical Field
The application relates to a fabrics printing and dyeing processing technology field especially relates to a cloth printing and dyeing forming machine.
Background
After cloth printing and dyeing, need carry out the drying and finalizing the design to the cloth, use the forming machine to dry and finalize the design to the cloth among the prior art usually, use coal to heat the water in the boiler usually, produce vapor, vapor dries the cloth again, however carry out the heat exchange back between vapor and the cloth, the vapor temperature drops to the liquefaction temperature after following, vapor can be adsorbed by the cloth in cloth surface liquefaction, it is difficult to dispel fast to cause the cloth humidity, need carry out sunning or air-dry processing to the cloth after drying, and when cloth temperature and vapor temperature are close, the heat in the vapor is no longer absorbed to the cloth, cause heat energy can not reach make full use of, not only the energy consumption low-efficient, and drying efficiency is low.
Disclosure of Invention
The application provides a cloth printing and dyeing forming machine for energy consumption benefit is low and drying efficiency hangs down when solving prior art vapor stoving cloth.
In the embodiment of the application, a cloth printing and dyeing setting machine is provided, and comprises a box body, a hot air blower, an exhaust fan, a circulating pipeline, a winding component and an unwinding component;
the winding assembly and the unwinding assembly are respectively positioned at two sides of the box body, a feed port is formed in one surface, close to the unwinding assembly, of the box body, a discharge port is formed in one surface, close to the winding assembly, of the box body, and cloth is suitable for penetrating into the box body from the feed port and penetrating out of the discharge port;
a compression cavity, a transition cavity and a negative pressure cavity are arranged in the box body, the compression cavity, the transition cavity and the negative pressure cavity are sequentially arranged from bottom to top, the compression cavity, the transition cavity and the negative pressure cavity are sequentially communicated, a flow limiting piece is arranged between the compression cavity and the transition cavity, a first flow equalizing piece is arranged between the transition cavity and the negative pressure cavity, and the first flow equalizing piece is suitable for being positioned below cloth and close to the cloth;
one side of the box body, which is close to the winding component, is provided with a drying opening, and air in the compression cavity is suitable for blowing the cloth on the winding component through the drying opening;
the output end of the air heater is connected with the compression cavity, and the input end of the exhaust fan is connected with the negative pressure cavity;
one end of the circulating pipeline is connected with the input end of the hot air blower, and the other end of the circulating pipeline is connected with the input end of the exhaust fan.
In some embodiments of the present application, a flow rate of the air input into the compression cavity by the air heater is Q0, a flow rate of the air flowing from the compression cavity to the transition cavity is Q1, a flow rate of the air flowing from the transition cavity to the negative pressure cavity is Q2, a flow rate of the air flowing out of the drying port is Q3, and a flow rate of the air in the circulation line is Q4, where Q0> Q1+ Q2+ Q3+ Q4, Q1= Q2= Q3, and Q1> Q4.
In some embodiments of the present application, the fabric printing and dyeing setting machine further includes a buffer box having a first port, a second port, and a third port, the first port is connected to an input end of the air heater, the second port is connected to the circulation pipe, the third port is communicated with the external atmosphere, and a flow rate of the gas flowing into the buffer box from the third port is Q5, where Q0= Q4+ Q5.
In some embodiments of the present application, the flow limiting element is a first partition plate, and first through holes are uniformly distributed on the first partition plate.
In some embodiments of the present application, the first flow equalizing members are second partition plates, second through holes are uniformly distributed on the second partition plates, and a total cross-sectional area of each of the first through holes is greater than a total cross-sectional area of each of the second through holes.
In some embodiments of the examples of the present application, the fabric printing and setting machine further includes a third partition plate, the third partition plate is located above the second partition plate, a distance between the second partition plate and the third partition plate is 1 to 3 times of a thickness of the fabric, the second partition plate and the third partition plate are arranged in parallel, third through holes are uniformly distributed on the third partition plate, a total cross-sectional area of each of the third through holes is larger than a total cross-sectional area of each of the second through holes, the feed inlet and the discharge outlet are located between the second partition plate and the third partition plate, and the fabric is adapted to pass through between the first partition plate and the second partition plate.
In some implementations of embodiments of the present application, the air pressure in the compression cavity is greater than the air pressure in the transition cavity, the air pressure in the transition cavity is greater than the air pressure in the negative pressure cavity, the diameter of the first through hole is greater than the diameter of the second through hole, and the diameter of the second through hole is less than the diameter of the third through hole.
In some embodiments of this application embodiment, the feed inlet is equipped with first last squeeze roll, first squeeze roll once, first go up the squeeze roll with first squeeze roll respectively with the box rotates to be connected, first go up the squeeze roll with first squeeze roll parallel arrangement once, first last squeeze roll is located the top of first squeeze roll once, the lower surface of first last squeeze roll is suitable for the upper surface pressure tight fit with the cloth, the upper surface of first squeeze roll once is suitable for the upper surface pressure tight fit with the cloth, first go up the squeeze roll with first squeeze roll covers the feed inlet.
In some embodiments of this application embodiment, the discharge gate is equipped with squeeze roll, squeeze roll under the second on the second, on the second squeeze roll with squeeze roll down the second respectively with the box rotates to be connected, on the second squeeze roll with squeeze roll parallel arrangement under the second, squeeze roll is located on the second the top of squeeze roll under the second, squeeze roll's lower surface is suitable for the upper surface tight pressure fit with the cloth on the second, squeeze roll's upper surface is suitable for the upper surface tight pressure fit with the cloth under the second, on the second squeeze roll with squeeze roll covers under the second the discharge gate.
In some embodiments of the embodiment of the present application, the fabric printing and dyeing setting machine further includes a drying pipe, the drying pipe is located outside the box body, one end of the drying pipe covers the drying opening, the other end of the drying pipe is suitable for being attached to the fabric suspended above the winding assembly, a splitter block is arranged inside the drying pipe, the splitter block is located in the center of the drying pipe, an overflow channel is formed between the outer side surface of the splitter block and the inner side surface of the drying pipe, a spiral coil is arranged on the splitter block, the spiral coil is wound on the splitter block, the spiral coil is located between the outer side surface of the splitter block and the inner side surface of the drying pipe, the spiral coil is connected in series on the circulation pipeline, a flow stabilizing plate is arranged at the outlet end of the drying pipe, flow stabilizing through holes are uniformly distributed on the flow stabilizing plate, and the flow stabilizing plate is suitable for being parallel to the fabric suspended above the winding assembly; and/or the presence of a gas in the atmosphere,
the unwinding assembly comprises an unwinding roller, a first guide roller and a second guide roller, the unwinding roller and the second guide roller are positioned on the same horizontal plane, the plane where the unwinding roller and the second guide roller are positioned is tangent to the lower surface of the first upper extrusion roller, the first guide roller is positioned below the unwinding roller and the second guide roller, and the first guide roller is positioned between the second guide roller and the unwinding roller; and/or the presence of a gas in the atmosphere,
the winding assembly comprises a winding roller and a third guide roller, the winding roller is lower than the third guide roller, the winding roller and the second upper extrusion roller are arranged in parallel, the upper surface of the third guide roller and the lower surface of the second upper extrusion roller are located on the same horizontal plane, and the third guide roller is located between the winding roller and the second lower extrusion roller.
The application has the following beneficial effects:
the application provides a cloth printing and dyeing forming machine, in the use, the cloth is followed the subassembly of unreeling and is expanded, spread into the box inside from the feed inlet, wear out from the discharge gate, then roll to the rolling subassembly, in the in-process of passing the box, the hot-air blower inputs hot-air to the compression intracavity, hot-air enters the transition chamber after the current-limiting piece, the air in the transition chamber enters the negative pressure chamber after first current-equalizing piece, the air in the negative pressure chamber is taken out to the circulation pipeline by the air exhauster, in this in-process, the air current that passes first current-equalizing piece heats and weathers the cloth, the moisture evaporation in the cloth and enters the negative pressure chamber along with the air current, finally, flow back to the hot-air blower from the circulation pipeline, insufflate the compression intracavity by the hot-air blower again, the atmospheric pressure in the negative pressure is less than outside atmospheric pressure, can improve the moisture evaporation rate in the cloth, the atmospheric pressure difference makes the air pressure that passes first current-equalizing piece increase in the transition intracavity and the air pressure chamber, become positive correlation with the velocity of the air current flow of surface according to moisture evaporation rate, become negative correlation with the principle that the air current-equalizing speed becomes to locate can be known, through first negative pressure chamber and negative pressure chamber, can improve moisture evaporation rate in the cloth, thereby drying efficiency can be improved. The air flow returns to the compression cavity from the circulating pipeline to circularly participate in the drying process of the cloth, so that the utilization efficiency of heat energy generated by the air heater is improved, the waste heat is recycled, the energy-saving effect is achieved, and the technical problems of low energy consumption benefit and low drying efficiency when the cloth is dried by using the vapor in the prior art are solved. On the other hand, partial air current in the compression cavity is discharged from the drying port and blown to the overhead cloth on the winding component, and the air is dried before the cloth is wound, so that the drying degree of the cloth is improved, and meanwhile, partial air participating in circulation is discharged to the atmosphere, and the condition that the humidity of the air current is too large due to too many circulation times is avoided.
Drawings
In order to more clearly illustrate the embodiments of the present application or the technical solutions in the prior art, the drawings needed to be used in the description of the embodiments or the prior art will be briefly described below, and it is obvious that the drawings in the following description are some embodiments of the present application, and other drawings can be obtained by those skilled in the art without creative efforts.
Fig. 1 is a schematic structural diagram of a fabric printing and dyeing setting machine in an embodiment of the application.
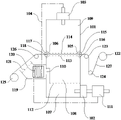
Reference numerals:
101. a box body; 102. a hot air blower; 103. an exhaust fan; 104. a circulation line; 105. a feed inlet; 106. a discharge port; 107. a compression chamber; 108. a transition chamber; 109. a negative pressure chamber; 110. drying the opening; 111. a buffer tank; 112. a first separator; 113. a second separator; 114. a third separator; 115. a first upper squeeze roller; 116. a first lower squeeze roller; 117. a second upper squeeze roll; 118. a second lower squeeze roll; 119. a drying duct; 120. a helical coil pipe; 121. a flow stabilizer; 122. an unwinding roller; 123. a first guide roller; 124. a second guide roller; 125. a rolling roller; 126. a third guide roller; 127. and (4) distributing.
Detailed Description
Embodiments of the present application will now be described in further detail with reference to the drawings and examples, and the terminology used in the description of the embodiments of the present application is for the purpose of describing particular embodiments of the present application only and is not intended to be limiting of the application.
In the description of the embodiments of the present application, it should be noted that reference to the description of the terms "above-described embodiment," "some embodiments," "above-described implementation," "some implementations," "possible embodiments" or "possible implementations" or the like means that a particular feature, structure, material, or characteristic described in connection with the embodiment or example is included in at least one embodiment or example of the embodiments of the present application. In this specification, the schematic representations of the terms used above are not necessarily intended to refer to the same embodiment or example. Furthermore, the particular features, structures, materials, or characteristics described may be combined in any suitable manner in any one or more embodiments or examples. Furthermore, various embodiments or examples and features of different embodiments or examples described in this specification can be combined and combined by one skilled in the art without contradiction.
In the description of the embodiment of the present application, it should be noted that "and/or" is only one kind of association relationship that describes an association object, and indicates that three relationships may exist, for example, a and/or B may indicate: a exists alone, A and B exist simultaneously, and B exists alone. In addition, the character "/" herein generally indicates that the former and latter related objects are in an "or" relationship. Terms such as "including" and/or "having" may be interpreted as indicating a particular feature, number, operation, component, or combination thereof, but may not be interpreted as excluding the existence of, or the possibility of addition of, one or more other features, numbers, operations, components, or combinations thereof.
In the description of the embodiments of the present application, it should be noted that the terms "connected" and "connected" are to be interpreted broadly, and may be, for example, fixedly connected, detachably connected, or integrally connected, unless explicitly stated or limited otherwise; can be mechanically or electrically connected; may be directly connected or indirectly connected through an intermediate. Specific meanings of the above terms in the embodiments of the present application can be understood in specific cases by those of ordinary skill in the art.
In the description of the embodiments of the present application, it should be noted that the terms "center", "longitudinal", "lateral", "upper", "lower", "front", "rear", "left", "right", "vertical", "horizontal", "top", "bottom", "inner", "outer", etc. indicate orientations or positional relationships based on the orientations or positional relationships shown in the drawings, and are only used for convenience of description and simplicity of description, but do not indicate or imply that the devices or elements referred to must have a specific orientation, be constructed and operated in a specific orientation, and be correspondingly changed according to the change of the orientation in which the structure is placed, and thus, should not be construed as limiting the embodiments of the present application. Unless expressly stated or limited otherwise, the first feature "on" or "under" the second feature may be directly contacting the second feature or indirectly contacting the second feature through intervening media. Also, a first feature "on," "above," and "over" a second feature may be directly on or obliquely above the second feature, or may simply mean that the first feature is at a higher level than the second feature. A first feature being "under," "below," and "beneath" a second feature may be directly under or obliquely under the first feature, or may simply mean that the first feature is at a lesser elevation than the second feature.
In the description of the embodiments of the present application, it should be noted that the terms "first", "second", and the like are used for descriptive purposes only and are not to be construed as indicating or implying relative importance or implying any number of technical features indicated. The features defined as "first" and "second" may explicitly or implicitly include one or more of the features. "plurality" means two or more unless otherwise specified.
As shown in fig. 1, in the embodiment of the present application, a fabric printing and dyeing setting machine is provided, which includes a box 101, a hot air blower 102, an exhaust fan 103, a circulation pipeline 104, a winding component, and an unwinding component; the winding assembly and the unwinding assembly are respectively positioned at two sides of the box body 101, a feeding hole 105 is formed in one surface, close to the unwinding assembly, of the box body 101, a discharging hole 106 is formed in one surface, close to the winding assembly, of the box body 101, and the cloth 127 is suitable for penetrating into the box body 101 from the feeding hole 105 and penetrating out from the discharging hole 106; a compression cavity 107, a transition cavity 108 and a negative pressure cavity 109 are arranged in the box body 101, the compression cavity 107, the transition cavity 108 and the negative pressure cavity 109 are sequentially arranged from bottom to top, the compression cavity 107, the transition cavity 108 and the negative pressure cavity 109 are sequentially communicated, a flow limiting member is arranged between the compression cavity 107 and the transition cavity 108, a first flow equalizing member is arranged between the transition cavity 108 and the negative pressure cavity 109, and the first flow equalizing member is suitable for being positioned below a cloth 127 and close to the cloth 127; a drying opening 110 is formed in one surface, close to the winding assembly, of the box body 101, and air in the compression cavity 107 is suitable for being blown to cloth 127 on the winding assembly through the drying opening 110; the output end of the hot air blower 102 is connected with a compression cavity 107, and the input end of the exhaust fan 103 is connected with the negative pressure cavity 109; one end of the circulating pipeline 104 is connected with the input end of the hot air blower 102, and the other end of the circulating pipeline is connected with the input end of the exhaust fan 103.
In the cloth printing and dyeing setting machine provided by the embodiment, in the use process, the cloth 127 is unfolded from the unwinding assembly, is conveyed into the box 101 from the feeding hole 105, penetrates out of the discharging hole 106, and is wound onto the winding assembly, in the process of passing through the box 101, the hot air is input into the compression cavity 107 by the hot air blower 102, passes through the flow limiting member and then enters the transition cavity 108, the air in the transition cavity 108 passes through the first flow equalizing member and then enters the negative pressure cavity 109, the air in the negative pressure cavity 109 is pumped out to the circulating pipeline 104 by the exhaust fan 103, in the process, the air flow passing through the first flow equalizing member heats and dries the cloth 127, the moisture in the cloth 127 evaporates and enters the negative pressure cavity 109 along with the air flow, finally flows back to the hot air blower 102 from the circulating pipeline 104, and is blown into the compression cavity 107 by the hot air blower 102 again, the air pressure in the transition cavity 109 is smaller than the external atmospheric air pressure, the moisture evaporation speed in the cloth 127 can be increased, the air pressure difference in the transition cavity 108 and the negative pressure in the negative pressure cavity 109 can be increased, the air flow velocity of the air flow passing through the first negative pressure cavity 108 and the negative pressure is related to the principle, the negative pressure of the cloth 127, and the negative pressure of the cloth can be increased, and the cloth, and the drying efficiency can be increased. The air flow returns to the compression cavity 107 from the circulating pipeline 104 to circularly participate in the drying process of the cloth 127, so that the utilization efficiency of heat energy generated by the air heater 102 is improved, the waste heat is recycled, the energy-saving effect is achieved, and the technical problems of low energy consumption benefit and low drying efficiency in the prior art when the cloth 127 is dried by steam are solved. On the other hand, partial air flow in the compression cavity 107 is discharged from the drying port 110 and blown to the overhead cloth 127 on the winding component, and is dried before the cloth 127 is wound, so that the drying degree of the cloth 127 is improved, and meanwhile, partial air participating in circulation is discharged to the atmosphere, and the condition that the humidity of the air flow is too high due to too many circulation times is avoided.
In some embodiments of this embodiment, the air flow rate input by the hot air blower 102 to the compression cavity 107 is Q0, the air flow rate flowing from the compression cavity 107 to the transition cavity 108 is Q1, the air flow rate flowing from the transition cavity 108 to the negative pressure cavity 109 is Q2, the air flow rate flowing out of the drying port 110 is Q3, and the air flow rate in the circulation line 104 is Q4, where Q0> Q1+ Q2+ Q3+ Q4, Q1= Q2= Q3, and Q1> Q4.
In some embodiments of the present embodiment, the fabric printing and setting machine further includes a buffer box 111, the buffer box 111 has a first port, a second port and a third port, the first port is connected to an input end of the hot air blower 102, the second port is connected to the circulation pipeline 104, the third port is communicated with the external atmosphere, and a flow rate of the gas flowing into the buffer box 111 from the third port is Q5, where Q0= Q4+ Q5.
With the above-described embodiments of the present embodiment, flow rate refers to the volume or mass of gas per unit time across the zone, e.g., the volume or mass of gas flowing from compression chamber 107 to transition chamber 108 per unit time; the volume in the cushion chamber is greater than the volume of compression chamber 107, the cushion chamber is impressed to gas in the compression chamber 107, and negative pressure chamber 109 inhales negative pressure chamber 109 with the gas in the transition chamber 108, transition chamber 108 can provide buffer space for the air current, improve the flow that sees through the current-limiting piece, improve the velocity of flow through the first air current that flow equalizes, through setting up surge-box 111, outside air follows the third port to the inside dry air that supplyes of box 101, thereby exchange participation endless humid air, make humid air discharge from stoving mouth 110 gradually, reach dynamic balance, make the humidity that sees through the first air that flow equalizes remain stable and be located predetermineeing the within range, improve drying efficiency through the gas velocity of flow that increases under the certain circumstances of flow and pass cloth 127, reduce the energy consumption when promoting stoving cloth 127 effect.
In some embodiments of the present embodiment, the flow restriction member is a first partition plate 112, and first through holes are uniformly distributed on the first partition plate 112.
In some embodiments of this embodiment, the first flow equalizing member is a second partition 113, second through holes are uniformly distributed on the second partition 113, and a total cross-sectional area of each of the first through holes is greater than a total cross-sectional area of each of the second through holes.
In some embodiments of this embodiment, the cloth printing and setting machine further includes a third partition plate 114, the third partition plate 114 is located above the second partition plate 113, a distance between the second partition plate 113 and the third partition plate 114 is 1 to 3 times a thickness of the cloth 127, the second partition plate 113 and the third partition plate 114 are arranged in parallel, third through holes are uniformly distributed on the third partition plate 114, a total cross-sectional area of each of the third through holes is greater than a total cross-sectional area of each of the second through holes, the feed port 105 and the discharge port 106 are located between the second partition plate 113 and the third partition plate 114, and the cloth 127 is adapted to pass through between the first partition plate 112 and the second partition plate 113.
In some embodiments of this embodiment, the air pressure in the compression chamber 107 is greater than the air pressure in the transition chamber 108, the air pressure in the transition chamber 108 is greater than the air pressure in the negative pressure chamber 109, the diameter of the first through hole is greater than the diameter of the second through hole, and the diameter of the second through hole is smaller than the diameter of the third through hole.
In some embodiments of the present embodiment, the feeding hole 105 is provided with a first upper squeezing roller 115 and a first lower squeezing roller 116, the first upper squeezing roller 115 and the first lower squeezing roller 116 are respectively rotatably connected to the box 101, the first upper squeezing roller 115 and the first lower squeezing roller 116 are arranged in parallel, the first upper squeezing roller 115 is located above the first lower squeezing roller 116, a lower surface of the first upper squeezing roller 115 is adapted to be in tight press fit with an upper surface of the cloth 127, an upper surface of the first lower squeezing roller 116 is adapted to be in tight press fit with an upper surface of the cloth 127, and the first upper squeezing roller 115 and the first lower squeezing roller 116 cover the feeding hole 105.
Through the above-mentioned embodiment of this embodiment, squeeze roll 115 and first squeeze roll 116 can carry out the roll extrusion to cloth 127 on first, extrude most water in the cloth 127, and cloth 127 after preliminary wringing penetrates box 101 again and carries out drying process, has improved drying efficiency, has reduced the energy consumption simultaneously.
In some embodiments of the present embodiment, the discharge port 106 is provided with a second upper squeezing roller 117 and a second lower squeezing roller 118, the second upper squeezing roller 117 and the second lower squeezing roller 118 are respectively rotatably connected to the box 101, the second upper squeezing roller 117 and the second lower squeezing roller 118 are arranged in parallel, the second upper squeezing roller 117 is located above the second lower squeezing roller 118, a lower surface of the second upper squeezing roller 117 is adapted to be in press fit with an upper surface of the cloth 127, an upper surface of the second lower squeezing roller 118 is adapted to be in press fit with an upper surface of the cloth 127, and the second upper squeezing roller 117 and the second lower squeezing roller 118 cover the discharge port 106.
Through the above embodiment of this embodiment, second upper squeeze roller 117 and second lower squeeze roller 118 can flatten cloth 127, make cloth 127 flatter, avoid the pincher trees of cloth 127 after drying process to reduce the roughness of cloth 127 outside box 101 by shock cooling shaping, improve the shaping quality of flattening shaping cloth 127. On the other hand, the first upper extrusion roller 115 and the first lower extrusion roller 116 seal the feeding hole 105, so that the influence of external cold air sucked into the negative pressure cavity 109 from the feeding hole 105 on the working stability and controllability of the airflow circulating system is avoided; an upper pressing roller and a second lower pressing roller 118 seal the feeding hole 105, and prevent external cold air from being sucked into the negative pressure cavity 109 from the discharging hole 106 to affect the working stability and controllability of the air circulation system.
In some embodiments of this embodiment, the fabric printing and dyeing setting machine further includes a drying pipe 119, the drying pipe 119 is located outside the box 101, one end of the drying pipe 119 is covered on the drying opening 110, the other end of the drying pipe 119 is adapted to abut against the fabric 127 overhead on the rolling assembly, a shunting block is disposed inside the drying pipe 119, the shunting block is located in the center of the drying pipe 119, an overflow channel is formed between an outer side surface of the shunting block and an inner side surface of the drying pipe 119, a spiral coil 120 is disposed on the shunting block, the spiral coil 120 is wound on the shunting block, the spiral coil 120 is located between the outer side surface of the shunting block and the inner side surface of the drying pipe 119, the spiral coil 120 is connected in series to the circulation pipeline 104, a flow stabilizing plate 121 is disposed at an outlet end of the drying pipe 119, flow stabilizing through holes are uniformly disposed on the flow stabilizing plate 121, and the flow stabilizing plate 121 is adapted to be parallel to the fabric 127 overhead on the rolling assembly; and/or the presence of a gas in the gas,
the unwinding assembly comprises an unwinding roller 122, a first guide roller 123 and a second guide roller 124, the unwinding roller 122 and the second guide roller 124 are positioned on the same horizontal plane, the plane where the unwinding roller 122 and the second guide roller 124 are positioned is tangent to the lower surface of the first upper pressing roller 115, the first guide roller 123 is positioned below the unwinding roller 122 and the second guide roller 124, and the first guide roller 123 is positioned between the second guide roller 124 and the unwinding roller 122; and/or the presence of a gas in the gas,
the rolling component comprises a rolling roller cylinder 125 and a third guide roller cylinder 126, the rolling roller cylinder 125 is lower than the third guide roller cylinder 126, the rolling roller cylinder 125 and the second upper extrusion roller 117 are arranged in parallel, the upper surface of the third guide roller cylinder 126 and the lower surface of the second upper extrusion roller 117 are positioned on the same horizontal plane, and the third guide roller cylinder 126 is positioned between the rolling roller cylinder 125 and the second lower extrusion roller 118.
Through the above embodiment of this embodiment, unreel roller 122, first direction roller 123, second direction roller 124 and make cloth 127 wind and become the V font around rolling up, be favorable to the moisture on the cloth 127 to drip automatically under the action of gravity, avoid moisture too much to participate in the extrusion process of first last squeeze roll 115 and first squeeze roll 116 because of water pressure is too big to lead to moisture to overflow inside box 101.
The above examples are only illustrative and not restrictive, and those skilled in the art can modify the embodiments of the present application as required after reading the present specification without any inventive contribution, but all of them are protected by patent laws within the scope of the claims of the present application.

Claims (10)

1. A cloth printing and dyeing setting machine is characterized by comprising a box body, a hot air fan, an exhaust fan, a circulating pipeline, a winding assembly and an unwinding assembly;
the winding assembly and the unwinding assembly are respectively positioned at two sides of the box body, a feed port is formed in one surface, close to the unwinding assembly, of the box body, a discharge port is formed in one surface, close to the winding assembly, of the box body, and cloth is suitable for penetrating into the box body from the feed port and penetrating out of the discharge port;
a compression cavity, a transition cavity and a negative pressure cavity are arranged in the box body, the compression cavity, the transition cavity and the negative pressure cavity are sequentially arranged from bottom to top, the compression cavity, the transition cavity and the negative pressure cavity are sequentially communicated, a flow limiting piece is arranged between the compression cavity and the transition cavity, a first flow equalizing piece is arranged between the transition cavity and the negative pressure cavity, and the first flow equalizing piece is suitable for being positioned below cloth and close to the cloth;
one side of the box body, which is close to the winding component, is provided with a drying opening, and air in the compression cavity is suitable for blowing the cloth on the winding component through the drying opening;
the output end of the air heater is connected with the compression cavity, and the input end of the exhaust fan is connected with the negative pressure cavity;
one end of the circulating pipeline is connected with the input end of the hot air blower, and the other end of the circulating pipeline is connected with the input end of the exhaust fan.
2. The cloth printing and dyeing setting machine according to claim 1, characterized in that the flow rate of the gas input into the compression cavity by the hot air blower is Q0, the flow rate of the gas flowing from the compression cavity to the transition cavity is Q1, the flow rate of the gas flowing from the transition cavity to the negative pressure cavity is Q2, the flow rate of the gas flowing out of the drying opening is Q3, and the flow rate of the gas flowing out of the circulation pipeline is Q4, wherein Q0> Q1+ Q2+ Q3+ Q4, Q1= Q2= Q3, and Q1> Q4.
3. The cloth printing and setting machine according to claim 2, further comprising a buffer tank, wherein the buffer tank has a first port, a second port and a third port, the first port is connected to an input end of the hot air blower, the second port is connected to the circulation pipeline, the third port is communicated with the external atmosphere, and a flow rate of gas flowing into the buffer tank from the third port is Q5, wherein Q0= Q4+ Q5.
4. The cloth printing and dyeing setting machine according to claim 3, characterized in that the flow-limiting member is a first partition plate, and first through holes are uniformly distributed on the first partition plate.
5. The cloth printing and dyeing setting machine according to claim 4, characterized in that the first flow equalizing member is a second partition plate, second through holes are uniformly distributed on the second partition plate, and the total cross-sectional area of each first through hole is larger than that of each second through hole.
6. The cloth printing and setting machine according to claim 5, further comprising a third partition board, wherein the third partition board is located above the second partition board, the distance between the second partition board and the third partition board is 1 to 3 times the thickness of the cloth, the second partition board and the third partition board are arranged in parallel, third through holes are evenly distributed in the third partition board, the total cross-sectional area of the third through holes is larger than that of the second through holes, the feed inlet and the discharge outlet are located between the second partition board and the third partition board, and the cloth is suitable for passing through between the first partition board and the second partition board.
7. The cloth printing and dyeing setter as set forth in claim 6, wherein the air pressure in the compression cavity is greater than that in the transition cavity, the air pressure in the transition cavity is greater than that in the negative pressure cavity, the diameter of the first through hole is greater than that of the second through hole, and the diameter of the second through hole is smaller than that of the third through hole.
8. The cloth printing and dyeing setting machine according to claim 7, characterized in that the feed inlet is provided with a first upper squeeze roller and a first lower squeeze roller, the first upper squeeze roller and the first lower squeeze roller are respectively rotatably connected with the box body, the first upper squeeze roller and the first lower squeeze roller are arranged in parallel, the first upper squeeze roller is positioned above the first lower squeeze roller, the lower surface of the first upper squeeze roller is suitable for being in press fit with the upper surface of the cloth, the upper surface of the first lower squeeze roller is suitable for being in press fit with the upper surface of the cloth, and the first upper squeeze roller and the first lower squeeze roller cover the feed inlet.
9. The cloth printing and dyeing setting machine according to claim 8, characterized in that the discharge port is provided with a second upper squeeze roller and a second lower squeeze roller, the second upper squeeze roller and the second lower squeeze roller are respectively rotatably connected with the box body, the second upper squeeze roller and the second lower squeeze roller are arranged in parallel, the second upper squeeze roller is positioned above the second lower squeeze roller, the lower surface of the second upper squeeze roller is suitable for being in press fit with the upper surface of the cloth, the upper surface of the second lower squeeze roller is suitable for being in press fit with the upper surface of the cloth, and the second upper squeeze roller and the second lower squeeze roller cover the discharge port.
10. The cloth printing and dyeing setting machine according to claim 9, further comprising a drying pipe, wherein the drying pipe is located outside the box body, one end of the drying pipe is covered on the drying opening, the other end of the drying pipe is suitable for being attached to the cloth overhead on the winding assembly, a shunting block is arranged inside the drying pipe, the shunting block is located in the center of the drying pipe, an overflow channel is formed between the outer side surface of the shunting block and the inner side surface of the drying pipe, a spiral coil is arranged on the shunting block, the spiral coil is wound on the shunting block, the spiral coil is located between the outer side surface of the shunting block and the inner side surface of the drying pipe, the spiral coil is connected in series on the circulation pipeline, a flow stabilizing plate is arranged at the outlet end of the drying pipe, flow stabilizing through holes are uniformly distributed on the flow stabilizing plate, and the flow stabilizing plate is suitable for being parallel to the cloth overhead on the winding assembly; and/or the presence of a gas in the atmosphere,
the unwinding assembly comprises an unwinding roller, a first guide roller and a second guide roller, the unwinding roller and the second guide roller are positioned on the same horizontal plane, the plane where the unwinding roller and the second guide roller are positioned is tangent to the lower surface of the first upper extrusion roller, the first guide roller is positioned below the unwinding roller and the second guide roller, and the first guide roller is positioned between the second guide roller and the unwinding roller; and/or the presence of a gas in the gas,
the winding assembly comprises a winding roller and a third guide roller, the winding roller is lower than the third guide roller, the winding roller and the second upper extrusion roller are arranged in parallel, the upper surface of the third guide roller and the lower surface of the second upper extrusion roller are located on the same horizontal plane, and the third guide roller is located between the winding roller and the second lower extrusion roller.
CN202211612097.2A 2022-12-15 2022-12-15 Cloth printing and dyeing setting machine Active CN115597355B (en)

Priority Applications (1)

Application Number Priority Date Filing Date Title
CN202211612097.2A CN115597355B (en) 2022-12-15 2022-12-15 Cloth printing and dyeing setting machine

Applications Claiming Priority (1)

Application Number Priority Date Filing Date Title
CN202211612097.2A CN115597355B (en) 2022-12-15 2022-12-15 Cloth printing and dyeing setting machine

Publications (2)

Publication Number Publication Date
CN115597355A true CN115597355A (en) 2023-01-13
CN115597355B CN115597355B (en) 2023-04-07

Family

ID=84854353

Family Applications (1)

Application Number Title Priority Date Filing Date
CN202211612097.2A Active CN115597355B (en) 2022-12-15 2022-12-15 Cloth printing and dyeing setting machine

Country Status (1)

Country Link
CN (1) CN115597355B (en)

Citations (5)

* Cited by examiner, † Cited by third party
Publication number Priority date Publication date Assignee Title
CN206127648U (en) * 2016-08-30 2017-04-26 天津市嘉轩纺织有限公司 A drying device for fabrics starching
CN209027238U (en) * 2018-10-10 2019-06-25 江苏奥特隆新材料有限公司 Dryer is used in a kind of processing of spunlace non-woven cloth
CN209569993U (en) * 2019-01-30 2019-11-01 张玲瑶 A kind of textile printing and dyeing circulation drying device
CN114108212A (en) * 2021-11-24 2022-03-01 衢州市虹华印染有限公司 A kind of production technology of printing and dyeing fabric and production equipment thereof
CN216409544U (en) * 2022-04-02 2022-04-29 潍坊尚德服饰有限公司 Environment-friendly clothing arrangement drying device

Patent Citations (5)

* Cited by examiner, † Cited by third party
Publication number Priority date Publication date Assignee Title
CN206127648U (en) * 2016-08-30 2017-04-26 天津市嘉轩纺织有限公司 A drying device for fabrics starching
CN209027238U (en) * 2018-10-10 2019-06-25 江苏奥特隆新材料有限公司 Dryer is used in a kind of processing of spunlace non-woven cloth
CN209569993U (en) * 2019-01-30 2019-11-01 张玲瑶 A kind of textile printing and dyeing circulation drying device
CN114108212A (en) * 2021-11-24 2022-03-01 衢州市虹华印染有限公司 A kind of production technology of printing and dyeing fabric and production equipment thereof
CN216409544U (en) * 2022-04-02 2022-04-29 潍坊尚德服饰有限公司 Environment-friendly clothing arrangement drying device

Also Published As

Publication number Publication date
CN115597355B (en) 2023-04-07

Similar Documents

Publication Publication Date Title
CN208012244U (en) A kind of carpet manufacture drying unit
CN206459472U (en) A kind of layer-stepping high efficiency medicinal material dryer
CN207180170U (en) A kind of water-jet loom drying device
CN107356058A (en) A kind of water-jet loom drying device
CN115597355B (en) Cloth printing and dyeing setting machine
CN206862058U (en) A kind of textile cloth drying machine
CN105318688A (en) Intelligent fabric drying machine
CN206019221U (en) A kind of drying unit of hot flue stenter
CN208419504U (en) A kind of spunlace non-woven cloth auxiliary drying unit
CN204509731U (en) Combined type cylinder drying system
CN209944948U (en) Quick drying mechanism for textile machinery
CN211290909U (en) A dryer with uniform air temperature
CN208993276U (en) A kind of printing in textiles drying unit
CN114261813A (en) Textile fabric ironing and winding device
CN207954996U (en) A kind of color press cloth stretches drying unit
CN210399849U (en) Drying device convenient to deposit for printing and dyeing of clothing
CN208837082U (en) Air-distribution device in a kind of cylinder suitable for smoked sheet roller redrying
CN219735876U (en) Clothing surface fabric drying device
CN221301873U (en) High-pressure hot air dehydration mechanism for cloth dehydration
CN207797619U (en) A kind of fabric drying equipment
CN207674882U (en) A kind of intensive flexible sheet material drying component of multistage winding
CN207987256U (en) A kind of leather water squeezing drying device
CN221811460U (en) A polyester fabric drying device
CN220355979U (en) Fiber cloth drying equipment
CN222617407U (en) Micro negative pressure drying room

Legal Events

Date Code Title Description
PB01 Publication
PB01 Publication
SE01 Entry into force of request for substantive examination
SE01 Entry into force of request for substantive examination
GR01 Patent grant
GR01 Patent grant