CN115590701A - A patient care auxiliary support device for intensive care - Google Patents
A patient care auxiliary support device for intensive care Download PDFInfo
- Publication number
- CN115590701A CN115590701A CN202211115654.XA CN202211115654A CN115590701A CN 115590701 A CN115590701 A CN 115590701A CN 202211115654 A CN202211115654 A CN 202211115654A CN 115590701 A CN115590701 A CN 115590701A
- Authority
- CN
- China
- Prior art keywords
- plate
- rod
- patient
- fixed
- spring
- Prior art date
- Legal status (The legal status is an assumption and is not a legal conclusion. Google has not performed a legal analysis and makes no representation as to the accuracy of the status listed.)
- Pending
Links
Images
Classifications
-
- A—HUMAN NECESSITIES
- A61—MEDICAL OR VETERINARY SCIENCE; HYGIENE
- A61G—TRANSPORT, PERSONAL CONVEYANCES, OR ACCOMMODATION SPECIALLY ADAPTED FOR PATIENTS OR DISABLED PERSONS; OPERATING TABLES OR CHAIRS; CHAIRS FOR DENTISTRY; FUNERAL DEVICES
- A61G7/00—Beds specially adapted for nursing; Devices for lifting patients or disabled persons
- A61G7/05—Parts, details or accessories of beds
- A61G7/065—Rests specially adapted therefor
- A61G7/075—Rests specially adapted therefor for the limbs
- A61G7/0755—Rests specially adapted therefor for the limbs for the legs or feet
-
- A—HUMAN NECESSITIES
- A61—MEDICAL OR VETERINARY SCIENCE; HYGIENE
- A61G—TRANSPORT, PERSONAL CONVEYANCES, OR ACCOMMODATION SPECIALLY ADAPTED FOR PATIENTS OR DISABLED PERSONS; OPERATING TABLES OR CHAIRS; CHAIRS FOR DENTISTRY; FUNERAL DEVICES
- A61G7/00—Beds specially adapted for nursing; Devices for lifting patients or disabled persons
- A61G7/05—Parts, details or accessories of beds
-
- A—HUMAN NECESSITIES
- A61—MEDICAL OR VETERINARY SCIENCE; HYGIENE
- A61G—TRANSPORT, PERSONAL CONVEYANCES, OR ACCOMMODATION SPECIALLY ADAPTED FOR PATIENTS OR DISABLED PERSONS; OPERATING TABLES OR CHAIRS; CHAIRS FOR DENTISTRY; FUNERAL DEVICES
- A61G7/00—Beds specially adapted for nursing; Devices for lifting patients or disabled persons
- A61G7/05—Parts, details or accessories of beds
- A61G7/057—Arrangements for preventing bed-sores or for supporting patients with burns, e.g. mattresses specially adapted therefor
- A61G7/05784—Arrangements for preventing bed-sores or for supporting patients with burns, e.g. mattresses specially adapted therefor with ventilating means, e.g. mattress or cushion with ventilating holes or ventilators
Landscapes
- Health & Medical Sciences (AREA)
- Nursing (AREA)
- Life Sciences & Earth Sciences (AREA)
- Animal Behavior & Ethology (AREA)
- General Health & Medical Sciences (AREA)
- Public Health (AREA)
- Veterinary Medicine (AREA)
- Invalid Beds And Related Equipment (AREA)
Abstract
本发明公开了一种重症护理用患者护理辅助支撑装置,其结构包括支撑底座、升降杆、电控器、支撑机构,支撑底座上端面与升降杆底部相固定,并且升降杆与电控器电连接,根据患者双腿之间的距离对两侧滑块上端的撑板机构的间距进行调节,确保患者的双腿均能舒适的放置在两个撑板机构上,调节后撑板机构的间距后,撑板机构上端往外侧进行旋转,利于患者腿部放置在撑板机构上,两个板体之间的角度进行转动调节,从而使得板体之间进行扩张和缩小,从而自动对患者的腿部进行紧密的支撑贴合,避免患者的腿部从板体上发生脱落,同时通过滚珠能够使得患者的腿部能够在板体上进行滑动调节位置,提高患者腿部放置支撑后进行换药和按摩过程中的舒适度。
The invention discloses a patient care auxiliary support device for intensive care. The structure includes a support base, a lifting rod, an electric controller, and a supporting mechanism. Connection, according to the distance between the patient's legs, adjust the distance between the stretcher mechanisms on the upper ends of the sliders on both sides to ensure that the patient's legs can be comfortably placed on the two stretcher mechanisms, and adjust the distance between the rear stretcher mechanisms Finally, the upper end of the stretcher mechanism rotates outward, which is beneficial for the patient's legs to be placed on the stretcher mechanism, and the angle between the two boards is rotated to adjust, so that the boards can expand and shrink, thereby automatically adjusting the patient's The legs are tightly supported and fitted to prevent the patient's legs from falling off the board. At the same time, the balls can enable the patient's legs to slide and adjust the position on the board, so that the patient's legs can be changed after the support is placed. and comfort during massage.
Description
技术领域technical field
本发明涉及重症护理领域,更具体地说,尤其是涉及到一种重症护理用患者护理辅助支撑装置。The present invention relates to the field of intensive care, and more specifically relates to a patient care auxiliary support device for intensive care.
背景技术Background technique
腿部受到重创发生骨折属于重症患者,经过手术后的骨折重症患者需要对腿部的骨折处进行护理,护理的过程中,通常需要医护人员对其进行换药和按摩,换药和按摩的过程中需要使用到辅助支撑装置将患者的腿部进行撑起,但是由于遇到双腿均骨折的患者,辅助支撑装置上的两个撑板方位固定,难以进行间距调节,则两个撑板无法对患者的双腿进行同步支撑,并且单独的撑板水平方位也是固定,骨折的腿部需要抬起才能放置在撑板上,增加了患者将腿部放在撑板上的难度,同时每个患者的腿部大小不一,放置在面积固定的撑板上,撑板与患者的腿部支撑的贴合度较差,导致支撑在换药和按摩的过程中,患者的腿部容易从撑板上发生掉落,对骨折患者的腿部造成二次伤害。Severely ill patients with severe fractures in their legs. After surgery, patients with severe fractures need to take care of the fractures of their legs. During the nursing process, medical staff usually need to change their dressings and massage them. The process of changing dressings and massaging It is necessary to use an auxiliary support device to prop up the patient's legs, but because of the patient with both legs fractured, the orientation of the two support plates on the auxiliary support device is fixed, and it is difficult to adjust the distance, so the two support plates cannot The patient's legs are supported synchronously, and the horizontal position of the individual support plate is also fixed. The fractured leg needs to be lifted to be placed on the support plate, which increases the difficulty for the patient to put the leg on the support plate. At the same time, each The size of the patient's legs is different, and they are placed on a support board with a fixed area. The board fell, causing secondary injury to the leg of the fractured patient.
发明内容Contents of the invention
本发明实现技术目的所采用的技术方案是:该一种重症护理用患者护理辅助支撑装置,其结构包括支撑底座、升降杆、电控器、支撑机构,所述支撑底座上端面与升降杆底部相固定,并且升降杆与电控器电连接,所述电控器安装在括支撑底座上端面中部,所述支撑机构底面与升降杆顶部输出端相焊接,所述支撑机构包括连接板、调节机构、撑板机构,所述连接板底面与升降杆顶部输出端相焊接,所述连接板上端面与调节机构底部相固定,所述调节机构上端与撑板机构下端内部相连接。The technical solution adopted by the present invention to achieve the technical purpose is: the patient care auxiliary support device for intensive care, its structure includes a support base, a lift rod, an electric controller, a support mechanism, the upper end surface of the support base and the bottom of the lift rod fixed, and the lifting rod is electrically connected with the electric controller, the electric controller is installed in the middle of the upper end surface of the supporting base, the bottom surface of the supporting mechanism is welded with the output end of the top of the lifting rod, and the supporting mechanism includes a connecting plate, an adjusting Mechanism, the brace mechanism, the bottom surface of the connection plate is welded to the output end of the top of the lifting rod, the top surface of the connection plate is fixed to the bottom of the adjustment mechanism, and the upper end of the adjustment mechanism is internally connected to the lower end of the brace mechanism.
作为本发明的进一步改进,所述调节机构包括导轨、滑块、拉板、弹簧杆、卡板、缓冲机构,所述连接板上端面与导轨底部相固定,所述滑块滑动安装在导轨外侧,并且拉板位于滑块后侧,所述拉板与弹簧杆相固定,所述弹簧杆采用间隙配合贯穿于滑块内部,并且弹簧杆与卡板相固定,所述卡板卡合安装在导轨后端内部,所述缓冲机构底部与滑块上端面相固定,所述缓冲机构上端与撑板机构下端内部相连接,所述滑块、拉板、弹簧杆、卡板和缓冲机构均设有两个,并且呈左右对称安装在导轨上,两侧的滑块带动上端的撑板机构在导轨上进行滑动。As a further improvement of the present invention, the adjustment mechanism includes a guide rail, a slider, a pull plate, a spring rod, a clamp, and a buffer mechanism. The upper surface of the connecting plate is fixed to the bottom of the guide rail, and the slider is slidably installed on the outside of the guide rail. , and the pull plate is located on the rear side of the slider, the pull plate is fixed to the spring rod, the spring rod is used to pass through the inside of the slider with a clearance fit, and the spring rod is fixed to the clamp, and the clamp is mounted on the Inside the rear end of the guide rail, the bottom of the buffer mechanism is fixed to the upper surface of the slider, and the upper end of the buffer mechanism is connected to the lower end of the support plate mechanism. Two, and are installed on the guide rail symmetrically from left to right. The sliders on both sides drive the support plate mechanism at the upper end to slide on the guide rail.
作为本发明的进一步改进,所述缓冲机构包括固定管套、顶簧、转动机构,所述固定管套底部与滑块上端面相固定,所述固定管套内部上端设有顶簧,所述顶簧顶部与转动机构底部相固定,所述转动机构下端采用间隙配合安装在固定管套内部上端,所述转动机构上端与撑板机构下端内部相连接。As a further improvement of the present invention, the buffer mechanism includes a fixed sleeve, a top spring, and a rotating mechanism. The bottom of the fixed sleeve is fixed to the upper surface of the slider. The top of the spring is fixed to the bottom of the rotating mechanism, and the lower end of the rotating mechanism is installed on the upper end inside the fixed sleeve by clearance fit, and the upper end of the rotating mechanism is connected with the lower end of the supporting plate mechanism inside.
作为本发明的进一步改进,所述转动机构包括连接板、连接轴、导向弹力杆,所述连接板下端采用间隙配合安装在固定管套内部上端,并且顶簧顶部连接板底部相固定,所述连接板上端通过连接轴与撑板机构下端内部相连接,所述导向弹力杆设在撑板机构下端内部,并且导向弹力杆采用间隙配合贯穿于连接板内部,所述导向弹力杆呈弧形结构,并且导向弹力杆的弧形圆心与连接轴的轴心位于同一点上。As a further improvement of the present invention, the rotating mechanism includes a connecting plate, a connecting shaft, and a guide elastic rod. The lower end of the connecting plate is installed on the upper end of the fixed sleeve with clearance fit, and the bottom of the connecting plate at the top of the top spring is fixed. The upper end of the connecting plate is connected with the lower end of the stretcher mechanism through a connecting shaft, the guide elastic rod is arranged inside the lower end of the stretcher mechanism, and the guide elastic rod is run through the inside of the connecting plate by a clearance fit, and the guide elastic rod has an arc-shaped structure , and the center of the arc of the guide elastic rod is located at the same point as the axis of the connecting shaft.
作为本发明的进一步改进,所述撑板机构包括外框架、弹簧滑轨、滑动轴、连动杆、铰接轴、调节撑板,所述连接板上端通过连接轴与外框架下端内部相连接,所述外框架内部外侧设有弹簧滑轨,所述弹簧滑轨内部滑动安装有滑动轴,所述滑动轴设在连动杆下端,并且连动杆上端通过铰接轴与调节撑板底面相铰接,所述调节撑板位于外框架上端中部,所述弹簧滑轨、滑动轴、连动杆和铰接轴均设有两个,并且呈左右对称安装在调节撑板底部两侧。As a further improvement of the present invention, the brace mechanism includes an outer frame, a spring slide rail, a sliding shaft, a linkage rod, a hinge shaft, and an adjustment brace, and the upper end of the connecting plate is internally connected with the lower end of the outer frame through a connecting shaft. The outside of the outer frame is provided with a spring slide rail, and a slide shaft is slidably installed inside the spring slide rail. The slide shaft is arranged at the lower end of the linkage rod, and the upper end of the linkage rod is hinged to the bottom surface of the adjustment support plate through a hinge shaft. , the adjustment brace is located in the middle of the upper end of the outer frame, and there are two spring slide rails, sliding shafts, linkage rods and hinge shafts, which are symmetrically installed on both sides of the bottom of the adjustment brace.
作为本发明的进一步改进,所述调节撑板包括板体、连接轴杆、滚珠、透气孔,所述连动杆上端通过铰接轴与板体底面相铰接,所述连接轴杆贯穿于板体内部,所述板体上端面设有滚珠,所述透气孔贯穿于板体内部,所述板体共设有两个,并且呈左右对称通过连接轴杆进行连接,两个板体形成弧形结构。As a further improvement of the present invention, the adjusting brace includes a plate body, a connecting shaft, a ball, and a vent hole, the upper end of the linkage rod is hinged to the bottom surface of the plate body through a hinge shaft, and the connecting shaft penetrates through the plate body Inside, the upper end surface of the board is provided with balls, and the air vent runs through the inside of the board. There are two boards in total, and they are symmetrically connected by connecting shafts. The two boards form an arc structure.
本发明的有益效果在于:The beneficial effects of the present invention are:
1.根据患者双腿之间的距离对两侧滑块上端的撑板机构的间距进行调节,确保患者的双腿均能舒适的放置在两个撑板机构上,调节后撑板机构的间距后,撑板机构上端往外侧进行旋转,利于患者腿部放置在撑板机构上,患者的腿部放置在撑板机构上后,通过导向弹力杆施加复位弹性,使得患者腿部处于撑板机构的上方,对患者腿部进行辅助支撑。1. According to the distance between the patient's legs, adjust the distance between the stretcher mechanisms on the upper ends of the sliders on both sides to ensure that the patient's legs can be comfortably placed on the two stretcher mechanisms, and adjust the distance between the rear stretcher mechanisms Finally, the upper end of the stretcher mechanism is rotated to the outside, which is beneficial for the patient's legs to be placed on the stretcher mechanism. above, to provide auxiliary support for the patient's legs.
2.两个板体之间的角度进行转动调节,从而使得板体之间进行扩张和缩小,从而自动对患者的腿部进行紧密的支撑贴合,避免患者的腿部从板体上发生脱落,同时通过滚珠能够使得患者的腿部能够在板体上进行滑动调节位置,并且通过透气孔进行透气,提高患者腿部放置支撑后进行换药和按摩过程中的舒适度。2. The angle between the two boards is adjusted by rotation, so that the boards can expand and shrink, so as to automatically support and fit the patient's legs closely, and prevent the patient's legs from falling off the board. At the same time, the patient's legs can be slid to adjust the position on the board through the balls, and ventilated through the ventilation holes, so as to improve the comfort of the patient's legs during dressing change and massage after the support is placed.
附图说明Description of drawings
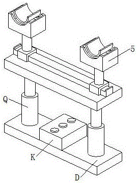
图1为本发明一种重症护理用患者护理辅助支撑装置的结构示意图。Fig. 1 is a schematic structural view of a patient care auxiliary support device for intensive care according to the present invention.
图2为本发明一种支撑机构的结构示意图。Fig. 2 is a structural schematic diagram of a support mechanism of the present invention.
图3为本发明一种调节机构的俯视以及局部放大结构示意图。Fig. 3 is a top view and a partially enlarged structural schematic diagram of an adjustment mechanism of the present invention.
图4为本发明一种缓冲机构的内部结构示意图。Fig. 4 is a schematic diagram of the internal structure of a buffer mechanism of the present invention.
图5为本发明一种转动机构的结构示意图。Fig. 5 is a structural schematic diagram of a rotating mechanism of the present invention.
图6为本发明一种撑板机构的内部结构示意图。Fig. 6 is a schematic diagram of the internal structure of a plate-stretching mechanism of the present invention.
图7为本发明一种调节撑板的立体结构示意图。Fig. 7 is a three-dimensional structural schematic diagram of an adjustable brace according to the present invention.
图中:支撑底座-D、升降杆-Q、电控器-K、支撑机构-5、连接板-55、调节机构-53、撑板机构-58、导轨-53k、滑块-53h、拉板-53b、弹簧杆-53t、卡板-53v、缓冲机构-53z、固定管套-z5、顶簧-z8、转动机构-z1、连接板-z13、连接轴-z19、导向弹力杆-z16、外框架-58k、弹簧滑轨-58h、滑动轴-58h、连动杆-58r、铰接轴-58j、调节撑板-58b、板体-b3、连接轴杆-b5、滚珠-b1、透气孔-b8。In the figure: support base-D, lifting rod-Q, electric controller-K, support mechanism-5, connection plate-55, adjustment mechanism-53, support plate mechanism-58, guide rail-53k, slider-53h, pull Plate-53b, spring rod-53t, clamping plate-53v, buffer mechanism-53z, fixed sleeve-z5, top spring-z8, rotating mechanism-z1, connecting plate-z13, connecting shaft-z19, guiding elastic rod-z16 , Outer frame-58k, spring slide rail-58h, sliding shaft-58h, linkage rod-58r, hinge shaft-58j, adjustment support plate-58b, board body-b3, connecting shaft-b5, ball-b1, ventilation hole-b8.
具体实施方式detailed description
以下结合附图对本发明做进一步描述:The present invention will be further described below in conjunction with accompanying drawing:
实施例1:Example 1:
如附图1至附图5所示:As shown in accompanying drawing 1 to accompanying drawing 5:
本发明一种重症护理用患者护理辅助支撑装置,其结构包括支撑底座D、升降杆Q、电控器K、支撑机构5,所述支撑底座D上端面与升降杆Q底部相固定,并且升降杆Q与电控器K电连接,所述电控器K安装在括支撑底座D上端面中部,所述支撑机构5底面与升降杆Q顶部输出端相焊接,所述支撑机构5包括连接板55、调节机构53、撑板机构58,所述连接板55底面与升降杆Q顶部输出端相焊接,所述连接板55上端面与调节机构53底部相固定,所述调节机构53上端与撑板机构58下端内部相连接。The present invention is an auxiliary support device for patient care for intensive care, the structure of which includes a support base D, a lift rod Q, an electric controller K, and a support mechanism 5. The upper end surface of the support base D is fixed to the bottom of the lift rod Q, and the lift The rod Q is electrically connected to the electric controller K, the electric controller K is installed in the middle of the upper end surface of the support base D, the bottom surface of the support mechanism 5 is welded to the output end of the top of the lifting rod Q, and the support mechanism 5 includes a
其中,所述调节机构53包括导轨53k、滑块53h、拉板53b、弹簧杆53t、卡板53v、缓冲机构53z,所述连接板55上端面与导轨53k底部相固定,所述滑块53h滑动安装在导轨53k外侧,并且拉板53b位于滑块53h后侧,所述拉板53b与弹簧杆53t相固定,所述弹簧杆53t采用间隙配合贯穿于滑块53h内部,并且弹簧杆53t与卡板53v相固定,所述卡板53v卡合安装在导轨53k后端内部,所述缓冲机构53z底部与滑块53h上端面相固定,所述缓冲机构53z上端与撑板机构58下端内部相连接,所述滑块53h、拉板53b、弹簧杆53t、卡板53v和缓冲机构53z均设有两个,并且呈左右对称安装在导轨53k上,两侧的滑块53h带动上端的撑板机构58在导轨53k上进行滑动,从而对两侧的撑板机构58进行滑动调节,确保两个撑板机构58能够同时对患者的双腿进行支撑。Wherein, the
其中,所述缓冲机构53z包括固定管套z5、顶簧z8、转动机构z1,所述固定管套z5底部与滑块53h上端面相固定,所述固定管套z5内部上端设有顶簧z8,所述顶簧z8顶部与转动机构z1底部相固定,所述转动机构z1下端采用间隙配合安装在固定管套z5内部上端,所述转动机构z1上端与撑板机构58下端内部相连接。Wherein, the
其中,所述转动机构z1包括连接板z13、连接轴z19、导向弹力杆z16,所述连接板z13下端采用间隙配合安装在固定管套z5内部上端,并且顶簧z8顶部连接板z13底部相固定,所述连接板z13上端通过连接轴z19与撑板机构58下端内部相连接,所述导向弹力杆z16设在撑板机构58下端内部,并且导向弹力杆z16采用间隙配合贯穿于连接板z13内部,所述导向弹力杆z16呈弧形结构,并且导向弹力杆z16的弧形圆心与连接轴z19的轴心位于同一点上,通过导向弹力杆z16能够对连接板z13与撑板机构58之间的角度进行弹性调节,从而使得撑板机构58上端往外侧进行旋转,利于患者腿部放置在撑板机构58上。Wherein, the rotating mechanism z1 includes a connecting plate z13, a connecting shaft z19, and a guiding elastic rod z16. The lower end of the connecting plate z13 is installed on the upper end of the fixed pipe sleeve z5 with a clearance fit, and the top spring z8 is fixed at the bottom of the connecting plate z13. , the upper end of the connecting plate z13 is connected with the lower end of the
本实施例的具体使用方式与作用:The specific usage and function of this embodiment:
本发明中,在对骨折重症患者的腿部进行换药和按摩时,通过电控器K控制升降杆Q带动上端的连接板55下降到最底部,便于患者将腿部抬起放置在撑板机构58上,根据患者双腿之间的距离首先拉动拉板53b使得弹簧杆53t带动卡板53v移出导轨53k内部,从而使得滑块53h能够在导轨53k上进行滑动,对两侧滑块53h上端的撑板机构58的间距进行调节,确保患者的双腿均能舒适的放置在两个撑板机构58上,调节后撑板机构58的间距后,通过转动撑板机构58,这时撑板机构58在连接板z13上端绕着连接轴z19进行转动,同时导向弹力杆z16对其进行弹性导向,使得撑板机构58上端往外侧进行旋转,利于患者腿部放置在撑板机构58上,患者的腿部放置在撑板机构58上后,通过导向弹力杆z16施加复位弹性,从而使得撑板机构58复位转动,使得患者腿部处于撑板机构58的上方,对患者腿部进行辅助支撑,支撑的过程中,通过固定管套z5内部的顶簧z8进行缓冲减震,提高患者腿部放置在撑板机构58上的舒适度。In the present invention, when changing the dressing and massaging the legs of patients with severe fractures, the electric controller K controls the lifting rod Q to drive the connecting
实施例2:Example 2:
如附图6至附图7所示:As shown in accompanying drawing 6 to accompanying drawing 7:
其中,所述撑板机构58包括外框架58k、弹簧滑轨58h、滑动轴58h、连动杆58r、铰接轴58j、调节撑板58b,所述连接板z13上端通过连接轴z19与外框架58k下端内部相连接,所述外框架58k内部外侧设有弹簧滑轨58h,所述弹簧滑轨58h内部滑动安装有滑动轴58h,所述滑动轴58h设在连动杆58r下端,并且连动杆58r上端通过铰接轴58j与调节撑板58b底面相铰接,所述调节撑板58b位于外框架58k上端中部,所述弹簧滑轨58h、滑动轴58h、连动杆58r和铰接轴58j均设有两个,并且呈左右对称安装在调节撑板58b底部两侧,利于对调节撑板58b两侧进行调节支撑,提高调节撑板58b对不同患者腿部的支撑贴合度。Wherein, the
其中,所述调节撑板58b包括板体b3、连接轴杆b5、滚珠b1、透气孔b8,所述连动杆58r上端通过铰接轴58j与板体b3底面相铰接,所述连接轴杆b5贯穿于板体b3内部,所述板体b3上端面设有滚珠b1,所述透气孔b8贯穿于板体b3内部,所述板体b3共设有两个,并且呈左右对称通过连接轴杆b5进行连接,两个板体b3形成弧形结构,两个板体b3之间的角度进行转动调节,从而使得板体b3之间进行扩张和缩小,从而自动对患者的腿部进行紧密的支撑贴合,避免患者的腿部从板体b3上发生脱落。Wherein, the adjusting
本实施例的具体使用方式与作用:The specific usage and function of this embodiment:
本发明中,患者的腿部放置在调节撑板58b上时,对调节撑板58b造成一定的挤压,这时调节撑板58b底部外侧的铰接轴58j在连动杆58r上端进行铰接使得连动杆58r与调节撑板58b底部外侧进行连动,连动杆58r连动的过程中,连动杆58r下端的滑动轴58h在弹簧滑轨58h内部进行弹性滑动,从而对调节撑板58b进行调节弹性支撑,提高调节撑板58b对不同患者腿部的支撑贴合度,而调节撑板58b上的板体b3在连接轴杆b5的连接下,两个板体b3之间的角度进行转动调节,从而使得板体b3之间进行扩张和缩小,从而自动对患者的腿部进行紧密的支撑贴合,避免患者的腿部从板体b3上发生脱落,同时通过滚珠b1能够使得患者的腿部能够在板体b3上进行滑动调节位置,并且通过透气孔b8进行透气,提高患者腿部放置支撑后进行换药和按摩过程中的舒适度。In the present invention, when the patient's legs are placed on the
利用本发明所述技术方案,或本领域的技术人员在本发明技术方案的启发下,设计出类似的技术方案,而达到上述技术效果的,均是落入本发明的保护范围。Utilize the technical solution described in the present invention, or those skilled in the art design a similar technical solution under the inspiration of the technical solution of the present invention, and achieve the above-mentioned technical effects, all fall into the protection scope of the present invention.
Claims (6)
Priority Applications (1)
| Application Number | Priority Date | Filing Date | Title |
|---|---|---|---|
| CN202211115654.XA CN115590701A (en) | 2022-09-14 | 2022-09-14 | A patient care auxiliary support device for intensive care |
Applications Claiming Priority (1)
| Application Number | Priority Date | Filing Date | Title |
|---|---|---|---|
| CN202211115654.XA CN115590701A (en) | 2022-09-14 | 2022-09-14 | A patient care auxiliary support device for intensive care |
Publications (1)
| Publication Number | Publication Date |
|---|---|
| CN115590701A true CN115590701A (en) | 2023-01-13 |
Family
ID=84843397
Family Applications (1)
| Application Number | Title | Priority Date | Filing Date |
|---|---|---|---|
| CN202211115654.XA Pending CN115590701A (en) | 2022-09-14 | 2022-09-14 | A patient care auxiliary support device for intensive care |
Country Status (1)
| Country | Link |
|---|---|
| CN (1) | CN115590701A (en) |
Cited By (3)
| Publication number | Priority date | Publication date | Assignee | Title |
|---|---|---|---|---|
| CN116138968A (en) * | 2023-03-15 | 2023-05-23 | 武汉科技大学 | Auxiliary nursing device for severe patients |
| CN117860215A (en) * | 2024-02-28 | 2024-04-12 | 南通市第一人民医院 | Novel arterial catheter connector and application thereof |
| CN119279809A (en) * | 2024-11-08 | 2025-01-10 | 宁波市眼科医院 | An arm support frame for ophthalmic fundus laser and an operation method thereof |
-
2022
- 2022-09-14 CN CN202211115654.XA patent/CN115590701A/en active Pending
Cited By (3)
| Publication number | Priority date | Publication date | Assignee | Title |
|---|---|---|---|---|
| CN116138968A (en) * | 2023-03-15 | 2023-05-23 | 武汉科技大学 | Auxiliary nursing device for severe patients |
| CN117860215A (en) * | 2024-02-28 | 2024-04-12 | 南通市第一人民医院 | Novel arterial catheter connector and application thereof |
| CN119279809A (en) * | 2024-11-08 | 2025-01-10 | 宁波市眼科医院 | An arm support frame for ophthalmic fundus laser and an operation method thereof |
Similar Documents
| Publication | Publication Date | Title |
|---|---|---|
| CN115590701A (en) | A patient care auxiliary support device for intensive care | |
| CN212037770U (en) | An orthopedic traction frame device | |
| CN104013486A (en) | Multi-section adjustable traction bed | |
| CN107693278A (en) | Nursing leg support meanss | |
| CN107456328A (en) | A kind of Orthopaedic nursing sick bed | |
| WO2015142060A1 (en) | Spine corrector | |
| CN209004509U (en) | A kind of orthopaedics therapy leg bearing device | |
| CN115886712A (en) | an ophthalmic examination table | |
| CN111700761B (en) | Diagnosis and treatment device for obstetrics and gynecology department | |
| CN207979935U (en) | A kind of hand and foot surgery nursing holder | |
| CN114027899B (en) | A kind of multifunctional retractor for general surgery clinical operation | |
| CN208974362U (en) | A folding seat for medical rehabilitation nursing | |
| CN215607282U (en) | Gynecological operation auxiliary device | |
| CN202207219U (en) | Combined adjustable support | |
| CN220327636U (en) | Spinal surgery fixing equipment | |
| CN218961145U (en) | a transfer bed | |
| CN219480702U (en) | But angle regulation's low limbs nursing is with auxiliary bracket | |
| CN219480741U (en) | Knee joint buckling maintaining device | |
| CN219835786U (en) | Adjustable body position pillow | |
| CN220213311U (en) | Preoperative disinfection auxiliary device based on 3D prints | |
| CN214857931U (en) | Adjustable lower limb traction frame | |
| CN215307683U (en) | Orthopedic leg support frame | |
| CN216318694U (en) | An adjustable-angle interventional catheter bed | |
| CN223799912U (en) | A leg lifting device for lithotomy position on a DSA bed | |
| CN211409579U (en) | Traction support capable of fixing and protecting heel part for orthopedics department |
Legal Events
| Date | Code | Title | Description |
|---|---|---|---|
| PB01 | Publication | ||
| PB01 | Publication | ||
| SE01 | Entry into force of request for substantive examination | ||
| SE01 | Entry into force of request for substantive examination | ||
| WD01 | Invention patent application deemed withdrawn after publication |
Application publication date: 20230113 |
