CN115585044A - 一种柴油发电机用的无涡流风冷装置 - Google Patents
一种柴油发电机用的无涡流风冷装置 Download PDFInfo
- Publication number
- CN115585044A CN115585044A CN202211460108.XA CN202211460108A CN115585044A CN 115585044 A CN115585044 A CN 115585044A CN 202211460108 A CN202211460108 A CN 202211460108A CN 115585044 A CN115585044 A CN 115585044A
- Authority
- CN
- China
- Prior art keywords
- diesel generator
- push
- heat dissipation
- air cooling
- mounting
- Prior art date
- Legal status (The legal status is an assumption and is not a legal conclusion. Google has not performed a legal analysis and makes no representation as to the accuracy of the status listed.)
- Pending
Links
- 238000001816 cooling Methods 0.000 title claims abstract description 26
- 230000017525 heat dissipation Effects 0.000 claims abstract description 34
- 238000007789 sealing Methods 0.000 claims abstract description 30
- 230000007246 mechanism Effects 0.000 claims abstract description 10
- 230000032683 aging Effects 0.000 claims abstract 2
- 238000009434 installation Methods 0.000 claims description 18
- 238000003466 welding Methods 0.000 claims description 18
- 241000883990 Flabellum Species 0.000 claims description 3
- 230000009471 action Effects 0.000 abstract description 2
- 230000000694 effects Effects 0.000 description 8
- 238000003780 insertion Methods 0.000 description 5
- 230000037431 insertion Effects 0.000 description 5
- 230000002146 bilateral effect Effects 0.000 description 3
- 239000000428 dust Substances 0.000 description 3
- 239000012535 impurity Substances 0.000 description 2
- 230000013011 mating Effects 0.000 description 2
- 238000010248 power generation Methods 0.000 description 2
- 230000004075 alteration Effects 0.000 description 1
- 230000009286 beneficial effect Effects 0.000 description 1
- 239000002283 diesel fuel Substances 0.000 description 1
- 230000005611 electricity Effects 0.000 description 1
- 238000005516 engineering process Methods 0.000 description 1
- 239000000446 fuel Substances 0.000 description 1
- 239000002828 fuel tank Substances 0.000 description 1
- 238000004519 manufacturing process Methods 0.000 description 1
- 238000000034 method Methods 0.000 description 1
- 238000012986 modification Methods 0.000 description 1
- 230000004048 modification Effects 0.000 description 1
- 230000008569 process Effects 0.000 description 1
- 238000003860 storage Methods 0.000 description 1
- 238000006467 substitution reaction Methods 0.000 description 1
Images
Classifications
-
- F—MECHANICAL ENGINEERING; LIGHTING; HEATING; WEAPONS; BLASTING
- F01—MACHINES OR ENGINES IN GENERAL; ENGINE PLANTS IN GENERAL; STEAM ENGINES
- F01P—COOLING OF MACHINES OR ENGINES IN GENERAL; COOLING OF INTERNAL-COMBUSTION ENGINES
- F01P5/00—Pumping cooling-air or liquid coolants
- F01P5/02—Pumping cooling-air; Arrangements of cooling-air pumps, e.g. fans or blowers
-
- F—MECHANICAL ENGINEERING; LIGHTING; HEATING; WEAPONS; BLASTING
- F01—MACHINES OR ENGINES IN GENERAL; ENGINE PLANTS IN GENERAL; STEAM ENGINES
- F01P—COOLING OF MACHINES OR ENGINES IN GENERAL; COOLING OF INTERNAL-COMBUSTION ENGINES
- F01P11/00—Component parts, details, or accessories not provided for in, or of interest apart from, groups F01P1/00 - F01P9/00
-
- F—MECHANICAL ENGINEERING; LIGHTING; HEATING; WEAPONS; BLASTING
- F01—MACHINES OR ENGINES IN GENERAL; ENGINE PLANTS IN GENERAL; STEAM ENGINES
- F01P—COOLING OF MACHINES OR ENGINES IN GENERAL; COOLING OF INTERNAL-COMBUSTION ENGINES
- F01P5/00—Pumping cooling-air or liquid coolants
- F01P5/02—Pumping cooling-air; Arrangements of cooling-air pumps, e.g. fans or blowers
- F01P5/04—Pump-driving arrangements
-
- F—MECHANICAL ENGINEERING; LIGHTING; HEATING; WEAPONS; BLASTING
- F01—MACHINES OR ENGINES IN GENERAL; ENGINE PLANTS IN GENERAL; STEAM ENGINES
- F01P—COOLING OF MACHINES OR ENGINES IN GENERAL; COOLING OF INTERNAL-COMBUSTION ENGINES
- F01P7/00—Controlling of coolant flow
- F01P7/02—Controlling of coolant flow the coolant being cooling-air
-
- F—MECHANICAL ENGINEERING; LIGHTING; HEATING; WEAPONS; BLASTING
- F01—MACHINES OR ENGINES IN GENERAL; ENGINE PLANTS IN GENERAL; STEAM ENGINES
- F01P—COOLING OF MACHINES OR ENGINES IN GENERAL; COOLING OF INTERNAL-COMBUSTION ENGINES
- F01P5/00—Pumping cooling-air or liquid coolants
- F01P5/02—Pumping cooling-air; Arrangements of cooling-air pumps, e.g. fans or blowers
- F01P5/04—Pump-driving arrangements
- F01P2005/046—Pump-driving arrangements with electrical pump drive
Landscapes
- Engineering & Computer Science (AREA)
- Chemical & Material Sciences (AREA)
- Combustion & Propulsion (AREA)
- Mechanical Engineering (AREA)
- General Engineering & Computer Science (AREA)
- Air-Flow Control Members (AREA)
Abstract
本发明涉及柴油发电机技术领域,具体为一种柴油发电机用的无涡流风冷装置,包括柴油发电机外壳和安装在柴油发电机外壳上的风冷机构,所述柴油发电机外壳的下侧两端对陈焊接有支撑底座,且柴油发电机外壳的两侧对称开设有第一散热孔,所述第一散热孔上下两侧的柴油发电机外壳上对称焊接有支撑长块,在柴油电机机外壳的上端固定安装上安装顶板,在安装顶板上安装有电机和散热风扇,且在安装顶板上开设有第二散热孔,在第一齿轮和第二齿轮的啮合作用下,可以使得驱动推杆对长条被推板进行推动,进而可以带动第一密封挡板进行移动使得第二散热孔打开,便于进行散热。
Description
技术领域
本发明涉及柴油发电机技术领域,具体为一种柴油发电机用的无涡流风冷装置。
背景技术
柴油发电机是一种小型发电设备,系指以柴油等为燃料,以柴油机为原动机带动发电机发电的动力机械,整套机组一般由柴油机、发电机、控制箱、燃油箱、起动和控制用蓄电瓶、保护装置及应急柜等部件组成,可用于各种家庭、办公室和大中小型企业日常发电以及应急发电,柴油发电机在工作的过程中会产生较多的热量,目前对于柴油发电机的降温,都是采用风机进行降温的,且柴油发电机上一般只开设一个散热口,如果设置多个散热口,柴油发电机在不使用的时候,就会使得空气中过多的灰尘、杂质进入到柴油发电机的内部,导致柴油发电机内部的零部件散热受到严重影响更易受到损坏,而对于开设一个散热口,如果天气不是很炎热的时候,是完全可以满足柴油发电机的散热要求的,但是如果在炎热的夏天就无法满足散热要求,影响柴油发电机的正产使用。
发明内容
本发明的目的在于提供一种柴油发电机用的无涡流风冷装置,以解决上述背景技术中提出的问题。
为实现上述目的,本发明提供如下技术方案:
一种柴油发电机用的无涡流风冷装置,包括柴油发电机外壳和安装在柴油发电机外壳上的风冷机构,所述柴油发电机外壳的下侧两端对陈焊接有支撑底座,且柴油发电机外壳的两侧对称开设有第一散热孔,所述第一散热孔上下两侧的柴油发电机外壳上对称焊接有支撑长块,所述支撑长块上开设有配合槽,所述风冷机构固定安装在柴油发电机外壳的上端。
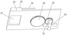
优选的,所述风冷机构包括安装顶板、驱动电机、安装轴、长条被推板、第一密封挡板、复位弹簧、第二推拉杆和第二密封挡板,所述安装顶板的上端固定安装有驱动电机,且安装顶板上远离驱动电机的一端开设有第二散热孔。
优选的,所述第二散热孔两侧的安装顶板上对称焊接有固定安装块,所述固定安装块上开设有连接通孔,且固定安装块上靠近驱动电机的一端焊接有支撑圆杆,所述安装顶板上靠近驱动电机的位置上开设有轴承安装孔,所述轴承安装孔处于第二散热孔和驱动电机之间,所述驱动电机上安装有电机轴,所述电机轴穿过安装顶板,且电机轴上焊接有第一齿轮,电机轴的下端固定安装有散热扇叶。
优选的,所述轴承安装孔中安装有配合轴承,所述配合轴承配合有安装轴,所述安装轴的上端一侧焊接有驱动推杆,所述驱动推杆的端部安装有减磨转轮,且驱动推杆的下端焊接有第二齿轮,所述第二齿轮处于安装顶板的下端,且第二齿轮与第一齿轮相啮合。
优选的,所述长条被推板的中间位置上固定设置有连接板架,且长条被推板的两端对称开设有支撑插孔,所述支撑插孔中插接有支撑圆杆,所述连接板架上对称铰接有两个第一推拉杆,所述第一推拉杆的另一端铰接有第一密封挡板。
优选的,所述第一密封挡板为两个,覆盖在第二散热孔上,且第一密封挡板靠近长条被推板的一端焊接有铰接柱,第一推拉杆铰接在铰接柱上,所述第一密封挡板的后端焊接有连接圆杆,所述连接圆杆插接在连接通孔中,且连接圆杆远离第一密封挡板的一端焊接有限位端块,另外连接圆杆上套接有复位弹簧。
优选的,所述限位端块的下端焊接有固定连接板,所述固定连接板的下端开设有铰接槽,所述铰接槽中铰接有第二推拉杆,所述第二推拉杆的另一端铰接在第二密封挡板上。
优选的,所述第二密封挡板为两个,分别覆盖在第一散热孔上,且第二密封挡板的上下两侧对称固定设置有配合移动块,所述配合移动块分别插接在第一散热孔上下两侧的配合槽中,第二密封挡板的后端中间位置上固定设置有铰接架,所述铰接架上铰接有第二推拉杆。
与现有技术相比,本发明的有益效果是:本发明结构设置合理,功能性强,具有以下优点:
1.在柴油电机机外壳的上端固定安装上安装顶板,在安装顶板上安装有电机和散热风扇,且在安装顶板上开设有第二散热孔,在第一齿轮和第二齿轮的啮合作用下,可以使得驱动推杆对长条被推板进行推动,进而可以带动第一密封挡板进行移动使得第二散热孔打开,便于进行散热,当柴油发电机不进行工作的时候,第二散热孔在第一密封挡板的作用下实现密封,进而可以很好的避免空气中的灰尘和杂质进入到柴油发电机的内部,影响到柴油发电机的正常使用。
2.在柴油发电机外壳的两侧对称开设有第一散热孔,柴油电机机在不进行工作的时候,第一散热孔在第二密封挡板的作用是处于封闭状态的,当柴油发电机进行工作的时候需要散热时,第一密封挡板在第二推拉杆的作用下会带动第二密封挡板进行移动,进而实现第一散热孔的打开和关闭,打开时与第一散热孔配合使用,进一步提升了柴油发电机的散热效果。
3.本冷风装置结构紧凑,且联动性强,可以很好的解决柴油发电机的散热问题,非常的实用。
附图说明
图1为柴油发电机外壳与风冷装置装配的主视图。
图2为柴油发电机外壳与风冷装置装配的俯视图。
图3为柴油发电机外壳与风冷装置装配的爆炸示意图。
图4为安装顶板的上端结构示意图。
图5为安装底板的下端结构示意图。
图中:1、柴油发电机外壳;11、支撑底座;12、第一散热孔;13、支撑长块;14、配合槽;2、安装顶板;21、第二散热孔;22、固定安装块;23、连接通孔;24、支撑圆杆;25、轴承安装孔;3、驱动电机;31、电机轴;32、第一齿轮;33、散热扇叶;4、安装轴;41、驱动推杆;42、减磨转轮;43、第二齿轮;44、配合轴承;5、长条被推板;51、连接板架;52、支撑插孔;53、第一推拉杆;6、第一密封挡板;61、铰接柱;62、连接圆杆;63、限位端块;64、固定连接板;65、铰接槽;7、复位弹簧;8、第二推拉杆;9、第二密封挡板;91、配合移动块;92、铰接架。
具体实施方式
下面将结合本发明实施例中的附图,对本发明实施例中的技术方案进行清楚、完整地描述,显然,所描述的实施例仅仅是本发明一部分实施例,而不是全部的实施例。基于本发明中的实施例,本领域普通技术人员在没有做出创造性劳动前提下所获得的所有其他实施例,都属于本发明保护的范围。
请参阅图1至图5,本发明提供一种技术方案:
一种柴油发电机用的无涡流风冷装置,包括柴油发电机外壳1和安装在柴油发电机外壳1上的风冷机构,柴油发电机外壳1的下侧两端对陈焊接有支撑底座11,且柴油发电机外壳1的两侧对称开设有第一散热孔12,第一散热孔12上下两侧的柴油发电机外壳1上对称焊接有支撑长块13,支撑长块13上开设有配合槽14,风冷机构固定安装在柴油发电机外壳1的上端,且风冷机构包括安装顶板2、驱动电机3、安装轴4、长条被推板5、第一密封挡板6、复位弹簧7、第二推拉杆8和第二密封挡板9,安装顶板2的上端固定安装有驱动电机3,驱动电机3为现有技术下的电机,且安装顶板2上远离驱动电机3的一端开设有第二散热孔21。
第二散热孔21两侧的安装顶板2上对称焊接有固定安装块22,固定安装块22上开设有连接通孔23,且固定安装块22上靠近驱动电机3的一端焊接有支撑圆杆24,安装顶板2上靠近驱动电机3的位置上开设有轴承安装孔25,轴承安装孔25处于第二散热孔21和驱动电机3之间,驱动电机3上安装有电机轴31,电机轴31穿过安装顶板2,且电机轴31上焊接有第一齿轮32,电机轴31的下端固定安装有散热扇叶33,另外第一齿轮32处于散热扇叶33的上端,且第一齿轮32处于安装顶板2的下端。
轴承安装孔25中安装有配合轴承44,配合轴承44配合有安装轴4,安装轴4的上端一侧焊接有驱动推杆41,驱动推杆41的端部安装有减磨转轮42,且驱动推杆41的下端焊接有第二齿轮43,第二齿轮43处于安装顶板2的下端,且第二齿轮43与第一齿轮32相啮合,另外第二齿轮43的直径大于第一齿轮32的直径,驱动推杆41处于安装顶板2的上端。
长条被推板5的中间位置上固定设置有连接板架51,且长条被推板5的两端对称开设有支撑插孔52,支撑插孔52中插接有支撑圆杆24,支撑圆杆24的表面光滑无毛刺,且支撑插孔52的孔壁光滑无毛刺,另外长条被推板5进行移动的时候,减磨转轮42与长条被推板5相接触,连接板架51上对称铰接有两个第一推拉杆53,第一推拉杆53的另一端铰接有第一密封挡板6,且第一密封挡板6为两个,覆盖在第二散热孔21上,且第二散热孔21未被打开的时候,两个第一密封挡板6相互接触在一起,且第一密封挡板6靠近长条被推板5的一端焊接有铰接柱61,第一推拉杆53铰接在铰接柱61上,第一密封挡板6的后端焊接有连接圆杆62,连接圆杆62插接在连接通孔23中,且连接圆杆62远离第一密封挡板6的一端焊接有限位端块63,限位端块63处于固定安装块22的外侧,另外连接圆杆62上套接有复位弹簧7,复位弹簧7处于固定安装块22的外侧,且复位弹簧7的两端分别焊接在固定安装块22上和限位端块63上。
限位端块63的下端焊接有固定连接板64,固定连接板64的下端开设有铰接槽65,铰接槽65中铰接有第二推拉杆8,第二推拉杆8的另一端铰接在第二密封挡板9上,另外,第二密封挡板9为两个,分别覆盖在第一散热孔12上,且第二密封挡板9的上下两侧对称固定设置有配合移动块91,配合移动块91分别插接在第一散热孔12上下两侧的配合槽14中,配合移动块91的尺寸与配合槽14的尺寸相等,且配合移动块91的表面和配合槽14的槽内壁光滑无毛刺,第二密封挡板9的后端中间位置上固定设置有铰接架92,铰接架92上铰接有第二推拉杆8。
柴油发电机在进行工作的时候,同时使得驱动电机3进行工作,带动散热扇叶33进行工作,进而可以对柴油发电机外壳1的内部进行散热,而在散热扇叶33进行转动的同时第一齿轮32将带动第二齿轮43进行转动,进而带动安装轴4进行转动,这样驱动推杆41将也进行转动,当转动到长条被推板5的一侧,驱动推杆41将与长条被推板5进行接触,进而随着驱动推杆41的转动将推动长条被推板5进行移动,进而在长条被推板5的作用下可以带动两个第一密封挡板6进行相背运动,进而使得第二散热孔21打开,更好的进行散热,而第一密封挡板6在进行移动的时候,也会带动限位端块63往远离柴油发电机外壳1的方向进行移动,进而在第二推拉杆8的作用下可以带动第二密封挡板9进行移动,第二密封挡板9的移动,可以使得第一散热孔12进行打开,这样即可更进一步提升柴油发电机整体的散热效果,保证了其在炎热的夏天也能够满足散热要求,由于第二齿轮43是与第一齿轮32相啮合的,所以第二齿轮43一直处于转动状态,这样随着驱动推杆41的转动其不再对长条被推板5产生推力,这样在复位弹簧7的作用下将带动第一密封挡板6进行复位,同时在第一推拉杆53的作用下,推动长条被推板5进行反向移动,实现长条被推板5的复位,这样即可实现第一密封挡板6的往复运动,同样的道理也可以实现第二密封挡板9的往复运动,保证第一散热孔12和第二散热孔21的间歇打开,进而保证了散热效果,另外当柴油发电机不进行工作的时候,在第一密封挡板6和第二密封挡板9的作用下使得第二散热孔21和第一散热孔12处于封闭状态的,避免灰尘进入到柴油发电机中,实现了对柴油发电机的保护。
尽管已经示出和描述了本发明的实施例,对于本领域的普通技术人员而言,可以理解在不脱离本发明的原理和精神的情况下可以对这些实施例进行多种变化、修改、替换和变型,本发明的范围由所附权利要求及其等同物限定。
Claims (6)
1.一种柴油发电机用的无涡流风冷装置,包括柴油发电机外壳(1)和安装在柴油发电机外壳(1)上的风冷机构,其特征在于:所述柴油发电机外壳(1)的下侧两端对陈焊接有支撑底座(11),且柴油发电机外壳(1)的两侧对称开设有第一散热孔(12),所述第一散热孔(12)上下两侧的柴油发电机外壳(1)上对称焊接有支撑长块(13),所述支撑长块(13)上开设有配合槽(14),所述风冷机构固定安装在柴油发电机外壳(1)的上端,所述风冷机构包括安装顶板(2)、驱动电机(3)、安装轴(4)、长条被推板(5)、第一密封挡板(6)、复位弹簧(7)、第二推拉杆(8)和第二密封挡板(9),所述安装顶板(2)的上端固定安装有驱动电机(3),且安装顶板(2)上远离驱动电机(3)的一端开设有第二散热孔(21),所述第二散热孔(21)两侧的安装顶板(2)上对称焊接有固定安装块(22),所述固定安装块(22)上开设有连接通孔(23),且固定安装块(22)上靠近驱动电机(3)的一端焊接有支撑圆杆(24),所述安装顶板(2)上靠近驱动电机(3)的位置上开设有轴承安装孔(25),所述轴承安装孔(25)处于第二散热孔(21)和驱动电机(3)之间,所述驱动电机(3)上安装有电机轴(31),所述电机轴(31)穿过安装顶板(2),且电机轴(31)上焊接有第一齿轮(32),电机轴(31)的下端固定安装有散热扇叶(33)。
2.根据权利要求1所述的一种柴油发电机用的无涡流风冷装置,其特征在于:所述轴承安装孔(25)中安装有配合轴承(44),所述配合轴承(44)配合有安装轴(4),所述安装轴(4)的上端一侧焊接有驱动推杆(41),所述驱动推杆(41)的端部安装有减磨转轮(42),且驱动推杆(41)的下端焊接有第二齿轮(43),所述第二齿轮(43)处于安装顶板(2)的下端,且第二齿轮(43)与第一齿轮(32)相啮合。
3.根据权利要求1所述的一种柴油发电机用的无涡流风冷装置,其特征在于:所述长条被推板(5)的中间位置上固定设置有连接板架(51),且长条被推板(5)的两端对称开设有支撑插孔(52),所述支撑插孔(52)中插接有支撑圆杆(24),所述连接板架(51)上对称铰接有两个第一推拉杆(53),所述第一推拉杆(53)的另一端铰接有第一密封挡板(6)。
4.根据权利要求3所述的一种柴油发电机用的无涡流风冷装置,其特征在于:所述第一密封挡板(6)为两个,覆盖在第二散热孔(21)上,且第一密封挡板(6)靠近长条被推板(5)的一端焊接有铰接柱(61),第一推拉杆(53)铰接在铰接柱(61)上,所述第一密封挡板(6)的后端焊接有连接圆杆(62),所述连接圆杆(62)插接在连接通孔(23)中,且连接圆杆(62)远离第一密封挡板(6)的一端焊接有限位端块(63),另外连接圆杆(62)上套接有复位弹簧(7)。
5.根据权利要求4所述的一种柴油发电机用的无涡流风冷装置,其特征在于:所述限位端块(63)的下端焊接有固定连接板(64),所述固定连接板(64)的下端开设有铰接槽(65),所述铰接槽(65)中铰接有第二推拉杆(8),所述第二推拉杆(8)的另一端铰接在第二密封挡板(9)上。
6.根据权利要求5所述的一种柴油发电机用的无涡流风冷装置,其特征在于:所述第二密封挡板(9)为两个,分别覆盖在第一散热孔(12)上,且第二密封挡板(9)的上下两侧对称固定设置有配合移动块(91),所述配合移动块(91)分别插接在第一散热孔(12)上下两侧的配合槽(14)中,第二密封挡板(9)的后端中间位置上固定设置有铰接架(92),所述铰接架(92)上铰接有第二推拉杆(8)。
Priority Applications (1)
| Application Number | Priority Date | Filing Date | Title |
|---|---|---|---|
| CN202211460108.XA CN115585044A (zh) | 2022-11-21 | 2022-11-21 | 一种柴油发电机用的无涡流风冷装置 |
Applications Claiming Priority (1)
| Application Number | Priority Date | Filing Date | Title |
|---|---|---|---|
| CN202211460108.XA CN115585044A (zh) | 2022-11-21 | 2022-11-21 | 一种柴油发电机用的无涡流风冷装置 |
Publications (1)
| Publication Number | Publication Date |
|---|---|
| CN115585044A true CN115585044A (zh) | 2023-01-10 |
Family
ID=84783435
Family Applications (1)
| Application Number | Title | Priority Date | Filing Date |
|---|---|---|---|
| CN202211460108.XA Pending CN115585044A (zh) | 2022-11-21 | 2022-11-21 | 一种柴油发电机用的无涡流风冷装置 |
Country Status (1)
| Country | Link |
|---|---|
| CN (1) | CN115585044A (zh) |
Cited By (2)
| Publication number | Priority date | Publication date | Assignee | Title |
|---|---|---|---|---|
| CN118412192A (zh) * | 2024-06-25 | 2024-07-30 | 包头市鹏越设备科技有限公司 | 一种高散热干式变压器及其使用方法 |
| CN118564338A (zh) * | 2024-07-29 | 2024-08-30 | 江苏中奕和创智能科技有限公司 | 一种防雨式柴油发电机组 |
Citations (6)
| Publication number | Priority date | Publication date | Assignee | Title |
|---|---|---|---|---|
| CN210483890U (zh) * | 2019-09-05 | 2020-05-08 | 江苏中动电力设备有限公司 | 一种柴油发电机组的进风结构 |
| CN210738674U (zh) * | 2019-10-28 | 2020-06-12 | 福州金钥匙机电设备有限公司 | 一种柴油发电机组机壳的风口结构 |
| CN211851979U (zh) * | 2020-04-07 | 2020-11-03 | 江苏瑞营机械制造有限公司 | 一种用于集装箱发电机组箱体结构 |
| CN214330741U (zh) * | 2020-11-17 | 2021-10-01 | 泰州重康机电设备有限公司 | 一种立柜式发电机组 |
| CN215444224U (zh) * | 2021-06-02 | 2022-01-07 | 湖北广福水泥制品有限公司 | 一种高效静音的柴油发电机组 |
| CN114673871A (zh) * | 2022-02-21 | 2022-06-28 | 福建金龙腾动力机械有限公司 | 一种低噪音高散热的移动式柴油发电机组 |
-
2022
- 2022-11-21 CN CN202211460108.XA patent/CN115585044A/zh active Pending
Patent Citations (6)
| Publication number | Priority date | Publication date | Assignee | Title |
|---|---|---|---|---|
| CN210483890U (zh) * | 2019-09-05 | 2020-05-08 | 江苏中动电力设备有限公司 | 一种柴油发电机组的进风结构 |
| CN210738674U (zh) * | 2019-10-28 | 2020-06-12 | 福州金钥匙机电设备有限公司 | 一种柴油发电机组机壳的风口结构 |
| CN211851979U (zh) * | 2020-04-07 | 2020-11-03 | 江苏瑞营机械制造有限公司 | 一种用于集装箱发电机组箱体结构 |
| CN214330741U (zh) * | 2020-11-17 | 2021-10-01 | 泰州重康机电设备有限公司 | 一种立柜式发电机组 |
| CN215444224U (zh) * | 2021-06-02 | 2022-01-07 | 湖北广福水泥制品有限公司 | 一种高效静音的柴油发电机组 |
| CN114673871A (zh) * | 2022-02-21 | 2022-06-28 | 福建金龙腾动力机械有限公司 | 一种低噪音高散热的移动式柴油发电机组 |
Cited By (3)
| Publication number | Priority date | Publication date | Assignee | Title |
|---|---|---|---|---|
| CN118412192A (zh) * | 2024-06-25 | 2024-07-30 | 包头市鹏越设备科技有限公司 | 一种高散热干式变压器及其使用方法 |
| CN118412192B (zh) * | 2024-06-25 | 2024-09-10 | 包头市鹏越设备科技有限公司 | 一种高散热干式变压器及其使用方法 |
| CN118564338A (zh) * | 2024-07-29 | 2024-08-30 | 江苏中奕和创智能科技有限公司 | 一种防雨式柴油发电机组 |
Similar Documents
| Publication | Publication Date | Title |
|---|---|---|
| CN115585044A (zh) | 一种柴油发电机用的无涡流风冷装置 | |
| CN114336381B (zh) | 一种散热低压开关柜 | |
| US12184194B1 (en) | AC/DC conversion device for intelligent green-power operation and maintenance in power transmission and transformation projects | |
| CN214798492U (zh) | 炎热气候用配电柜 | |
| CN213395638U (zh) | 一种防尘效果好的节能环保空调 | |
| CN210799126U (zh) | 发动机散热器 | |
| CN116365100B (zh) | 自动冷却的储能装置 | |
| CN220465272U (zh) | 一种高效散热型新能源汽车充电桩 | |
| CN217239515U (zh) | 一种燃料电池 | |
| CN212313314U (zh) | 一种带风量控制装置的汽车充电模块 | |
| CN215817665U (zh) | 一种便于电路板检修的不间断供电储能箱 | |
| CN113613423B (zh) | 一种散热效果好的多功能智能终端调试设备 | |
| CN213150931U (zh) | 一种大容量电池散热装置 | |
| CN215497915U (zh) | 一种电力输送用配电箱用散热机构 | |
| CN222321478U (zh) | 一种多功能集成式光伏发电储能装置 | |
| CN222775391U (zh) | 一种风冷式储能装置 | |
| CN221633228U (zh) | 一种高效散热型高压静止无功发生器 | |
| CN221009171U (zh) | 一种一体化新能源金属组件 | |
| CN214689297U (zh) | 一种用于新能源汽车的散热型网关 | |
| CN116780021B (zh) | 一种新型的便携式储能电源热管理结构 | |
| CN220155604U (zh) | 一种基于高导热结构实现长寿命的环保电池模组 | |
| CN223141552U (zh) | 一种新型焊机充电器 | |
| CN216530164U (zh) | 一种智能网联大数据抽出式开关柜 | |
| CN220380366U (zh) | 一种具有自动清理灰尘功能的冷凝器 | |
| CN217904945U (zh) | 一种具有散热组件的控制箱 |
Legal Events
| Date | Code | Title | Description |
|---|---|---|---|
| PB01 | Publication | ||
| PB01 | Publication | ||
| SE01 | Entry into force of request for substantive examination | ||
| SE01 | Entry into force of request for substantive examination | ||
| RJ01 | Rejection of invention patent application after publication |
Application publication date: 20230110 |
|
| RJ01 | Rejection of invention patent application after publication |