CN115538406A - 一种土体含水率和干密度检测装置及其检测方法 - Google Patents
一种土体含水率和干密度检测装置及其检测方法 Download PDFInfo
- Publication number
- CN115538406A CN115538406A CN202211303390.0A CN202211303390A CN115538406A CN 115538406 A CN115538406 A CN 115538406A CN 202211303390 A CN202211303390 A CN 202211303390A CN 115538406 A CN115538406 A CN 115538406A
- Authority
- CN
- China
- Prior art keywords
- lifting
- probe
- sensor
- soil
- soil body
- Prior art date
- Legal status (The legal status is an assumption and is not a legal conclusion. Google has not performed a legal analysis and makes no representation as to the accuracy of the status listed.)
- Pending
Links
Images
Classifications
-
- E—FIXED CONSTRUCTIONS
- E02—HYDRAULIC ENGINEERING; FOUNDATIONS; SOIL SHIFTING
- E02D—FOUNDATIONS; EXCAVATIONS; EMBANKMENTS; UNDERGROUND OR UNDERWATER STRUCTURES
- E02D1/00—Investigation of foundation soil in situ
- E02D1/02—Investigation of foundation soil in situ before construction work
- E02D1/022—Investigation of foundation soil in situ before construction work by investigating mechanical properties of the soil
-
- E—FIXED CONSTRUCTIONS
- E02—HYDRAULIC ENGINEERING; FOUNDATIONS; SOIL SHIFTING
- E02D—FOUNDATIONS; EXCAVATIONS; EMBANKMENTS; UNDERGROUND OR UNDERWATER STRUCTURES
- E02D1/00—Investigation of foundation soil in situ
- E02D1/02—Investigation of foundation soil in situ before construction work
- E02D1/027—Investigation of foundation soil in situ before construction work by investigating properties relating to fluids in the soil, e.g. pore-water pressure, permeability
-
- E—FIXED CONSTRUCTIONS
- E02—HYDRAULIC ENGINEERING; FOUNDATIONS; SOIL SHIFTING
- E02D—FOUNDATIONS; EXCAVATIONS; EMBANKMENTS; UNDERGROUND OR UNDERWATER STRUCTURES
- E02D1/00—Investigation of foundation soil in situ
- E02D1/02—Investigation of foundation soil in situ before construction work
- E02D1/04—Sampling of soil
Landscapes
- Life Sciences & Earth Sciences (AREA)
- Engineering & Computer Science (AREA)
- General Life Sciences & Earth Sciences (AREA)
- Analytical Chemistry (AREA)
- Soil Sciences (AREA)
- Chemical & Material Sciences (AREA)
- Mining & Mineral Resources (AREA)
- Paleontology (AREA)
- Civil Engineering (AREA)
- General Engineering & Computer Science (AREA)
- Structural Engineering (AREA)
- Hydrology & Water Resources (AREA)
- Investigation Of Foundation Soil And Reinforcement Of Foundation Soil By Compacting Or Drainage (AREA)
- Investigating Strength Of Materials By Application Of Mechanical Stress (AREA)
Abstract
本发明公开了一种土体含水率和干密度检测装置及其检测方法。包括FDR传感器、固定系统、升降检测系统、操作显示系统和环刀法测试系统;固定系统由底座、支撑平台和支撑螺杆构成;升降检测系统由电机、升降传动装置、升降螺杆和FDR传感器构成;电机与升降传动装置驱动连接,升降传动装置固定于支撑平台上方并通过支撑平台中心的通孔与升降螺杆驱动连接实现升降,升降螺杆底部固定FDR传感器、探针位于底座中心探测通孔竖直上方;本发明利用控制电机驱动探针插入土体,精确采集体积含水率、介电常数、电导率等现场土体参数,避免利用人力插入被测土体时探针插入角度以及深度的差异所导致的量测误差,提高土体含水率及干密度的测试效率及测量精度。
Description
技术领域
本发明涉及土体含水率检测技术领域,具体为一种基于FDR传感器的便携式现场土体含水率和干密度快速测试装置及其测试方法。
背景技术
土料在水利、交通、市政等基础设施建设领域应用十分广泛,如在水利工程中常作为土坝、心墙、堤防等挡水结构物的填筑材料。质量含水率和干密度是土料填筑质量控制和评价的两个重要参数。目前,工程中常用的土体含水率和干密度测试方法为烘干法和环刀法。然而,随着填方作业机械化、智能化快速施工技术的发展,上述传统土体含水率和干密度测试方法与快速机械化施工之间的矛盾日益突出,寻求一种快速简便的土体含水率和干密度测试方法具有重要的工程意义。
介电法具有高效、便捷、无污染的特点,其中介电法中的频域反射法(FDR)更是具有稳定性好、准确度高、成本低的优点,在国内外得到了广泛的应用。FDR的工作原理是利用LC电路的振荡,根据电磁波在土体中振荡频率的变化来测量土体的表观介电常数,再通过一定的对应关系反算出土体的体积含水率,并进一步计算出工程所需的质量含水量和干密度。需要指出的是,目前利用探针式FDR位移传感器测土体质量含水率和干密度的研究多集中在室内试验,且对土样数据进行采集时均需人工操作。当土体密实时,若测试人员的手臂力量不足时,FDR传感器探针难以完全且垂直插入所测土体,且在每一次探针贯入土体这一过程中存在人为差异性,进而影响测试精度。因此,研究一种基于FDR传感器的便携式土体质量含水率和干密度快速检测装置十分有必要。
发明内容
本发明公开了一种土体含水率和干密度检测装置及其检测方法。本发明目的是提供了一种基于FDR技术的便携式土体含水率和干密度快速检测装置及其检测方法。
本发明通过以下技术方案实现:
一种土体含水率和干密度检测装置,包括FDR传感器,其特征在于:包括固定系统、升降检测系统、操作显示系统、环刀法测试系统;
固定系统由底座、支撑平台和连接支撑底座与支撑平台的支撑螺杆构成,用于支撑升降检测系统;
升降检测系统由电机、升降传动装置、升降螺杆和FDR传感器构成;电机与升降传动装置驱动连接,升降传动装置固定于支撑平台上方并通过支撑平台中心的通孔与升降螺杆驱动连接实现升降,升降螺杆底部固定FDR传感器,FDR传感器的探针位于底座中心设置的探测通孔竖直上方;
操作显示系统包括控制器和驱动电源;
环刀法测试系统包括标准环刀、取样器以及便携式高精度电子天平。
进一步所述底座两侧设置有通过铰链铰接的、可折叠的脚踏板。
FDR传感器上端设置螺纹杆,螺纹杆通过螺纹与升降螺杆可拆卸联接。
FDR传感器侧面设有数据接口,用于联接数据传导线并与控制器连接。
本发明装置由四部分构成,分别为升降检测系统、固定系统、环刀法测试系统、操作显示系统。升降检测系统由电机,升降传动装置,升降螺杆,探针式FDR传感器构成,主要作用是实现FDR传感器的垂直升降;固定系统由底座,支撑螺杆,支撑平台构成,主要是用于支撑升降系统,为升降系统的正常工作提供反力条件;环刀法测试系统包括标准环刀、取样器以及便携式高精度电子天平,可以快速测得原位土体的湿密度;操作显示系统由控制器和电源组成,可以控制电机升降的速度以及读取、输入和存储所测土体参数。
本发明土体含水率和干密度检测装置的检测方法,包括以下步骤:
1)在碾压施工后的工程场地,选取试点进行数据采集,试样点表面土体应平整,且无坚硬石块;
2)将FDR传感器试验装置平整放置在所测试点,操作人员双脚踩在底座两侧角踏板上,为传感器探针的插入和拔出提供反力;
3)通过控制器对FDR传感器的探针位置进行校正,使得探针位于底座上方1cm;
4)探针位置校正后,按下控制器的下降按钮,使得FDR位移传感器垂直匀速下降,当探针完全插入待测土体,传感器底部与土体表面密切贴合时,按下停止键,升降装置停止运行;
5)按下控制器上FDR传感器的数据采集按钮,采集并记录原位土体的体积含水率θv;
6)按下上升键,将传感器探针拔出所测土体,待探针针头离开土体表面,距离底座1cm时,按下停止键;
7)在传感器探针插入位置,利用环刀法取样,并采用便携式高精度电子天平测得土样质量,根据环刀体积计算出原位土体的湿密度ρ;
8)将测得的湿密度输入操作显示系统,利用下述公式求得原位土体的质量含水率和干密度,在控制器液晶屏上显示测试结果,同时将测试数据存储至控制器内置硬盘中。
ρd=ρ-ρwθv
其中,w为土体质量含水率,ρ为湿密度,ρd为干密度,ρw为水的密度,θv为体积含水率;
9)清理探针表面残余土体,重复上述步骤4)至8),对同一测试点至少测量三次,取平均值。
与现有技术相比,具备以下有益效果:
本发明装置利用FDR传感器直接测得土体体积含水率,利用环刀法直接测得土体湿密度,然后换算得到土体质量含水率和干密度,大大缩短检测时间;利用检测人员的自重提供反力以及电机控制升降将FDR传感器探针垂直匀速插入所测土体,避免土体过于密实,人工操作难以将探针完全插入土体的情况,同时减小人力插拔FDR传感器对测量精度的影响。
本发明装置利用控制电机驱动FDR传感器插入土体,精确采集现场土体体积含水率等参数,并联合环刀法快速测得原位土体质量含水率和干密度。大大提高土体含水率及干密度的测试效率,且避免了利用人力将FDR传感器探测插入被测土体时探针方向及深度的差异所带来的量测误差。
附图说明
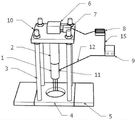
图1是本发明快速检测装置示意图;
图2是FDR传感器示意图。
图中,1是FDR传感器,2是升降螺杆,3是支撑螺杆,4是底座,5是脚踏板,6是升降传动装置,7是电机,8是电源装置,9是控制器,10是支撑平台,11是FDR传感器数据接口,12是数据传导线,13是螺纹杆,14是FDR传感器探针,15是电导线。
具体实施方式
下面结合具体实施方式对本发明进一步说明,具体实施方式是对本发明原理的进一步说明,不以任何方式限制本发明,与本发明相同或类似技术均没有超出本发明保护的范围。
结合附图。
如图所示,本发明基于FDR技术的便携式土体含水率和干密度快速检测装置,由四部分构成,分别为升降检测系统,固定系统,操作显示系统,环刀法测试系统。
升降检测系统由电机7、升降传动装置6、升降螺杆2、探针式FDR传感器1构成,电机7由电源装置8提供动力,与升降传动装置6相连,升降传动装置6与升降螺杆2相连,升降螺杆2与FDR传感器1相连。
固定系统由底座4,支撑螺杆3,支撑平台10构成,主要是用于支撑升降系统,为升降系统的正常工作提供反力条件。
操作显示系统由控制器9和电源8组成,控制器9含有可控制升降螺杆2上升下降的按键,可显示所测土体参数的液晶显示屏以及内置数据存储硬盘。
电源装置8为便于携带且能够提供稳定电压的锂电池组,为电机7运转提供动力。
本实施例底座4的材料采用有机玻璃,其尺寸为20*20*2cm。底座中心有一个直径10cm的圆孔,FDR传感器1可穿过此孔插入被测土体。
脚踏板5为有机玻璃材质,通过铰链与底座4相连,可进行折叠与展开。
支撑螺杆3长30cm,垂直于底座,且与上部支撑平台10通过螺栓结构相固定。
支撑平台10上布置有升降传动装置6和电机7。
FDR传感器1主体为圆柱形,与圆柱体的升降螺杆密切贴合;FDR传感器上端设有螺纹13,可与升降螺杆2底部的螺孔连接。
FDR传感器侧面设有数据接口11,实现与数据传导线12的连接和拆卸。控制器9与数据传导线12相连,显示并存储测得的土体参数。
升降螺杆2的升降实现FDR传感器1沿垂直方向上升和下降,使得探针14能铅直、匀速的插入和拔出土体,有效降低人为操作带来的量测误差。
环刀法测试系统包括标准环刀、取样器和便携式高精度电子天平。环刀法是用已知质量及容积的环刀,切取土样,称重后减去环刀质量即得土的质量,环刀的容积即为土的体积,进而可求得土的密度的方法。本发明环刀法测试系统通过便携式高精度电子天平,可在现场测得土体的天然湿密度。
本发明提供一种基于FDR技术的便携式土体含水率和干密度快速检测装置的测试方法,包括以下步骤:
1)在碾压施工后的工程场地,选取合适的试点进行数据采集,试样点表面土体应平整,且无坚硬石块。
2)将FDR传感器试验装置平整放置在所测试点,操作人员双脚踩在底座4两侧角踏板5上,以维持试验装置运行过程中的稳定。
3)通过控制器对FDR传感器1的探针14位置进行校正,使得探针14位于底座4上方1cm左右。
4)探针14位置校正后,按下控制器9的下降按钮,使得FDR位移传感器1垂直匀速下降,当探针14完全没入待测土体,传感器1底部与土体表面密切贴合时,按下停止键,升降装置停止运行。
5)记录并保存控制器9显示传感器所测得的土体体积含水率。
6)按下控制器9的上升键,使探针14拔出所测土体,待探针14针头离开土体表面,距离底座4上表面1cm时,按下控制器9的停止键。
7)在传感器探针插入位置,利用环刀法测得原位土体的天然湿密度ρ。
8)将测得的湿密度输入控制器9,利用下述公式计算得到原位土体的质量含水率和干密度,在控制器液晶屏上显示测试结果,并将测试数据存储至控制器内置硬盘中。
ρd=ρ-ρwθv
其中,w为土体质量含水率,ρ为湿密度,ρd为干密度,ρw为水的密度,θv为体积含水率;
9)清理探针4表面残余土体,重复上述步骤4)~8),对同一试点进行三次以上测量,取平均值。
Claims (5)
1.一种土体含水率和干密度检测装置,包括FDR传感器,其特征在于:包括固定系统、升降检测系统、操作显示系统、环刀法测试系统;
固定系统由底座、支撑平台和连接支撑底座与支撑平台的支撑螺杆构成,用于支撑升降检测系统;
升降检测系统由电机、升降传动装置、升降螺杆和FDR传感器构成;电机与升降传动装置驱动连接,升降传动装置固定于支撑平台上方并通过支撑平台中心的通孔与升降螺杆驱动连接实现升降,升降螺杆底部固定FDR传感器,FDR传感器的探针位于底座中心设置的探测通孔竖直上方;
操作显示系统包括控制器和驱动电源;
环刀法测试系统包括标准环刀、取样器以及便携式高精度电子天平。
2.根据权利要求1所述的土体含水率和干密度检测装置,其特征在于:所述底座两侧设置有通过铰链铰接的、可折叠的脚踏板。
3.根据权利要求1所述的土体含水率和干密度检测装置,其特征在于:FDR传感器上端设置螺纹杆,螺纹杆通过螺纹与升降螺杆可拆卸联接。
4.根据权利要求1所述的土体含水率和干密度检测装置,其特征在于:FDR传感器侧面设有数据接口,用于联接数据传导线并与控制器连接。
5.一种土体含水率和干密度检测方法,其特征在于包括以下步骤:
1)在碾压施工后的工程场地,选取试点进行数据采集,试样点表面土体应平整,且无坚硬石块;
2)将FDR传感器试验装置平整放置在所测试点,操作人员双脚踩在底座两侧角踏板上,为传感器探针的插入和拔出提供反力;
3)通过控制器对FDR传感器的探针位置进行校正,使得探针位于底座上方1cm;
4)探针位置校正后,按下控制器的下降按钮,使得FDR位移传感器垂直匀速下降,当探针完全插入待测土体,传感器底部与土体表面密切贴合时,按下停止键,升降装置停止运行;
5)按下控制器上FDR传感器的数据采集按钮,采集并记录原位土体的体积含水率θv;
6)按下上升键,将传感器探针拔出所测土体,待探针针头离开土体表面,距离底座1cm时,按下停止键;
7)在传感器探针插入位置,利用环刀法取样,并采用便携式高精度电子天平测得土样质量,根据环刀体积计算出原位土体的湿密度ρ;
8)将测得的湿密度输入操作显示系统,利用下述公式求得原位土体的质量含水率和干密度,在控制器液晶屏上显示测试结果,同时将测试数据存储至控制器内置硬盘中。
ρd=ρ-ρwθv
其中,w为土体质量含水率,ρ为湿密度,ρd为干密度,ρw为水的密度,θv为体积含水率;
9)清理探针表面残余土体,重复上述步骤4)至8),对同一测试点至少测量三次,取平均值。
Priority Applications (1)
| Application Number | Priority Date | Filing Date | Title |
|---|---|---|---|
| CN202211303390.0A CN115538406A (zh) | 2022-10-24 | 2022-10-24 | 一种土体含水率和干密度检测装置及其检测方法 |
Applications Claiming Priority (1)
| Application Number | Priority Date | Filing Date | Title |
|---|---|---|---|
| CN202211303390.0A CN115538406A (zh) | 2022-10-24 | 2022-10-24 | 一种土体含水率和干密度检测装置及其检测方法 |
Publications (1)
| Publication Number | Publication Date |
|---|---|
| CN115538406A true CN115538406A (zh) | 2022-12-30 |
Family
ID=84719330
Family Applications (1)
| Application Number | Title | Priority Date | Filing Date |
|---|---|---|---|
| CN202211303390.0A Pending CN115538406A (zh) | 2022-10-24 | 2022-10-24 | 一种土体含水率和干密度检测装置及其检测方法 |
Country Status (1)
| Country | Link |
|---|---|
| CN (1) | CN115538406A (zh) |
Cited By (1)
| Publication number | Priority date | Publication date | Assignee | Title |
|---|---|---|---|---|
| WO2024216853A1 (zh) * | 2023-04-17 | 2024-10-24 | 长安大学 | 一种孔内土体水分原位测试仪及方法 |
Citations (4)
| Publication number | Priority date | Publication date | Assignee | Title |
|---|---|---|---|---|
| CN203824956U (zh) * | 2013-11-20 | 2014-09-10 | 西北农林科技大学 | 一种基于频域反射法的管针式土壤含水率检测装置 |
| CN111566477A (zh) * | 2018-01-23 | 2020-08-21 | 丹尼斯·M·安德森 | 使用实验室校准的测试设备和样本数据分析多孔材料 |
| CN111650257A (zh) * | 2020-07-09 | 2020-09-11 | 云南农业大学 | 一种贯入式土体含水率测试仪 |
| CN114264281A (zh) * | 2022-02-14 | 2022-04-01 | 南通大学 | 一种软黏土沉降及液性指数测定装置及测定方法 |
-
2022
- 2022-10-24 CN CN202211303390.0A patent/CN115538406A/zh active Pending
Patent Citations (4)
| Publication number | Priority date | Publication date | Assignee | Title |
|---|---|---|---|---|
| CN203824956U (zh) * | 2013-11-20 | 2014-09-10 | 西北农林科技大学 | 一种基于频域反射法的管针式土壤含水率检测装置 |
| CN111566477A (zh) * | 2018-01-23 | 2020-08-21 | 丹尼斯·M·安德森 | 使用实验室校准的测试设备和样本数据分析多孔材料 |
| CN111650257A (zh) * | 2020-07-09 | 2020-09-11 | 云南农业大学 | 一种贯入式土体含水率测试仪 |
| CN114264281A (zh) * | 2022-02-14 | 2022-04-01 | 南通大学 | 一种软黏土沉降及液性指数测定装置及测定方法 |
Non-Patent Citations (2)
| Title |
|---|
| "复阻抗法土体密湿度现场检测标准", pages 1 - 36, Retrieved from the Internet <URL:http://hnjs.henan.gov.cn/2020/05-13/1913849.html> * |
| 率和干密度的对比研究 李银;臧耀辉;王柳江;孟运庭;毛航宇,任勇: "不同 FDR 传感器和计算模型测量土体质量 含水率和干密度的对比研究", 《水利水电技术(中英文)》, 20 September 2022 (2022-09-20), pages 386 - 393 * |
Cited By (1)
| Publication number | Priority date | Publication date | Assignee | Title |
|---|---|---|---|---|
| WO2024216853A1 (zh) * | 2023-04-17 | 2024-10-24 | 长安大学 | 一种孔内土体水分原位测试仪及方法 |
Similar Documents
| Publication | Publication Date | Title |
|---|---|---|
| WO2017067097A1 (zh) | 实时检测水泥搅拌桩桩体水泥含量的测试系统和测试方法 | |
| CN115538406A (zh) | 一种土体含水率和干密度检测装置及其检测方法 | |
| CN115455712A (zh) | 一种基于响应曲面法的土体压实度检测方法 | |
| CN216620950U (zh) | 一种公路工程监理用桩孔孔径检测设备 | |
| CN108871996B (zh) | 一种现场测定土壤质量含水量和土壤容重的方法 | |
| CN212646386U (zh) | 一种便携式土体原位密度测试仪 | |
| CN216432786U (zh) | 一种便携可拆卸式面层厚度检测工具 | |
| CN221959930U (zh) | 一种适用于软土的十字板剪切试验装置 | |
| CN220538604U (zh) | 一种厚层风积沙路基压实度快速检测机 | |
| CN221593868U (zh) | 一种建筑工程垂直度检测机构 | |
| CN209559632U (zh) | 一种公路桥梁承载能力检测装置 | |
| CN215180859U (zh) | 一种建筑施工智能测量装置 | |
| CN218956135U (zh) | 一种采样装置 | |
| CN213455252U (zh) | 一种地基基础施工沉渣厚度的检测装置 | |
| CN212228655U (zh) | 一种改良型混凝土流动性测试装置 | |
| CN113356174B (zh) | 检测软岩和土质边坡强度的多角度贯入装置及使用方法 | |
| CN214310026U (zh) | 一种建筑施工现场混凝土塌落度试验专用检测工具 | |
| CN219320300U (zh) | 一种便于使用的坍落度桶 | |
| CN220751031U (zh) | 一种土方松铺厚度检测器 | |
| CN112326935A (zh) | 一种适用于土壤检测的深层土壤温湿度测试装置 | |
| CN211120976U (zh) | 一种施工用土方厚度检测装置 | |
| CN220932701U (zh) | 一种混凝土稠度检测装置 | |
| CN222028263U (zh) | 一种混凝土塌落度检测装置 | |
| CN218524732U (zh) | 一种新拌混凝土坍落度检测装置 | |
| CN212109834U (zh) | 一种建筑工程混凝土结构构件厚度即时检测仪 |
Legal Events
| Date | Code | Title | Description |
|---|---|---|---|
| PB01 | Publication | ||
| PB01 | Publication | ||
| SE01 | Entry into force of request for substantive examination | ||
| SE01 | Entry into force of request for substantive examination |


