CN115533652A - 一种阀门加工用的一体化生产装置 - Google Patents

一种阀门加工用的一体化生产装置 Download PDF

Info

Publication number
CN115533652A
CN115533652A CN202211144304.6A CN202211144304A CN115533652A CN 115533652 A CN115533652 A CN 115533652A CN 202211144304 A CN202211144304 A CN 202211144304A CN 115533652 A CN115533652 A CN 115533652A
Authority
CN
China
Prior art keywords
fixedly connected
frame
mounting
production device
fixed
Prior art date
Legal status (The legal status is an assumption and is not a legal conclusion. Google has not performed a legal analysis and makes no representation as to the accuracy of the status listed.)
Pending
Application number
CN202211144304.6A
Other languages
English (en)
Inventor
叶迅良
金卡迪
叶超超
胡道忠
俞建国
李中政
周财慈
黄金柱
Current Assignee (The listed assignees may be inaccurate. Google has not performed a legal analysis and makes no representation or warranty as to the accuracy of the list.)
Zhejiang Bertley Technology Co ltd
Original Assignee
Zhejiang Bertley Technology Co ltd
Priority date (The priority date is an assumption and is not a legal conclusion. Google has not performed a legal analysis and makes no representation as to the accuracy of the date listed.)
Filing date
Publication date
Application filed by Zhejiang Bertley Technology Co ltd filed Critical Zhejiang Bertley Technology Co ltd
Priority to CN202211144304.6A priority Critical patent/CN115533652A/zh
Publication of CN115533652A publication Critical patent/CN115533652A/zh
Pending legal-status Critical Current

Links

Images

Classifications

    • BPERFORMING OPERATIONS; TRANSPORTING
    • B24GRINDING; POLISHING
    • B24BMACHINES, DEVICES, OR PROCESSES FOR GRINDING OR POLISHING; DRESSING OR CONDITIONING OF ABRADING SURFACES; FEEDING OF GRINDING, POLISHING, OR LAPPING AGENTS
    • B24B9/00Machines or devices designed for grinding edges or bevels on work or for removing burrs; Accessories therefor
    • BPERFORMING OPERATIONS; TRANSPORTING
    • B24GRINDING; POLISHING
    • B24BMACHINES, DEVICES, OR PROCESSES FOR GRINDING OR POLISHING; DRESSING OR CONDITIONING OF ABRADING SURFACES; FEEDING OF GRINDING, POLISHING, OR LAPPING AGENTS
    • B24B27/00Other grinding machines or devices
    • B24B27/0076Other grinding machines or devices grinding machines comprising two or more grinding tools
    • BPERFORMING OPERATIONS; TRANSPORTING
    • B24GRINDING; POLISHING
    • B24BMACHINES, DEVICES, OR PROCESSES FOR GRINDING OR POLISHING; DRESSING OR CONDITIONING OF ABRADING SURFACES; FEEDING OF GRINDING, POLISHING, OR LAPPING AGENTS
    • B24B41/00Component parts such as frames, beds, carriages, headstocks
    • B24B41/06Work supports, e.g. adjustable steadies
    • BPERFORMING OPERATIONS; TRANSPORTING
    • B24GRINDING; POLISHING
    • B24BMACHINES, DEVICES, OR PROCESSES FOR GRINDING OR POLISHING; DRESSING OR CONDITIONING OF ABRADING SURFACES; FEEDING OF GRINDING, POLISHING, OR LAPPING AGENTS
    • B24B47/00Drives or gearings; Equipment therefor
    • B24B47/10Drives or gearings; Equipment therefor for rotating or reciprocating working-spindles carrying grinding wheels or workpieces
    • B24B47/12Drives or gearings; Equipment therefor for rotating or reciprocating working-spindles carrying grinding wheels or workpieces by mechanical gearing or electric power
    • BPERFORMING OPERATIONS; TRANSPORTING
    • B24GRINDING; POLISHING
    • B24BMACHINES, DEVICES, OR PROCESSES FOR GRINDING OR POLISHING; DRESSING OR CONDITIONING OF ABRADING SURFACES; FEEDING OF GRINDING, POLISHING, OR LAPPING AGENTS
    • B24B47/00Drives or gearings; Equipment therefor
    • B24B47/22Equipment for exact control of the position of the grinding tool or work at the start of the grinding operation
    • BPERFORMING OPERATIONS; TRANSPORTING
    • B24GRINDING; POLISHING
    • B24BMACHINES, DEVICES, OR PROCESSES FOR GRINDING OR POLISHING; DRESSING OR CONDITIONING OF ABRADING SURFACES; FEEDING OF GRINDING, POLISHING, OR LAPPING AGENTS
    • B24B55/00Safety devices for grinding or polishing machines; Accessories fitted to grinding or polishing machines for keeping tools or parts of the machine in good working condition
    • B24B55/06Dust extraction equipment on grinding or polishing machines
    • BPERFORMING OPERATIONS; TRANSPORTING
    • B24GRINDING; POLISHING
    • B24BMACHINES, DEVICES, OR PROCESSES FOR GRINDING OR POLISHING; DRESSING OR CONDITIONING OF ABRADING SURFACES; FEEDING OF GRINDING, POLISHING, OR LAPPING AGENTS
    • B24B55/00Safety devices for grinding or polishing machines; Accessories fitted to grinding or polishing machines for keeping tools or parts of the machine in good working condition
    • B24B55/12Devices for exhausting mist of oil or coolant; Devices for collecting or recovering materials resulting from grinding or polishing, e.g. of precious metals, precious stones, diamonds or the like
    • BPERFORMING OPERATIONS; TRANSPORTING
    • B24GRINDING; POLISHING
    • B24DTOOLS FOR GRINDING, BUFFING OR SHARPENING
    • B24D5/00Bonded abrasive wheels, or wheels with inserted abrasive blocks, designed for acting only by their periphery; Bushings or mountings therefor
    • BPERFORMING OPERATIONS; TRANSPORTING
    • B24GRINDING; POLISHING
    • B24DTOOLS FOR GRINDING, BUFFING OR SHARPENING
    • B24D5/00Bonded abrasive wheels, or wheels with inserted abrasive blocks, designed for acting only by their periphery; Bushings or mountings therefor
    • B24D5/06Bonded abrasive wheels, or wheels with inserted abrasive blocks, designed for acting only by their periphery; Bushings or mountings therefor with inserted abrasive blocks, e.g. segmental

Landscapes

  • Engineering & Computer Science (AREA)
  • Mechanical Engineering (AREA)
  • Grinding And Polishing Of Tertiary Curved Surfaces And Surfaces With Complex Shapes (AREA)

Abstract

本发明属于阀门加工领域,尤其是一种阀门加工用的一体化生产装置,针对现有的阀门在生产时,部分采用浇筑的方式制成,其管道内壁则容易产生毛刺或凸粒,影响使用时的介质流通,严重会造成管道的抖动,影响生产安全的问题,现提出如下方案,其包括机架,所述机架的上表面开设有两个贯穿的滑道,两个滑道内均滑动连接有滑动架,滑动架的顶部均设有安装架,所述滑动架与安装架之间设有用于对安装架高度调整的调整机构,本发明中,能够使打磨片展开对阀门内部进行打磨,并在打磨片脱离阀门时,通过橡胶片将阀门内的打磨出的杂质带出,降低人们的劳动强度,同时方便人们对打磨出的杂质进行收集,还能够避免杂质留存在导料斗上。

Description

一种阀门加工用的一体化生产装置
技术领域
本发明涉及阀门加工技术领域,尤其涉及一种阀门加工用的一体化生产装置。
背景技术
众所周知,阀门是用来开闭管路、控制流向、调节和控制输送介质的参数(温度、压力和流量)的管路附件。根据其功能,可分为关断阀、止回阀、调节阀等。
阀门是流体输送系统中的控制部件,具有截止、调节、导流、防止逆流、稳压、分流或溢流泄压等功能。用于流体控制系统的阀门,从最简单的截止阀到极为复杂的自控系统中所用的各种阀门,其品种和规格相当繁多。
而阀门在使用时,需要内壁光滑,但阀门在生产时,部分采用浇筑的方式制成,其管道内壁则容易产生毛刺或凸粒,影响使用时的介质流通,严重会造成管道的抖动,影响生产安全,为此提出一种阀门加工用的一体化生产装置。
发明内容
本发明的目的是为了解决现有技术中存在阀门在生产时,部分采用浇筑的方式制成,其管道内壁则容易产生毛刺或凸粒,影响使用时的介质流通,严重会造成管道的抖动,影响生产安全的缺点,而提出的一种阀门加工用的一体化生产装置。
为了实现上述目的,本发明采用了如下技术方案:
一种阀门加工用的一体化生产装置,包括机架,所述机架的上表面开设有两个贯穿的滑道,两个滑道内均滑动连接有滑动架,滑动架的顶部均设有安装架,所述滑动架与安装架之间设有用于对安装架高度调整的调整机构,所述安装架的一侧均设有用于打磨的打磨机构;
所述打磨机构包括安装轴和第一电机,所述安装轴转动连接在安装架的一侧,所述安装轴的圆周外壁固定连接有多组固定块,同一组所述固定块之间均转动连接有转轴,转轴的圆周外壁均固定连接有打磨片和固定片,所述固定片的一侧均固定连接有橡胶片,所述固定片倾斜设置,所述安装轴的圆周外壁固定连接有两个扭簧,两个扭簧的另一端分别与其中两个固定块相固定,所述第一电机固定连接在安装架的上表面,所述安装架输出轴的一端与安装轴相固定,所述机架的顶部设有用于驱动滑动架移动的驱动机构。
进一步的,所述驱动机构包括驱动电机,所述驱动电机固定连接在机架的底部,所述驱动电机输出轴的一端固定连接有双向螺纹杆,所述双向螺纹杆穿过两个滑动架并与滑动架螺纹连接。
进一步的,所述机架的上表面开设有两个贯穿的排渣口,排渣口的底部均固定连接有导料斗,导料斗与双向螺纹杆之间均设有用于避免碎屑停留在导料斗内的敲击机构。
进一步的,所述敲击机构包括导轨、安装环和多个定位片,所述导轨固定连接在导料斗的底部,所述导轨内滑动连接有滑板,滑板的底部开设有导向槽,导向槽内滑动连接有滑片,滑片的一侧固定连接第二弹簧,第二弹簧的另一端与滑板相固定,所述滑板的底部固定连接有多个敲杆,多个所述定位片固定连接在滑板的底部,所述滑板的一侧固定连接有第三弹簧,所述第三弹簧的另一端与导料斗相固定,所述安装环固定连接在双向螺纹杆的圆周,所述安装环的圆周固定连接有多个拨块。
进一步的,所述机架的底部固定连接有两个导向架,两个导向架内均滑动连接有收集盒,两个所述收集盒分别位于两个导料斗的下方。
进一步的,所述机架的上表面开设有贯穿的安装口,安装口内转动连接有两个安装辊,两个安装辊之间传动连接有传导带,传导带的上表面固定连接有夹板,所述机架的上表面固定连接有固定板,所述安装口内转动连接有多个支撑辊,所述机架的上表面设有两个用于防止安装辊转动的定位机构。
进一步的,所述定位机构包括安装槽,所述安装槽开设在机架的上表面,所述安装槽内滑动连接有伸缩杆,所述伸缩杆的圆周外壁固定连接有第一弹簧,所述伸缩杆的一端固定连接有锥头。
进一步的,所述调整机构包括单向螺纹杆和两个导向杆,所述单向螺纹杆转动连接在滑动架的顶部,所述单向螺纹杆的另一端穿过安装架并与安装架螺纹连接,两个所述导向杆均固定连接在滑动架的顶部,两个所述导向杆的另一端均穿过安装架并与安装架滑动连接。
与现有技术相比,本发明的有益效果是:
1.本发明通过能够进行转动的打磨片和倾斜的固定片的配合使用,使得第一电机启动后,在离心力的作用下能够使打磨片展开对阀门内部进行打磨,并在打磨片脱离阀门时,通过橡胶片将阀门内的打磨出的杂质带出,降低人们的劳动强度。
2.本发明通过在机架的底部安装导料斗和收集盒的设置,使得打磨出的杂质能够落入收集盒中,方便工作人员的收集。
3.本发明通过对导料斗的底部进行敲击的设置,使得安装环在转动时,能够带动滑板进行移动,进而通过敲杆对定位片的敲击使导料斗发生震动,避免碎屑留存在导料斗上。
4.本发明通过安装辊和传导带的设置,使得将阀门放置在传导带上后,推动传导带即可带动阀门移动,并通过锥头对安装辊进行固定,减少了人们搬运的距离。
本发明中,能够使打磨片展开对阀门内部进行打磨,并在打磨片脱离阀门时,通过橡胶片将阀门内的打磨出的杂质带出,降低人们的劳动强度,同时方便人们对打磨出的杂质进行收集,还能够避免杂质留存在导料斗上。
附图说明
图1为本发明提出的一种阀门加工用的一体化生产装置的第一种视角三维结构示意图;
图2为本发明提出的一种阀门加工用的一体化生产装置的第二种视角三维结构示意图;
图3为本发明提出的一种阀门加工用的一体化生产装置的打磨机构结构示意图;
图4为本发明提出的一种阀门加工用的一体化生产装置的第三种视角三维结构示意图;
图5为本发明提出的一种阀门加工用的一体化生产装置的导料斗结构示意图;
图6为本发明提出的一种阀门加工用的一体化生产装置的A点放大结构示意图。
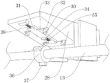
图中:1、机架;2、滑道;3、滑动架;4、安装架;5、第一电机;6、打磨机构;7、固定板;8、安装辊;9、传导带;10、夹板;11、支撑辊;12、排渣口;13、双向螺纹杆;14、导向架;15、收集盒;16、伸缩杆;17、第一弹簧;18、锥头;19、单向螺纹杆;20、导向杆;21、安装轴;22、固定块;23、转轴;24、打磨片;25、扭簧;26、固定片;27、橡胶片;28、导料斗;29、驱动电机;30、导轨;31、滑板;32、定位片;33、敲杆;34、滑片;35、第二弹簧;36、安装环;37、拨块;38、第三弹簧。
具体实施方式
下面将结合本发明实施例中的附图,对本发明实施例中的技术方案进行清楚、完整地描述,显然,所描述的实施例仅仅是本发明一部分实施例,而不是全部的实施例。
实施例一
参照图1-图6,一种阀门加工用的一体化生产装置,包括机架1,机架1的上表面开设有两个贯穿的滑道2,两个滑道2内均滑动连接有滑动架3,滑动架3的顶部均设有安装架4,滑动架3与安装架4之间设有用于对安装架4高度调整的调整机构,安装架4的一侧均设有用于打磨的打磨机构6,打磨机构6包括安装轴21和第一电机5,安装轴21转动连接在安装架4的一侧,安装轴21的圆周外壁固定连接有多组固定块22,同一组固定块22之间均转动连接有转轴23,转轴23的圆周外壁均固定连接有打磨片24和固定片26,固定片26的一侧均固定连接有橡胶片27,固定片26倾斜设置,安装轴21的圆周外壁固定连接有两个扭簧25,两个扭簧25的另一端分别与其中两个固定块22相固定,第一电机5固定连接在安装架4的上表面,安装架4输出轴的一端与安装轴21相固定,机架1的顶部设有用于驱动滑动架3移动的驱动机构。
实施例二
参照图1-图6,本发明提供一种新的技术方案:一种阀门加工用的一体化生产装置,包括机架1,机架1的上表面开设有两个贯穿的滑道2,两个滑道2内均滑动连接有滑动架3,滑动架3的顶部均设有安装架4,滑动架3与安装架4之间设有用于对安装架4高度调整的调整机构,调整机构包括单向螺纹杆19和两个导向杆20,单向螺纹杆19转动连接在滑动架3的顶部,单向螺纹杆19的另一端穿过安装架4并与安装架4螺纹连接,两个导向杆20均固定连接在滑动架3的顶部,两个导向杆20的另一端均穿过安装架4并与安装架4滑动连接,转动单向螺纹杆19,单向螺纹杆19能够带动安装架4进行移动,从而调整打磨机构6的高度,安装架4的一侧均设有用于打磨的打磨机构6,打磨机构6包括安装轴21和第一电机5,安装轴21转动连接在安装架4的一侧,安装轴21的圆周外壁固定连接有多组固定块22,同一组固定块22之间均转动连接有转轴23,转轴23的圆周外壁均固定连接有打磨片24和固定片26,固定片26的一侧均固定连接有橡胶片27,固定片26倾斜设置,安装轴21的圆周外壁固定连接有两个扭簧25,两个扭簧25的另一端分别与其中两个固定块22相固定,扭簧25方便安装轴21在转动后使其复位,第一电机5固定连接在安装架4的上表面,安装架4输出轴的一端与安装轴21相固定,第一电机5带动安装轴21转动,安装轴21带动固定块22转动,同时打磨片24与固定片26在离心力的作用下发生转动,并与阀门管道内壁接触,通过打磨片24对阀门管道内壁进行打磨,机架1的顶部设有用于驱动滑动架3移动的驱动机构,驱动机构包括驱动电机29,驱动电机29固定连接在机架1的底部,驱动电机29输出轴的一端固定连接有双向螺纹杆13,双向螺纹杆13穿过两个滑动架3并与滑动架3螺纹连接,驱动双向螺纹杆13,双向螺纹杆13能够带动滑动架3进行移动。
本发明中,机架1的上表面开设有两个贯穿的排渣口12,排渣口12的底部均固定连接有导料斗28,通过导料斗28方便对碎屑进行排放,导料斗28与双向螺纹杆13之间均设有用于避免碎屑停留在导料斗28内的敲击机构,敲击机构包括导轨30、安装环36和多个定位片32,导轨30固定连接在导料斗28的底部,导轨30内滑动连接有滑板31,滑板31的底部开设有导向槽,导向槽内滑动连接有滑片34,滑片34的一侧固定连接第二弹簧35,第二弹簧35的另一端与滑板31相固定,滑板31的底部固定连接有多个敲杆33,多个定位片32固定连接在滑板31的底部,滑板31的一侧固定连接有第三弹簧38,第三弹簧38的另一端与导料斗28相固定,安装环36固定连接在双向螺纹杆13的圆周,安装环36的圆周固定连接有多个拨块37,安装环36上的拨块37与滑片34接触时,推动拨块37移动,拨块37带动滑板31移动,当拨块37与滑片34脱离接触后,滑片34在第三弹簧38的推动下复位,并通过敲杆33对定位片32进行敲击,避免杂质停留在导料斗28内,机架1的底部固定连接有两个导向架14,两个导向架14内均滑动连接有收集盒15,两个收集盒15分别位于两个导料斗28的下方,通过收集盒15方便人们对碎屑进行收集。
需要说明的是,机架1的上表面开设有贯穿的安装口,安装口内转动连接有两个安装辊8,两个安装辊8之间传动连接有传导带9,传导带9的上表面固定连接有夹板10,机架1的上表面固定连接有固定板7,安装口内转动连接有多个支撑辊11,将阀门放置在传导带9上并接触夹板10,然后推动夹板10,夹板10带动传导带9转动,方便人们对阀门的移动,机架1的上表面设有两个用于防止安装辊8转动的定位机构,定位机构包括安装槽,安装槽开设在机架1的上表面,安装槽内滑动连接有伸缩杆16,伸缩杆16的圆周外壁固定连接有第一弹簧17,伸缩杆16的一端固定连接有锥头18,当滑动架3移动时,推动伸缩杆16,伸缩杆16一端的锥头18与安装辊8接触,防止安装辊8的转动,而伸缩杆16为现有零件,能够进行伸缩,同时第一弹簧17方便伸缩杆16分复位。
工作原理:使用时,将阀门放置在传导带9上并接触夹板10,然后推动夹板10,夹板10带动传导带9转动,随后使阀门接触固定板7,启动驱动电机29,驱动电机29带动双向螺纹杆13转动,双向螺纹杆13带动滑动架3移动,进而使打磨机构6插入阀门管道中,随后启动第一电机5,第一电机5带动安装轴21转动,安装轴21带动固定块22转动,同时打磨片24与固定片26在离心力的作用下发生转动,并与阀门管道内壁接触,通过打磨片24对阀门管道内壁进行打磨,打磨结束后,再次启动驱动电机29,使打磨机构6脱离阀门,同时由于固定片26的倾斜设置,使得固定片26在脱离阀门的过程中,通过橡胶片27将打磨完成的杂质带出,并落在导料斗28中,通过导料斗28进入到收集盒15中,而在双向螺纹杆13转动的同时还带动安装环36转动,安装环36上的拨块37与滑片34接触时,推动拨块37移动,拨块37带动滑板31移动,当拨块37与滑片34脱离接触后,滑片34在第三弹簧38的推动下复位,并通过敲杆33对定位片32进行敲击,避免杂质停留在导料斗28内,而在安装环36反方向转动时,拨块37则推动滑片34在滑板31的底部滑动,并在脱离接触后,滑片34在第二弹簧35的推动下复位。
然而,如本领域技术人员所熟知的,第一电机5和驱动电机29的工作原理和接线方法是司空见惯的,其均属于常规手段或者公知常识,在此就不再赘述,本领域技术人员可以根据其需要或者便利进行任意的选配。
以上所述,仅为本发明较佳的具体实施方式,但本发明的保护范围并不局限于此,任何熟悉本技术领域的技术人员在本发明揭露的技术范围内,根据本发明的技术方案及其发明构思加以等同替换或改变,都应涵盖在本发明的保护范围之内。

Claims (8)

1.一种阀门加工用的一体化生产装置,包括机架(1),其特征在于,所述机架(1)的上表面开设有两个贯穿的滑道(2),两个滑道(2)内均滑动连接有滑动架(3),滑动架(3)的顶部均设有安装架(4),所述滑动架(3)与安装架(4)之间设有用于对安装架(4)高度调整的调整机构,所述安装架(4)的一侧均设有用于打磨的打磨机构(6);
所述打磨机构(6)包括安装轴(21)和第一电机(5),所述安装轴(21)转动连接在安装架(4)的一侧,所述安装轴(21)的圆周外壁固定连接有多组固定块(22),同一组所述固定块(22)之间均转动连接有转轴(23),转轴(23)的圆周外壁均固定连接有打磨片(24)和固定片(26),所述固定片(26)的一侧均固定连接有橡胶片(27),所述固定片(26)倾斜设置,所述安装轴(21)的圆周外壁固定连接有两个扭簧(25),两个扭簧(25)的另一端分别与其中两个固定块(22)相固定,所述第一电机(5)固定连接在安装架(4)的上表面,所述安装架(4)输出轴的一端与安装轴(21)相固定,所述机架(1)的顶部设有用于驱动滑动架(3)移动的驱动机构。
2.根据权利要求1所述的一种阀门加工用的一体化生产装置,其特征在于,所述驱动机构包括驱动电机(29),所述驱动电机(29)固定连接在机架(1)的底部,所述驱动电机(29)输出轴的一端固定连接有双向螺纹杆(13),所述双向螺纹杆(13)穿过两个滑动架(3)并与滑动架(3)螺纹连接。
3.根据权利要求2所述的一种阀门加工用的一体化生产装置,其特征在于,所述机架(1)的上表面开设有两个贯穿的排渣口(12),排渣口(12)的底部均固定连接有导料斗(28),导料斗(28)与双向螺纹杆(13)之间均设有用于避免碎屑停留在导料斗(28)内的敲击机构。
4.根据权利要求3所述的一种阀门加工用的一体化生产装置,其特征在于,所述敲击机构包括导轨(30)、安装环(36)和多个定位片(32),所述导轨(30)固定连接在导料斗(28)的底部,所述导轨(30)内滑动连接有滑板(31),滑板(31)的底部开设有导向槽,导向槽内滑动连接有滑片(34),滑片(34)的一侧固定连接第二弹簧(35),第二弹簧(35)的另一端与滑板(31)相固定,所述滑板(31)的底部固定连接有多个敲杆(33),多个所述定位片(32)固定连接在滑板(31)的底部,所述滑板(31)的一侧固定连接有第三弹簧(38),所述第三弹簧(38)的另一端与导料斗(28)相固定,所述安装环(36)固定连接在双向螺纹杆(13)的圆周,所述安装环(36)的圆周固定连接有多个拨块(37)。
5.根据权利要求4所述的一种阀门加工用的一体化生产装置,其特征在于,所述机架(1)的底部固定连接有两个导向架(14),两个导向架(14)内均滑动连接有收集盒(15),两个所述收集盒(15)分别位于两个导料斗(28)的下方。
6.根据权利要求1所述的一种阀门加工用的一体化生产装置,其特征在于,所述机架(1)的上表面开设有贯穿的安装口,安装口内转动连接有两个安装辊(8),两个安装辊(8)之间传动连接有传导带(9),传导带(9)的上表面固定连接有夹板(10),所述机架(1)的上表面固定连接有固定板(7),所述安装口内转动连接有多个支撑辊(11),所述机架(1)的上表面设有两个用于防止安装辊(8)转动的定位机构。
7.根据权利要求6所述的一种阀门加工用的一体化生产装置,其特征在于,所述定位机构包括安装槽,所述安装槽开设在机架(1)的上表面,所述安装槽内滑动连接有伸缩杆(16),所述伸缩杆(16)的圆周外壁固定连接有第一弹簧(17),所述伸缩杆(16)的一端固定连接有锥头(18)。
8.根据权利要求1所述的一种阀门加工用的一体化生产装置,其特征在于,所述调整机构包括单向螺纹杆(19)和两个导向杆(20),所述单向螺纹杆(19)转动连接在滑动架(3)的顶部,所述单向螺纹杆(19)的另一端穿过安装架(4)并与安装架(4)螺纹连接,两个所述导向杆(20)均固定连接在滑动架(3)的顶部,两个所述导向杆(20)的另一端均穿过安装架(4)并与安装架(4)滑动连接。
CN202211144304.6A 2022-09-20 2022-09-20 一种阀门加工用的一体化生产装置 Pending CN115533652A (zh)

Priority Applications (1)

Application Number Priority Date Filing Date Title
CN202211144304.6A CN115533652A (zh) 2022-09-20 2022-09-20 一种阀门加工用的一体化生产装置

Applications Claiming Priority (1)

Application Number Priority Date Filing Date Title
CN202211144304.6A CN115533652A (zh) 2022-09-20 2022-09-20 一种阀门加工用的一体化生产装置

Publications (1)

Publication Number Publication Date
CN115533652A true CN115533652A (zh) 2022-12-30

Family

ID=84727935

Family Applications (1)

Application Number Title Priority Date Filing Date
CN202211144304.6A Pending CN115533652A (zh) 2022-09-20 2022-09-20 一种阀门加工用的一体化生产装置

Country Status (1)

Country Link
CN (1) CN115533652A (zh)

Citations (7)

* Cited by examiner, † Cited by third party
Publication number Priority date Publication date Assignee Title
WO2016166908A1 (ja) * 2015-04-13 2016-10-20 Fsテクニカル株式会社 拡径用ドリルビット
CN112372448A (zh) * 2020-11-16 2021-02-19 湖南大学 一种磨床自适应砂轮装置
CN113400116A (zh) * 2021-08-03 2021-09-17 张忠瑞 一种基于钢管自动化加工的对钢管内外壁同时打磨的装置
CN216179047U (zh) * 2021-11-16 2022-04-05 武汉市新洲区祥瑞工贸有限公司 一种轴套管内孔打磨装置
CN114521362A (zh) * 2022-03-08 2022-05-24 刘伟 林业造林绿化用的集挖坑、覆土功能的种植装置及方法
CN114571282A (zh) * 2022-03-22 2022-06-03 唐工阀门集团有限公司 一种可对阀门连接管口进行切削的装置及工艺
CN217371667U (zh) * 2022-03-17 2022-09-06 江苏龙山管件有限公司 三通生产用打磨收集一体装置

Patent Citations (7)

* Cited by examiner, † Cited by third party
Publication number Priority date Publication date Assignee Title
WO2016166908A1 (ja) * 2015-04-13 2016-10-20 Fsテクニカル株式会社 拡径用ドリルビット
CN112372448A (zh) * 2020-11-16 2021-02-19 湖南大学 一种磨床自适应砂轮装置
CN113400116A (zh) * 2021-08-03 2021-09-17 张忠瑞 一种基于钢管自动化加工的对钢管内外壁同时打磨的装置
CN216179047U (zh) * 2021-11-16 2022-04-05 武汉市新洲区祥瑞工贸有限公司 一种轴套管内孔打磨装置
CN114521362A (zh) * 2022-03-08 2022-05-24 刘伟 林业造林绿化用的集挖坑、覆土功能的种植装置及方法
CN217371667U (zh) * 2022-03-17 2022-09-06 江苏龙山管件有限公司 三通生产用打磨收集一体装置
CN114571282A (zh) * 2022-03-22 2022-06-03 唐工阀门集团有限公司 一种可对阀门连接管口进行切削的装置及工艺

Similar Documents

Publication Publication Date Title
CN104625923A (zh) 金属砂光机
CN110900896A (zh) 一种自动清洗橡胶粉碎机
CN209902943U (zh) 一种陶瓷薄片棱抛的防转角变形的滚筒接触式抛光机
CN108621016A (zh) 一种钢管管头抛光设备
CN212072275U (zh) 一种新型修边机
CN115533652A (zh) 一种阀门加工用的一体化生产装置
CN103801430A (zh) 一种液压加载双动力磨粉机
CN217196383U (zh) 一种生产液体硅胶原料且高度可调的三辊研磨装置
CN111112352A (zh) 高韧性自清洁金刚线母线的生产设备
CN213673514U (zh) 一种基于汽车车盖维修用的快速抛光装置
CN219170534U (zh) 多槽卧式振动研磨机
CN212017970U (zh) 一种金属硅的研磨材料自动对辊装置
CN216457449U (zh) 一种环境监测实验用水样品过滤处理装置
CN116000723A (zh) 一种弹簧精加工设备及其加工方法
CN116100419A (zh) 一种机械加工用的磨床装置
CN108620980A (zh) 一种打磨装置
CN114768364A (zh) 一种数控机床冷却液过滤装置
CN219113032U (zh) 一种皮带轮卧式拉槽机
CN222154934U (zh) 一种不锈钢卷料磨砂机
CN219424502U (zh) 一种大米加工磨浆装置
CN112872950A (zh) 一种过滤设备液压附件加工装置
CN222767986U (zh) 一种玻璃直线磨边机
CN118990210B (zh) 一种塑料管件端口毛刺去除装置
CN115647980B (zh) 一种钢材加工毛边打磨装置
CN117444751B (zh) 一种连续性打磨陶瓷杯口的自动化设备及其工作方法

Legal Events

Date Code Title Description
PB01 Publication
PB01 Publication
SE01 Entry into force of request for substantive examination
SE01 Entry into force of request for substantive examination
RJ01 Rejection of invention patent application after publication

Application publication date: 20221230