CN115532004A - A new type of antimicrobial peptide production cleaning device - Google Patents
A new type of antimicrobial peptide production cleaning device Download PDFInfo
- Publication number
- CN115532004A CN115532004A CN202211246889.2A CN202211246889A CN115532004A CN 115532004 A CN115532004 A CN 115532004A CN 202211246889 A CN202211246889 A CN 202211246889A CN 115532004 A CN115532004 A CN 115532004A
- Authority
- CN
- China
- Prior art keywords
- dust
- filter
- box
- assembly
- fixedly connected
- Prior art date
- Legal status (The legal status is an assumption and is not a legal conclusion. Google has not performed a legal analysis and makes no representation as to the accuracy of the status listed.)
- Pending
Links
Images
Classifications
-
- B—PERFORMING OPERATIONS; TRANSPORTING
- B01—PHYSICAL OR CHEMICAL PROCESSES OR APPARATUS IN GENERAL
- B01D—SEPARATION
- B01D46/00—Filters or filtering processes specially modified for separating dispersed particles from gases or vapours
- B01D46/66—Regeneration of the filtering material or filter elements inside the filter
- B01D46/68—Regeneration of the filtering material or filter elements inside the filter by means acting on the cake side involving movement with regard to the filter elements
- B01D46/681—Regeneration of the filtering material or filter elements inside the filter by means acting on the cake side involving movement with regard to the filter elements by scrapers, brushes or the like
-
- B—PERFORMING OPERATIONS; TRANSPORTING
- B01—PHYSICAL OR CHEMICAL PROCESSES OR APPARATUS IN GENERAL
- B01D—SEPARATION
- B01D46/00—Filters or filtering processes specially modified for separating dispersed particles from gases or vapours
- B01D46/0002—Casings; Housings; Frame constructions
- B01D46/0013—Modules
-
- B—PERFORMING OPERATIONS; TRANSPORTING
- B01—PHYSICAL OR CHEMICAL PROCESSES OR APPARATUS IN GENERAL
- B01D—SEPARATION
- B01D46/00—Filters or filtering processes specially modified for separating dispersed particles from gases or vapours
- B01D46/42—Auxiliary equipment or operation thereof
- B01D46/4227—Manipulating filters or filter elements, e.g. handles or extracting tools
-
- B—PERFORMING OPERATIONS; TRANSPORTING
- B01—PHYSICAL OR CHEMICAL PROCESSES OR APPARATUS IN GENERAL
- B01D—SEPARATION
- B01D46/00—Filters or filtering processes specially modified for separating dispersed particles from gases or vapours
- B01D46/42—Auxiliary equipment or operation thereof
- B01D46/48—Removing dust other than cleaning filters, e.g. by using collecting trays
-
- B—PERFORMING OPERATIONS; TRANSPORTING
- B01—PHYSICAL OR CHEMICAL PROCESSES OR APPARATUS IN GENERAL
- B01D—SEPARATION
- B01D2258/00—Sources of waste gases
- B01D2258/06—Polluted air
-
- Y—GENERAL TAGGING OF NEW TECHNOLOGICAL DEVELOPMENTS; GENERAL TAGGING OF CROSS-SECTIONAL TECHNOLOGIES SPANNING OVER SEVERAL SECTIONS OF THE IPC; TECHNICAL SUBJECTS COVERED BY FORMER USPC CROSS-REFERENCE ART COLLECTIONS [XRACs] AND DIGESTS
- Y02—TECHNOLOGIES OR APPLICATIONS FOR MITIGATION OR ADAPTATION AGAINST CLIMATE CHANGE
- Y02A—TECHNOLOGIES FOR ADAPTATION TO CLIMATE CHANGE
- Y02A50/00—TECHNOLOGIES FOR ADAPTATION TO CLIMATE CHANGE in human health protection, e.g. against extreme weather
- Y02A50/30—Against vector-borne diseases, e.g. mosquito-borne, fly-borne, tick-borne or waterborne diseases whose impact is exacerbated by climate change
Landscapes
- Chemical & Material Sciences (AREA)
- Chemical Kinetics & Catalysis (AREA)
- Filtering Of Dispersed Particles In Gases (AREA)
Abstract
本发明涉及抗菌肽生产设备技术领域,具体是一种新型抗菌肽生产清洁装置,包括:壳体和进气管;集尘机构,所述集尘机构滑动连接设于所述壳体内侧,且与所述进气管相连;吸尘机构,所述吸尘机构设于所述壳体内侧,与所述集尘机构相连;传动组件,所述传动组件设于所述吸尘机构与所述集尘机构之间;其中,所述集尘机构包括:过滤组件,所述过滤组件滑动连接设于所述壳体内侧,与所述吸尘机构相连,且与所述传动组件相连;收纳组件,收纳组件与所述过滤组件可拆卸连接;清扫组件,所述清扫组件设于所述壳体与所述过滤组件之间,通过设置集尘机构,配合所述吸尘机构和传动组件,不仅能完成对灰尘的吸收,而且能对被吸收后的灰尘进行过滤和收集。
The present invention relates to the technical field of antimicrobial peptide production equipment, in particular to a novel antimicrobial peptide production and cleaning device, comprising: a casing and an air intake pipe; The air intake pipe is connected; the dust suction mechanism is arranged inside the housing and connected with the dust collection mechanism; the transmission assembly is arranged between the dust suction mechanism and the dust collection mechanism. Between mechanisms; wherein, the dust collection mechanism includes: a filter assembly, which is slidably connected to the inner side of the housing, connected with the dust suction mechanism, and connected with the transmission assembly; a storage assembly, storing The assembly is detachably connected with the filter assembly; the cleaning assembly is arranged between the housing and the filter assembly, and by setting a dust collection mechanism and cooperating with the dust suction mechanism and the transmission assembly, it can not only complete Absorb dust, and can filter and collect the absorbed dust.
Description
技术领域technical field
本发明涉及抗菌肽生产设备技术领域,具体是一种新型抗菌肽生产清洁装置。The invention relates to the technical field of antimicrobial peptide production equipment, in particular to a novel antimicrobial peptide production cleaning device.
背景技术Background technique
抗菌肽原指昆虫体内经诱导而产生的一类具有抗菌活性的碱性多肽物质。这类活性多肽多数具有强碱性、热稳定性以及广谱抗菌等特点。天然抗菌肽具有选择性免疫激活和调节功能,对败血症有良好的预防和保护作用。Antimicrobial peptides refer to a class of basic polypeptide substances with antibacterial activity induced in insects. Most of these active peptides have the characteristics of strong alkalinity, thermal stability and broad-spectrum antibacterial properties. Natural antimicrobial peptides have selective immune activation and regulation functions, and have good preventive and protective effects on sepsis.
抗菌肽在生产过程中需要对生产环境进行清洁除尘,从而避免导致成品的纯度降低,但是现有的清洁装置不能对粉尘进行收集,导致清洁效果一般,因此,针对以上现状,迫切需要开发一种新型抗菌肽生产清洁装置,以克服当前实际应用中的不足。During the production process of antimicrobial peptides, the production environment needs to be cleaned and dust removed, so as to avoid the reduction of the purity of the finished product, but the existing cleaning devices cannot collect the dust, resulting in a mediocre cleaning effect. Therefore, in view of the above current situation, it is urgent to develop a Novel antimicrobial peptide production cleaning device to overcome deficiencies in current practical applications.
发明内容Contents of the invention
本发明的目的在于提供一种新型抗菌肽生产清洁装置,以解决上述背景技术中提出的问题。The object of the present invention is to provide a novel antimicrobial peptide production and cleaning device to solve the problems raised in the above-mentioned background technology.
为实现上述目的,本发明提供如下技术方案:To achieve the above object, the present invention provides the following technical solutions:
一种新型抗菌肽生产清洁装置,包括:A new type of antimicrobial peptide production cleaning device, including:
壳体和进气管,所述进气管与所述壳体固定连接;a housing and an air intake pipe, the air intake pipe is fixedly connected to the housing;
集尘机构,所述集尘机构滑动连接设于所述壳体内侧,且与所述进气管相连,用于实现对灰尘的过滤与回收;A dust collection mechanism, the dust collection mechanism is slidingly connected to the inside of the housing and connected to the air intake pipe for filtering and recycling dust;
吸尘机构,所述吸尘机构设于所述壳体内侧,与所述集尘机构相连,用于配合所述集尘机构实现对灰尘的吸收;a dust suction mechanism, the dust suction mechanism is arranged inside the housing and connected with the dust collection mechanism, and is used to cooperate with the dust collection mechanism to absorb dust;
传动组件,所述传动组件设于所述吸尘机构与所述集尘机构之间,用于配合所述吸尘机构实现集尘机构的往复运动;A transmission assembly, the transmission assembly is arranged between the dust collection mechanism and the dust collection mechanism, and is used to cooperate with the dust collection mechanism to realize the reciprocating movement of the dust collection mechanism;
其中,所述集尘机构包括:Wherein, the dust collection mechanism includes:
过滤组件,所述过滤组件滑动连接设于所述壳体内侧,与所述吸尘机构相连,且与所述传动组件相连,用于配合所述吸尘机构实现对空气中灰尘的过滤;A filter assembly, the filter assembly is slidingly connected to the inside of the housing, connected to the dust suction mechanism, and connected to the transmission assembly, and is used to cooperate with the dust suction mechanism to filter dust in the air;
收纳组件,收纳组件与所述过滤组件可拆卸连接;a storage component, the storage component is detachably connected to the filter component;
清扫组件,所述清扫组件设于所述壳体与所述过滤组件之间,用于配合所述传动组件实现收纳组件对灰尘的收集。A cleaning component, the cleaning component is arranged between the casing and the filter component, and is used to cooperate with the transmission component to collect dust by the storage component.
与现有技术相比,本发明的有益效果是:Compared with prior art, the beneficial effect of the present invention is:
装置运行时,吸尘机构对空气进行吸收,空气沿进气管进入过滤组件内侧,过滤组件对空气中的灰尘进行过滤,吸尘机构排出的空气会驱动所述传动组件,传动组件驱动所述过滤组件沿所述壳体的壳壁进行上下往复运动,过滤组件在进行移动的过程中会驱动所述清扫组件,清扫组件将留在过滤组件上的灰尘扫入收纳组件内侧,进而完成对灰尘的收集,本申请相对于现有技术中清洁装置不能对粉尘进行收集,导致清洁效果一般,通过设置集尘机构,配合所述吸尘机构和传动组件,不仅能完成对灰尘的吸收,而且能对被吸收后的灰尘进行过滤和收集,避免对环境造成二次污染,保证了清洁效率和清洁效果。When the device is running, the dust suction mechanism absorbs the air, and the air enters the inside of the filter assembly along the intake pipe, and the filter assembly filters the dust in the air. The air discharged by the dust suction mechanism will drive the transmission assembly, and the transmission assembly drives the filter assembly. The assembly reciprocates up and down along the shell wall of the housing, and the filter assembly will drive the cleaning assembly during the movement process, and the cleaning assembly will sweep the dust left on the filter assembly into the inside of the storage assembly, thereby completing the cleaning of the dust Compared with the cleaning device in the prior art, this application cannot collect dust, resulting in general cleaning effect. By setting up a dust collection mechanism and cooperating with the dust suction mechanism and the transmission assembly, not only can the dust be absorbed, but also the dust can be collected. The absorbed dust is filtered and collected to avoid secondary pollution to the environment and ensure cleaning efficiency and cleaning effect.
附图说明Description of drawings
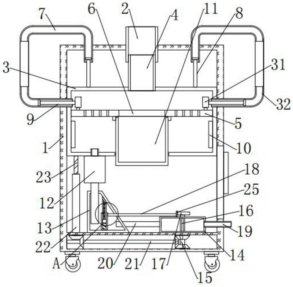
图1为新型抗菌肽生产清洁装置的结构示意图。Figure 1 is a structural schematic diagram of a cleaning device for the production of novel antimicrobial peptides.
图2为新型抗菌肽生产清洁装置中滤箱的俯视图。Fig. 2 is a top view of the filter box in the novel antimicrobial peptide production and cleaning device.
图3为新型抗菌肽生产清洁装置中传动组件的俯视图。Fig. 3 is a top view of the transmission assembly in the novel antimicrobial peptide production and cleaning device.
图4为图1中A处的放大结构示意图。FIG. 4 is a schematic diagram of an enlarged structure at point A in FIG. 1 .
图5为新型抗菌肽生产清洁装置中滤框的结构示意图。Fig. 5 is a structural schematic diagram of a filter frame in a cleaning device for producing novel antimicrobial peptides.
图中:1-壳体,2-进气管,3-滤箱,4-连接管,5-滤板,6-排污口,7-第一活塞管,8-第一活塞件,9-第二活塞件,10-消毒灯,11-集尘箱,12-吸尘泵,13-净化箱,14-传动箱,15-传动杆,16-扇叶,17-凸轮,18-滑杆,19-排气管,20-吹气管,21-从动杆,22-支撑杆,23-螺纹杆,24-导气管,25-推板,26-滑板,27-滤框,28-滤网,29-第二清洁刷,30-弹性件,31-第一清洁刷,32-第二活塞管。In the figure: 1-shell, 2-intake pipe, 3-filter box, 4-connecting pipe, 5-filter plate, 6-drain outlet, 7-first piston tube, 8-first piston part, 9-the first Two piston parts, 10-disinfection lamp, 11-dust box, 12-vacuum pump, 13-purification box, 14-transmission box, 15-transmission rod, 16-fan blade, 17-cam, 18-sliding rod, 19-exhaust pipe, 20-blowing pipe, 21-driven rod, 22-support rod, 23-threaded rod, 24-air guide pipe, 25-push plate, 26-slider, 27-filter frame, 28-filter , 29-the second cleaning brush, 30-elastic member, 31-the first cleaning brush, 32-the second piston tube.
具体实施方式detailed description
下面结合具体实施方式对本专利的技术方案作进一步详细地说明。The technical solution of this patent will be further described in detail below in conjunction with specific embodiments.
下面详细描述本专利的实施例,所述实施例的示例在附图中示出,其中自始至终相同或类似的标号表示相同或类似的元件或具有相同或类似功能的元件。下面通过参考附图描述的实施例是示例性的,仅用于解释本专利,而不能理解为对本专利的限制。Embodiments of the present patent are described in detail below, examples of which are shown in the drawings, wherein the same or similar reference numerals designate the same or similar elements or elements having the same or similar functions throughout. The embodiments described below by referring to the figures are exemplary and are only used for explaining the patent, and should not be construed as limiting the patent.
请参阅图1,本发明的一个实施例中,一种新型抗菌肽生产清洁装置,包括:壳体1和进气管2,所述进气管2与所述壳体1固定连接;集尘机构,所述集尘机构滑动连接设于所述壳体1内侧,且与所述进气管2相连,用于实现对灰尘的过滤与回收;吸尘机构,所述吸尘机构设于所述壳体1内侧,与所述集尘机构相连,用于配合所述集尘机构实现对灰尘的吸收;传动组件,所述传动组件设于所述吸尘机构与所述集尘机构之间,用于配合所述吸尘机构实现集尘机构的往复运动;其中,所述集尘机构包括:过滤组件,所述过滤组件滑动连接设于所述壳体1内侧,与所述吸尘机构相连,且与所述传动组件相连,用于配合所述吸尘机构实现对空气中灰尘的过滤;收纳组件,收纳组件与所述过滤组件可拆卸连接;清扫组件,所述清扫组件设于所述壳体1与所述过滤组件之间,用于配合所述传动组件实现收纳组件对灰尘的收集。Please refer to Fig. 1, in one embodiment of the present invention, a kind of novel antimicrobial peptide production cleaning device comprises:
本实施例中,装置运行时,吸尘机构对空气进行吸收,空气沿进气管进入过滤组件内侧,过滤组件对空气中的灰尘进行过滤,吸尘机构排出的空气会驱动所述传动组件,传动组件驱动所述过滤组件沿所述壳体1的壳壁进行上下往复运动,过滤组件在进行移动的过程中会驱动所述清扫组件,清扫组件将留在过滤组件上的灰尘扫入收纳组件内侧,进而完成对灰尘的收集,本申请相对于现有技术中清洁装置不能对粉尘进行收集,导致清洁效果一般,通过设置集尘机构,配合所述吸尘机构和传动组件,不仅能完成对灰尘的吸收,而且能对被吸收后的灰尘进行过滤和收集,避免对环境造成二次污染,保证了清洁效率和清洁效果。In this embodiment, when the device is running, the dust suction mechanism absorbs the air, and the air enters the inside of the filter assembly along the intake pipe, and the filter assembly filters the dust in the air, and the air discharged by the dust suction mechanism will drive the transmission assembly, and the transmission The assembly drives the filter assembly to reciprocate up and down along the shell wall of the
本发明的一个实施例中,请参阅图1和图2,所述过滤组件包括:滤箱3,所述滤箱3滑动连接设于所述壳体1内侧,一端与所述吸尘机构相连,且与所述传动组件相连;连接管4,所述连接管4设于所述进气管2与所述滤箱3之间,与所述滤箱3固定连接,且与所述进气管2滑动连接;滤板5,所述滤板5固定连接设于所述滤箱3内侧,与所述连接管4相对设置,且与所述收纳组件相连,用于实现对空气中灰尘的过滤;消毒灯10,所述消毒灯10与所述滤箱3箱壁固定连接。In one embodiment of the present invention, please refer to Figure 1 and Figure 2, the filter assembly includes: a
本实施例中,所述消毒灯10设于所述滤板5远离所述连接管4一侧,所述消毒灯10在所述滤箱3内壁上呈环状分布,通过设置过滤组件,外界空气沿进气管2和连接管4进入滤箱3内侧后,滤板5对空气中的灰尘进行过滤,消毒灯10会对被过滤后的空气进行消杀,提升了装置的净化能力。In this embodiment, the
本发明的一个实施例中,所述收纳组件包括:排污口6,所述排污口6设于所述滤板5板壁上;集尘箱11,所述集尘箱11与所述滤箱3箱壁抵接,且与所述滤板5螺纹连接,用于配合所述排污口6和清扫组件实现对灰尘的收集。In one embodiment of the present invention, the storage assembly includes: a
本实施例中,所述排污口6设于所述滤板5的中心位置,所述集尘箱11管材所述滤箱3底端箱壁,所述集尘箱11顶端与所述滤板5螺纹连接,其中,所述集尘箱11顶端箱壁、滤箱3与所述集尘箱11连接处箱壁上均设置有密封圈,用于保证装置的密封性,通过设置收纳组件,清扫组件将位于滤板5上的灰尘通过排污口6扫入集尘箱11内侧,不仅保证了装置的除尘效率,而且便于人们对装置进行清理。In this embodiment, the
本发明的一个实施例中,所述清扫组件包括:第二活塞管32,所述第二活塞管32设于所述滤板5外侧,与所述滤箱3固定连接,且与所述壳体1滑动连接;第一清洁刷31,所述第一清洁刷31抵接设于所述滤板5外侧,且通过第二活塞件9与所述第二活塞管32相连;第一活塞管7,所述第一活塞管7与所述壳体1固定连接,且一端通过橡胶管与所述第二活塞管32相连,另一端内侧滑动连接设置有与所述滤箱3相连的第一活塞件8,用于配合所述滤箱3的升降实现第一清洁刷31的移动。In one embodiment of the present invention, the cleaning assembly includes: a
本实施例中,所述第一活塞管7固定连接设置在所述壳体1顶端两侧,其中,所述第一活塞件8包括滑动连接设置在所述第一活塞管7内侧的第一活塞,所述第一活塞外侧固定连接设置有第一推杆,所述第一推杆另一端与所述滤箱3固定连接,所述第二活塞管32固定连接设置在所述壳体1两侧壳壁上,所述第二活塞管32与所述第一活塞管7之间固定连接设置有橡胶管,所述第二活塞件9包括滑动连接设置在所述第二活塞管32内侧的第二活塞,所述第二活塞外侧固定连接设置有第二推杆,所述第二推杆另一端与设置在所述滤板5外侧的第一清洁刷31固定连接,通过设置清扫组件,滤箱3进行移动时,滤箱3通过第一推杆驱动第一活塞在第一活塞管内侧进行滑动,使得位于所述第二活塞管32内侧的第二活塞进行移动,第二活塞通过第二推杆实现第二清洁刷29的移动,第二清洁刷29将位于滤板5上的灰尘扫入集尘箱11内侧,避免灰尘堆积,保证空气净化的流畅性和稳定性。In this embodiment, the first piston tube 7 is fixedly connected and arranged on both sides of the top end of the
本发明的一个实施例中,请参阅图1和图3,所述吸尘机构包括:吸尘泵12,所述吸尘泵12与所述滤箱3固定连接,用于驱动空气流动;除尘组件,所述除尘组件与所述壳体1相连,通过导气管24与所述吸尘泵12输出端相连,且与所述传动组件相连,用于实现对空气的净化。In one embodiment of the present invention, please refer to Fig. 1 and Fig. 3, described dust suction mechanism comprises:
本实施例中,所述导气管24与所述吸尘泵12输出端固定连接,所述导气管24与所述除尘组件内侧的净化箱13滑动连接,所述吸尘泵12输入端通至所述滤箱3内侧,通过设置吸尘机构,使得装置能完成对外界空气的吸收,并配合除尘组件能完成对空气的二次净化,不仅能实现对装置的驱动,而且能大大提升装置的净化效果。In this embodiment, the
本发明的一个实施例中,请参阅图1、图4和图5,所述除尘组件包括:净化箱13,所述净化箱13与所述壳体1固定连接,且与所述导气管24滑动连接;滑板26,所述滑板26滑动连接设于所述净化箱13内侧,且通过推动件与所述传动组件相连;滤框27,所述滤框27与所述滑板26滑动连接,内侧固定连接设置有滤网28,且一端与所述净化箱13箱壁抵接,另一端通过弹性件30与所述滑板26相连,用于实现对空气的除尘;第二清洁刷29,所述第二清洁刷29设于所述滤网28外侧,与所述滑板26固定连接,用于配合所述滑板26的移动实现对滤网28的清理。In one embodiment of the present invention, please refer to FIG. 1 , FIG. 4 and FIG. 5 , the dust removal assembly includes: a
本实施例中,所述净化箱13纵向截面呈梯形结构,所述滤框27顶端与所述净化箱13的斜边抵接,所述滤框27与所述滑板26之间固定连接设置有弹性件30,所述弹性件30为弹簧,另外的,所述滑板26与所述净化箱13之间固定连接设置有复位弹簧,所述推动件包括与所述滑板26固定连接的滑杆18,所述滑杆18与所述净化箱13箱壁滑动连接,所述滑杆18另一端外侧固定连接设置有与所述传动组件相连的推板25,所述第二清洁刷29固定连接设置在所述滑板26顶端内壁上,通过设置除尘组件,吸尘泵12输出的空气沿导气管24进入净化箱13内侧,滤框27内侧的滤网28对灰尘进行二次除尘,被净化后的空气进入传动组件内侧,传动组件运行时配合所述推动件能实现滑板26的往复运动,滑板26移动时配合净化箱13的箱壁会实现滤框27的上下往复运动,第二清洁刷29对位于滤框27内侧的滤网28进行清理,而被清理的灰尘落入净化箱13内侧,保证了装置的净化效果。In this embodiment, the longitudinal section of the
本发明的一个实施例中,所述传动组件包括:传动箱14,所述传动箱14与所述壳体1固定连接,且通过吹气管20与所述净化箱13相连;排气管19,所述排气管19设于所述传动箱14与所述壳体1之间;传动杆15,所述传动杆15与所述传动箱14转动连接,且与设置在所述传动箱14内侧的扇叶16固定连接;凸轮17,所述凸轮17抵接设于所述推动件外侧,与所述传动杆15固定连接,用于配合所述传动杆15驱动所述滑板26移动;支撑杆22,所述支撑杆22与所述壳体1转动连接,且内侧螺纹连接设置有与所述过滤组件固定连接的螺纹杆23;从动杆21,所述从动杆21设于所述支撑杆22与所述传动杆15之间,一端与所述壳体1转动连接,另一端通过齿轮件与所述传动杆15相连,且与所述支撑杆22相连,用于配合所述传动杆15驱动所述支撑杆22旋转。In one embodiment of the present invention, the transmission assembly includes: a
本实施例中,所述齿轮件包括固定连接设置在所述从动杆21外侧的第一齿轮,所述第一齿轮两侧均啮合连接设置有与所述传动杆15固定连接的第二齿轮,所述第二齿轮为半齿轮,所述从动杆21与所述支撑杆22之间通过第三齿轮啮合连接,所述第一齿轮和第三齿轮均为锥齿轮,所述螺纹杆23与所述支撑杆22螺纹连接,且与所述滤箱3固定连接,另外的,所述吹气管20与传动箱14侧壁相连,通过设置传动组件,经过除尘后的空气沿吹气管20进入传动箱14内侧,并通过排气管19排出,空气在传动箱14内侧流动的过程中与扇叶16配合能实现传动杆15的旋转,传动杆15通过凸轮17实现滑板26的往复运动,传动杆15还能驱动所述从动杆21进行顺时针与逆时针的交替旋转,从动杆21驱动所述支撑杆22旋转,支撑杆22配合所述螺纹杆23能实现所述滤箱3的上下往复运动,从而对滤板5表面的灰尘完成收集。In this embodiment, the gear member includes a first gear that is fixedly connected to the outside of the driven
本发明的一个实施例中,所述壳体1底端两侧均固定连接设置有脚轮,从而方便人们对装置进行移动。In one embodiment of the present invention, both sides of the bottom end of the
本发明的一个实施例中,所述壳体1的壳壁上铰接设置有箱门,通过设置箱门,方便人们对集尘箱11进行取放。In one embodiment of the present invention, a box door is hingedly arranged on the shell wall of the
该新型抗菌肽生产清洁装置,通过设置集尘机构,配合所述吸尘机构和传动组件,不仅能完成对灰尘的吸收,而且能对被吸收后的灰尘进行过滤和收集,避免对环境造成二次污染,保证了清洁效率和清洁效果,通过设置清扫组件,滤箱3进行移动时,滤箱3通过第一推杆驱动第一活塞在第一活塞管内侧进行滑动,使得位于所述第二活塞管32内侧的第二活塞进行移动,第二活塞通过第二推杆实现第二清洁刷29的移动,第二清洁刷29将位于滤板5上的灰尘扫入集尘箱11内侧,避免灰尘堆积,保证空气净化的流畅性和稳定性通过设置吸尘机构,使得装置能完成对外界空气的吸收,并配合除尘组件能完成对空气的二次净化,不仅能实现对装置的驱动,而且能大大提升装置的净化效果。The new antimicrobial peptide production and cleaning device can not only complete the absorption of dust, but also filter and collect the absorbed dust by setting a dust collection mechanism and cooperating with the dust collection mechanism and transmission components, so as to avoid causing secondary pollution to the environment. The cleaning efficiency and cleaning effect are guaranteed. By setting up the cleaning assembly, when the
以上的仅是本发明的优选实施方式,应当指出,对于本领域的技术人员来说,在不脱离本发明构思的前提下,还可以作出若干变形和改进,这些也应该视为本发明的保护范围,这些都不会影响本发明实施的效果和专利的实用性。The above are only preferred embodiments of the present invention, and it should be pointed out that for those skilled in the art, some modifications and improvements can be made without departing from the concept of the present invention, and these should also be regarded as protection of the present invention. None of these will affect the effect of implementing the present invention and the practicability of the patent.
Claims (7)
Priority Applications (1)
| Application Number | Priority Date | Filing Date | Title |
|---|---|---|---|
| CN202211246889.2A CN115532004A (en) | 2022-10-12 | 2022-10-12 | A new type of antimicrobial peptide production cleaning device |
Applications Claiming Priority (1)
| Application Number | Priority Date | Filing Date | Title |
|---|---|---|---|
| CN202211246889.2A CN115532004A (en) | 2022-10-12 | 2022-10-12 | A new type of antimicrobial peptide production cleaning device |
Publications (1)
| Publication Number | Publication Date |
|---|---|
| CN115532004A true CN115532004A (en) | 2022-12-30 |
Family
ID=84734138
Family Applications (1)
| Application Number | Title | Priority Date | Filing Date |
|---|---|---|---|
| CN202211246889.2A Pending CN115532004A (en) | 2022-10-12 | 2022-10-12 | A new type of antimicrobial peptide production cleaning device |
Country Status (1)
| Country | Link |
|---|---|
| CN (1) | CN115532004A (en) |
Cited By (1)
| Publication number | Priority date | Publication date | Assignee | Title |
|---|---|---|---|---|
| CN117865366A (en) * | 2024-03-04 | 2024-04-12 | 中电建生态环境集团有限公司 | Aeration device for sewage treatment |
Citations (9)
| Publication number | Priority date | Publication date | Assignee | Title |
|---|---|---|---|---|
| CN110270168A (en) * | 2019-08-05 | 2019-09-24 | 淮北雷德机电科技有限公司 | A kind of dust-collecting filter |
| CN111991936A (en) * | 2020-09-03 | 2020-11-27 | 宁海格栅电子有限公司 | Automatic air purification who clears up dust gets rid of formaldehyde device |
| CN113491920A (en) * | 2021-07-09 | 2021-10-12 | 阜阳卷烟材料厂 | Tipping paper printing waste gas filtering device |
| CN215011026U (en) * | 2021-06-02 | 2021-12-03 | 南京瑞控电气有限公司 | A new type of communication power supply |
| CN215388474U (en) * | 2021-07-19 | 2022-01-04 | 温靳 | Electric automatization dust collector |
| CN114225582A (en) * | 2022-01-11 | 2022-03-25 | 王建鹏 | Waste gas treatment device for epoxy resin processing |
| CN114308839A (en) * | 2022-01-10 | 2022-04-12 | 安徽理工大学 | A machine for aggregate screening, washing and drying |
| CN114602258A (en) * | 2022-03-08 | 2022-06-10 | 王建鹏 | Waste gas treatment device |
| CN114916200A (en) * | 2022-05-19 | 2022-08-16 | 淄博职业学院 | Electromechanical integrated structure |
-
2022
- 2022-10-12 CN CN202211246889.2A patent/CN115532004A/en active Pending
Patent Citations (9)
| Publication number | Priority date | Publication date | Assignee | Title |
|---|---|---|---|---|
| CN110270168A (en) * | 2019-08-05 | 2019-09-24 | 淮北雷德机电科技有限公司 | A kind of dust-collecting filter |
| CN111991936A (en) * | 2020-09-03 | 2020-11-27 | 宁海格栅电子有限公司 | Automatic air purification who clears up dust gets rid of formaldehyde device |
| CN215011026U (en) * | 2021-06-02 | 2021-12-03 | 南京瑞控电气有限公司 | A new type of communication power supply |
| CN113491920A (en) * | 2021-07-09 | 2021-10-12 | 阜阳卷烟材料厂 | Tipping paper printing waste gas filtering device |
| CN215388474U (en) * | 2021-07-19 | 2022-01-04 | 温靳 | Electric automatization dust collector |
| CN114308839A (en) * | 2022-01-10 | 2022-04-12 | 安徽理工大学 | A machine for aggregate screening, washing and drying |
| CN114225582A (en) * | 2022-01-11 | 2022-03-25 | 王建鹏 | Waste gas treatment device for epoxy resin processing |
| CN114602258A (en) * | 2022-03-08 | 2022-06-10 | 王建鹏 | Waste gas treatment device |
| CN114916200A (en) * | 2022-05-19 | 2022-08-16 | 淄博职业学院 | Electromechanical integrated structure |
Cited By (1)
| Publication number | Priority date | Publication date | Assignee | Title |
|---|---|---|---|---|
| CN117865366A (en) * | 2024-03-04 | 2024-04-12 | 中电建生态环境集团有限公司 | Aeration device for sewage treatment |
Similar Documents
| Publication | Publication Date | Title |
|---|---|---|
| LU503720B1 (en) | High-efficiency electrostatic precipitator for power plant | |
| CN115532004A (en) | A new type of antimicrobial peptide production cleaning device | |
| CN220878362U (en) | Acid-base waste gas purifier | |
| CN219784176U (en) | Dust removing device of filter cartridge dust remover | |
| CN114602258A (en) | Waste gas treatment device | |
| CN114413377A (en) | Integrated form new trend purifying box | |
| CN117628625A (en) | Laboratory air purification device convenient to clean and use method thereof | |
| CN117102109A (en) | A cleaner with air duct switching control function | |
| CN112588033A (en) | Waste gas treatment prevents stifled device | |
| CN218565695U (en) | Filter screen self-cleaning device on air purifier | |
| CN113116728A (en) | Waste liquid collection device that internal medicine nursing was used | |
| CN203436951U (en) | Dust-absorbing self-purification air filter | |
| CN117046236A (en) | Industrial dust removal equipment for environmental protection | |
| CN218687605U (en) | A waste gas absorption device for leather processing production | |
| CN118807350A (en) | An energy-saving fan with automatic air blowing and dust removal | |
| CN217031514U (en) | Intelligent air cleaning system | |
| CN117258455A (en) | Atmospheric pollution control device for environmental treatment | |
| CN210921639U (en) | Efficient air purification processing apparatus | |
| CN219452234U (en) | Engine cleaning equipment for generating set | |
| CN221593104U (en) | Dust collector of air purifier | |
| CN220047606U (en) | Waste gas treatment device with anti-blocking function | |
| CN221771890U (en) | Waste gas absorption and treatment device | |
| CN221906380U (en) | Paint mist purifying structure | |
| CN222624025U (en) | Dustproof device for municipal house building | |
| CN219464308U (en) | Anti-blocking equipment of welding fume purifier |
Legal Events
| Date | Code | Title | Description |
|---|---|---|---|
| PB01 | Publication | ||
| PB01 | Publication | ||
| SE01 | Entry into force of request for substantive examination | ||
| SE01 | Entry into force of request for substantive examination | ||
| RJ01 | Rejection of invention patent application after publication | ||
| RJ01 | Rejection of invention patent application after publication |
Application publication date: 20221230 |
