CN115523307A - Slot valve device - Google Patents
Slot valve device Download PDFInfo
- Publication number
- CN115523307A CN115523307A CN202211239888.5A CN202211239888A CN115523307A CN 115523307 A CN115523307 A CN 115523307A CN 202211239888 A CN202211239888 A CN 202211239888A CN 115523307 A CN115523307 A CN 115523307A
- Authority
- CN
- China
- Prior art keywords
- cylinder
- valve plate
- support frame
- cavity
- channel
- Prior art date
- Legal status (The legal status is an assumption and is not a legal conclusion. Google has not performed a legal analysis and makes no representation as to the accuracy of the status listed.)
- Granted
Links
Images
Classifications
-
- F—MECHANICAL ENGINEERING; LIGHTING; HEATING; WEAPONS; BLASTING
- F16—ENGINEERING ELEMENTS AND UNITS; GENERAL MEASURES FOR PRODUCING AND MAINTAINING EFFECTIVE FUNCTIONING OF MACHINES OR INSTALLATIONS; THERMAL INSULATION IN GENERAL
- F16K—VALVES; TAPS; COCKS; ACTUATING-FLOATS; DEVICES FOR VENTING OR AERATING
- F16K3/00—Gate valves or sliding valves, i.e. cut-off apparatus with closing members having a sliding movement along the seat for opening and closing
- F16K3/02—Gate valves or sliding valves, i.e. cut-off apparatus with closing members having a sliding movement along the seat for opening and closing with flat sealing faces; Packings therefor
- F16K3/16—Gate valves or sliding valves, i.e. cut-off apparatus with closing members having a sliding movement along the seat for opening and closing with flat sealing faces; Packings therefor with special arrangements for separating the sealing faces or for pressing them together
- F16K3/18—Gate valves or sliding valves, i.e. cut-off apparatus with closing members having a sliding movement along the seat for opening and closing with flat sealing faces; Packings therefor with special arrangements for separating the sealing faces or for pressing them together by movement of the closure members
-
- F—MECHANICAL ENGINEERING; LIGHTING; HEATING; WEAPONS; BLASTING
- F16—ENGINEERING ELEMENTS AND UNITS; GENERAL MEASURES FOR PRODUCING AND MAINTAINING EFFECTIVE FUNCTIONING OF MACHINES OR INSTALLATIONS; THERMAL INSULATION IN GENERAL
- F16K—VALVES; TAPS; COCKS; ACTUATING-FLOATS; DEVICES FOR VENTING OR AERATING
- F16K3/00—Gate valves or sliding valves, i.e. cut-off apparatus with closing members having a sliding movement along the seat for opening and closing
- F16K3/02—Gate valves or sliding valves, i.e. cut-off apparatus with closing members having a sliding movement along the seat for opening and closing with flat sealing faces; Packings therefor
- F16K3/0281—Guillotine or blade-type valves, e.g. no passage through the valve member
-
- F—MECHANICAL ENGINEERING; LIGHTING; HEATING; WEAPONS; BLASTING
- F16—ENGINEERING ELEMENTS AND UNITS; GENERAL MEASURES FOR PRODUCING AND MAINTAINING EFFECTIVE FUNCTIONING OF MACHINES OR INSTALLATIONS; THERMAL INSULATION IN GENERAL
- F16K—VALVES; TAPS; COCKS; ACTUATING-FLOATS; DEVICES FOR VENTING OR AERATING
- F16K3/00—Gate valves or sliding valves, i.e. cut-off apparatus with closing members having a sliding movement along the seat for opening and closing
- F16K3/30—Details
- F16K3/314—Forms or constructions of slides; Attachment of the slide to the spindle
-
- F—MECHANICAL ENGINEERING; LIGHTING; HEATING; WEAPONS; BLASTING
- F16—ENGINEERING ELEMENTS AND UNITS; GENERAL MEASURES FOR PRODUCING AND MAINTAINING EFFECTIVE FUNCTIONING OF MACHINES OR INSTALLATIONS; THERMAL INSULATION IN GENERAL
- F16K—VALVES; TAPS; COCKS; ACTUATING-FLOATS; DEVICES FOR VENTING OR AERATING
- F16K31/00—Actuating devices; Operating means; Releasing devices
- F16K31/12—Actuating devices; Operating means; Releasing devices actuated by fluid
-
- H10P72/0441—
Landscapes
- Engineering & Computer Science (AREA)
- General Engineering & Computer Science (AREA)
- Mechanical Engineering (AREA)
- Sliding Valves (AREA)
Abstract
本发明涉及芯片制造中使用的一种槽阀装置,包括由顶板、底板、两侧的侧板和两端的端板围合而成的腔体,腔体两侧设有贯穿腔体的通道一和通道二,腔体内设有可升降的支撑架,支撑架朝向通道二一侧设有阀板,阀板表面设有密封圈,阀板和支撑架之间设有驱动阀板密封通道二的密封气缸,腔体底部设有驱动支撑架升降的升降气缸,顶板安装在腔体顶部,阀板朝向密封气缸一侧设有槽口,密封气缸的活塞杆伸出端设有气缸接头,气缸接头插入槽口内,连接螺钉穿过阀板与气缸接头螺纹连接;支撑架远离阀板一侧的上角部设有斜切面,对应的侧板上设有与斜切面匹配的导向块。该装置应用于晶圆加工中,其密封圈更换方便,同时,其密封良好,使用可靠。
The invention relates to a slot valve device used in chip manufacturing, which comprises a cavity surrounded by a top plate, a bottom plate, side plates on both sides and end plates at both ends, and a passage through the cavity is arranged on both sides of the cavity. and channel 2, there is a liftable support frame in the cavity, a valve plate is provided on the side of the support frame facing channel 2, a sealing ring is provided on the surface of the valve plate, and a drive valve plate is provided between the valve plate and the support frame to seal channel 2 Sealed cylinder, the bottom of the cavity is equipped with a lifting cylinder that drives the support frame up and down, the top plate is installed on the top of the cavity, the side of the valve plate facing the sealed cylinder is provided with a notch, and the extending end of the piston rod of the sealed cylinder is provided with a cylinder joint. Insert it into the notch, and the connecting screw passes through the valve plate to be threaded with the cylinder joint; the upper corner of the support frame away from the valve plate is provided with a chamfered surface, and the corresponding side plate is provided with a guide block matching the chamfered surface. The device is used in wafer processing, and the sealing ring is easy to replace, and at the same time, the sealing is good and the use is reliable.
Description
技术领域technical field
本发明涉及芯片制造过程中使用的一种装置,特别涉及一种设置在传输装置和工艺装置之间的槽阀装置。The invention relates to a device used in the chip manufacturing process, in particular to a slot valve device arranged between a transfer device and a process device.
背景技术Background technique
随着半导体的小型化,在影响晶圆产能的各类问题中,尤其是抑制污染(颗粒)物的产生以及产生之后最短时间内进行更换来去除污染源等,已成为提高生产率的重要因素。为此,晶圆在工艺装置内加工时,需要对工艺装置抽真空,以避免污染物的影响。为此而使用一种槽阀装置,其使用在传输装置和工艺装置之间,作用是提供晶圆从传输装置到工艺装置之间的转移通道,在晶圆转移后,该通道关闭,其具有良好的密封性,保证工艺装置内可以形成高真空环境。With the miniaturization of semiconductors, among various issues that affect wafer productivity, especially suppression of contamination (particles) and removal of contamination sources by replacing them in the shortest time after generation have become important factors for improving productivity. For this reason, when the wafer is processed in the process equipment, it is necessary to evacuate the process equipment to avoid the influence of pollutants. For this reason, a slot valve device is used, which is used between the transfer device and the process device, and its function is to provide a transfer channel for the wafer from the transfer device to the process device. After the wafer is transferred, the channel is closed, which has Good sealing ensures that a high vacuum environment can be formed in the process device.
现有技术中的槽阀装置,主要包括一个断面呈矩形的腔体,该腔体由顶板、底板、两侧的侧板和两端的端板围合而成,腔体两侧设有贯穿腔体的通道一和通道二,腔体内设有可升降的支撑架,支撑架朝向通道一和通道二一侧设有阀板,阀板表面设有O形密封圈,阀板和支撑架之间设有驱动阀板密封通道一或通道二的密封气缸,腔体底部设有驱动支撑架升降的升降气缸。升降气缸推动阀板升起,同时,密封气缸推动阀板动作,使得密封圈密封通道一和通道二,从而实现密封。The trough valve device in the prior art mainly includes a cavity with a rectangular cross section, which is surrounded by a top plate, a bottom plate, side plates on both sides and end plates at both ends, and there are through cavities on both sides of the cavity.
其不足之处在于:由于密封圈频繁使用过程中易于失效,需要定期进行更换,现有的槽阀装置中的密封圈难以安装及拆卸,为了更换密封圈,需要将槽阀装置整体拆卸后才能进行维护,其所需的总维护时间长,影响设备使用效率。Its disadvantages are: because the sealing ring is prone to failure during frequent use and needs to be replaced regularly, the sealing ring in the existing trough valve device is difficult to install and disassemble. In order to replace the sealing ring, it is necessary to disassemble the trough valve device as a whole. For maintenance, the total maintenance time required is long, which affects the efficiency of equipment use.
发明内容Contents of the invention
本发明的目的是提供一种槽阀装置,使得密封圈更换方便,同时,其密封良好,使用可靠。The purpose of the present invention is to provide a groove valve device, which makes it easy to replace the sealing ring, and at the same time, it has good sealing and is reliable in use.
本发明的目的是这样实现的:一种槽阀装置,包括一个断面呈矩形的腔体,所述腔体由顶板、底板、两侧的侧板和两端的端板围合而成,腔体两侧设有贯穿腔体的通道一和通道二,腔体内设有可升降的支撑架,支撑架朝向通道二一侧设有阀板,阀板表面设有密封圈,阀板和支撑架之间设有驱动阀板密封通道二的密封气缸,腔体底部设有驱动支撑架升降的升降气缸,所述密封气缸的轴线与升降气缸轴线相互垂直设置,顶板可拆卸地安装在腔体顶部,阀板朝向密封气缸一侧设有槽口,密封气缸的活塞杆伸出端设有气缸接头,所述气缸接头插入所述槽口内,连接螺钉从上部穿过阀板与气缸接头螺纹连接;所述支撑架远离阀板一侧的上角部设有斜切面,对应的侧板上设有楔形的导向块,升降油缸举升支撑架上行到密封位置时,斜切面恰好与导向块相接触。The object of the present invention is achieved in this way: a slit valve device includes a cavity with a rectangular cross section, the cavity is surrounded by a top plate, a bottom plate, side plates on both sides and end plates at both ends, the cavity There are
本发明的槽阀装置,安装在传输装置和工艺装置之间,通道二的外口与工艺装置密封相连,工作时,升降气缸可推动支撑架上下运动,支撑架带动阀板同时上下运动,当阀板下降时,可以让出贯穿腔体的通道一和通道二,使得传输装置的机械手可以穿过通道一和通道二,伸入到工艺装置内部,取出晶圆或将晶圆放置在工艺装置内,机械手离开后,升降气缸升起,将阀板推动到通道一和通道二所在高度位置,此时,密封气缸动作,将阀板推向通道二,密封圈密封在通道二的外周边缘。在升降油缸举升支撑架上行到密封位置时,斜切面恰好与导向块相接触,从而使的密封圈能与通道二的边缘充分压紧,实现良好密封,可以把升降气缸的向上的推力转化为密封的压紧力,密封后可对工艺装置进行抽真空,并在真空状态下对晶圆进行加工。由于气缸的活塞杆通常不能承受侧推力,因此,当密封气缸动作时,反作用力会侧推升降气缸的活塞杆伸出端,而斜切面与导向块配合,恰好可以抵消这一侧向推力,保证升降气缸能长时间可靠工作。在拆装更换密封圈时,可以拆除顶盖,松开连接螺钉后,可将阀板从上部直接抽出,更换密封圈后再进行复位,其拆装十分便捷。该装置可用于晶圆加工中。The trough valve device of the present invention is installed between the transmission device and the process device, and the outer port of the
作为本发明的进一步改进在于,所述槽口呈下大上小的八字形,气缸接头呈T形,槽口上部与T形的槽口相匹配。八字形的槽口使得阀板很容易与气缸接头相脱离,以便更加方便地取出阀板,气缸接头呈T形可以方便地进行定位安装。As a further improvement of the present invention, the notch is in a figure-eight shape with a large bottom and a small top, the cylinder joint is T-shaped, and the upper part of the notch matches the T-shaped notch. The eight-shaped notch makes it easy for the valve plate to be separated from the cylinder joint, so that the valve plate can be taken out more conveniently, and the cylinder joint is T-shaped for easy positioning and installation.
作为本发明的进一步改进在于,所述阀板上侧设有提手螺钉。提手螺钉进一步方便了将阀板取出。As a further improvement of the present invention, a handle screw is provided on the upper side of the valve plate. The handle screw further facilitates the removal of the valve plate.
作为本发明的进一步改进在于,所述升降气缸对应设有两个,密封气缸在阀板长度方向上间隔设置有三个。As a further improvement of the present invention, there are two lifting cylinders correspondingly, and three sealing cylinders are arranged at intervals along the length direction of the valve plate.
作为本发明的进一步改进在于,支撑架上与密封气缸对应设有缺口,所述密封气缸嵌入安装在所述缺口内。该结构可以极大缩小装置的厚度,使其结构更加紧凑。As a further improvement of the present invention, a notch is provided on the support frame corresponding to the sealed cylinder, and the sealed cylinder is embedded and installed in the notch. This structure can greatly reduce the thickness of the device and make its structure more compact.
附图说明Description of drawings
图1为本发明立体结构示意图。Figure 1 is a schematic diagram of the three-dimensional structure of the present invention.
图2为本发明主视图。Fig. 2 is a front view of the present invention.
图3为图2的A-A向视图。Fig. 3 is a view along the line A-A of Fig. 2 .
图4为本发明内部立体结构示意图一。Fig. 4 is a first schematic diagram of the internal three-dimensional structure of the present invention.
图5为本发明内部立体结构示意图二。Fig. 5 is a second schematic diagram of the internal three-dimensional structure of the present invention.
图6为支撑架、升降气缸、密封气缸部装图。Fig. 6 is the installation drawing of support frame, lifting cylinder and sealing cylinder.
图7为与图6对应的支撑架、升降气缸、密封气缸部装平面图。Fig. 7 is a plan view of the supporting frame, lifting cylinder and sealing cylinder corresponding to Fig. 6 .
图8为密封油缸与阀板安装结构图。Fig. 8 is a diagram of the installation structure of the sealing oil cylinder and the valve plate.
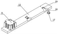
图中,1底板,2端板,3顶板,4侧板,5通道一,6升降气缸,7连接螺钉,8支撑架,9密封气缸,10通道二,11密封圈,12阀板,13腔体,14导向块,15斜切面,16提手螺钉,17气缸接头,18槽口,19安装孔。In the figure, 1 bottom plate, 2 end plate, 3 top plate, 4 side plate, 5 channel one, 6 lifting cylinder, 7 connecting screw, 8 support frame, 9 sealing cylinder, 10 channel two, 11 sealing ring, 12 valve plate, 13 Cavity, 14 guide block, 15 beveled surface, 16 handle screw, 17 cylinder joint, 18 notch, 19 mounting hole.
具体实施方式detailed description
如图1-8所示,为一种槽阀装置,包括一个断面呈矩形的腔体13,腔体13由顶板3、底板1、两侧的侧板4和两端的端板2围合而成,腔体13两侧设有贯穿腔体13的通道一5和通道二10,腔体13内设有可升降的支撑架8,支撑架8朝向通道二10一侧设有阀板12,阀板12表面设有密封圈11,阀板12和支撑架8之间设有驱动阀板12密封通道二10的密封气缸9,腔体13底部设有驱动支撑架8升降的升降气缸6,密封气缸9的轴线与升降气缸6轴线相互垂直设置,顶板3可拆卸地安装在腔体13顶部,阀板12朝向密封气缸9一侧设有槽口18,密封气缸9的活塞杆伸出端设有气缸接头17,气缸接头17插入槽口18内,连接螺钉7从上部穿过阀板12上的安装孔19与气缸接头17螺纹连接;支撑架8远离阀板12一侧的上角部设有斜切面15,对应的侧板4上设有楔形的导向块14,升降油缸举升支撑架8上行到密封位置时,斜切面15恰好与导向块14相接触。As shown in Figure 1-8, it is a slot valve device, which includes a
槽口18呈下大上小的八字形,气缸接头17呈T形,槽口18上部与T形的槽口18相匹配。The
阀板12上侧设有提手螺钉16。A
升降气缸6对应设有两个,密封气缸9在阀板12长度方向上间隔设置有三个。There are two
支撑架8上与密封气缸9对应设有缺口,密封气缸9嵌入安装在缺口内。The
本发明的槽阀装置,安装在传输装置和工艺装置之间,通道二10的外口与工艺装置密封相连,工作时,升降气缸6可推动支撑架8上下运动,支撑架8带动阀板12同时上下运动,当阀板12下降时,可以让出贯穿腔体13的通道一5和通道二10,使得传输装置的机械手可以穿过通道一5和通道二10,伸入到工艺装置内部,取出晶圆或将晶圆放置在工艺装置内,机械手离开后,升降气缸6升起,将阀板12推动到通道一5和通道二10所在高度位置,此时,密封气缸9动作,将阀板12推向通道二10,密封圈11密封在通道二10的外周边缘。在升降油缸举升支撑架8上行到密封位置时,斜切面15恰好与导向块14相接触,从而使的密封圈11能与通道二10的边缘充分压紧,实现良好密封,可以把升降气缸6的向上的推力转化为密封的压紧力,密封后可对工艺装置进行抽真空,并在真空状态下对晶圆进行加工。由于气缸的活塞杆通常不能承受侧推力,因此,当密封气缸9动作时,反作用力会侧推升降气缸6的活塞杆伸出端,而斜切面15与导向块14配合,恰好可以抵消这一侧向推力,保证升降气缸6能长时间可靠工作。在拆装更换密封圈11时,可以拆除顶盖,松开连接螺钉7后,可将阀板12从上部直接抽出,更换密封圈11后再进行复位,其拆装十分便捷。该装置可用于晶圆加工中。The trough valve device of the present invention is installed between the transmission device and the process device, and the outer port of
本发明并不局限于上述实施例,在本发明公开的技术方案的基础上,本领域的技术人员根据所公开的技术内容,不需要创造性的劳动就可以对其中的一些技术特征作出一些替换和变形,这些替换和变形均在本发明的保护范围内。The present invention is not limited to the above-mentioned embodiments. On the basis of the technical solutions disclosed in the present invention, those skilled in the art can make some replacements and modifications to some of the technical features according to the disclosed technical content without creative work. Deformation, these replacements and deformations are all within the protection scope of the present invention.
Claims (5)
Priority Applications (1)
| Application Number | Priority Date | Filing Date | Title |
|---|---|---|---|
| CN202211239888.5A CN115523307B (en) | 2022-10-11 | 2022-10-11 | A slot valve device |
Applications Claiming Priority (1)
| Application Number | Priority Date | Filing Date | Title |
|---|---|---|---|
| CN202211239888.5A CN115523307B (en) | 2022-10-11 | 2022-10-11 | A slot valve device |
Publications (2)
| Publication Number | Publication Date |
|---|---|
| CN115523307A true CN115523307A (en) | 2022-12-27 |
| CN115523307B CN115523307B (en) | 2025-06-13 |
Family
ID=84701853
Family Applications (1)
| Application Number | Title | Priority Date | Filing Date |
|---|---|---|---|
| CN202211239888.5A Active CN115523307B (en) | 2022-10-11 | 2022-10-11 | A slot valve device |
Country Status (1)
| Country | Link |
|---|---|
| CN (1) | CN115523307B (en) |
Cited By (1)
| Publication number | Priority date | Publication date | Assignee | Title |
|---|---|---|---|---|
| CN119934264A (en) * | 2025-04-09 | 2025-05-06 | 帝京半导体科技(苏州)有限公司 | A motion transmission valve device for display etching equipment |
Citations (3)
| Publication number | Priority date | Publication date | Assignee | Title |
|---|---|---|---|---|
| WO2008100724A1 (en) * | 2007-02-16 | 2008-08-21 | Woodward Governor Company | Tube-end butterfly metering and shutoff valve |
| CN106763804A (en) * | 2015-11-24 | 2017-05-31 | 武汉美林环保科技有限公司 | A kind of air disc blowing-out valve of favorable sealing property |
| CN108506508A (en) * | 2018-06-06 | 2018-09-07 | 无锡应达工业有限公司 | A kind of vacuum insulation valve system |
-
2022
- 2022-10-11 CN CN202211239888.5A patent/CN115523307B/en active Active
Patent Citations (3)
| Publication number | Priority date | Publication date | Assignee | Title |
|---|---|---|---|---|
| WO2008100724A1 (en) * | 2007-02-16 | 2008-08-21 | Woodward Governor Company | Tube-end butterfly metering and shutoff valve |
| CN106763804A (en) * | 2015-11-24 | 2017-05-31 | 武汉美林环保科技有限公司 | A kind of air disc blowing-out valve of favorable sealing property |
| CN108506508A (en) * | 2018-06-06 | 2018-09-07 | 无锡应达工业有限公司 | A kind of vacuum insulation valve system |
Cited By (1)
| Publication number | Priority date | Publication date | Assignee | Title |
|---|---|---|---|---|
| CN119934264A (en) * | 2025-04-09 | 2025-05-06 | 帝京半导体科技(苏州)有限公司 | A motion transmission valve device for display etching equipment |
Also Published As
| Publication number | Publication date |
|---|---|
| CN115523307B (en) | 2025-06-13 |
Similar Documents
| Publication | Publication Date | Title |
|---|---|---|
| CN115523307A (en) | Slot valve device | |
| WO2020135120A1 (en) | Ceramic tile die, expanded ceramic tile die support, and ceramic tile made out of die | |
| CN112859546A (en) | Isobaric subregion adsorption workbench | |
| CN217983273U (en) | End point detection device and etching equipment | |
| CN221569065U (en) | Synchronous driving cylinder of multi-head positioning device | |
| CN214122682U (en) | Isobaric subregion adsorption workbench | |
| CN100480558C (en) | Movable vacuum apparatus | |
| CN116364603B (en) | A semi-automatic plasma glue removal machine | |
| CN204905227U (en) | Split type PSS sculpture tray tool | |
| KR20090066046A (en) | Mounting structure of vacuum sealing means for easy installation and separation and installation method of vacuum sealing means using the same | |
| CN210074027U (en) | Vacuum liquid injection sealed cavity device | |
| CN115781879A (en) | Wet pressure magnetic shoe outer arc chamfering die structure | |
| CN215806729U (en) | Sealed vacuum angle valve | |
| CN221270920U (en) | A vacuum clamp | |
| CN222036127U (en) | Arc protection device for plasma cleaning machine | |
| KR102848839B1 (en) | A gate valve for vacuum | |
| CN221740438U (en) | A new type of ALD coating anti-winding fixture | |
| CN215434155U (en) | Telescopic evacuating device | |
| CN223635378U (en) | A cylinder-driven slide gate valve suitable for ultra-high vacuum cavity isolation | |
| CN108381965B (en) | Pneumatic punching machine for broken bridge aluminum alloy section bar | |
| CN223670751U (en) | A general-purpose vacuum fixture for partial vacuum | |
| CN116146088B (en) | Self-sealing switch door structure of semiconductor process | |
| CN219901244U (en) | Vacuum adsorption positioning tool | |
| CN215968292U (en) | TFT plane sputtering target material protection structure for sand blasting equipment | |
| CN218094299U (en) | Novel switch valve |
Legal Events
| Date | Code | Title | Description |
|---|---|---|---|
| PB01 | Publication | ||
| PB01 | Publication | ||
| SE01 | Entry into force of request for substantive examination | ||
| SE01 | Entry into force of request for substantive examination | ||
| GR01 | Patent grant | ||
| GR01 | Patent grant | ||
| PE01 | Entry into force of the registration of the contract for pledge of patent right | ||
| PE01 | Entry into force of the registration of the contract for pledge of patent right |
Denomination of invention: A slot valve device Granted publication date: 20250613 Pledgee: Bank of China Limited Hangjiang Branch, Yangzhou Pledgor: Yangzhou Hansi Semiconductor Technology Co.,Ltd. Registration number: Y2025980066688 |
