CN115478640A - 一种超高层装配式建筑幕墙安装结构 - Google Patents
一种超高层装配式建筑幕墙安装结构 Download PDFInfo
- Publication number
- CN115478640A CN115478640A CN202211181546.2A CN202211181546A CN115478640A CN 115478640 A CN115478640 A CN 115478640A CN 202211181546 A CN202211181546 A CN 202211181546A CN 115478640 A CN115478640 A CN 115478640A
- Authority
- CN
- China
- Prior art keywords
- plate
- curtain wall
- shaped
- wall
- steel
- Prior art date
- Legal status (The legal status is an assumption and is not a legal conclusion. Google has not performed a legal analysis and makes no representation as to the accuracy of the status listed.)
- Granted
Links
- 238000009434 installation Methods 0.000 title claims description 103
- 230000003139 buffering effect Effects 0.000 claims abstract 4
- 229910000831 Steel Inorganic materials 0.000 claims description 124
- 239000010959 steel Substances 0.000 claims description 124
- 238000006073 displacement reaction Methods 0.000 claims description 7
- 230000000694 effects Effects 0.000 claims description 6
- 230000000149 penetrating effect Effects 0.000 claims description 6
- 239000004575 stone Substances 0.000 claims description 3
- XEEYBQQBJWHFJM-UHFFFAOYSA-N Iron Chemical compound [Fe] XEEYBQQBJWHFJM-UHFFFAOYSA-N 0.000 claims 4
- 125000003003 spiro group Chemical group 0.000 claims 4
- 229910052742 iron Inorganic materials 0.000 claims 2
- 238000000034 method Methods 0.000 abstract description 34
- 238000003780 insertion Methods 0.000 description 15
- 230000037431 insertion Effects 0.000 description 15
- 238000010586 diagram Methods 0.000 description 11
- 238000013459 approach Methods 0.000 description 6
- 238000011900 installation process Methods 0.000 description 5
- 238000001179 sorption measurement Methods 0.000 description 4
- 238000012986 modification Methods 0.000 description 2
- 230000004048 modification Effects 0.000 description 2
- 239000004566 building material Substances 0.000 description 1
- 239000000919 ceramic Substances 0.000 description 1
- 238000010276 construction Methods 0.000 description 1
- 230000001066 destructive effect Effects 0.000 description 1
- 239000011521 glass Substances 0.000 description 1
- 239000000463 material Substances 0.000 description 1
- 239000002184 metal Substances 0.000 description 1
- 238000003032 molecular docking Methods 0.000 description 1
- 230000001681 protective effect Effects 0.000 description 1
Images
Classifications
-
- E—FIXED CONSTRUCTIONS
- E04—BUILDING
- E04B—GENERAL BUILDING CONSTRUCTIONS; WALLS, e.g. PARTITIONS; ROOFS; FLOORS; CEILINGS; INSULATION OR OTHER PROTECTION OF BUILDINGS
- E04B2/00—Walls, e.g. partitions, for buildings; Wall construction with regard to insulation; Connections specially adapted to walls
- E04B2/88—Curtain walls
-
- E—FIXED CONSTRUCTIONS
- E04—BUILDING
- E04B—GENERAL BUILDING CONSTRUCTIONS; WALLS, e.g. PARTITIONS; ROOFS; FLOORS; CEILINGS; INSULATION OR OTHER PROTECTION OF BUILDINGS
- E04B1/00—Constructions in general; Structures which are not restricted either to walls, e.g. partitions, or floors or ceilings or roofs
- E04B1/38—Connections for building structures in general
-
- E—FIXED CONSTRUCTIONS
- E04—BUILDING
- E04B—GENERAL BUILDING CONSTRUCTIONS; WALLS, e.g. PARTITIONS; ROOFS; FLOORS; CEILINGS; INSULATION OR OTHER PROTECTION OF BUILDINGS
- E04B1/00—Constructions in general; Structures which are not restricted either to walls, e.g. partitions, or floors or ceilings or roofs
- E04B1/62—Insulation or other protection; Elements or use of specified material therefor
- E04B1/92—Protection against other undesired influences or dangers
- E04B1/98—Protection against other undesired influences or dangers against vibrations or shocks; against mechanical destruction, e.g. by air-raids
-
- E—FIXED CONSTRUCTIONS
- E04—BUILDING
- E04H—BUILDINGS OR LIKE STRUCTURES FOR PARTICULAR PURPOSES; SWIMMING OR SPLASH BATHS OR POOLS; MASTS; FENCING; TENTS OR CANOPIES, IN GENERAL
- E04H9/00—Buildings, groups of buildings or shelters adapted to withstand or provide protection against abnormal external influences, e.g. war-like action, earthquake or extreme climate
- E04H9/02—Buildings, groups of buildings or shelters adapted to withstand or provide protection against abnormal external influences, e.g. war-like action, earthquake or extreme climate withstanding earthquake or sinking of ground
- E04H9/021—Bearing, supporting or connecting constructions specially adapted for such buildings
Landscapes
- Engineering & Computer Science (AREA)
- Architecture (AREA)
- Civil Engineering (AREA)
- Structural Engineering (AREA)
- Physics & Mathematics (AREA)
- Electromagnetism (AREA)
- Environmental & Geological Engineering (AREA)
- Business, Economics & Management (AREA)
- Emergency Management (AREA)
- Load-Bearing And Curtain Walls (AREA)
Abstract
本发明属于建筑结构技术领域,具体涉及一种超高层装配式建筑幕墙安装结构,包括幕墙以及用于安装幕墙的安装架构,所述幕墙内壁顶部两端均固定安装有用于与安装架构相组装的挂装结构,所述L型安装板水平板的表面组装有用于调节幕墙安装位置的四向调节组件,所述L型安装板水平板的下表面设置有缓冲防护组件,所述缓冲防护组件的下方固定组装有牵绊组件。本发明能够有效应对幕墙与安装架构之间的撞击意外,解决幕墙在高空气流的影响下频繁发生大幅度晃动的问题,降低气流对幕墙安装工作的影响,且还设计出与幕墙顶部调节过程相对应的撑底架构,避免由于气流导致墙体倾斜晃动,同时降低对墙体顶部调节工作的影响。
Description
技术领域
本发明属于建筑结构技术领域,具体涉及一种超高层装配式建筑幕墙安装结构。
背景技术
超高层建筑指40层以上,高度100米以上的建筑物,根据有关规定,建筑高度超过100m时,不论住宅及公共建筑均为超高层建筑,另外,建筑幕墙指的是建筑物不承重的外墙围护,通常由面板(玻璃、金属板、石板、陶瓷板等)和后面的支撑结构(铝横梁立柱、钢结构、玻璃肋等等)组成,而在超高层建筑中,通常会采取特质的安装结构用于实现幕墙的安装。
现有技术存在的问题:
在超高层幕墙安装的过程中,在远离其他建筑物的高层环境下,高层建筑周围的气流流动性远大于底层气流,该气流产生的冲击力在高层建筑的施工过程中通常被列为危险因素之一,而装配式幕墙在安装的过程中,都是需要通过吊装设备吊装被运输到待安装的位置,而吊装幕墙的装备大多都采用吊索吊架等设备,这类型设备都无法提供幕墙在运输过程中的稳定性,在吊装过程中,当墙板遇到突发性的强烈气流时,极有可能在运输时发生晃动,而板状的建材又是极可能受气流影响的材料,因此在幕墙以及运输的过程中,都极有可能撞击到建筑墙体外的安装钢结构,两者相撞的可能性极高,进而非常容易导致墙板损坏,更有甚至还可能出现碎裂的墙板从高空掉落的危险情况;
另外,当幕墙在与安装钢结构安装的过程中或者安装之前遇到强烈气流,虽然有工作牵引,但是依然无法阻挡幕墙意外向安装钢结构撞击,在碰到强烈撞击后,墙板便会被反弹并远离安装结构,墙板与安装结构之间存在一段较大的相对位移区间,当墙板在此区间内频繁地被气流带动而撞击安装结构,此距离虽不足以导致墙板毁灭性的损坏,但是将十分影响墙板与安装结构的组装过程,墙板与安装结构的对接过程在气流的影响下会不断错位,以至于墙板相应部件无法快速与安装结构组合;
最后,幕墙安装传统方式使上下两端分开进行安装的,在墙板顶部完成调节工作之后,方可对墙板底部进行固定,但是,分开组装的过程当中同样受气流影响时,幕墙底部将会发生晃动,而此时的幕墙将呈现不断倾斜在复原的运动过程,此晃动将直接影响墙板顶部的调节工作,各调节零件之间将会发生错位偏移,进而最终直接影响幕墙的安装效果。
发明内容
本发明的目的是提供一种超高层装配式建筑幕墙安装结构,能够有效应对幕墙与安装架构之间的撞击意外,解决幕墙在高空气流的影响下频繁发生大幅度晃动的问题,降低气流对幕墙安装工作的影响,且还设计出与幕墙顶部调节过程相对应的撑底架构,避免由于气流导致墙体倾斜晃动,同时降低对墙体顶部调节工作的影响。
本发明采取的技术方案具体如下:
一种超高层装配式建筑幕墙安装结构,包括幕墙以及用于安装幕墙的安装架构,所述幕墙内壁顶部两端均固定安装有用于与安装架构相组装的挂装结构,所述安装架构包括通过锚栓固定在建筑外墙外壁的L型安装板以及顶延伸板,所述顶延伸板与L型安装板呈一体式设置并且位于所述L型安装板的顶端;
所述L型安装板水平板的表面组装有用于调节幕墙安装位置的四向调节组件,所述四向调节组件包括U型钢以及L型钢,所述U型钢以及L型钢均通过螺栓连接件与L型安装板固定组装,且两个所述L型钢对称设置在一个所述U型钢的两侧,所述U型钢的两端顶部与所述L型钢的一端顶部均一体式设置有管钢,并且同样开设有贯穿所述管钢的通槽一,所述U型钢的两侧壁与L型钢侧壁之间均通过贯穿所述通槽一的螺栓二相连接,所述螺栓二的两端垂直式固定焊接有螺栓一,且所述螺栓一均活动贯穿于管钢;
所述幕墙内壁顶部两端均设置有用于与挂装结构相连接的连接板,所述挂装结构包括与连接板通过螺栓连接件直接连接的接板钢体,所述接板钢体的外壁设置有用于升降调节幕墙的升降调节组件,且升降调节组件包括与四向调节组件相组装的延伸挂板,所述延伸挂板的一端转动连接有内螺杆,所述接板钢体的外壁一体式设置有螺纹管壳,且所述内螺杆螺接在所述螺纹管壳的内部;
所述L型安装板水平板的下表面设置有缓冲防护组件,且用于在幕墙与安装架构之间发生撞击时起到防护作用,所述缓冲防护组件包括设置在所述L型安装板下表面的U型板壳,所述U型板壳的内部活动插入有U型插板;
所述缓冲防护组件的下方固定组装有牵绊组件,且用于在挂装结构初次靠近安装架构时立即使两者之间产生牵绊连接关系,所述延伸挂板的底部设置有与牵绊组件相连接的接槽框体,所述牵绊组件包括固定连接在U型插板正下方的板壳,所述板壳的下表面两端对称固定连接有端板壳,所述板壳的内部活动插入有触发内U型板,所述触发内U型板的两端延伸出板壳的内部并连接有钢丝,所述端板壳的外端内部活动插入有伸缩杆,两个所述伸缩杆相靠近的一端均固定安装有吸铁石,所述伸缩杆的另一端均与所述钢丝的末端固定连接,两个所述伸缩杆通过吸铁石吸附连接且连接处位于所述接槽框体内部;
所述顶延伸板的上表面两端均固定安装有撑底架构,且用于引导幕墙底端的安装工作。
所述U型插板外部中间开设有提供接槽框体进入的配合槽口,所述U型插板与板壳通过连接体相连接,且所述U型板壳的下表面开设有供连接体移动的位移槽。
所述延伸挂板的一端开设有用于挂住螺栓二的挂槽,所述螺栓二表面螺接有四个螺母一,其中两个螺母一设置在延伸挂板的两侧且用于固定延伸挂板,另外两个螺母一螺接在螺栓二的两端且用于固定螺栓二。
所述U型插板一端与所述U型板壳的内壁通过弹性件相连接,所述U型插板的另一端表面粘接有软垫。
所述顶延伸板的两端均开设有横调槽,且顶延伸板下表面均设置有与横调槽相对应的栓头直槽。
所述幕墙内壁底部两端均固定安装有用于与撑底架构相组装的底插装架构,所述底插装架构包括与幕墙固定安装有插装体,所述插装体的外壁固定设置有插板,所述插板的末端上表面两侧均设置有楔形块一,所述插板的末端中间开设有插接槽。
所述撑底架构包括设置在横调槽两侧的顶螺杆以及辅助调节幕墙的底盘,所述底盘的两侧均固定设置有侧套管,且所述侧套管套设在顶螺杆的外表面,所述顶螺杆表面螺接有用于固定侧套管的螺母二。
所述底盘的顶端活动组装有与插板相组装的顶槽钢,所述顶槽钢的两侧外壁均固定设置有楔形块二,所述楔形块二的外壁均固定连接有内栓杆,所述底盘的上表面两端均固定连接有端管,且所述内栓杆活动插入端管内部,所述端管侧壁均开设有通槽二,所述内栓杆末端外壁螺接有贯穿通槽二的固定螺栓,且固定螺栓用于固定内栓杆。
所述顶槽钢内部贯穿设置有用于固定顶槽钢与顶延伸板的主锁紧螺栓,所述顶槽钢底部开设有调节槽,所述主锁紧螺栓贯穿调节槽且同样贯穿插接槽,所述主锁紧螺栓的螺栓头活动嵌入栓头直槽的内部。
所述楔形块一与所述楔形块二的倾斜面相对应,所述楔形块一的间距等于顶槽钢的宽度,所述插板的长度大于顶槽钢的长度。
本发明取得的技术效果为:
(1)本发明,当幕墙发生晃动而撞向安装架构时,幕墙墙体会优先撞击U型插板,U型插板直接承受撞击并同时向U型板壳的内部移动,过程中,弹性件将同时受到挤压,弹性件的设置将直接吸收来自幕墙的撞击力,在幕墙与安装架构之间提供缓冲防护保障,有效应对幕墙与安装架构之间的撞击意外,避免幕墙在撞击过程中出现损坏的可能。
(2)本发明,在延伸挂板与四向调节组件组装的过程中,接槽框体会优先接触并挤压触发内U型板,此时,使延伸挂板与L型安装板之间存在一个临时连接的牵绊关系,使幕墙在刚触碰到安装架构时,能够避免由于撞击反弹或者吊装失误导致的幕墙反向远离安装架构的情况,使幕墙在完全固定安装之前,能够与安装架构之间存在一个范围较小的相对位移区间,此结构,可适用于超高层幕墙的安装工作中,有效解决由于高空气流影响幕墙安装过程的问题,有效解决幕墙在高空气流的影响下频繁发生大幅度晃动的问题,同时降低幕墙频繁与安装架构发生撞击而导致幕墙损坏的可能。
(3)本发明,该安装架构与挂装结构的组合,具有在六个方向上对幕墙进行调节的特点,使幕墙的安装具有灵活可调的优点,且六向调节的方式使得调节范围全面,另外,L型安装板的形状可使工人直接对U型钢以及L型钢进行操作,没有操作阻碍,使调节工作简单便捷。
(4)本发明,提出的撑底架构能够配合四向调节组件以及升降调节组件,完成对幕墙底部的调节安装工作,使幕墙底部对应顶部同时完成六个方向的调节工作,使幕墙上下两端的调节工作同时同步进行,且底部组件不会影响幕墙顶部的调节过程,有效解决幕墙因为气流发生倾斜晃动的情况,有效避免各连接零件的错位情况,保障调节工作的正常进行,且在顶部完成调节之后,也可立即且直接将底部进行固定,以此来保证幕墙整体的快速安装,解决传统顶底两端分开固定的安装过程,提高安装速度。
附图说明
图1是本发明的实施例所提供的幕墙安装示意图;
图2是本发明的实施例所提供的单个幕墙的结构图;
图3是本发明的实施例所提供的挂装结构与底插装架构的结构图;
图4是本发明的实施例所提供的安装架构与挂装结构的组装结构图;
图5是本发明的实施例所提供的安装架构的结构图;
图6是本发明的实施例所提供的安装架构的主视分解结构图;
图7是本发明的实施例所提供的安装架构的仰视分解结构图;
图8是本发明的实施例所提供的U型插板的结构图;
图9是本发明的实施例所提供的板壳的内部结构图;
图10是本发明的实施例所提供的端板壳的结构以及内部结构图;
图11是本发明的实施例所提供的底插装架构与撑底架构的组装分解图;
图12是本发明的实施例所提供的撑底架构的图。
附图中,各标号所代表的部件列表如下:
1、幕墙;101、连接板;2、安装架构;201、L型安装板;202、顶延伸板;203、锚栓;204、U型钢;205、L型钢;206、管钢;207、通槽一;208、螺栓一;209、螺栓二;210、螺母一;211、U型板壳;212、位移槽;213、U型插板;214、弹性件;215、板壳;216、端板壳;217、触发内U型板;218、伸缩杆;219、软垫;220、配合槽口;221、钢丝;222、吸铁石;223、连接体;224、横调槽;225、栓头直槽;3、挂装结构;301、接板钢体;302、螺纹管壳;303、内螺杆;304、延伸挂板;305、挂槽;306、接槽框体;4、底插装架构;401、插装体;402、插板;403、楔形块一;404、插接槽;5、撑底架构;501、顶螺杆;502、底盘;503、侧套管;504、螺母二;505、端管;506、通槽二;507、顶槽钢;508、楔形块二;509、内栓杆;510、固定螺栓;511、调节槽;512、主锁紧螺栓。
具体实施方式
为了使本发明的目的及优点更加清楚明白,以下结合实施例对本发明进行具体说明。应当理解,以下文字仅仅用以描述本发明的一种或几种具体的实施方式,并不对本发明具体请求的保护范围进行严格限定。
如图1-12所示,一种超高层装配式建筑幕墙安装结构,包括幕墙1以及用于安装幕墙1的安装架构2,安装架构2包括通过锚栓203固定在建筑外墙外壁的L型安装板201以及顶延伸板202,顶延伸板202与L型安装板201呈一体式设置并且位于L型安装板201的顶端。
实施例一:
参照附图5和图6,L型安装板201水平板的表面组装有用于调节幕墙1安装位置的四向调节组件,四向调节组件包括U型钢204以及L型钢205,U型钢204以及L型钢205均通过螺栓连接件与L型安装板201固定组装,且两个L型钢205对称设置在一个U型钢204的两侧,U型钢204的两端顶部与L型钢205的一端顶部均一体式设置有管钢206,并且同样开设有贯穿管钢206的通槽一207,U型钢204的两侧壁与L型钢205侧壁之间均通过贯穿通槽一207的螺栓二209相连接,螺栓二209的两端垂直式固定焊接有螺栓一208,且螺栓一208均活动贯穿于管钢206;
参照附图2和图3,幕墙1内壁顶部两端均固定安装有用于与安装架构2相组装的挂装结构3,幕墙1内壁顶部两端均设置有用于与挂装结构3相连接的连接板101,挂装结构3包括与连接板101通过螺栓连接件直接连接的接板钢体301,接板钢体301的外壁设置有用于升降调节幕墙1的升降调节组件,且升降调节组件包括与四向调节组件相组装的延伸挂板304,延伸挂板304的一端转动连接有内螺杆303,接板钢体301的外壁一体式设置有螺纹管壳302,且内螺杆303螺接在螺纹管壳302的内部;
参照附图3和图4,延伸挂板304的一端开设有用于挂住螺栓二209的挂槽305,螺栓二209表面螺接有四个螺母一210,其中两个螺母一210设置在延伸挂板304的两侧且用于固定延伸挂板304,另外两个螺母一210螺接在螺栓二209的两端且用于固定螺栓二209。
根据上述结构,先利用延伸挂板304一端的挂槽305挂住螺栓二209,随后,根据安装效果对幕墙1进行微调,通过改变延伸挂板304在螺栓二209上的位置可实现水平横向调节幕墙1,再通过改变螺栓一208在管钢206内部得到位置可实现水平纵向调节幕墙1,然后利用螺母一210将螺栓二209与延伸挂板304进行固定,利用另外两个螺母一210将螺栓二209与管钢206进行固定,再利用螺栓一208两端的螺母将螺栓一208与管钢206进行固定;最后,再利用六角扳手旋转内螺杆303,由于内螺杆303螺接在螺纹管壳302内部,螺纹管壳302连同接板钢体301便会纵向垂直移动,从而实现垂直纵向调节幕墙1,上述过程便可实现在六个方向上对幕墙1进行调节,使该安装架构2与挂装结构3的组合具有调节幕墙1安装位置的特点,六向调节的方式使得调节范围全面,另外,L型安装板201的形状可使工人直接对U型钢204以及L型钢205进行操作,没有操作阻碍,使调节工作简单便捷。
本发明的工作原理为:在安装架构2安装之间,先将L型安装板201与U型钢204以及L型钢205完成组装,并利用螺栓连接件进行固定,随后将L型安装板201以及顶延伸板202通过锚栓203固定在建筑墙体的外壁,L型安装板201与顶延伸板202的夹角为直角,且刚好卡在外墙的棱角处,最后,根据幕墙1安装的尺寸等距安装安装架构2,在幕墙1安装之前,螺栓一208与管钢206之间为非固定连接状态;另外,在幕墙1吊装至安装位置之前,先与挂装结构3进行组装,将接板钢体301与幕墙1内壁的连接板101进行安装,最后再通过轨道吊机将该幕墙1吊装至待安装的区域;
在幕墙1连同挂装结构3与安装架构2组装的过程中,首先,利用延伸挂板304一端的挂槽305挂住螺栓二209,随后,根据安装效果对幕墙1进行微调,通过改变延伸挂板304在螺栓二209上的位置可实现水平横向调节幕墙1,再通过改变螺栓一208在管钢206内部得到位置可实现水平纵向调节幕墙1,然后利用螺母一210将螺栓二209与延伸挂板304进行固定,利用另外两个螺母一210将螺栓二209与管钢206进行固定,再利用螺栓一208两端的螺母将螺栓一208与管钢206进行固定;最后,再利用六角扳手旋转内螺杆303,由于内螺杆303螺接在螺纹管壳302内部,螺纹管壳302连同接板钢体301便会纵向垂直移动,从而实现垂直纵向调节幕墙1,上述过程便可实现在六个方向上对幕墙1进行调节。
实施例二:
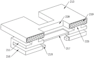
参照附图7和图8,L型安装板201水平板的下表面设置有缓冲防护组件,且用于在幕墙1与安装架构2之间发生撞击时起到防护作用,缓冲防护组件包括设置在L型安装板201下表面的U型板壳211,U型板壳211的内部活动插入有U型插板213,U型插板213一端与U型板壳211的内壁通过弹性件214相连接,U型插板213的另一端表面粘接有软垫219。
根据上述结构,在幕墙1吊装移动的过程中,当幕墙1发生晃动而撞向安装架构2时,幕墙1墙体会优先撞击U型插板213,U型插板213直接承受撞击并同时向U型板壳211的内部移动,过程中,弹性件214将同时受到挤压,弹性件214的设置将直接吸收来自幕墙1的撞击力,在幕墙1与安装架构2之间提供缓冲防护保障,有效应对幕墙1与安装架构2之间的撞击意外,避免幕墙1在撞击过程中出现损坏的可能。
本发明的工作原理为:在幕墙1吊装移动的过程中,当幕墙1发生晃动而撞向安装架构2时,幕墙1墙体会优先撞击U型插板213,U型插板213直接承受撞击并同时向U型板壳211的内部移动,过程中,弹性件214将同时受到挤压,弹性件214的设置将直接吸收来自幕墙1的撞击力。
实施例三:
参照附图8和图9,缓冲防护组件的下方固定组装有牵绊组件,且用于在挂装结构3初次靠近安装架构2时立即使两者之间产生牵绊连接关系,延伸挂板304的底部设置有与牵绊组件相连接的接槽框体306,牵绊组件包括固定连接在U型插板213正下方的板壳215,板壳215的下表面两端对称固定连接有端板壳216,板壳215的内部活动插入有触发内U型板217,触发内U型板217的两端延伸出板壳215的内部并连接有钢丝221;
根据上述结构,在挂槽305向螺栓二209对准的过程中,接槽框体306会优先接触并挤压触发内U型板217,此时,触发内U型板217受到挤压后将会缩入板壳215的内部,而钢丝221将同时受到拉扯。
参照附图8和图10,端板壳216的外端内部活动插入有伸缩杆218,两个伸缩杆218相靠近的一端均固定安装有吸铁石222,伸缩杆218的另一端均与钢丝221的末端固定连接,两个伸缩杆218通过吸铁石222吸附连接且连接处位于接槽框体306内部;
根据上述结构,如图10所示,钢丝221与伸缩杆218的末端连接,而钢丝221在伸缩杆218中部的位置发生转折,因此,当钢丝221被拉扯时,根据转折位置,伸缩杆218会先被拉扯做直线移动,当两个伸缩杆218相向靠近移动且间距缩小至一定范围时,借助两个吸铁石222之间的吸引力,两个伸缩杆218将快速靠近并吸附连接。
参照附图7和图8,U型插板213外部中间开设有提供接槽框体306进入的配合槽口220,U型插板213与板壳215通过连接体223相连接,且U型板壳211的下表面开设有供连接体223移动的位移槽212。
根据上述结构,配合槽口220用于提供接槽框体306移动的空间而不会使U型插板213发生移动,两个伸缩杆218贯穿接槽框体306并连接,使延伸挂板304与L型安装板201之间存在一个临时连接的牵绊关系,使幕墙1在刚触碰到安装架构2时,能够避免由于撞击反弹或者吊装失误导致的幕墙1反向远离安装架构2的情况,使幕墙1在完全固定安装之前,能够与安装架构2之间存在一个范围较小的相对位移区间,此结构,可适用于超高层幕墙1的安装工作中,有效解决由于高空气流影响幕墙1安装过程的问题,有效解决幕墙1在高空气流的影响下频繁发生晃动的问题,同时降低幕墙1频繁与安装架构2发生撞击而导致幕墙1损坏的可能。
本发明的工作原理为:在延伸挂板304与四向调节组件组装的过程中,在挂槽305向螺栓二209对准的过程中,接槽框体306会优先接触并挤压触发内U型板217,此时,配合槽口220提供接槽框体306移动的空间而不会使U型插板213发生移动,触发内U型板217受到挤压后将会缩入板壳215的内部,与此同时,钢丝221将被拉扯并同时使伸缩杆218在端板壳216的内部直线移动,如图10所示,钢丝221与伸缩杆218的末端连接,而钢丝221在伸缩杆218中部的位置发生转折,因此,当钢丝221被拉扯时,根据转折位置,伸缩杆218会先被拉扯做直线移动,当两个伸缩杆218相向靠近移动且间距缩小至一定范围时,借助两个吸铁石222之间的吸引力,两个伸缩杆218将快速靠近并吸附连接,且,两个伸缩杆218的连接处将位于接槽框体306的内部;
借助两个伸缩杆218贯穿接槽框体306并连接,使延伸挂板304与L型安装板201之间存在一个临时连接的牵绊关系,另外,在后续调节幕墙1的工作中,接槽框体306会与两个伸缩杆218之间发生相对移动,而配合槽口220刚好供接槽框体306作用移动,因此,伸缩杆218与接槽框体306的活动连接关系不会影响调节幕墙1的工作。
实施例四
参照附图6和图7,顶延伸板202的两端均开设有横调槽224,且顶延伸板202下表面均设置有与横调槽224相对应的栓头直槽225。
参照附图2和图3,幕墙1内壁底部两端均固定安装有用于与撑底架构5相组装的底插装架构4,底插装架构4包括与幕墙1固定安装有插装体401,插装体401的外壁固定设置有插板402,插板402的末端上表面两侧均设置有楔形块一403,插板402的末端中间开设有插接槽404。
根据上述结构,在幕墙1顶部挂装结构3与安装架构2组装的过程中,该幕墙1底部的底插装架构4将同时与底层安装架构2表面的撑底架构5进行组装。
参照附图11和图12,顶延伸板202的上表面两端均固定安装有撑底架构5,且用于引导幕墙1底端的安装工作,撑底架构5包括设置在横调槽224两侧的顶螺杆501以及辅助调节幕墙1的底盘502,底盘502的两侧均固定设置有侧套管503,且侧套管503套设在顶螺杆501的外表面,顶螺杆501表面螺接有用于固定侧套管503的螺母二504。
根据上述结构,在控制延伸挂板304向四向调节组件靠近的过程中,插板402将同时插入撑底架构5的内部,当幕墙1水平横向移动时,侧套管503将沿着顶螺杆501的方向直线移动,待位置确定之后再通过螺母二504将底盘502进行固定。
参照附图12,底盘502的顶端活动组装有与插板402相组装的顶槽钢507,顶槽钢507的两侧外壁均固定设置有楔形块二508,楔形块二508的外壁均固定连接有内栓杆509,底盘502的上表面两端均固定连接有端管505,且内栓杆509活动插入端管505内部,端管505侧壁均开设有通槽二506,内栓杆509末端外壁螺接有贯穿通槽二506的固定螺栓510,且固定螺栓510用于固定内栓杆509。
根据上述结构,插板402插入撑底架构5内部的过程中,楔形块一403将与楔形块二508直接接触,顶槽钢507则会向上移动并随后落入插板402的上表面,过程中内栓杆509也会在端管505内部伸缩移动,而楔形块一403的设置是用于将顶槽钢507闲置在插板402的上表面;
当幕墙1垂直纵向移动时,插板402将带动顶槽钢507上下移动,过程中,内栓杆509同时在端管505内部伸缩移动,当幕墙1的调节工作结束后,可通过固定螺栓510固定内栓杆509。
参照附图11和图12,顶槽钢507内部贯穿设置有用于固定顶槽钢507与顶延伸板202的主锁紧螺栓512,顶槽钢507底部开设有调节槽511,主锁紧螺栓512贯穿调节槽511且同样贯穿插接槽404,主锁紧螺栓512的螺栓头活动嵌入栓头直槽225的内部,楔形块一403与楔形块二508的倾斜面相对应,楔形块一403的间距等于顶槽钢507的宽度,插板402的长度大于顶槽钢507的长度。
根据上述结构,插接槽404提供了主锁紧螺栓512纵向穿行的空间,横调槽224提供了主锁紧螺栓512横向穿行的空间,而栓头直槽225提供了主锁紧螺栓512端头的横向移动空间;
当幕墙1水平纵向移动时,顶槽钢507与插板402之间将会发生相对移动,由于插板402的长度大于顶槽钢507的长度,因此顶槽钢507可在插板402的表面纵向直线移动,以适配幕墙1的调节工作,当幕墙1的调节工作结束后,通过旋紧主锁紧螺栓512将顶槽钢507、插板402与顶延伸板202之间的位置进行固定,最终实现幕墙1底部的固定安装工作;此撑底架构5能够配合四向调节组件以及升降调节组件,完成对幕墙1底部的调节安装工作,使幕墙1底部对应顶部同时完成六个方向的调节工作,使幕墙1上下两端的调节工作同时同步进行,且底部组件不会影响顶部的调节过程,且在顶部完成调节之后,也可立即且直接将底部进行固定,以此来保证幕墙1整体的快速安装,解决传统顶底两端分开固定的安装过程,提高安装速度。
本发明的工作原理为:在幕墙1顶部挂装结构3与安装架构2组装的过程中,该幕墙1底部的底插装架构4将同时与底层安装架构2表面的撑底架构5进行组装,首先,在控制延伸挂板304向四向调节组件靠近的过程中,插板402将同时插入撑底架构5的内部,过程中,楔形块一403将与楔形块二508直接接触,顶槽钢507则会向上移动并随后落入插板402的上表面,插接槽404的设置刚好提供主锁紧螺栓512穿行的空间,过程中内栓杆509也会在端管505内部伸缩移动,楔形块一403的设置是用于将顶槽钢507闲置在插板402的上表面;
当幕墙1水平横向移动时,由于两个楔形块一403的间距等于顶槽钢507的宽度,因此顶槽钢507连同底盘502将同时横向直线移动,侧套管503将沿着顶螺杆501的方向直线移动,待位置确定之后再通过螺母二504将底盘502进行固定,且过程中,横调槽224提供主锁紧螺栓512穿行的空间,而栓头直槽225提供了主锁紧螺栓512端头的移动空间;
当幕墙1水平纵向移动时,顶槽钢507与插板402之间将会发生相对移动,由于插板402的长度大于顶槽钢507的长度,因此顶槽钢507可在插板402的表面纵向直线移动,以适配幕墙1的调节工作;
当幕墙1垂直纵向移动时,插板402将带动顶槽钢507上下移动,过程中,内栓杆509同时在端管505内部伸缩移动,当幕墙1的调节工作结束后,通过螺母二504固定底盘502,通过固定螺栓510固定内栓杆509,再通过旋紧主锁紧螺栓512将顶槽钢507、插板402与顶延伸板202之间的位置进行固定,最终实现幕墙1底部的固定安装工作。
以上所述仅是本发明的优选实施方式,应当指出,对于本技术领域的普通技术人员来说,在不脱离本发明原理的前提下,还可以作出若干改进和润饰,这些改进和润饰也应视为本发明的保护范围。本发明中未具体描述和解释说明的结构、装置以及操作方法,如无特别说明和限定,均按照本领域的常规手段进行实施。
Claims (10)
1.一种超高层装配式建筑幕墙安装结构,包括幕墙(1)以及用于安装幕墙(1)的安装架构(2),其特征在于:所述幕墙(1)内壁顶部两端均固定安装有用于与安装架构(2)相组装的挂装结构(3),所述安装架构(2)包括通过锚栓(203)固定在建筑外墙外壁的L型安装板(201)以及顶延伸板(202),所述顶延伸板(202)与L型安装板(201)呈一体式设置并且位于所述L型安装板(201)的顶端;
所述L型安装板(201)水平板的表面组装有用于调节幕墙(1)安装位置的四向调节组件,所述四向调节组件包括U型钢(204)以及L型钢(205),所述U型钢(204)以及L型钢(205)均通过螺栓连接件与L型安装板(201)固定组装,且两个所述L型钢(205)对称设置在一个所述U型钢(204)的两侧,所述U型钢(204)的两端顶部与所述L型钢(205)的一端顶部均一体式设置有管钢(206),并且同样开设有贯穿所述管钢(206)的通槽一(207),所述U型钢(204)的两侧壁与L型钢(205)侧壁之间均通过贯穿所述通槽一(207)的螺栓二(209)相连接,所述螺栓二(209)的两端垂直式固定焊接有螺栓一(208),且所述螺栓一(208)均活动贯穿于管钢(206);
所述幕墙(1)内壁顶部两端均设置有用于与挂装结构(3)相连接的连接板(101),所述挂装结构(3)包括与连接板(101)通过螺栓连接件直接连接的接板钢体(301),所述接板钢体(301)的外壁设置有用于升降调节幕墙(1)的升降调节组件,且升降调节组件包括与四向调节组件相组装的延伸挂板(304),所述延伸挂板(304)的一端转动连接有内螺杆(303),所述接板钢体(301)的外壁一体式设置有螺纹管壳(302),且所述内螺杆(303)螺接在所述螺纹管壳(302)的内部;
所述L型安装板(201)水平板的下表面设置有缓冲防护组件,且用于在幕墙(1)与安装架构(2)之间发生撞击时起到防护作用,所述缓冲防护组件包括设置在所述L型安装板(201)下表面的U型板壳(211),所述U型板壳(211)的内部活动插入有U型插板(213);
所述缓冲防护组件的下方固定组装有牵绊组件,且用于在挂装结构(3)初次靠近安装架构(2)时立即使两者之间产生牵绊连接关系,所述延伸挂板(304)的底部设置有与牵绊组件相连接的接槽框体(306),所述牵绊组件包括固定连接在U型插板(213)正下方的板壳(215),所述板壳(215)的下表面两端对称固定连接有端板壳(216),所述板壳(215)的内部活动插入有触发内U型板(217),所述触发内U型板(217)的两端延伸出板壳(215)的内部并连接有钢丝(221),所述端板壳(216)的外端内部活动插入有伸缩杆(218),两个所述伸缩杆(218)相靠近的一端均固定安装有吸铁石(222),所述伸缩杆(218)的另一端均与所述钢丝(221)的末端固定连接,两个所述伸缩杆(218)通过吸铁石(222)吸附连接且连接处位于所述接槽框体(306)内部;
所述顶延伸板(202)的上表面两端均固定安装有撑底架构(5),且用于引导幕墙(1)底端的安装工作。
2.根据权利要求1所述的一种超高层装配式建筑幕墙安装结构,其特征在于:所述U型插板(213)外部中间开设有提供接槽框体(306)进入的配合槽口(220),所述U型插板(213)与板壳(215)通过连接体(223)相连接,且所述U型板壳(211)的下表面开设有供连接体(223)移动的位移槽(212)。
3.根据权利要求1所述的一种超高层装配式建筑幕墙安装结构,其特征在于:所述延伸挂板(304)的一端开设有用于挂住螺栓二(209)的挂槽(305),所述螺栓二(209)表面螺接有四个螺母一(210),其中两个螺母一(210)设置在延伸挂板(304)的两侧且用于固定延伸挂板(304),另外两个螺母一(210)螺接在螺栓二(209)的两端且用于固定螺栓二(209)。
4.根据权利要求1所述的一种超高层装配式建筑幕墙安装结构,其特征在于:所述U型插板(213)一端与所述U型板壳(211)的内壁通过弹性件(214)相连接,所述U型插板(213)的另一端表面粘接有软垫(219)。
5.根据权利要求1所述的一种超高层装配式建筑幕墙安装结构,其特征在于:所述顶延伸板(202)的两端均开设有横调槽(224),且顶延伸板(202)下表面均设置有与横调槽(224)相对应的栓头直槽(225)。
6.根据权利要求5所述的一种超高层装配式建筑幕墙安装结构,其特征在于:所述幕墙(1)内壁底部两端均固定安装有用于与撑底架构(5)相组装的底插装架构(4),所述底插装架构(4)包括与幕墙(1)固定安装有插装体(401),所述插装体(401)的外壁固定设置有插板(402),所述插板(402)的末端上表面两侧均设置有楔形块一(403),所述插板(402)的末端中间开设有插接槽(404)。
7.根据权利要求6所述的一种超高层装配式建筑幕墙安装结构,其特征在于:所述撑底架构(5)包括设置在横调槽(224)两侧的顶螺杆(501)以及辅助调节幕墙(1)的底盘(502),所述底盘(502)的两侧均固定设置有侧套管(503),且所述侧套管(503)套设在顶螺杆(501)的外表面,所述顶螺杆(501)表面螺接有用于固定侧套管(503)的螺母二(504)。
8.根据权利要求7所述的一种超高层装配式建筑幕墙安装结构,其特征在于:所述底盘(502)的顶端活动组装有与插板(402)相组装的顶槽钢(507),所述顶槽钢(507)的两侧外壁均固定设置有楔形块二(508),所述楔形块二(508)的外壁均固定连接有内栓杆(509),所述底盘(502)的上表面两端均固定连接有端管(505),且所述内栓杆(509)活动插入端管(505)内部,所述端管(505)侧壁均开设有通槽二(506),所述内栓杆(509)末端外壁螺接有贯穿通槽二(506)的固定螺栓(510),且固定螺栓(510)用于固定内栓杆(509)。
9.根据权利要求8所述的一种超高层装配式建筑幕墙安装结构,其特征在于:所述顶槽钢(507)内部贯穿设置有用于固定顶槽钢(507)与顶延伸板(202)的主锁紧螺栓(512),所述顶槽钢(507)底部开设有调节槽(511),所述主锁紧螺栓(512)贯穿调节槽(511)且同样贯穿插接槽(404),所述主锁紧螺栓(512)的螺栓头活动嵌入栓头直槽(225)的内部。
10.根据权利要求9所述的一种超高层装配式建筑幕墙安装结构,其特征在于:所述楔形块一(403)与所述楔形块二(508)的倾斜面相对应,所述楔形块一(403)的间距等于顶槽钢(507)的宽度,所述插板(402)的长度大于顶槽钢(507)的长度。
Priority Applications (1)
| Application Number | Priority Date | Filing Date | Title |
|---|---|---|---|
| CN202211181546.2A CN115478640B (zh) | 2022-09-27 | 2022-09-27 | 一种超高层装配式建筑幕墙安装结构 |
Applications Claiming Priority (1)
| Application Number | Priority Date | Filing Date | Title |
|---|---|---|---|
| CN202211181546.2A CN115478640B (zh) | 2022-09-27 | 2022-09-27 | 一种超高层装配式建筑幕墙安装结构 |
Publications (2)
| Publication Number | Publication Date |
|---|---|
| CN115478640A true CN115478640A (zh) | 2022-12-16 |
| CN115478640B CN115478640B (zh) | 2025-02-11 |
Family
ID=84394122
Family Applications (1)
| Application Number | Title | Priority Date | Filing Date |
|---|---|---|---|
| CN202211181546.2A Active CN115478640B (zh) | 2022-09-27 | 2022-09-27 | 一种超高层装配式建筑幕墙安装结构 |
Country Status (1)
| Country | Link |
|---|---|
| CN (1) | CN115478640B (zh) |
Cited By (2)
| Publication number | Priority date | Publication date | Assignee | Title |
|---|---|---|---|---|
| CN118327199A (zh) * | 2024-04-26 | 2024-07-12 | 深圳市博大建设集团有限公司 | 一种室内大板面幕墙安装结构 |
| CN119711684A (zh) * | 2025-02-12 | 2025-03-28 | 四川合力洁净集团股份有限公司 | 一种幕墙板挂接结构 |
Citations (3)
| Publication number | Priority date | Publication date | Assignee | Title |
|---|---|---|---|---|
| CA2192735A1 (en) * | 1996-12-12 | 1998-06-12 | Victor William Fehr | Standardized framing section for closure wings |
| CN103603470A (zh) * | 2013-09-17 | 2014-02-26 | 苏州柯利达装饰股份有限公司 | 一种圆柱结构的石材干挂饰面及其施工方法 |
| CN211499361U (zh) * | 2019-11-23 | 2020-09-15 | 北京仁久建设工程有限公司 | 一种幕墙安装结构 |
-
2022
- 2022-09-27 CN CN202211181546.2A patent/CN115478640B/zh active Active
Patent Citations (3)
| Publication number | Priority date | Publication date | Assignee | Title |
|---|---|---|---|---|
| CA2192735A1 (en) * | 1996-12-12 | 1998-06-12 | Victor William Fehr | Standardized framing section for closure wings |
| CN103603470A (zh) * | 2013-09-17 | 2014-02-26 | 苏州柯利达装饰股份有限公司 | 一种圆柱结构的石材干挂饰面及其施工方法 |
| CN211499361U (zh) * | 2019-11-23 | 2020-09-15 | 北京仁久建设工程有限公司 | 一种幕墙安装结构 |
Cited By (3)
| Publication number | Priority date | Publication date | Assignee | Title |
|---|---|---|---|---|
| CN118327199A (zh) * | 2024-04-26 | 2024-07-12 | 深圳市博大建设集团有限公司 | 一种室内大板面幕墙安装结构 |
| CN119711684A (zh) * | 2025-02-12 | 2025-03-28 | 四川合力洁净集团股份有限公司 | 一种幕墙板挂接结构 |
| CN119711684B (zh) * | 2025-02-12 | 2025-10-03 | 四川合力洁净集团股份有限公司 | 一种幕墙板挂接结构 |
Also Published As
| Publication number | Publication date |
|---|---|
| CN115478640B (zh) | 2025-02-11 |
Similar Documents
| Publication | Publication Date | Title |
|---|---|---|
| CN109898819B (zh) | 一种可折叠伸缩的悬挑工具式脚手架系统及其安装方法 | |
| CN115478640A (zh) | 一种超高层装配式建筑幕墙安装结构 | |
| CN210598199U (zh) | 一种准确快速pc柱安装工具 | |
| CN105781131B (zh) | 装配式建筑墙板安装支撑体系及其构建方法 | |
| CN111173249B (zh) | 一种附着于矩形梁、柱上的悬挑支撑体系 | |
| CN208870242U (zh) | 一种铝板幕墙安装结构 | |
| CN206942072U (zh) | 一种人防门框预埋浇筑支撑机构 | |
| CN207260376U (zh) | 新型钢框架建筑墙体的连接方式 | |
| CN116065790A (zh) | 双吊杆安装机构、机器人及吊杆安装方法 | |
| US3931997A (en) | Method for breaking concrete structures | |
| CN219411763U (zh) | 一种自卡式电梯井操作平台装置 | |
| CN112627560A (zh) | 电梯井水平防护结构 | |
| CN216276814U (zh) | 造楼机走道板连接组件 | |
| CN216276813U (zh) | 造楼机走道板连接组件 | |
| CN205057428U (zh) | 一种用于建筑现场室外噪声监测的测试安装装置 | |
| CN115522720A (zh) | 一种适用于复杂工况的门式移动脚手架及架设方法 | |
| CN223813937U (zh) | 循环使用的门窗洞口防护栏 | |
| CN115162695A (zh) | 一种面向工字钢梁的悬挂式作业平台 | |
| CN219586984U (zh) | 一种钢结构装配式墙板连接机构 | |
| CN209339578U (zh) | 一种内置于井道的可移动式防护及操作平台 | |
| CN207959899U (zh) | 一种新型的铝合金网防护装置 | |
| CN221834317U (zh) | 用于巡检机器人的安全防护装置 | |
| CN219604571U (zh) | 一种房屋建筑防震缝防碰撞装置 | |
| CN212052283U (zh) | 一种高强度防撞混凝土桥墩 | |
| CN117918667B (zh) | 一种博物馆装配式抗震通柜构造与施工方法 |
Legal Events
| Date | Code | Title | Description |
|---|---|---|---|
| PB01 | Publication | ||
| PB01 | Publication | ||
| SE01 | Entry into force of request for substantive examination | ||
| SE01 | Entry into force of request for substantive examination | ||
| GR01 | Patent grant | ||
| GR01 | Patent grant |